JP3950779B2 - 光伝送モジュール - Google Patents

光伝送モジュール Download PDF

Info

Publication number
JP3950779B2
JP3950779B2 JP2002304040A JP2002304040A JP3950779B2 JP 3950779 B2 JP3950779 B2 JP 3950779B2 JP 2002304040 A JP2002304040 A JP 2002304040A JP 2002304040 A JP2002304040 A JP 2002304040A JP 3950779 B2 JP3950779 B2 JP 3950779B2
Authority
JP
Japan
Prior art keywords
lens
transmission module
optical
optical transmission
fiber
Prior art date
Legal status (The legal status is an assumption and is not a legal conclusion. Google has not performed a legal analysis and makes no representation as to the accuracy of the status listed.)
Expired - Lifetime
Application number
JP2002304040A
Other languages
English (en)
Other versions
JP2004138864A (ja
Inventor
浩朗 古市
博康 佐々木
和民 川本
Current Assignee (The listed assignees may be inaccurate. Google has not performed a legal analysis and makes no representation or warranty as to the accuracy of the list.)
Hitachi Ltd
Original Assignee
Hitachi Ltd
Priority date (The priority date is an assumption and is not a legal conclusion. Google has not performed a legal analysis and makes no representation as to the accuracy of the date listed.)
Filing date
Publication date
Application filed by Hitachi Ltd filed Critical Hitachi Ltd
Priority to JP2002304040A priority Critical patent/JP3950779B2/ja
Priority to US10/631,389 priority patent/US7037000B2/en
Publication of JP2004138864A publication Critical patent/JP2004138864A/ja
Application granted granted Critical
Publication of JP3950779B2 publication Critical patent/JP3950779B2/ja
Anticipated expiration legal-status Critical
Expired - Lifetime legal-status Critical Current

Links

Images

Classifications

    • GPHYSICS
    • G02OPTICS
    • G02BOPTICAL ELEMENTS, SYSTEMS OR APPARATUS
    • G02B6/00Light guides; Structural details of arrangements comprising light guides and other optical elements, e.g. couplings
    • G02B6/24Coupling light guides
    • G02B6/42Coupling light guides with opto-electronic elements
    • G02B6/4201Packages, e.g. shape, construction, internal or external details
    • G02B6/4204Packages, e.g. shape, construction, internal or external details the coupling comprising intermediate optical elements, e.g. lenses, holograms
    • G02B6/4206Optical features
    • GPHYSICS
    • G02OPTICS
    • G02BOPTICAL ELEMENTS, SYSTEMS OR APPARATUS
    • G02B6/00Light guides; Structural details of arrangements comprising light guides and other optical elements, e.g. couplings
    • G02B6/24Coupling light guides
    • G02B6/42Coupling light guides with opto-electronic elements
    • G02B6/4201Packages, e.g. shape, construction, internal or external details
    • G02B6/4204Packages, e.g. shape, construction, internal or external details the coupling comprising intermediate optical elements, e.g. lenses, holograms
    • GPHYSICS
    • G02OPTICS
    • G02BOPTICAL ELEMENTS, SYSTEMS OR APPARATUS
    • G02B6/00Light guides; Structural details of arrangements comprising light guides and other optical elements, e.g. couplings
    • G02B6/24Coupling light guides
    • G02B6/42Coupling light guides with opto-electronic elements
    • G02B6/4201Packages, e.g. shape, construction, internal or external details
    • G02B6/4204Packages, e.g. shape, construction, internal or external details the coupling comprising intermediate optical elements, e.g. lenses, holograms
    • G02B6/4207Packages, e.g. shape, construction, internal or external details the coupling comprising intermediate optical elements, e.g. lenses, holograms with optical elements reducing the sensitivity to optical feedback
    • G02B6/4208Packages, e.g. shape, construction, internal or external details the coupling comprising intermediate optical elements, e.g. lenses, holograms with optical elements reducing the sensitivity to optical feedback using non-reciprocal elements or birefringent plates, i.e. quasi-isolators
    • GPHYSICS
    • G02OPTICS
    • G02BOPTICAL ELEMENTS, SYSTEMS OR APPARATUS
    • G02B6/00Light guides; Structural details of arrangements comprising light guides and other optical elements, e.g. couplings
    • G02B6/24Coupling light guides
    • G02B6/42Coupling light guides with opto-electronic elements
    • G02B6/4201Packages, e.g. shape, construction, internal or external details
    • G02B6/4219Mechanical fixtures for holding or positioning the elements relative to each other in the couplings; Alignment methods for the elements, e.g. measuring or observing methods especially used therefor
    • G02B6/422Active alignment, i.e. moving the elements in response to the detected degree of coupling or position of the elements
    • GPHYSICS
    • G02OPTICS
    • G02BOPTICAL ELEMENTS, SYSTEMS OR APPARATUS
    • G02B6/00Light guides; Structural details of arrangements comprising light guides and other optical elements, e.g. couplings
    • G02B6/24Coupling light guides
    • G02B6/42Coupling light guides with opto-electronic elements
    • G02B6/4201Packages, e.g. shape, construction, internal or external details
    • G02B6/4219Mechanical fixtures for holding or positioning the elements relative to each other in the couplings; Alignment methods for the elements, e.g. measuring or observing methods especially used therefor
    • G02B6/4236Fixing or mounting methods of the aligned elements
    • G02B6/4237Welding

Landscapes

  • Physics & Mathematics (AREA)
  • General Physics & Mathematics (AREA)
  • Optics & Photonics (AREA)
  • Optical Couplings Of Light Guides (AREA)
  • Semiconductor Lasers (AREA)

Description

【0001】
【発明の属する技術分野】
本発明は光伝送モジュールの温度特性を向上させる技術に関するものであり、特に、キャン型の光モジュールに応用して好適である。
【0002】
【従来の技術】
光ファイバを用いた光通信モジュールにおいて、発光素子であるレーザダイオード(以下LDと略す)や受光素子であるフォトダイオード(以下PDと略す)は、信頼性の観点から、各種パッケージに収納される。このパッケージの中で、光ファイバと同軸構造にしやすいキャン型パッケージがある。光ファイバを挿抜して使用するレセプタクル型の光伝送モジュールには、このキャンパッケージが使用されることが多い(例えば、特許文献1参照)。
【0003】
【特許文献1】
特開2001−66468号公報
【0004】
【発明が解決しようとする課題】
近年、LDを内蔵した送信モジュールとPDを内蔵した受信モジュールと電気信号制御IC等とを一体化した光伝送モジュール(又は、光トランシーバ)の小形化・高速化が進んでいる。小形の光伝送モジュールには、光コネクタを挿抜可能な構造とするため、レセプタクル型の光モジュールが多く使用され、2.5Gbit/s以下の通信速度では、前述したキャン型の光モジュールである場合が多い。
一方、10Gbit/s以上の高速化のためは、光モジュールの内部に、送信モジュールであればLDのドライバICを、受信モジュールであればPDのプリアンプICを内蔵することが望ましい。このため、従来の2.5Gbit/s以下の通信速度用の光モジュールと同等のサイズのキャン内部に、ドライバICやプリアンプICを内蔵することは困難である。これらを内蔵するには、キャンの直径や長さを大きくする必要がある。
また、キャン型光モジュールは、光素子を搭載した基板の上に、レンズの付いた金属性ホルダを接合する構造のため、キャンの直径や長さが大きくなる。キャンの直径や長さが大きくなると、熱膨張により光素子とレンズの間隔が変化しやすくなり、これに伴い光パワーの変動が大きくなりやすい問題が発生する。
また、筐体の幾つかの辺に端子を設けたバタフライ型光モジュールにおいても、程度の違いはあるが、同様な問題が発生する。
【0005】
本発明の目的は、送信モジュールや受信モジュールを有する光伝送モジュールにおいて、ドライバICやプリアンプICを内蔵してサイズが大きくなった場合でも、熱膨張による光パワー変動を抑えることができる技術を提供することにある。
【0006】
【課題を解決するための手段】
上記目的を達成するために、第1の発明では、光伝送モジュールは、レーザ光を放射するレーザダイオードと、前記レーザ光を集光するためのレンズと、前記レンズから出射されたレーザ光を入射するファイバコアを有するファイバフェルールと、前記レンズ自身、前記レンズの前、又は前記レンズの後に設けられた絞りとを備え、前記レーザダイオードと前記レンズの間隔が温度によって変動し、ファイバフェルールとの結合効率が劣化するのを改善する。
【0007】
第2の発明では、光伝送モジュールは、ベースと、ベースに固定された基板に搭載されたレーザダイオードと、前記レーザ光を集光するためのレンズが装着され、前記ベースに固定されたレンズホルダと、前記レンズから出射されたレーザ光を入射するファイバコアを有するファイバフェルールと、前記レンズ自身、前記レンズの前、又は前記レンズの後に設けられた絞りとを備え、前記レーザダイオードと前記レンズの間隔が温度によって変動し、ファイバフェルールとの結合効率が劣化するのを改善する。
【0008】
【発明の実施の形態】
以下、本発明による実施の形態を、幾つかの実施例を用い、図を参照して説明する。
光モジュールの内、特に、キャン型光モジュールは、光素子を搭載した金属基板の上に、レンズの付いた金属性ホルダを接合する構造のため、サイズが大きくなると、熱膨張により光素子とレンズの間隔が変化しやすくなる。また、これに伴って、光パワーの変動が大きくなりやすい問題がある。これを防止した構造の実施例について、図1、図2を用いて説明する。
なお、キャン型光モジュールとは広い意味で、同軸型構造と言い換えることができるものである。同軸型構造とは同軸状のキャンパッケージに搭載された光素子に、レンズ、光ファイバを光軸方向に順に積み重ねて固定していく構造をいう。
【0009】
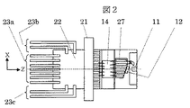
図1は本発明によるキャン型の光モジュールの第1の実施例を示す一部断面側面図である。図2は図1中に示したLD基板を中心としたCAN内部の平面図である。
図1及び図2に示すように、ベース21を貫通した配線基板22と放熱基板24の先端にメイン基板25が接続され、このメイン基板25の上に、半導体レーザダイオード(LD)11、サブマウント式中継基板27に搭載されたモニタフォトダイオード(モニタPD)12等が、はんだ付けされる。放熱基板24上にはドライバIC14がはんだ付けされる。また、貫通した配線基板22の後方にはフラットリード端子23が接続されている。フラットリード端子23としては、光軸に沿った後方には主に、高周波信号用リード端子23aが接続され、リード端子数が不足する場合には、配線基板22の側面からも、高周波信号用リード端子23aと同様の光軸方向になるように曲げられた折れ曲がりリード端子23b、23cが接続される。
【0010】
ここで、メイン基板上25上に搭載されたLD11とモニタPD12との関係を説明する。モニタPD12は、その受光面がほぼZ軸方向に向くように、LD11後方面に位置するサブマウント式中継基板27に搭載される。LD11の後方光は直接入力モニタPD12に入力されるため、入射光量は十分確保される。なお、モニタPD12が完全にZ軸方向を向いているのでは無く、X軸方向にわずかに傾斜しているのは、モニタPD12表面での反射光がLD11に戻らないようにするためである。ここで、サブマウント式中継基板27のX軸上面はインピーダンス整合された配線路を有した構造としているため、LD11からドライバIC14まで、短い距離で高周波特性の良い接続が可能であり、搭載面積を少なくすることが可能となる。また、ドライバIC14は放熱基板24上に直接接続される構造のため、放熱性も確保される。74は本発明によって設けられた絞り部であり、これについては、詳細後述する。
【0011】
また、レンズ15が予め付けられたレンズホルダ16はLD11に対して調芯した後、ベース21に溶接等で固定される。レンズホルダ16に対して、ファイバガイド56に入れられたファイバフェルール51をXYZ方向に調芯し、YAG溶接等で固定する。最後にレセプタクル部55をファイバフェルール51に取り付けて、レセプタクル型光モジュールが完成する。光出力の調整や実使用時には着脱用光ファイバフェルール54がレセプタクル部55に挿入され、光出力が得られる状態となる。
ところで、一般に、ドライバICを内蔵して直接変調する方式の光モジュールは、高周波応答を良くするため、すなわち光波形のアイの開口をなるべく大きくするために、LDに対する駆動電流を大きくする傾向が強い。この結果、光ファイバからの出力光量の規格に対して、LDの発光パワーに余裕がある場合が多い。そのため、光ファイバに入力される光量を減衰調節する方法として、ファイバフェルール51に入射される光量をアイソレータ53を矢印61のように左右に回転して調整したり、ファイバフェルール51全体を矢印62のように光軸方向の前後に移動させたりしてデフォーカスさせて調整する方法が適用できる。
【0012】
次に、図1に示す1枚レンズ系での結像関係を、図3を用いて説明する。
図3は図1に示す1枚レンズの光結合系を説明するための模式図である。なお、以下の図において、同じ構成要素に対しては同一の符号を付けてその説明を省略する。
一般にLD11のスポット直径は2ミクロン弱で、シングルモードファイバの場合、ファイバコア57のモードフィールド直径は8〜10ミクロン程度のため、結合効率を最適化したレンズ系では、その像倍率は4〜6倍のことが多い。つまり、LD11とレンズ15を模式的に表現したレンズ41間の距離をL1とし、レンズ41とファイバフェルール51の入射面との距離をL2とすると、レンズ41とファイバフェルール51との距離L2はL1の4〜6倍になる。一般にシングルモードファイバの開口数NAは0.1程度であり、レンズ41のファイバ側の開口数は0.1程度に一致するように設計されている。この結果、前述の像倍率より、レンズ41のLD側の開口数は0.4〜0.6と設計することが望ましい。球面レンズでは、レンズの収差のため、上記のような開口数の関係にならない場合もあるが、標準的に市販されており、レンズ収差の補正された非球面レンズでは、一般に上記のような開口数の関係になるように設計されている。ちなみに、図3に示すように、LD11から出射されたレーザビームの出射角をθLとし、レンズ41から出射されたレーザビームがファイバフェルール51の入射面に入射される角度をθfとすると、LD側のレンズの開口数NA=sinθLで、ファイバ側のレンズの開口数NA=sinθfで規定される。ファイバ側のレンズの有効直径をDとすると、ファイバ側のレンズの開口数NAは0.1程度のため、近似して、NA=sinθf≒tanθf=D/2/L2と表すことができる。
【0013】
次に、光モジュール全体が室温より、高い温度で使用される状態について説明する。一般にレンズホルダ16は、溶接等の接合性を考慮し、ステンレス等の金属で作られることが多く、その熱膨張係数は10〜20ppm/℃程度である。一方、配線基板22とメイン基板25はセラミック系の材料で配線線路を形成しており、その熱膨張係数は4〜8ppm/℃程度である。放熱基板24は配線基板22と熱膨張係数をほぼ一致させた放熱性の良い、例えばCuW等の金属で構成される。以上のように、レンズホルダ16と基板を熱膨張係数の近い材質で構成することは困難である。この結果、室温より高い温度で使用される場合、熱膨張係数の比較的大きいレンズホルダ16は図1のBLE部分が膨張し、熱膨張係数の比較的小さい配線基板22とメイン基板25は図1のBLD部分が膨張するため、その差のΔL1だけ、LD11とレンズ15との間隔は伸びることになる。この状態を模式的に図4に示す。
【0014】
図4は図1に示す1枚レンズの光結合系における温度によるレンズの移動を説明するための模式図である。上記のように、温度が上昇した場合にレンズ41が右側、即ちファイバフェルール51側にΔL1だけ移動し、レンズ42として配置されている状態が示されている。レンズ41がΔL1だけ、ファイバフェルール51側に移動した結果、ファイバフェルール51側のビームウェスト43はΔL2だけ、レンズ側に移動する。前述したように、レンズの光学系の像倍率は4〜6倍のことが多い。ΔL2はΔL1の(光学倍率)の2乗となるため、ΔL1が1〜2ミクロン弱でも、ΔL2は、16〜50ミクロン程度の範囲で変動することになるため、光結合効率の大きな変動が発生する。
【0015】
図5はビームウェスト位置の変化に対する結合効率の変化を示す特性図であり、横軸はファイバフェルールの入射面からビームウェスト43間の距離L3(μm)、すなわち、前述のデフォーカス量を示す。縦軸は結合効率(dB)を示す。温度が上昇すると、ビームウェスト43は図4に向かって左側に移動する。逆に、温度が下がると、ビームウェスト43は右側に移動する。
図において、曲線71は、図1において絞り部74がない場合の、ファイバフェルール51の入射面からビームウェスト43間の距離L3(μm)に対する結合効率(dB)を示しており、常温より高温になった場合、ΔL2の16〜50ミクロン程度の変動に対しての結合効率の変化が確認できる。例えば、前述のように、入射光量をアイソレータ53の回転61で調整する場合には、ビームウェスト43がファイバフェルール51の入射面にある場合、即ちL3が0ミクロンの場合、L3が最大+50ミクロン程度の変動すると、結合効率は約0.5dB弱ぐらい変動する。また、ファイバフェルール51全体を矢印62に示すように光軸方向に移動させてデフォーカスにより調整する場合には、組立時に仮に−2dBのデフォーカスを与えると(つまり、L3が+約100μmになるようにすると)、最大50ミクロン程度の変動は1.5dB程度の変動に相当する。なお、曲線72はレンズ41の入射面に絞りが設けられた場合の結合効率を示しており、これについては、後述する。
以上のように、ΔL2変動に対して光量の変動が大きく発生する。即ち、温度上昇によってファイバフェルール51の入射面に入射される入射光量が変動し、光結合効率の変動が発生する。
【0016】
そこで、図6を用いて、レンズ41の前方に絞り73を付加することにより、光結合効率の変動を防止する方法を説明する。
図6はレンズの前に絞りを形成した場合の光学系について説明するための模式図である。図において、点線で示される絞り無い場合のビームプロファイル81は、レンズ41の開口数NAに応じて決まる。実線で示される絞り73が有る場合のビームプロファイル82は、絞り73の穴径で決まり、レンズ41の開口数NAが小さくなった分だけ、回折限界が悪くなり、ビームウェスト径が大きくなる。言い換えると、ビームプロファイル82は寸胴気味になり、図1のZ方向におけるビーム径の変化が小さくなる。
このため、レンズの入射面に絞りを設けると、図5の曲線72のように、ビームウェスト43のΔL2変動に対して光量の変動が小さくなり、光結合効率の変動を大きく低減できる。
【0017】
次に、絞りの大きさとレンズに対する位置精度について説明する。
図7はレンズと絞りの一部断面側面図であり、レンズに対して絞りに位置ずれが生じた場合をしめしている。図7に示すように、レンズ15のLD側(絞り73の有る側)のレンズ有効直径をDとし、絞り73の穴直径をdとし、レンズ15の中心に対する絞り73の中心のずれをd1とする。
【0018】
図8はレンズ開口数NAに対する結合効率及びビーム径比を示す特性図であり、横軸にレンズ開口数NAを示し、第1の縦軸は結合効率を示し、第2の縦軸はビーム径比を示す。ビーム径比とは、絞り73がない場合のビームウェスト43のビーム径を1とし、絞り73を設けた場合のビームウェスト43の径をrとした場合のrをいう。
図において、曲線41はLD側のレンズ15の開口数を0.4と仮定し、絞りを付加して開口数を小さくした場合の結合効率を示し、曲線51はビーム径比を示す。絞りの穴径を小さくして開口数を小さくした場合には、結合効率は低下するが、ビーム直径は絞りの無い場合に比べて大きくできる。しかし、絞りを付加したことによる結合効率の極端な低下は避けるべきであり、−5〜−7dB程度が限界と考えられる。この場合、LD側レンズの開口数は0.2以上であり、ビーム径の拡大率も2倍以内となる。絞りの無い場合のファイバフェルール51側のレンズの開口数は0.1であり、絞りを付加した場合の開口数は0.05以上となる。
【0019】
実際には、結合効率の減衰量に依存するが、結合効率が極端に低下せず、ビーム径が拡大できるのは、レンズの開口数で0.25〜0.35程度が望ましいと考えられる。つまり、レンズ15に絞り73を接近させて配置した場合は、絞りの穴直径dをレンズ有効直径Dの0.25/0.4〜0.35/0.4、つまり63〜88%程度に設定すれば良い。この場合、ファイバ側のレンズの開口数は0.063〜0.088程度に設定すれば良い。
【0020】
次に、レンズと絞りの中心ずれについて、図7、9を用いて説明する。
図9は絞りの中心がレンズ中心に対してずれた場合の結合効率を示す特性図である。絞り73の中心とレンズ15の中心のずれをd1とし、絞り73の直径をdとした場合、横軸はd1/dを示す。縦軸は結合効率(dB)を示す。図7に示すように、レンズ15の中心に対する絞り穴の中心ずれを規定した場合、絞り直径dに対する中心ずれ量d1、即ちd1/dに対して、結合効率は図9のようになる。結合効率の極端な低下は回避すべきであり、仮に結合効率が−1dB程度以内とした場合、d1/dは絞り直径は略0.35(即ち35%)となるので、d1/dは略0.35に抑えることが望ましい。
レンズ15の有効直径D=1000ミクロン、絞りの穴直径d=500ミクロンとした場合、中心ずれの許容値は500x0.35=175ミクロンであり、通常の光モジュールの加工組立精度から考慮して、問題とならないことがわかる。
【0021】
次に、実際の絞りの構造を図10に示す。
図10は図1に示した絞り部の第1の実施例を示す拡大断面図である。図に示すように、本実施例では、レンズ15を付けるレンズホルダ16に絞り穴を設けて絞り部74としているため、絞り部74は容易に実現できる。ここで、絞りを配置する位置は、レンズ15の直前直後に限らず、LDとファイバ間の任意の位置に配置できることは言うまでもない。但し、レンズ15の直前直後に配置する場合以外は、絞りの穴径を小さくして、レンズ中心と絞り中心の合わせ精度を厳しくしなければならないので、レンズの直前、もしくは直後に絞りを配置する構造の方が望ましい。
【0022】
図11は本発明による光モジュールの絞り部の第2の実施例を示す断面図である。図11に示すように、絞り部品77を別部品として製作しておき、絞り部品77を絞りの無いレンズホルダ76のLD側に溶接や接着等で接合する構造としている。
【0023】
図12は本発明による光モジュールの絞り部の第3の実施例を示す断面図である。図12に示すように、絞り部品78を別部品として製作しておき、絞りの無いレンズホルダ76のファイバフェルール51側に絞り部品78を接合する構造としてもよい。
【0024】
また、以上のようにレンズに絞りを付加する方法では無く、レンズそのものの有効径を小さくする方法について、図13をもちいて説明する。
図13は本発明による光モジュールの絞り効果を有するレンズの一実施例を示す側面図である。図に示すように、レンズ15aの入射面の外縁79を削除したり、表面形状を荒らす等して変えたりする。また、レンズ15aの入射面の代わりに、レンズ15aの出射面の外縁79を削除したり、表面形状を荒らしたりしてもよい。レンズ15aをこのように構成すると、レンズ15aの周辺部のレンズ効果が無くなるので、あたかも絞り部を設けたのと同じ効果を有する。よって、本発明では、これを絞り効果という。レンズ外縁79を削除することは、元のレンズ有効径Dを小さくしてレンズ有効径Dnとしたものと同等の効果を有する。前述のように、ファイバ側のレンズの開口数=0.1程度の場合、ファイバ側のレンズの有効径Dは、NA=0.1=D/2/L2より、D=0.2×L2である。これに対して、前述のように、NAを0.05以上、0.1未満にして、絞りの効果を有するには、ファイバ側のレンズの有効径Dnを、0.1×L2≦Dn<0.2×L2に設定すればよい。
本実施例では、レンズの金型を新規に製作する手間とコストは必要であるが、絞りを付加した場合と同様の効果が得られることは言うまでもない。
【0025】
次に、本発明の光モジュールを用いた光伝送モジュール(又は、光トランシーバ)の構成及び動作について説明する。
図14は本発明による光伝送モジュールの一実施例を示す斜視図であり、レセプタクル型光伝送モジュールを示す。送信モジュール1は、前述の構造で、別途組み立てられ、フラットリード端子2とレセプタクル型光コネクタ3を有した構造となっている。また、受信モジュール4も、フラットリード端子5とレセプタクル型光コネクタ6を有した構造となっている。
【0026】
まず、固定部95にプリント基板91を位置決めする。なお、プリント基板91上には、電気信号制御IC94等が面付け実装されており、外部との電気信号は、カードエッジ部93の配線を介して送受信される。送信モジュール1のフラットリード端子2を、プリント基板91上の電極パッド92に重ね合わせて、リードピン2をはんだ固定する。同様に受信モジュール4も、プリント基板91にリードピン5を介してはんだ固定する。ここで、それぞれのはんだ固定時に、プリント基板91に対して、レセプタクル型光コネクタ3、6の位置が許容値以内になるようにするため、電極パッド92とフラットリード2、5の位置関係を調整する必要がある。
【0027】
光伝送モジュールにおいて、光軸方向の組立公差が最も緩いため、光モジュールとの電気接続部の光軸方向の位置ずれ量が大きくなる。キャン型光モジュールをプリント基板91に対して、光軸方向のみにリードを伸ばした構造にしたため、電極パッド92に対して光軸方向に前後して、光コネクタの位置は最大ミリメータオーダで位置調整が可能となる。以上により、レセプタクル部が付いている光モジュールと、プリント基板を別々に製作後、その位置関係を調整しながら接続することが可能となる。これにより、光送受信モジュールとプリント基板部の位置ずれを吸収し、光トランシーバの外形に対して、電気信号用コネクタのリードピンやカードエッジの位置と光コネクタの位置を規定した状態で組立可能となる。
【0028】
次に、図15を用いて、箱型の光モジュールを用いた場合について説明する。図15は箱型の光モジュールの一実施例を示す斜視図である。図に示すように、箱型の光モジュールとは箱にフラットリード端子102が接続された構造をいい、通常バタフライ型の光モジュールと呼ぶこともある。バタフライ型の光モジュールとは、箱型のパッケージの内部に光素子やレンズを位置決めして搭載後、箱の側面にレンズや光ファイバを固定する構造をいう。箱型光モジュール101も、フラットリード端子102と、レセプタクル型光コネクタ103を有した構造をしており、前述のキャン型同様に、プリント基板91に搭載可能であり、本発明によって、温度変化による結合効率を改善することができる。
【0029】
以上述べたように、本実施例では、レンズの前後に絞り部を設けたり、レンズの外縁を光が通らないように加工したりすることによって、温度変化による結合効率の劣化を改善している。レンズの外縁を加工して、レンズの外縁を光が通過しないようにすることは、レンズ自身に絞り部を設けたのと同じことであるので、レンズ自身を加工して絞り効果を持たせた場合には、絞りを設けるという。
【0030】
以上述べたように、本発明によれば、光モジュールの内部に、送信モジュールであればLDのドライバICを内蔵することにより、サイズが大きくなって、熱膨張により光素子とレンズの間隔が変化しやすくなった場合にも、絞りを入れることにより、光パワーの変動を抑え、光結合効率の変動等を防止できる。以上より、低コストで製作できる光モジュール、光伝送モジュール(又は光トランシーバ)を提供することが可能になる。
【0031】
【発明の効果】
以上述べたように、光パワーの変動を抑え、光結合効率の変動を防止できる。
【図面の簡単な説明】
【図1】本発明によるキャン型の光モジュールの第1の実施例を示す一部断面側面図である。
【図2】図1中に示したLD基板を中心としたCAN内部の平面図である。
【図3】図1に示す1枚レンズの光結合系を説明するための模式図である。
【図4】図1に示す1枚レンズの光結合系における温度によるレンズの移動を説明するための模式図である。
【図5】図5はビームウェスト位置の変化に対する結合効率の変化を示す特性図である。
【図6】レンズの前に絞りを形成した場合の光学系について説明するための模式図である。
【図7】レンズと絞りの一部断面側面図である。
【図8】レンズ開口数NAに対する結合効率及びビーム径比を示す特性図である。
【図9】絞りの中心がレンズ中心に対してずれた場合の結合効率を示す特性図である。
【図10】図1に示した絞り部の第1の実施例を示す拡大断面図である。
【図11】本発明による光モジュールの絞り部の第2の実施例を示す断面図である。
【図12】本発明による光モジュールの絞り部の第3の実施例を示す断面図である。
【図13】本発明による光モジュールの絞り効果を有するレンズの一実施例を示す側面図である。
【図14】本発明による光伝送モジュールの一実施例を示す斜視図である。
【図15】箱型の光モジュールの一実施例を示す斜視図である。
【符号の説明】
1…送信モジュール、2…フラットリード端子、3…レセプタクル型光コネクタ、4…受信モジュール、5…フラットリード端子、6…レセプタクル型光コネクタ、11…半導体レーザダイオード、12…モニタフォトダイオード(モニタPD)、14…ドライバIC、15…レンズ、16…レンズホルダ、21…ベース、22…配線基板、23…リード端子、24…放熱基板、25…メイン基板、27…サブマウント式中継基板、41…レンズ、42…レンズ、43…ビームウェス、51…ファイバフェルール、53…アイソレータ、54…着脱用光ファイバフェルール、55…レセプタクル部、56…ファイバガイド、57…ファイバコア、65…入射光、73…絞り、74…絞り部、76…レンズホルダ、77…絞り、78…絞り、81…絞り無い場合のビームプロファイル、82…絞り有る場合のビームプロファイル、91…プリント基板、92…電極パッド、93…カードエッジ部、94…電気制御用IC、95…固定部、101…箱型光モジュール、102…フラットリード端子、103…レセプタクル型光コネクタ。

Claims (6)

  1. ベースと、放熱基板とこの放熱基板の一端に搭載され前記ベースを貫通する配線基板と前記放熱基板の他端に搭載されたメイン基板とからなり且つ前記ベースに固定された基板と、前記メイン基板に搭載されたレーザダイオードと、前記放熱基板の前記配線基板と前記メイン基板との間に搭載され、前記配線基板と前記レーザダイオードとに電気的に接続されたICと、前記レーザダイオードからのレーザ光を集光するためのレンズが装着され、前記ベースと一端で固定されて光軸方向に延在するレンズホルダと、前記レンズから出射された前記レーザ光を入射するファイバコアを有するファイバフェルールと、を有する光伝送モジュールにおいて、
    前記基板と前記レンズホルダとは、互いに熱膨張係数が相違し、
    前記レンズの有効径を前記レンズと前記ファイバコア間の距離の0.1倍以上、0.2倍未満にしたことを特徴とする光伝送モジュール。
  2. 請求項1に記載の光伝送モジュールであって、
    前記ファイバフェルール側のレンズの開口数が0.05以上0.1未満であることを特徴とする光伝送モジュール。
  3. 請求項1又は2に記載の光伝送モジュールであって、
    前記レンズと前記ファイバフェルールの間に、前記レンズに入射される光量について、偏光子を光軸回りに回転することにより調整可能なアイソレータを配置することを特徴とする光伝送モジュール。
  4. 請求項1又は2に記載の光伝送モジュールであって、
    前記ファイバフェルールに入射される光量が、前記ファイバフェルールを光軸方向に前後してデフォーカスされたことを特徴とする光伝送モジュール。
  5. 請求項1乃至4のいずれかに記載の光伝送モジュールであって、
    前記レーザダイオードから前記ファイバコアに至る光軸に平行な貫通基板上に前記レーザダイオードが実装されたキャン型光モジュールを備えることを特徴とする光伝送モジュール。
  6. 請求項1乃至5のいずれかに記載の光伝送モジュールであって、
    リードピンをさらに設け、前記リードピンの全てを前記レーザダイオードから前記ファイバコアに至る光軸の延在方向に伸ばした構造とすることを特徴とする光伝送モジュール。
JP2002304040A 2002-10-18 2002-10-18 光伝送モジュール Expired - Lifetime JP3950779B2 (ja)

Priority Applications (2)

Application Number Priority Date Filing Date Title
JP2002304040A JP3950779B2 (ja) 2002-10-18 2002-10-18 光伝送モジュール
US10/631,389 US7037000B2 (en) 2002-10-18 2003-07-30 Optical transmission module

Applications Claiming Priority (1)

Application Number Priority Date Filing Date Title
JP2002304040A JP3950779B2 (ja) 2002-10-18 2002-10-18 光伝送モジュール

Publications (2)

Publication Number Publication Date
JP2004138864A JP2004138864A (ja) 2004-05-13
JP3950779B2 true JP3950779B2 (ja) 2007-08-01

Family

ID=32451589

Family Applications (1)

Application Number Title Priority Date Filing Date
JP2002304040A Expired - Lifetime JP3950779B2 (ja) 2002-10-18 2002-10-18 光伝送モジュール

Country Status (2)

Country Link
US (1) US7037000B2 (ja)
JP (1) JP3950779B2 (ja)

Families Citing this family (17)

* Cited by examiner, † Cited by third party
Publication number Priority date Publication date Assignee Title
US7364367B2 (en) * 2003-12-25 2008-04-29 Matsushita Electric Industrial Co., Ltd. Optical module manufacturing method and optical module
US7121741B2 (en) * 2004-10-26 2006-10-17 Konica Minolta Holdings, Inc. Optical communication module
JP2008170636A (ja) * 2007-01-10 2008-07-24 Nec Electronics Corp 半導体レーザモジュール
JP4770796B2 (ja) * 2007-05-31 2011-09-14 ブラザー工業株式会社 光源装置、露光装置および画像形成装置
JP4698666B2 (ja) * 2007-12-28 2011-06-08 日本オプネクスト株式会社 光送受信モジュール
JP2010278285A (ja) * 2009-05-29 2010-12-09 Renesas Electronics Corp 受光モジュールの製造方法及び製造装置
EP2573544A4 (en) * 2010-05-19 2014-01-22 Shionogi & Co DEFINED DEVICE FOR OPTICAL ROTATION MEASUREMENT, OPTICAL ROTATION MEASUREMENT METHOD AND DEFOCOUSED GLASS FIBER SYSTEM
TW201239336A (en) * 2010-11-26 2012-10-01 Global Fiberoptics Ltd Optical rotation measurement device, polarization conversion optical system that can be used for optical rotation measurement, and method for measuring optical rotation in optical rotation measurement system using said polarization conversion optical
JP2015106577A (ja) * 2013-11-28 2015-06-08 三菱電機株式会社 光通信用半導体パッケージ
JP6340902B2 (ja) * 2014-05-13 2018-06-13 住友電気工業株式会社 光モジュールの製造方法
US9780882B2 (en) * 2014-05-13 2017-10-03 Sumitomo Electric Industries, Ltd. Optical transmitter module having multiple signal lanes
CN107111079A (zh) * 2014-10-31 2017-08-29 住友电气工业株式会社 发光组件和多信道发光组件
JP2016220094A (ja) * 2015-05-22 2016-12-22 日本電気株式会社 光トランシーバ
KR101985016B1 (ko) * 2017-09-22 2019-09-03 주식회사 포벨 정밀한 광출력 세기 조절이 가능한 광소자 및 광소자 제작방법
US10451810B1 (en) * 2018-08-22 2019-10-22 Corning Optical Communications LLC Adapter for electrically connecting a laser diode to a circuit board
US12401172B2 (en) 2019-03-21 2025-08-26 JeongSoo Kim Optical device capable of precise adjustment of optical output intensity, and method for manufacturing optical device
WO2021053764A1 (ja) * 2019-09-18 2021-03-25 日本電信電話株式会社 光モジュール用パッケージ

Family Cites Families (7)

* Cited by examiner, † Cited by third party
Publication number Priority date Publication date Assignee Title
JP3770945B2 (ja) * 1995-10-31 2006-04-26 富士通株式会社 入射角が可変な光学膜を有する光デバイス
JP3495493B2 (ja) * 1996-02-07 2004-02-09 アルプス電気株式会社 発光モジュール
JPH09218324A (ja) * 1996-02-08 1997-08-19 Alps Electric Co Ltd 発光モジュール
JP2001066468A (ja) 1999-08-27 2001-03-16 Hitachi Cable Ltd 光レセプタクル
CA2362654A1 (en) * 1999-12-10 2001-06-14 Sumitomo Electric Industries, Ltd. Optical semiconductor module
JP3813496B2 (ja) * 2000-12-20 2006-08-23 古河電気工業株式会社 光コネクタ
DE10112274B4 (de) * 2001-03-14 2006-05-24 Finisar Corp.(N.D.Ges.D.Staates Delaware), Sunnyvale Optoelektonisches Sendemodul und Verfahren zu dessen Herstellung

Also Published As

Publication number Publication date
US7037000B2 (en) 2006-05-02
US20040114883A1 (en) 2004-06-17
JP2004138864A (ja) 2004-05-13

Similar Documents

Publication Publication Date Title
JP3950779B2 (ja) 光伝送モジュール
US6155724A (en) Light transmitting module for optical communication and light transmitting unit thereof
US11360279B2 (en) Optical subassembly and optical module
US11129279B2 (en) Optical subassembly and optical module
CN112305683B (zh) 光模块
US20110317965A1 (en) Optical subassembly with optical device having ceramic package
JP3488159B2 (ja) 光源と光ファイバの整列装置及びこれを備える光源モジュール
WO2004008593A1 (ja) 光半導体用パッケージ
US11740419B2 (en) Optical subassembly
US20090274421A1 (en) Optical semiconductor module, adjusting method thereof, and fabricating method thereof
US11327258B2 (en) Optical module
JP2020021911A (ja) 光サブアッセンブリ及び光モジュール
JP2008226988A (ja) 光電変換モジュール
US8049159B2 (en) Optical transmitter-receiver subassembly and optical transmitter-receiver module
US6869230B2 (en) Assembly for high-speed optical transmitter or receiver
EP1353421B1 (en) Optical module with a monitor photo diode
US6116792A (en) Semiconductor laser module
JP2009260095A (ja) 光モジュール
JP2004179559A (ja) 光モジュール及びそれを用いた光モジュールアセンブリ
JP2009253176A (ja) 光電変換モジュール及び光サブアセンブリ
JPH10247741A (ja) 光通信用発光モジュールおよびその組立方法
US20070036495A1 (en) Modular laser package system and associated methods
KR0162752B1 (ko) 고속 광통신용 반도체 레이져 모듈의 패키지
JP2007025433A (ja) 光素子モジュールおよび光送信器
JP2005284167A (ja) 光通信モジュール

Legal Events

Date Code Title Description
A621 Written request for application examination

Free format text: JAPANESE INTERMEDIATE CODE: A621

Effective date: 20041021

A977 Report on retrieval

Free format text: JAPANESE INTERMEDIATE CODE: A971007

Effective date: 20060426

A131 Notification of reasons for refusal

Free format text: JAPANESE INTERMEDIATE CODE: A131

Effective date: 20060502

A521 Request for written amendment filed

Free format text: JAPANESE INTERMEDIATE CODE: A523

Effective date: 20060630

RD02 Notification of acceptance of power of attorney

Free format text: JAPANESE INTERMEDIATE CODE: A7422

Effective date: 20060630

A131 Notification of reasons for refusal

Free format text: JAPANESE INTERMEDIATE CODE: A131

Effective date: 20070116

A521 Request for written amendment filed

Free format text: JAPANESE INTERMEDIATE CODE: A523

Effective date: 20070309

TRDD Decision of grant or rejection written
A01 Written decision to grant a patent or to grant a registration (utility model)

Free format text: JAPANESE INTERMEDIATE CODE: A01

Effective date: 20070410

A61 First payment of annual fees (during grant procedure)

Free format text: JAPANESE INTERMEDIATE CODE: A61

Effective date: 20070423

R150 Certificate of patent or registration of utility model

Ref document number: 3950779

Country of ref document: JP

Free format text: JAPANESE INTERMEDIATE CODE: R150

Free format text: JAPANESE INTERMEDIATE CODE: R150

FPAY Renewal fee payment (event date is renewal date of database)

Free format text: PAYMENT UNTIL: 20100427

Year of fee payment: 3

S111 Request for change of ownership or part of ownership

Free format text: JAPANESE INTERMEDIATE CODE: R313117

FPAY Renewal fee payment (event date is renewal date of database)

Free format text: PAYMENT UNTIL: 20100427

Year of fee payment: 3

R350 Written notification of registration of transfer

Free format text: JAPANESE INTERMEDIATE CODE: R350

FPAY Renewal fee payment (event date is renewal date of database)

Free format text: PAYMENT UNTIL: 20110427

Year of fee payment: 4

FPAY Renewal fee payment (event date is renewal date of database)

Free format text: PAYMENT UNTIL: 20120427

Year of fee payment: 5

FPAY Renewal fee payment (event date is renewal date of database)

Free format text: PAYMENT UNTIL: 20120427

Year of fee payment: 5

FPAY Renewal fee payment (event date is renewal date of database)

Free format text: PAYMENT UNTIL: 20130427

Year of fee payment: 6

R250 Receipt of annual fees

Free format text: JAPANESE INTERMEDIATE CODE: R250

FPAY Renewal fee payment (event date is renewal date of database)

Free format text: PAYMENT UNTIL: 20130427

Year of fee payment: 6

FPAY Renewal fee payment (event date is renewal date of database)

Free format text: PAYMENT UNTIL: 20140427

Year of fee payment: 7

R250 Receipt of annual fees

Free format text: JAPANESE INTERMEDIATE CODE: R250

S531 Written request for registration of change of domicile

Free format text: JAPANESE INTERMEDIATE CODE: R313531

S533 Written request for registration of change of name

Free format text: JAPANESE INTERMEDIATE CODE: R313533

R350 Written notification of registration of transfer

Free format text: JAPANESE INTERMEDIATE CODE: R350

R250 Receipt of annual fees

Free format text: JAPANESE INTERMEDIATE CODE: R250

R250 Receipt of annual fees

Free format text: JAPANESE INTERMEDIATE CODE: R250

R250 Receipt of annual fees

Free format text: JAPANESE INTERMEDIATE CODE: R250

R250 Receipt of annual fees

Free format text: JAPANESE INTERMEDIATE CODE: R250

R250 Receipt of annual fees

Free format text: JAPANESE INTERMEDIATE CODE: R250

R250 Receipt of annual fees

Free format text: JAPANESE INTERMEDIATE CODE: R250

S533 Written request for registration of change of name

Free format text: JAPANESE INTERMEDIATE CODE: R313533

R350 Written notification of registration of transfer

Free format text: JAPANESE INTERMEDIATE CODE: R350

R250 Receipt of annual fees

Free format text: JAPANESE INTERMEDIATE CODE: R250

R250 Receipt of annual fees

Free format text: JAPANESE INTERMEDIATE CODE: R250

R250 Receipt of annual fees

Free format text: JAPANESE INTERMEDIATE CODE: R250

EXPY Cancellation because of completion of term