JP3831007B2 - ガス栓 - Google Patents
ガス栓 Download PDFInfo
- Publication number
- JP3831007B2 JP3831007B2 JP12721296A JP12721296A JP3831007B2 JP 3831007 B2 JP3831007 B2 JP 3831007B2 JP 12721296 A JP12721296 A JP 12721296A JP 12721296 A JP12721296 A JP 12721296A JP 3831007 B2 JP3831007 B2 JP 3831007B2
- Authority
- JP
- Japan
- Prior art keywords
- reset
- valve
- stopper
- slide
- plug
- Prior art date
- Legal status (The legal status is an assumption and is not a legal conclusion. Google has not performed a legal analysis and makes no representation as to the accuracy of the status listed.)
- Expired - Fee Related
Links
- 230000002265 prevention Effects 0.000 claims description 36
- 238000011144 upstream manufacturing Methods 0.000 claims description 24
- 238000000034 method Methods 0.000 claims description 4
- 230000008569 process Effects 0.000 claims description 4
- 230000006872 improvement Effects 0.000 description 3
- 239000000470 constituent Substances 0.000 description 2
- 238000003780 insertion Methods 0.000 description 2
- 230000037431 insertion Effects 0.000 description 2
- 230000002093 peripheral effect Effects 0.000 description 2
- 230000008901 benefit Effects 0.000 description 1
- 230000006835 compression Effects 0.000 description 1
- 238000007906 compression Methods 0.000 description 1
- 230000008878 coupling Effects 0.000 description 1
- 238000010168 coupling process Methods 0.000 description 1
- 238000005859 coupling reaction Methods 0.000 description 1
- 230000000694 effects Effects 0.000 description 1
- 230000004048 modification Effects 0.000 description 1
- 238000012986 modification Methods 0.000 description 1
- 230000004044 response Effects 0.000 description 1
Images
Landscapes
- Safety Valves (AREA)
- Quick-Acting Or Multi-Walled Pipe Joints (AREA)
Description
【発明の属する技術分野】
この発明は、ガス栓、特に、ガス流量が異常増加したときにガス流路を自動遮断する所謂過流出防止弁を具備するガス栓に関するもので、前記過流出防止弁のリセット動作が円滑に行えるようにしたものである。
【0002】
【従来の技術】
図5,図6は特公平8−10031号に示された従来のガス栓を示している。
ガス栓本体(1) 内には、ガス入口(11)からガス出口(12)に至る逆L字状のガス流路が形成されていると共に、前記ガス出口(12)の上流側の直線状の弁室(13)にはスライド栓(2) が気密摺動自在に収容されており、該スライド栓(2) は閉弁バネ(111) によって下流側のガス出口(12)側に付勢されている。又、上記スライド栓(2) の先端部の突出軸(21)には補助弁(22)が外嵌しており、該補助弁(22)は、ガス出口(12)の上流側の補助弁座口(18)を開閉する構成となっている。
【0003】
上記スライド栓(2) の上流端たる後端部には、後述する過流出防止弁をリセットする為のリセット体(41)が連設固定されている。
上記スライド栓(2) の上流側には、中心軸が前記スライド栓(2) の移動方向に対して直行する姿勢に設けられた円筒状の筒体とその内部に装填された図示しないリフト弁を具備する過流出防止弁(4) が設けられており、該過流出防止弁(4) の下流端部には図示しない進出バネで突出方向に付勢された進退自在のリセット軸(42)が設けられている。又、前記過流出防止弁(4) に於けるリセット軸(42)の近傍には、自由端が前記リセット軸(42)に対して先端側から対向するバネ板(43)が設けられている。
【0004】
図6は、ガス出口(12)の近傍部外周を構成するプラグ部(15)にワンタッチカップリング形式のソケット(3) を外嵌接続した開弁状態を示している。この開弁状態では、ソケット(3) 内の中心部に配設された開弁軸(31)でスライド栓(2) が押し込まれ、これにより、該スライド栓(2) の上流端たる後端部に連設固定されたリセット体(41)が過流出防止弁(4) の上方に配設されたバネ板(43)よりも更に後方に位置している。
【0005】
この状態でソケット(3) の下流側のガスゴム管が外れてガス栓内のガス流が急増すると、これに応答して過流出防止弁(4) が自動的に閉弁動作してガス流路が強制遮断され、これにより生ガス放出状態に放置される危険が防止される。
過流出防止弁(4) が閉弁している前記の状態でソケット(3) をプラグ部(15)から引き抜くと、閉弁バネ(111) の付勢力によってスライド栓(2) が下流側のガス出口(12)方向に押し出される。すると、該スライド栓(2) の後端部に連設固定されたリセット体(41)がバネ板(43)を介してリセット軸(42)を押込み、これにより、閉弁状態にあった過流出防止弁(4) がリセットされる。そして、スライド栓(2) が閉弁バネ(111) で更に下流側に押し出されると、これが弁室(13)内に外周気密状態に進入する一方、補助弁(22)が補助弁座口(18)を閉塞し、これにより、図5に示す閉弁状態になる。
【0006】
【発明が解決しようとする課題】
ところが、上記従来のものでは、リセット体(41)の動きをこれと直角な方向に変換する為のバネ板(43)を組み込む必要があり、然も、該組み込み時には前記バネ板(43)がリセット体(41)の下端部で確実に押されるようにその姿勢を決める作業が必要であることから、ガス栓の組み立て作業が煩雑化する問題があった。
【0007】
そこで、上記バネ板(43)を不要成らしめる為に、図7の如く、リセット体(41)の下端部を逆三角山形状に形成することも考えられる。即ち、リセット体(41)の下面を三角状に形成する為の前後一対の傾斜面(411) (412) を形成し、スライド栓(2) が閉弁方向に移動した時には前記リセット体(41)の傾斜面(411) がリセット軸(42)を押し込むようにし、これにより、過流出防止弁(4) をリセットさせるのである。
【0008】
しかしながら、上記改良案のものでは、ガス栓の奥行き寸法(スライド栓(2) の移動方向の寸法)を一定に維持しようとすると、リセット体(41)の傾斜面(411) (412) の傾斜角度を、リセット軸(42)の円滑な押込み動作が確保できる程度の緩やかな角度に設定することができない。実際に図7に示す改良案のガス栓を試作して過流出防止弁(4) のリセット動作をテストした結果、傾斜面(411) の傾斜角度(リセット体(41)の移動方向に対する傾斜角度)が大きいことが原因し、該傾斜面(411) から過流出防止弁(4) のリセット軸(42)に対して、こじるような力が作用してこれを円滑に押し込むことができない場合が多かった。
【0009】
上記改良案のものでは、スライド栓(2) の後端にリセット体(41)が連設固定されているが、スライド栓(2) とリセット体(41)の集合体が全体としてこれらの移動方向に伸縮し得るように構成できれば、ガス栓の奥行き寸法の増加を抑えながらリセット体(41)の前記移動方向長さを大きくできるという考察結果に基づき、本願発明は、前記ガス栓の奥行き寸法の増加を抑えながらリセット体(41)の傾斜面(411) の傾斜を緩やかにできるようにして過流出防止弁(4) の円滑なリセット動作が確保できるようにしたものである。
【0010】
即ち、本願発明は、
『直線状に延びる弁室(13)と、
前記弁室(13)内に進入した閉弁位置と、前記弁室(13)の上流端たる後端部から更に後方に脱出した開弁位置の間で往復移動するスライド栓(2) と、
前記スライド栓(2) の上流端たる後端部に連設され且つ前記弁室(13)の前記上流端より前記後方の空間内で移動するリセット体(41)と、
前記リセット体(41)の移動領域の上流側に続くガス流路に設けられ且つ先端部が前記リセット体(41)の移動軌跡と略直行する態様でこの移動域内に突出するように進出バネで付勢されたリセット軸(42)を有する過流出防止弁(4) とを具備し、
前記スライド栓(2) が閉弁移動する過程でこれに連設された前記リセット体(41)が前記過流出防止弁(4) の前記リセット軸(42)の先端を押し込むリセット動作を実行する』ガス栓であって、ガス栓の奥行き寸法(スライド栓(2) の移動方向の寸法)の増加を抑えながら、前記過流出防止弁(4) のリセット動作が円滑に行えるようにすることをその課題とする。
【0011】
【課題を解決するための手段】
上記課題を解決する為の請求項1の発明の技術的手段は、
『前記リセット体(41)は、前記スライド栓(2) の移動方向に一定範囲で移動自在な態様で該スライド栓(2) の前記後端部に連設され、
前記リセット体(41)に於ける前記リセット軸(42)の先端部に当接する部分の表面は、このリセット体(41)の下流端たる先端側からその反対の後端に向けて次第に前記リセット軸(42)の押込み方向にせり出した傾斜面(411) となり、
前記スライド栓(2) が前記弁室(13)に進入した全閉位置にあるときには前記リセット体(41)に対してその下流端たる先端側から当接する閉弁側ストッパ(162) と、前記スライド栓(2) が前記弁室(13)から脱出した全開位置にあるときには前記リセット体(41)に対してその上流端たる後端側から当接する開弁側ストッパ(161) が設けられ、
前記開弁側ストッパ(161) と前記閉弁側ストッパ(162) の間隔は前記スライド栓(2) の移動距離よりも小さく設定されている』ことを特徴とするものである。
【0012】
上記手段によれば、スライド栓(2) が全開位置と全閉位置の間で移動すると、該スライド栓(2) の上流端たる後端部に取付けられたリセット体(41)も移動する。そして、前記スライド栓(2) が弁室(13)の上流端から脱出した全開位置にあるときには前記リセット体(41)が開弁側ストッパ(161) でスライド栓(2) の先端側に向けて押された状態になる一方、前記スライド栓(2) が全閉位置にあるときには前記リセット体(41)が閉弁側ストッパ(162) で前記と反対側に押された状態になる。そして、前記開弁側ストッパ(161) と閉弁側ストッパ(162) の間隔は前記スライド栓(2) の移動距離よりも小さく設定されているから、スライド栓(2) よりもその後端に取付けられたリセット体(41)の移動距離の方が小さくなる。よって、スライド栓(2) が弁室(13)の上流側に脱出した全開状態に於いては、リセット体(41)が開弁側ストッパ(161) でスライド栓(2) の先端側に押された状態、即ち、スライド栓(2) とリセット体(41)の集合体の全長が収縮した状態に維持され、一方、スライド栓(2) が弁室(13)に進入した全閉位置にある時には、該スライド栓(2) に取付けられた前記リセット体(41)が閉弁側ストッパ(162) でスライド栓(2) の後端側に押された状態、即ち、スライド栓(2) とリセット体(41)の集合体の全長が伸びた状態に維持される。従って、スライド栓(2) の開閉に伴ってこれとその後端部に取付けられたリセット体(41)の集合体が伸縮動作する分だけ、これらの集合体が伸縮しないものに比べて、前記スライド栓(2) の移動方向に於けるガス栓本体(1) の寸法増大が抑えられる。即ち、ガス栓全体の奥行き寸法の増加を抑えながらリセット体(41)の移動方向長さを大きくすることができ、これにより、傾斜面(411) の傾斜を緩やかにすることができる。
【0013】
請求項2の発明のように、『前記リセット体(41)が前記閉弁側ストッパ(162) に当接した状態では前記リセット体(41)がリセット軸(42)を押込み状態に維持する』ものでは、スライド栓(2) が閉弁移動する過程で一時的にリセット軸(42)を押し込む図5〜図7のものと相違し、スライド栓(2) が閉弁状態にある限り過流出防止弁(4) がリセット状態に維持される。
【0014】
【発明の効果】
以上説明したように、請求項1の発明では、傾斜面(411) の傾斜を緩やかにすることができるから、該傾斜面(411) で過流出防止弁(4) のリセット軸(42)を押し込むリセット動作が円滑に行える。
図5,図6に示す従来のガス栓のように組み込み姿勢を考慮しながら取付ける必要がある板バネ(43)に相当するものが不要になるから、ガス栓の組み立て作業が容易になる。
【0015】
請求項2の発明では、スライド栓(2) が閉弁状態にある限り過流出防止弁(4) がリセット状態に維持されるから、リセット軸(42)が一時的に押し込まれる図5〜図7のものに比べて前記リセットが確実に行える。
【0016】
【発明の実施の形態】
次に、上記発明の実施の形態を説明する。
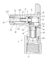
図1は第1実施形態に係るガス栓を示している。
ガス栓本体(1) 内には、胴部(19)の下端部の接続筒部(191) に形成されたガス入口(11)からプラグ部(15)先端のガス出口(12)に繋がる逆L字状のガス流路(10)が貫通している。
【0017】
上記プラグ部(15)内の下流端近傍の内周壁は該下流端に向って直径収縮する円錐面状の補助弁座口(23)となっており、該補助弁座口(23)はこれに上流側から対接する補助弁(22)で開閉される。
前記補助弁(22)には、その上流側端面に開放する軸挿入孔(220) が穿設されており、該軸挿入孔(220) には前端閉塞の円筒状のスライド栓(2) から突出した突出軸(21)が摺動自在に挿入されていると共に、これらスライド栓(2) と補助弁(22)の頭部(221) の間には圧縮バネ(222) が介装されている。
【0018】
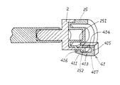
前記スライド栓(2) の後端には、リセット片保持筒(25)の先端部が嵌入固定されており、該リセット片保持筒(25)の後端下部には、図1,図2に示すようにリセット体(41)が一定範囲で摺動自在に装着されている。即ち、前記スライド栓(2) と反対側の端部が開放した円筒状のリセット片保持筒(25)には、前記開放端内周の下部に案内凹部(251) が形成されており、前記リセット片保持筒(25)の開放端外周には、前記案内凹部(251) に対応する部分に抜止突起(252) が設けられている。前記リセット片保持筒(25)の周側壁であって前記案内凹部(251) が形成された部分には、その後方からリセット体(41)が強制的に外嵌されている。具体的には、リセット体(41)は、リセット片保持筒(25)に於ける前記案内凹部(251) 部分の構成壁を挟む一対の上下の平行腕(413) (414) とこれらの後端部を連結する連結部(415) から構成されており、下側平行腕(413) の先端部は他方の上側平行腕(414) の先端より更に前方に延出されている。又、下側平行腕(413) の下面先端近傍の一定範囲は、後述する過流出防止弁(4) のリセット軸(42)を押し込む為の傾斜面(411) となっている。そして、前記下側平行腕(413) の延出部の上面には、前記抜止突起(252) と係合する係合凸部(416) が設けられている。従って、前記リセット体(41)は一対の上下平行腕(413) (414) でリセット片保持筒(25)の後端部を挟んだ状態で該リセット片保持筒(25)の軸線方向に摺動し且つその摺動域の一端に於いて係合凸部(416) と抜止突起(252) が係合することとなり、これにより、スライド栓(2) とリセット片保持筒(25)及びリセット体(41)の集合体が全体としてソケット(3) の押込み方向に伸縮するようになっている。又、スライド栓(2) が全閉位置にあるときに前記リセット体(41)の先端面が当接する閉弁側ストッパ(162) は、この実施の形態ではプラグ(15)の上流側開口縁部で構成されており、更に、スライド栓(2) が全開位置にあるときに前記リセット体(41)の後端部が当接する開弁側ストッパ(161) はこの実施の形態ではガス栓(1) の胴部(19)の上流部背面壁に螺入された閉塞蓋(16)の内面で構成されている。そして、これら開弁側ストッパ(161) と閉弁側ストッパ(162) の間隔は、開閉動作するスライド栓(2) の移動ストロークよりも短く設定されている。従って、リセット体(41)が図7のようにスライド栓(2) に対して移動不能に固定されている場合に比べ、ガス栓の奥行き寸法の増加を抑えながらリセット体(41)の前記移動方向長さを大きくすることができ、これにより、リセット体(41)の下面に形成された傾斜面(411) の傾斜を緩やかにすることが可能となる。
【0019】
上記スライド栓(2) は、ガス栓本体(1) の胴部(19)の上部背面部に螺入された閉塞蓋(16)との間に介装されたコイル状の閉弁バネ(111) で閉弁方向に付勢されている。
ガス栓本体(1) の胴部(19)には過流出防止弁(4) が装填されており、該過流出防止弁(4) から下流側に突出するリセット軸(42)は、過流出防止弁(4) 内の図示しない進出バネによって前記突出状態に付勢されている。そして、スライド栓(2) が閉弁位置にあるときは、リセット体(41)の水平部(417) に当接するようになっている。尚、上記過流出防止弁(4) は、公知の構造であり、該過流出防止弁(4) の内部に所定流量以上のガスが流れると該ガス流に押し流されて該過流出防止弁(4) 内のリフト弁が閉弁動作し、その後、リセット軸(42)が前記進出バネに抗して押し込まれると前記リフト弁が開状態にリセットされるものである。
【0020】
図1の閉弁状態に於いて、プラグ部(15)にソケット(3) を外嵌装着すると、図3に示すように、ソケット(3) に設けられた開弁軸(31)が補助弁(22)を押し込んで該補助弁(22)及びスライド栓(2) を開弁させる。
次に、上記スライド栓(2) の開弁動作等について更に詳述する。
上記開弁動作時に、上記ソケット(3) をプラグ部(15)に外嵌して押し込んで行くとリセット体(41)が閉塞蓋(16)の構成壁たる開弁側ストッパ(161) に当接して該リセット体(41)はもはや後退移動しない状態になる。更にソケット(3) を押し込むと、リセット片保持筒(25)に対してリセット体(41)が相対的に摺動する態様でスライド栓(2) 及びリセット片保持筒(25)が更に移動し、これにより、スライド栓(2) ,リセット片保持筒(25)及びリセット体(41)の集合体の前記移動方向の長さが収縮した図3の開弁状態に維持される。この開弁状態では、弁室(13)の上流側空間に位置する流入孔(14)の中程までスライド栓(2) が移動し、更に、該スライド栓(2) の後端に連設されたリセット片保持筒(25)に装着されているリセット体(41)は、過流出防止弁(4) のリセット軸(42)より更に後方(ソケット(3) の押込み方向)に移動した状態になっている。
【0021】
この状態で、ソケット(3) の下流側のガスゴム管が外れてガス過流出状態になると、既述したように過流出防止弁(4) が自動閉弁する。
次に、過流出防止弁(4) が自動閉弁した後にソケット(3) をプラグ部(15)から引き抜くと、閉弁バネ(111) の付勢力によってスライド栓(2) が閉弁方向に移動せしめられる。すると、リセット体(41)の傾斜面(411) が突出状態にある過流出防止弁(4) のリセット軸(42)に当接し、この状態から更にリセット体(41)が下流側に移動すると、前記傾斜面(411) によって次第にリセット軸(42)が押し込まれて過流出防止弁(4) がリセット状態に維持される。そして、スライド栓(2) が最下流端まで移動してリセット体(41)の先端部がプラグ部(15)の上流端開口部周縁たる閉弁側ストッパ(162) に当接した状態では、前記リセット体(41)がリセット片保持筒(25)に対して後方に移動した状態となる。そして、この状態では、リセット体(41)の水平部(417) がリセット軸(42)の先端部に当接した状態に維持され、これにより、スライド栓(2) の閉弁状態ではリセット軸(42)が押し込まれた状態(リセット状態)に保たれる。よって、スライド栓(2) が閉弁動作する過程で過流出防止弁(4) が一時的にリセットされる図7のものに比べ、過流出防止弁(4) が確実にリセットされる利点がある。この場合、上記構造のものでは既述したように、ガス栓の奥行き寸法の増大を抑えながらリセット体(41)の前記移動方向長さを大きくし得るから、リセット体(41)の下面に形成された傾斜面(411) の傾斜を緩やかにすることができ、これにより、前記傾斜が大きくなる図7のものに比べ、リセット軸(42)の押込みが円滑に行える。
【0022】
図4は、リセット片保持筒(25)に対するリセット体(41)の取付け状態の変形例を示す要部の断面斜視図である。
このものは、リセット体(41)にリング体(418) を具備させ、該リング体(418) をリセット片保持筒(25)に一定範囲で摺動し得るように外嵌したものである。即ち、前記リング体(418) は、スライド栓(2) の後端から突出する筒部(27)とこれに嵌入するリセット片保持筒(25)の後端外周のフランジ(254) の間で摺動する構成となっている。このものでは、リセット体(41)のリング体(418) 部分をリセット片保持筒(25)に外嵌するだけであり、図2のようにリセット片保持筒(25)の後端近傍に案内凹部(251) 等を形成する必要がないから、その構造の簡略化が図れる。
【0023】
尚、上記何れの実施の形態においても、スライド栓(2) とリセット片保持筒(25)を別部材で構成したが、これらを一体的に形成しても良い。
【図面の簡単な説明】
【図1】本願の発明の第1の実施の形態に係るガス栓の閉弁状態の断面図
【図2】図1のガス栓に於けるリセット体(41)の装着部の断面斜視図
【図3】本願の発明の第1の実施の形態に係るガス栓の開弁状態の断面図
【図4】本願の発明のリセット体(41)の取付け部を変形した例を示す第2の実施の形態を示す要部の断面斜視図
【図5】従来のガス栓の閉弁状態を示す断面図
【図6】従来のガス栓の開弁状態を示す断面図
【図7】従来のガス栓の改良案を示す要部断面図
【符号の説明】
(2) ・・・スライド栓
(4) ・・・過流出防止弁
(13)・・・弁室
(41)・・・リセット体
(42)・・・リセット軸
(161) ・・・開弁側ストッパ
(162) ・・・閉弁側ストッパ
Claims (2)
- 直線状に延びる弁室(13)と、
前記弁室(13)内に進入した閉弁位置と、前記弁室(13)の上流端たる後端部から更に後方に脱出した開弁位置の間で往復移動するスライド栓(2) と、
前記スライド栓(2) の上流端たる後端部に連設され且つ前記弁室(13)の前記上流端より前記後方の空間内で移動するリセット体(41)と、
前記リセット体(41)の移動領域の上流側に続くガス流路に設けられ且つ先端部が前記リセット体(41)の移動軌跡と略直行する態様でこの移動域内に突出するように進出バネで付勢されたリセット軸(42)を有する過流出防止弁(4) とを具備し、
前記スライド栓(2) が閉弁移動する過程でこれに連設された前記リセット体(41)が前記過流出防止弁(4) の前記リセット軸(42)の先端を押し込むリセット動作を実行するガス栓であって、
前記リセット体(41)は、前記スライド栓(2) の移動方向に一定範囲で移動自在な態様で該スライド栓(2) の前記後端部に連設され、
前記リセット体(41)に於ける前記リセット軸(42)の先端部に当接する部分の表面は、このリセット体(41)の下流端たる先端側からその反対の後端に向けて次第に前記リセット軸(42)の押込み方向にせり出した傾斜面(411) となり、
前記スライド栓(2) が前記弁室(13)に進入した全閉位置にあるときには前記リセット体(41)に対してその下流端たる先端側から当接する閉弁側ストッパ(162) と、前記スライド栓(2) が前記弁室(13)から脱出した全開位置にあるときには前記リセット体(41)に対してその上流端たる後端側から当接する開弁側ストッパ(161) が設けられ、
前記開弁側ストッパ(161) と前記閉弁側ストッパ(162) の間隔は前記スライド栓(2) の移動距離よりも小さく設定されているガス栓。 - 前記リセット体(41)が前記閉弁側ストッパ(162) に当接した状態では前記リセット体(41)がリセット軸(42)を押込み状態に維持する請求項1に記載のガス栓。
Priority Applications (1)
| Application Number | Priority Date | Filing Date | Title |
|---|---|---|---|
| JP12721296A JP3831007B2 (ja) | 1996-05-22 | 1996-05-22 | ガス栓 |
Applications Claiming Priority (1)
| Application Number | Priority Date | Filing Date | Title |
|---|---|---|---|
| JP12721296A JP3831007B2 (ja) | 1996-05-22 | 1996-05-22 | ガス栓 |
Publications (2)
| Publication Number | Publication Date |
|---|---|
| JPH09310771A JPH09310771A (ja) | 1997-12-02 |
| JP3831007B2 true JP3831007B2 (ja) | 2006-10-11 |
Family
ID=14954506
Family Applications (1)
| Application Number | Title | Priority Date | Filing Date |
|---|---|---|---|
| JP12721296A Expired - Fee Related JP3831007B2 (ja) | 1996-05-22 | 1996-05-22 | ガス栓 |
Country Status (1)
| Country | Link |
|---|---|
| JP (1) | JP3831007B2 (ja) |
Families Citing this family (3)
| Publication number | Priority date | Publication date | Assignee | Title |
|---|---|---|---|---|
| JP3913223B2 (ja) * | 2004-01-22 | 2007-05-09 | 株式会社藤井合金製作所 | ガス栓 |
| JP5216340B2 (ja) * | 2007-06-08 | 2013-06-19 | 大阪瓦斯株式会社 | 継手装置 |
| JP7276721B2 (ja) * | 2021-01-14 | 2023-05-18 | 株式会社タツノ | 安全継手 |
-
1996
- 1996-05-22 JP JP12721296A patent/JP3831007B2/ja not_active Expired - Fee Related
Also Published As
| Publication number | Publication date |
|---|---|
| JPH09310771A (ja) | 1997-12-02 |
Similar Documents
| Publication | Publication Date | Title |
|---|---|---|
| US20130340866A1 (en) | Fuel-filling aperture opening/closing device | |
| US7380569B2 (en) | Valve body for backflow prevention valve | |
| US7028983B2 (en) | Coupling member of a pipe coupling and valve body used in a coupling member | |
| CN115867738A (zh) | 减压和泄压阀 | |
| JP2004257521A (ja) | バルブ | |
| JP3831007B2 (ja) | ガス栓 | |
| KR101885050B1 (ko) | 체크밸브 | |
| KR20140120462A (ko) | 체크밸브 | |
| ATE318111T1 (de) | Klappenventil für ein trokarsystem | |
| JP5764802B2 (ja) | シールリングを用いた連結構造 | |
| EP1310437A1 (en) | Dispenser | |
| JPH063242Y2 (ja) | ガス遮断弁の遮断弁機構 | |
| JPH0523894Y2 (ja) | ||
| JP2000297870A (ja) | ガス栓 | |
| JP4167791B2 (ja) | 流量調整機能を付加したストレーナ付き止水栓 | |
| JP2593214Y2 (ja) | 逆止め弁内蔵ボール弁 | |
| JP6116255B2 (ja) | ガス栓 | |
| JPH063241Y2 (ja) | ガス遮断弁の弁機構 | |
| FR2835478A1 (fr) | Tete de tubulure de remplissage de reservoir de carburant | |
| JPH03172686A (ja) | 逆止弁 | |
| JP3833745B2 (ja) | ガス放出防止器及び該ガス放出防止器用作動軸制御部材 | |
| JPS6140995Y2 (ja) | ||
| JP2001173821A (ja) | 自閉水栓 | |
| JPH0317117Y2 (ja) | ||
| JPH04106573U (ja) | ガス用安全弁のリセツト構造 |
Legal Events
| Date | Code | Title | Description |
|---|---|---|---|
| A977 | Report on retrieval |
Free format text: JAPANESE INTERMEDIATE CODE: A971007 Effective date: 20060501 |
|
| TRDD | Decision of grant or rejection written | ||
| A01 | Written decision to grant a patent or to grant a registration (utility model) |
Free format text: JAPANESE INTERMEDIATE CODE: A01 Effective date: 20060711 |
|
| A61 | First payment of annual fees (during grant procedure) |
Free format text: JAPANESE INTERMEDIATE CODE: A61 Effective date: 20060713 |
|
| R150 | Certificate of patent or registration of utility model |
Free format text: JAPANESE INTERMEDIATE CODE: R150 |
|
| FPAY | Renewal fee payment (event date is renewal date of database) |
Free format text: PAYMENT UNTIL: 20090721 Year of fee payment: 3 |
|
| FPAY | Renewal fee payment (event date is renewal date of database) |
Free format text: PAYMENT UNTIL: 20120721 Year of fee payment: 6 |
|
| FPAY | Renewal fee payment (event date is renewal date of database) |
Free format text: PAYMENT UNTIL: 20140721 Year of fee payment: 8 |
|
| LAPS | Cancellation because of no payment of annual fees |