JP3783752B2 - マグネシウム強化乳製品 - Google Patents
マグネシウム強化乳製品 Download PDFInfo
- Publication number
- JP3783752B2 JP3783752B2 JP28608697A JP28608697A JP3783752B2 JP 3783752 B2 JP3783752 B2 JP 3783752B2 JP 28608697 A JP28608697 A JP 28608697A JP 28608697 A JP28608697 A JP 28608697A JP 3783752 B2 JP3783752 B2 JP 3783752B2
- Authority
- JP
- Japan
- Prior art keywords
- magnesium
- milk
- fruit juice
- agent
- organic acid
- Prior art date
- Legal status (The legal status is an assumption and is not a legal conclusion. Google has not performed a legal analysis and makes no representation as to the accuracy of the status listed.)
- Expired - Fee Related
Links
- 239000011777 magnesium Substances 0.000 title claims description 77
- 229910052749 magnesium Inorganic materials 0.000 title claims description 68
- FYYHWMGAXLPEAU-UHFFFAOYSA-N Magnesium Chemical compound [Mg] FYYHWMGAXLPEAU-UHFFFAOYSA-N 0.000 title claims description 67
- 235000013365 dairy product Nutrition 0.000 title claims description 19
- 235000013336 milk Nutrition 0.000 claims description 48
- 239000008267 milk Substances 0.000 claims description 48
- 210000004080 milk Anatomy 0.000 claims description 48
- 239000003795 chemical substances by application Substances 0.000 claims description 42
- ZLNQQNXFFQJAID-UHFFFAOYSA-L magnesium carbonate Chemical compound [Mg+2].[O-]C([O-])=O ZLNQQNXFFQJAID-UHFFFAOYSA-L 0.000 claims description 25
- 239000001095 magnesium carbonate Substances 0.000 claims description 25
- 229910000021 magnesium carbonate Inorganic materials 0.000 claims description 25
- 235000011389 fruit/vegetable juice Nutrition 0.000 claims description 22
- 150000007524 organic acids Chemical class 0.000 claims description 22
- 235000020971 citrus fruits Nutrition 0.000 claims description 19
- 235000015203 fruit juice Nutrition 0.000 claims description 19
- 239000002994 raw material Substances 0.000 claims description 10
- 238000004519 manufacturing process Methods 0.000 claims description 7
- HEMHJVSKTPXQMS-UHFFFAOYSA-M Sodium hydroxide Chemical compound [OH-].[Na+] HEMHJVSKTPXQMS-UHFFFAOYSA-M 0.000 description 27
- 239000000843 powder Substances 0.000 description 20
- 239000000243 solution Substances 0.000 description 17
- 238000002156 mixing Methods 0.000 description 15
- 244000248349 Citrus limon Species 0.000 description 14
- 235000005979 Citrus limon Nutrition 0.000 description 14
- 235000020183 skimmed milk Nutrition 0.000 description 14
- 238000000034 method Methods 0.000 description 12
- 230000015271 coagulation Effects 0.000 description 11
- 238000005345 coagulation Methods 0.000 description 11
- 239000007788 liquid Substances 0.000 description 10
- 235000013373 food additive Nutrition 0.000 description 9
- 239000002778 food additive Substances 0.000 description 9
- 238000010438 heat treatment Methods 0.000 description 9
- 235000011121 sodium hydroxide Nutrition 0.000 description 9
- 238000012360 testing method Methods 0.000 description 9
- TWRXJAOTZQYOKJ-UHFFFAOYSA-L Magnesium chloride Chemical compound [Mg+2].[Cl-].[Cl-] TWRXJAOTZQYOKJ-UHFFFAOYSA-L 0.000 description 8
- CSNNHWWHGAXBCP-UHFFFAOYSA-L Magnesium sulfate Chemical compound [Mg+2].[O-][S+2]([O-])([O-])[O-] CSNNHWWHGAXBCP-UHFFFAOYSA-L 0.000 description 8
- 239000000796 flavoring agent Substances 0.000 description 8
- 235000019634 flavors Nutrition 0.000 description 8
- 239000000047 product Substances 0.000 description 8
- 230000000694 effects Effects 0.000 description 6
- 239000002244 precipitate Substances 0.000 description 6
- 235000020185 raw untreated milk Nutrition 0.000 description 6
- OYPRJOBELJOOCE-UHFFFAOYSA-N Calcium Chemical compound [Ca] OYPRJOBELJOOCE-UHFFFAOYSA-N 0.000 description 5
- 229910052791 calcium Inorganic materials 0.000 description 5
- 239000011575 calcium Substances 0.000 description 5
- 239000000203 mixture Substances 0.000 description 5
- 238000001556 precipitation Methods 0.000 description 5
- 230000001954 sterilising effect Effects 0.000 description 5
- 238000004659 sterilization and disinfection Methods 0.000 description 5
- 230000035622 drinking Effects 0.000 description 4
- 229910001629 magnesium chloride Inorganic materials 0.000 description 4
- 229910052943 magnesium sulfate Inorganic materials 0.000 description 4
- 235000019341 magnesium sulphate Nutrition 0.000 description 4
- 238000002360 preparation method Methods 0.000 description 4
- 238000012545 processing Methods 0.000 description 4
- 102000004169 proteins and genes Human genes 0.000 description 4
- 108090000623 proteins and genes Proteins 0.000 description 4
- 235000013351 cheese Nutrition 0.000 description 3
- KRKNYBCHXYNGOX-UHFFFAOYSA-N citric acid Chemical compound OC(=O)CC(O)(C(O)=O)CC(O)=O KRKNYBCHXYNGOX-UHFFFAOYSA-N 0.000 description 3
- 239000006071 cream Substances 0.000 description 3
- 235000015140 cultured milk Nutrition 0.000 description 3
- 235000013305 food Nutrition 0.000 description 3
- 235000015243 ice cream Nutrition 0.000 description 3
- 230000003993 interaction Effects 0.000 description 3
- 235000005985 organic acids Nutrition 0.000 description 3
- 238000010979 pH adjustment Methods 0.000 description 3
- VEXZGXHMUGYJMC-UHFFFAOYSA-N Hydrochloric acid Chemical compound Cl VEXZGXHMUGYJMC-UHFFFAOYSA-N 0.000 description 2
- 230000015572 biosynthetic process Effects 0.000 description 2
- 210000000988 bone and bone Anatomy 0.000 description 2
- 235000020186 condensed milk Nutrition 0.000 description 2
- 238000004090 dissolution Methods 0.000 description 2
- 235000020189 fortified milk Nutrition 0.000 description 2
- 230000013632 homeostatic process Effects 0.000 description 2
- 239000004615 ingredient Substances 0.000 description 2
- JVTAAEKCZFNVCJ-UHFFFAOYSA-N lactic acid Chemical compound CC(O)C(O)=O JVTAAEKCZFNVCJ-UHFFFAOYSA-N 0.000 description 2
- 235000020124 milk-based beverage Nutrition 0.000 description 2
- 235000016709 nutrition Nutrition 0.000 description 2
- 235000008476 powdered milk Nutrition 0.000 description 2
- 230000008569 process Effects 0.000 description 2
- 238000003860 storage Methods 0.000 description 2
- XLYOFNOQVPJJNP-UHFFFAOYSA-N water Substances O XLYOFNOQVPJJNP-UHFFFAOYSA-N 0.000 description 2
- 241000894006 Bacteria Species 0.000 description 1
- 241000207199 Citrus Species 0.000 description 1
- 240000000560 Citrus x paradisi Species 0.000 description 1
- 208000001132 Osteoporosis Diseases 0.000 description 1
- 239000002253 acid Substances 0.000 description 1
- 239000003929 acidic solution Substances 0.000 description 1
- 230000002378 acidificating effect Effects 0.000 description 1
- 239000003513 alkali Substances 0.000 description 1
- 239000003708 ampul Substances 0.000 description 1
- 239000013522 chelant Substances 0.000 description 1
- 238000013329 compounding Methods 0.000 description 1
- 239000012141 concentrate Substances 0.000 description 1
- 238000011161 development Methods 0.000 description 1
- -1 etc. Substances 0.000 description 1
- 238000011156 evaluation Methods 0.000 description 1
- 235000013861 fat-free Nutrition 0.000 description 1
- 238000009472 formulation Methods 0.000 description 1
- 235000014106 fortified food Nutrition 0.000 description 1
- 239000011521 glass Substances 0.000 description 1
- 208000019622 heart disease Diseases 0.000 description 1
- 230000006872 improvement Effects 0.000 description 1
- 239000004310 lactic acid Substances 0.000 description 1
- 235000014655 lactic acid Nutrition 0.000 description 1
- 235000020121 low-fat milk Nutrition 0.000 description 1
- 150000002680 magnesium Chemical class 0.000 description 1
- 235000011147 magnesium chloride Nutrition 0.000 description 1
- 230000007246 mechanism Effects 0.000 description 1
- 239000011259 mixed solution Substances 0.000 description 1
- 238000009928 pasteurization Methods 0.000 description 1
- 230000009467 reduction Effects 0.000 description 1
- 239000012047 saturated solution Substances 0.000 description 1
- 230000001953 sensory effect Effects 0.000 description 1
- 239000007787 solid Substances 0.000 description 1
- 239000007921 spray Substances 0.000 description 1
- 230000000087 stabilizing effect Effects 0.000 description 1
- 239000007858 starting material Substances 0.000 description 1
- 239000000126 substance Substances 0.000 description 1
- 230000009772 tissue formation Effects 0.000 description 1
- 230000003313 weakening effect Effects 0.000 description 1
- 235000013618 yogurt Nutrition 0.000 description 1
Images
Landscapes
- Dairy Products (AREA)
- Non-Alcoholic Beverages (AREA)
- Pharmaceuticals Containing Other Organic And Inorganic Compounds (AREA)
- Medicines Containing Material From Animals Or Micro-Organisms (AREA)
Description
【産業上の利用分野】
本発明は、マグネシウムを強化した新規乳製品に関する。また、本発明は、マグネシウム強化乳製品の製造方法に関する。
【0002】
【従来の技術】
近年、骨粗鬆症に代表される骨組織の脆弱化に対する懸念から、カルシウム摂取志向が高まり、多種多様なカルシウム強化食品が開発されてきた。また、生体における骨組織形成のメカニズムも詳しく研究され、カルシウムのみならずマグネシウムの必要性が注目されるようになってきた。一方、マグネシウムは生体のホメオスタシス(恒常性)を維持する上でも重要な役割を果たしており、心疾患との関連も示唆されているにもかかわらず、その摂取量は十分ではない。
乳製品はカルシウムの供給源として非常に優れており、その認識も定着していることから、乳製品にマグネシウムを強化することができれば、より優れた栄養食品として提供することができる。ところが、食品添加物として認可されているマグネシウム剤は限られていること、また、それらのマグネシウム剤はその呈味性が悪く、かつ、乳成分との相互作用により沈殿や不溶解物の生成をもたらすことから、マグネシウム強化乳製品の開発は困難であり、製品化されていない。
【0003】
本発明者らは、炭酸マグネシウムを柑橘類の果汁で溶解するか、または、柑橘類の果汁に炭酸マグネシウムを溶解することにより調製されるマグネシウム剤が、呈味性が良く、また、マグネシウムをキレートすることにより錯イオン化して安定化させる作用を有する有機酸であるクエン酸を多く含むことに注目し、乳成分との相互作用を抑制する配合方法について鋭意研究を進めていた。その結果、炭酸マグネシウムを柑橘類の果汁または有機酸を含有する溶液で溶解するか、または、柑橘類の果汁または有機酸を含有する溶液に炭酸マグネシウムを溶解して得られるマグネシウム剤は、乳に配合した後にアルカリ剤でpHを調整した場合、沈殿物や不溶解物が生成することなく熱処理に対して安定であることを見出した。
【0004】
【発明が解決しようとする課題】
本発明の課題は、炭酸マグネシウムを柑橘類の果汁または有機酸を含有する溶液で溶解するか、または、柑橘類の果汁または有機酸を含有する溶液に炭酸マグネシウムを溶解して得られるマグネシウム剤を用い、乳または乳を主体とする原料に配合した後、アルカリ剤によりpHを調整することによるマグネシウム強化乳製品の製造法、及び、その製造法によって製造されるマグネシウム強化乳製品を提供することである。
【0005】
【課題を解決するための手段】
炭酸マグネシウムを柑橘類の果汁または有機酸を含有する溶液とその混合物で溶解するか、または、柑橘類の果汁または有機酸を含有する溶液に炭酸マグネシウムを溶解して得られるマグネシウム剤を用い、そのまま乳または乳を主体とする原料に配合した場合、pHが酸性側に変化するとともに熱処理に対しても不安定となり、タンパク質の凝固や沈殿物発生の原因となる。これにより、通常の乳製品製造工程における殺菌処理が困難になるばかりか、製造された製品の品質が低下することになる。ところが、カセイソーダ等のアルカリ剤を用いて乳本来のpHに近い限られたpH範囲に調整することにより、熱処理に対する安定性が高まることを見出し、本発明を完成するに至った。
【0006】
本発明に用いるマグネシウム剤は、次のように調製することができる。
レモン、オレンジ、グレープフルーツ等の柑橘類の果汁であれば、その原液、濃縮液、濃縮果汁の還元液、果汁粉末還元液等、果肉を含まない液体状調製物はすべて利用することができる。さらに、柑橘類の果汁以外にも、それと同様の有機酸組成を持つような擬似果汁、さらに、同様の効果を有する有機酸の溶液やその混合液も利用することができる。一方の炭酸マグネシウムとしては、食品添加物用のものを用いる。炭酸マグネシウムは水には溶けないが、果汁、擬似果汁または有機酸を含有する溶液のような酸性の溶液には溶解する。このとき、炭酸マグネシウムの粉末を上記の果汁、擬似果汁または有機酸を含有する溶液で溶解しても、また、上記の果汁または有機酸を含有する溶液に炭酸マグネシウムを溶解してもかまわない。さらに、その溶解溶液は、炭酸マグネシウムがそれ以上溶解できない飽和溶液であってもかまわない。このようにして得られた溶液を適正なフィルターで濾過するか、遠心分離機で不溶解物を除去することにより清澄な液体を得る。本発明のマグネシウム剤には、その液体そのものやそれを濃縮したもの、さらに、乾燥粉末としても用いることができる。また、そのような市販の調製品の例として、レモン果汁と炭酸マグネシウムを原料に用いて製造された『Mgレモンパウダー』(ヤスマ株式会社)を使用することもできる。
【0007】
次に、本発明のマグネシウム強化乳製品とその製造法について詳細に述べる。
本発明のマグネシウム強化乳製品は、加工乳、乳飲料、クリーム等、乳本来のpHが大きく変化することなく製造される乳主体の製品、また、発酵乳、アイスクリーム、チーズ、練乳、濃縮乳、粉乳類等、乳本来のpHを維持した原料乳を用いて、殺菌処理等の加熱処理を行ってから製造される製品のいずれにも適用できる。
【0008】
まず、生乳、生脱脂乳、還元乳、還元脱脂乳等を原料とし、上記の方法によって調製されたマグネシウム剤を配合する。その配合量は、製品の風味への影響を考慮すると、マグネシウム濃度で0.5重量%程度までであるが、風味への影響を考慮する必要のない製品では、それ以上の濃度で配合しても構わない。このとき、1.0重量%以上配合した場合には、原料乳のpHは6.0以下に低下する。次に、カセイソーダ等のアルカリ剤を用いてpHを6.5〜6.9に調整する。
このようにして調製された原料乳は加熱処理に対して安定であり、加工乳、乳飲料、クリーム等の製品へと加工する際に行う低温殺菌処理(LTLT)や高温殺菌処理(HTST,UHT)を通常通り行って製造することができる。また、殺菌処理の後、通常の製造方法に従って発酵乳、アイスクリーム、チーズ、練乳、濃縮乳、粉乳類を製造することができる。
【0009】
次に、本発明のマグネシウム剤配合方法による、熱処理に対する安定性向上効果について、以下の試験例により説明する。
【0010】
【試験例1】
脱脂粉乳を10.0重量%の濃度で溶解したものに、Mgレモンパウダー(ヤスマ株式会社)を0.5, 1.0, 1.5, 2.0重量%の濃度でそれぞれ配合した。対照となる10.0%還元脱脂乳も合わせて、2.0NカセイソーダによりpH6.7に合わせた乳とpH調整を行わない乳を調製した。それぞれの乳を約2mlずつガラスアンプル管に封入し、120℃に維持したオイルバス中に浸漬して、凝固物発生にいたる時間(熱凝固時間 Heat Coagulation Time=HCT)を測定した。表1に結果を示した。なお、マグネシウム剤配合後のマグネシウム含量も、表中に合わせて示した。
【0011】
【表1】
【0012】
表1の結果からわかるように、柑橘類の果汁と炭酸マグネシウムを用いて調製されるマグネシウム剤を配合した後にpHを調整することにより、熱凝固時間は飛躍的に長くなったことから、熱安定性が大きく高まったことが分かった。そこで次に、pH調整におけるpHと熱安定性との関連を以下の試験例で調べた。
【0013】
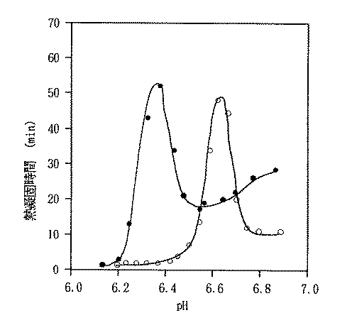
【試験例2】
脱脂粉乳を15.0重量%の濃度で溶解した。次に、この還元脱脂乳100mlに対し、1.0N塩酸と1.0Nカセイソーダを0.15, 0.3, 0.45, 0.6mlづつ添加して、pHを酸側とアルカリ側に変化させた乳を調製した。
一方、上記の還元脱脂乳に対して、Mgレモンパウダー(ヤスマ株式会社)を1.0重量%で配合した。次に、2.0Nカセイソーダを用いてpH6.2〜pH6.9の範囲で異なるpHに合わせたサンプルを調製した。それぞれのサンプルについて、試験例1と同様の方法で熱凝固時間の測定を行った。図1に、その結果を示した。
【0014】
図1に示したpHと熱凝固時間との関係を示す曲線(HCT-pH曲線)から明らかなように、還元脱脂乳ではpH6.25〜pH6.45に熱凝固時間のピークが存在するが、マグネシウム剤を配合した乳ではpH6.50〜pH6.75へとシフトしており、両者の極大値はほぼ同レベルである。また、還元脱脂乳本来のpHは6.45であり、熱凝固時間も20min程度である。したがって、マグネシウム剤を配合した後にアルカリ剤を用いてpHを6.55〜6.70に調整することにより、還元脱脂乳と同等もしくはそれ以上の熱安定性を確保できることが分かった。さらに、このようにマグネシウム強化した原料を用いて乳製品を製造する場合、原料の殺菌はこの試験例のように高温で分単位の加熱ではなく、通常70〜100℃で数秒から数十秒程度の温和な条件で行われるため、pH調整が6.5〜6.9の範囲であれば加工上何ら問題はない。
【0015】
次に、天然の柑橘果汁と炭酸マグネシウムを用いて調製したマグネシウム剤と、有機酸等の混合による擬似果汁と炭酸マグネシウムを用いて調製したマグネシウム剤を用いて本発明の方法により製造したマグネシウム強化乳、および、食品添加物として認可されている可溶性のマグネシウム剤である塩化マグネシウムと硫酸マグネシウムを、本発明と同様の方法によってそれぞれ配合したマグネシウム強化乳について、熱安定性や風味を比較する試験を行った。
【0016】
【試験例3】
天然の柑橘果汁によるマグネシウム剤として、Mgレモンパウダー(ヤスマ株式会社)を用い、擬似果汁には市販の擬似レモン果汁を用いて、先に述べた方法により調製したマグネシウム剤を用いた。脱脂粉乳を10.0重量%の濃度で溶解したものに、Mgレモンパウダーと擬似果汁から調製したマグネシウム剤、さらに、食品添加物として認可されている塩化マグネシウムと硫酸マグネシウムとを、それぞれ配合した。なお、4種類のマグネシウム剤の配合量は、添加後の乳中のマグネシウム含量が等しくなるように、Mgレモンパウダーは1.0重量%、擬似果汁によるマグネシウム剤は1.2重量%、塩化マグネシウムは0.7重量%、硫酸マグネシウムは0.8重量%とした。それぞれのマグネシウム剤を配合した後、本発明の方法に従って2.0NカセイソーダによりpH6.65に調整してマグネシウム強化乳を調製した。この4種類のマグネシウム強化乳の熱安定性を試験例1の方法で評価するとともに、それらの風味を官能評価した。表2に結果を示す。
【0017】
【表2】
【0018】
Mgレモンパウダーおよび擬似果汁を用いて調製されたマグネシウム剤を配合したマグネシウム強化乳は、熱安定性が極めて優れており、その風味も良好である。塩化マグネシウムおよび硫酸マグネシウムの場合では、加熱により直ちに凝乳してしまうだけではなく、その風味も食品として許容されるものではない。
以上の結果から、本発明に使用するマグネシウム剤の調製には、天然の柑橘果汁だけではなく、有機酸の混合により調製された擬似果汁も使用できることが明らかになった。このように、有機酸を含む溶液を本発明のマグネシウム剤の調製に用いてマグネシウム強化乳製品を製造することができる。さらに、これらの果汁または有機酸混合液有機酸を含む溶液と炭酸マグネシウムを用いて調製されるマグネシウム剤を、乳または乳を主体とする原料に配合した上で、アルカリ剤によりpHを特定の範囲に調整することにより、風味が良好で熱処理にも安定な加工適性の優れたマグネシウム強化乳を製造できることが判明した。
【0019】
次に実施例を示し、本発明を詳しく説明する。
【0020】
【実施例1】
レモン濃縮果汁の還元液に対して食品添加物用の炭酸マグネシウムを徐々に溶解しながらそれ以上溶解できなくなるまで添加した後、沈殿物をクラリファイヤーで除去して清澄な液体を得た。次にこの液体を濃縮してから、噴霧乾燥して粉末を製造した。このようにして得られたマグネシウム剤を生乳100kgに対して1.0kg配合したのち、食品添加物用カセイソーダによりpHを6.65に調整した。次に、高圧ホモゲナイザーにより均質圧150kg/cm2で均質化した後、130℃で2秒間殺菌してマグネシウム強化乳を製造した。加熱殺菌処理を行っても、タンパク質の凝固や沈殿が生成することなく製造でき、その品質は通常の飲用乳の保存期間を通して変化はなかった。
【0021】
【実施例2】
市販の擬似レモン果汁を用いて実施例1と同様にマグネシウム剤を調製してから、マグネシウム強化乳を製造した。製造されたマグネシウム強化乳は、通常の飲用乳の保存期間を通して沈殿物もなく良好な品質であった。
【0022】
【実施例3】
脱脂粉乳を9.0kgとMgレモンパウダー(ヤスマ株式会社)1.0kgを86.0kgの水で還元した後、食品添加物用カセイソーダによりpH6.60に調整した。これに生クリーム4.0kgを配合したのち、高圧ホモゲナイザーにより均質圧150kg/cm2で均質化してから、130℃で2秒間殺菌してマグネシウム強化低脂肪乳を製造した。加熱殺菌処理を行っても、タンパク質の凝固や沈殿が生成することなく製造でき、その品質は通常の飲用乳の保存期間を通して変化はなかった。
【0023】
【実施例4】
実施例1と同じ配合によって調製した乳100kgを90℃で30秒間殺菌した後、スターター乳酸菌を接種して温度を37℃に維持しながら10時間発酵させて、マグネシウム強化プレーンヨーグルトを製造した。製品中には沈殿物等は見られず、風味も良好なものとなった。
【0024】
【実施例5】
Mgレモンパウダー(ヤスマ株式会社)5.0kgを生脱脂乳495.0kgに配合した後、食品添加物用カセイソーダによりpH6.65に調整した。この乳を減圧濃縮機により固形濃度45.0%まで濃縮してから、熱風乾燥装置により噴霧乾燥してマグネシウム強化脱脂粉乳を製造した。製品の粉末は還元時の分散性や溶解性において、通常の脱脂粉乳と全く遜色ないものであり、溶解した後の加熱処理に対してもタンパク質の凝固や沈殿の発生がなく安定な性質であった。
【0025】
【発明の効果】
現在、食品添加物として認可されているマグネシウム剤は限られており、かつそれらのマグネシウム剤は極めて呈味性が悪い。また、乳成分との相互作用を持つことから沈殿や不溶解物の生成をもたらし、乳や乳を主体とする原料を用いたマグネシウム強化乳製品の開発は困難であった。
炭酸マグネシウムを柑橘類の果汁などの有機酸を含有する溶液で溶解するか、または、柑橘類の果汁などの有機酸を含有する溶液に炭酸マグネシウムを溶解して得られるマグネシウム剤は呈味性が良く、乳や乳を主体とする原料に配合した後にそのpHを特定の範囲に調整する本発明の方法によれば、乳成分との相互作用による沈殿物や不溶解物が生成することなく、熱処理に対して安定なマグネシウム強化乳製品を製造することが可能となる。本発明の方法により、飲用乳、濃縮乳、粉乳類等を製造できるだけではなく、それを原料として発酵乳、アイスクリーム、チーズ等を製造することが可能となる。これら一連のマグネシウム強化乳製品は、カルシウムの供給源として有効な乳製品に付加価値をもたらし、より優れた栄養食品として提供することができる。
【図面の簡単な説明】
【図1】試験例2におけるpHと熱凝固時間との関係を示す。
図中の●はマグネシウム剤を配合する前の原料乳のHCT-pH曲線を、○はマグネシウム剤配合後の乳のHCT-pH曲線を示す。
Claims (2)
- 乳主体の原料に対して、柑橘類の果汁、擬似果汁又は有機酸を含有する溶液に炭酸マグネシウムを溶解することにより得られたマグネシウム剤が配合され、最終的にpHが6.5〜6.9に調整されてなることを特徴とする熱安定性改善炭酸マグネシウム強化乳製品。
- 炭酸マグネシウムを柑橘類の果汁、擬似果汁又は有機酸を含有する溶液で溶解するか、または、柑橘類の果汁、擬似果汁又は有機酸を含有する溶液に炭酸マグネシウムを溶解することにより調製されるマグネシウム剤を、乳を主体とする原料に配合し、次いでアルカリ剤でpHを6.5〜6.9に調整することを特徴とする、熱安定性改善マグネシウム強化乳製品の製造法。
Priority Applications (1)
| Application Number | Priority Date | Filing Date | Title |
|---|---|---|---|
| JP28608697A JP3783752B2 (ja) | 1997-10-02 | 1997-10-02 | マグネシウム強化乳製品 |
Applications Claiming Priority (1)
| Application Number | Priority Date | Filing Date | Title |
|---|---|---|---|
| JP28608697A JP3783752B2 (ja) | 1997-10-02 | 1997-10-02 | マグネシウム強化乳製品 |
Publications (2)
| Publication Number | Publication Date |
|---|---|
| JPH11103771A JPH11103771A (ja) | 1999-04-20 |
| JP3783752B2 true JP3783752B2 (ja) | 2006-06-07 |
Family
ID=17699766
Family Applications (1)
| Application Number | Title | Priority Date | Filing Date |
|---|---|---|---|
| JP28608697A Expired - Fee Related JP3783752B2 (ja) | 1997-10-02 | 1997-10-02 | マグネシウム強化乳製品 |
Country Status (1)
| Country | Link |
|---|---|
| JP (1) | JP3783752B2 (ja) |
Families Citing this family (2)
| Publication number | Priority date | Publication date | Assignee | Title |
|---|---|---|---|---|
| DE102010039489A1 (de) * | 2010-08-18 | 2012-02-23 | Fresenius Medical Care Deutschland Gmbh | Konzentrat |
| EP3462894A4 (en) * | 2016-05-23 | 2020-07-29 | The State of Israel, Ministry of Agriculture & Rural Development, Kimron Veterinary Institute | ION MAGNESIUM USED AS AN ANTIBACTERIAL AGENT |
Family Cites Families (6)
| Publication number | Priority date | Publication date | Assignee | Title |
|---|---|---|---|---|
| JPS6029465B2 (ja) * | 1978-10-06 | 1985-07-10 | 味の素株式会社 | 酸性蛋白飲用組成物 |
| JPS60217888A (ja) * | 1984-04-12 | 1985-10-31 | Isao Moriya | 塩化マグネシウムを利用する殺菌及び消毒方法 |
| JPS6413981A (en) * | 1988-03-01 | 1989-01-18 | Isao Moriya | Method for sterilization and disinfection utilizing magnesium chloride |
| JPH05252883A (ja) * | 1992-03-09 | 1993-10-05 | Lion Corp | 液状ゲル化剤及び液状デザートの素組成物 |
| JP2840176B2 (ja) * | 1993-05-27 | 1998-12-24 | 江崎グリコ株式会社 | 豆腐様食品等の製造法 |
| JPH119226A (ja) * | 1997-06-20 | 1999-01-19 | Yakult Honsha Co Ltd | マグネシウム強化用組成物及びその製造方法 |
-
1997
- 1997-10-02 JP JP28608697A patent/JP3783752B2/ja not_active Expired - Fee Related
Also Published As
| Publication number | Publication date |
|---|---|
| JPH11103771A (ja) | 1999-04-20 |
Similar Documents
| Publication | Publication Date | Title |
|---|---|---|
| JP3638301B2 (ja) | 乳組成物およびその製造方法 | |
| RU2218800C2 (ru) | Обогащенный кальцием пищевой продукт и способ его получения | |
| US3949098A (en) | Nutritious orange drink concentrate, process and drink resultant therefrom | |
| JP2004504050A (ja) | 卵をベースとした粉末およびこれを含む食品 | |
| JP3030752B2 (ja) | カルシウム強化乳性酸性濃縮飲料及びその製造方法 | |
| JPH104876A (ja) | カルシウム入り乳性酸性飲料 | |
| JP3783752B2 (ja) | マグネシウム強化乳製品 | |
| US6706308B2 (en) | Process for the manufacture of an evaporated milk substitute | |
| JP3619319B2 (ja) | カルシウム強化乳飲料の製造方法 | |
| IE54718B1 (en) | Process for preparing long-preservation aromatized drinks based on acid whey | |
| JP3821981B2 (ja) | 未変性ラクトフェリン入り殺菌乳及びその製造法 | |
| US4673583A (en) | Method of producing calcium-enriched aseptic soy bean curd | |
| JPH02145170A (ja) | 液状蛋白補助食品 | |
| JP2017055751A (ja) | 弱酸性のゲル状乳加工品の製造方法 | |
| JP2002281895A (ja) | 弱酸性乳飲料及びその製造方法 | |
| JPH0576280A (ja) | 牛乳豆腐の製造法 | |
| JP3083579B2 (ja) | カルシウム強化飲料及びその製造法 | |
| WO1998005221A1 (en) | Drinkable, acid nutrient composition with long shelf life and health-promoting action | |
| JP4850714B2 (ja) | (乳酸)グルコン酸クエン酸カルシウムを含む、カルシウム強化されたタンパク質系の飲料 | |
| JP4382836B2 (ja) | ミネラル剤及びその製造方法 | |
| JP2000139344A (ja) | 耐酸、耐熱性を有する水中油型エマルション | |
| JPH05184292A (ja) | 高カルシウム強化乳飲料及びその製造方法 | |
| JPH04158762A (ja) | 液状蛋白補助食品の製造法 | |
| JP2000342175A (ja) | 安定性が良好な発酵乳製品 | |
| JPH11239466A (ja) | ミネラル剤及びその製造方法 |
Legal Events
| Date | Code | Title | Description |
|---|---|---|---|
| A621 | Written request for application examination |
Free format text: JAPANESE INTERMEDIATE CODE: A621 Effective date: 20040914 |
|
| A977 | Report on retrieval |
Free format text: JAPANESE INTERMEDIATE CODE: A971007 Effective date: 20050701 |
|
| A131 | Notification of reasons for refusal |
Free format text: JAPANESE INTERMEDIATE CODE: A131 Effective date: 20050712 |
|
| RD02 | Notification of acceptance of power of attorney |
Free format text: JAPANESE INTERMEDIATE CODE: A7422 Effective date: 20050817 |
|
| A521 | Written amendment |
Free format text: JAPANESE INTERMEDIATE CODE: A523 Effective date: 20050908 |
|
| A02 | Decision of refusal |
Free format text: JAPANESE INTERMEDIATE CODE: A02 Effective date: 20051011 |
|
| A521 | Written amendment |
Free format text: JAPANESE INTERMEDIATE CODE: A523 Effective date: 20051212 |
|
| A911 | Transfer of reconsideration by examiner before appeal (zenchi) |
Free format text: JAPANESE INTERMEDIATE CODE: A911 Effective date: 20060124 |
|
| TRDD | Decision of grant or rejection written | ||
| A01 | Written decision to grant a patent or to grant a registration (utility model) |
Free format text: JAPANESE INTERMEDIATE CODE: A01 Effective date: 20060221 |
|
| A61 | First payment of annual fees (during grant procedure) |
Free format text: JAPANESE INTERMEDIATE CODE: A61 Effective date: 20060307 |
|
| R150 | Certificate of patent or registration of utility model |
Free format text: JAPANESE INTERMEDIATE CODE: R150 |
|
| FPAY | Renewal fee payment (event date is renewal date of database) |
Free format text: PAYMENT UNTIL: 20090324 Year of fee payment: 3 |
|
| FPAY | Renewal fee payment (event date is renewal date of database) |
Free format text: PAYMENT UNTIL: 20100324 Year of fee payment: 4 |
|
| FPAY | Renewal fee payment (event date is renewal date of database) |
Free format text: PAYMENT UNTIL: 20110324 Year of fee payment: 5 |
|
| FPAY | Renewal fee payment (event date is renewal date of database) |
Free format text: PAYMENT UNTIL: 20110324 Year of fee payment: 5 |
|
| S111 | Request for change of ownership or part of ownership |
Free format text: JAPANESE INTERMEDIATE CODE: R313111 |
|
| FPAY | Renewal fee payment (event date is renewal date of database) |
Free format text: PAYMENT UNTIL: 20120324 Year of fee payment: 6 |
|
| R371 | Transfer withdrawn |
Free format text: JAPANESE INTERMEDIATE CODE: R371 |
|
| FPAY | Renewal fee payment (event date is renewal date of database) |
Free format text: PAYMENT UNTIL: 20120324 Year of fee payment: 6 |
|
| S111 | Request for change of ownership or part of ownership |
Free format text: JAPANESE INTERMEDIATE CODE: R313111 |
|
| FPAY | Renewal fee payment (event date is renewal date of database) |
Free format text: PAYMENT UNTIL: 20120324 Year of fee payment: 6 |
|
| R350 | Written notification of registration of transfer |
Free format text: JAPANESE INTERMEDIATE CODE: R350 |
|
| FPAY | Renewal fee payment (event date is renewal date of database) |
Free format text: PAYMENT UNTIL: 20120324 Year of fee payment: 6 |
|
| FPAY | Renewal fee payment (event date is renewal date of database) |
Free format text: PAYMENT UNTIL: 20130324 Year of fee payment: 7 |
|
| FPAY | Renewal fee payment (event date is renewal date of database) |
Free format text: PAYMENT UNTIL: 20130324 Year of fee payment: 7 |
|
| FPAY | Renewal fee payment (event date is renewal date of database) |
Free format text: PAYMENT UNTIL: 20140324 Year of fee payment: 8 |
|
| LAPS | Cancellation because of no payment of annual fees |
