JP3759019B2 - モーア - Google Patents

モーア Download PDF

Info

Publication number
JP3759019B2
JP3759019B2 JP2001321781A JP2001321781A JP3759019B2 JP 3759019 B2 JP3759019 B2 JP 3759019B2 JP 2001321781 A JP2001321781 A JP 2001321781A JP 2001321781 A JP2001321781 A JP 2001321781A JP 3759019 B2 JP3759019 B2 JP 3759019B2
Authority
JP
Japan
Prior art keywords
blade
cutting
discharge port
grass
mower
Prior art date
Legal status (The legal status is an assumption and is not a legal conclusion. Google has not performed a legal analysis and makes no representation as to the accuracy of the status listed.)
Expired - Fee Related
Application number
JP2001321781A
Other languages
English (en)
Other versions
JP2003125626A (ja
Inventor
宏樹 永井
正敏 山口
正剛 村川
隆史 柴田
Current Assignee (The listed assignees may be inaccurate. Google has not performed a legal analysis and makes no representation or warranty as to the accuracy of the list.)
Kubota Corp
Original Assignee
Kubota Corp
Priority date (The priority date is an assumption and is not a legal conclusion. Google has not performed a legal analysis and makes no representation as to the accuracy of the date listed.)
Filing date
Publication date
Application filed by Kubota Corp filed Critical Kubota Corp
Priority to JP2001321781A priority Critical patent/JP3759019B2/ja
Publication of JP2003125626A publication Critical patent/JP2003125626A/ja
Application granted granted Critical
Publication of JP3759019B2 publication Critical patent/JP3759019B2/ja
Anticipated expiration legal-status Critical
Expired - Fee Related legal-status Critical Current

Links

Images

Landscapes

  • Harvester Elements (AREA)

Description

【0001】
【発明の属する技術分野】
本発明は、刈刃ハウジングに複数のブレードを左右方向に並置する状態で内装し、前記ブレード全部の同一方向への回転に伴い前記刈刃ハウジングの左右一側に形成の放出口に刈り草を流動案内する所謂、サイドディスチャージ式のモーアで、詳しくは、刈り草を放出せずに裁断して均一に分散させる所謂、マルチング機能を付与する技術に関する。
【0002】
【従来の技術】
サイドディスチャージ式のモーアをマルチングモーアに改変するに、従来では、各ブレードの切断領域を仕切る仕切り板と放出口を閉塞する蓋とを設けていた。
【0003】
【発明が解決しようとする課題】
しかし、上記従来の技術によるときは、ブレードの回転に伴う遠心力や風圧で刈り草が切断領域の外周部に偏在する傾向があったから、マルチング性能が低いものであった。
【0004】
本発明の目的は、マルチング性能を向上する点にある。
【0005】
【課題を解決するための手段】
請求項1に係る本発明によるモーアの特徴・作用・効果は次の通りである。
【0006】
〔特徴〕
刈刃ハウジングに複数のブレードを左右方向に並置する状態で内装し、前記ブレード全部の同一方向への回転に伴い前記刈刃ハウジングの左右一側に形成の放出口に刈り草を流動案内するモーアであって、前記ブレードの端部回転軌跡にほぼ沿って配置することで隣りのブレードによる切断領域への刈り草の移動を阻止する第1整流板と、回転方向下手側ほどブレード回転軸芯側に位置させる状態で配置することで刈り草をブレード回転軸芯側に案内する第2整流板と、前記放出口側のブレードの端部回転軌跡にほぼ沿わせ、放出口に対向配置することで前記放出口へ刈り草が放出されるのを阻止するために放出口部分を閉塞する蓋とを設けるとともに、前記刈刃ハウジング内のうち隣り合って対となるブレード回転軸芯間の中央箇所で刈り草をブレード回転軸芯側に集めるように、前記隣り合って対となる第2整流板の回転方向下手側端部をそれぞれブレード回転軸芯間の中央側に近寄って前記ブレード回転軸芯間を結ぶ直線上又はその近くに位置させてある点にある。
【0007】
〔作用〕
隣りの切断領域への刈り草の移動を阻止する第1整流板及び放出口を閉塞する蓋のみならず、回転方向下手側ほどブレード回転軸芯側に位置させる状態で配置することで刈り草をブレード回転軸芯側に案内する第2整流板を設けてあるから、刈り草が切断領域の外周部に偏在する傾向を少なくして、切断領域の全域に刈り草を分散させることができる。
【0008】
本発明者は、実験の結果、刈刃ハウジング内のうち隣り合うブレード回転軸芯間の中央箇所に刈り草を集めることにより、マルチング性能を優れたものにできることを知見した。
【0009】
上記の知見に基づいて、隣り合って対となる第2整流板の回転方向下手側端部をそれぞれブレード回転軸芯間の中央側に近寄ってブレード回転軸芯間を結ぶ直線上又はその近くに位置させて、刈刃ハウジング内のうち隣り合って対となるブレード回転軸芯間の中央箇所のブレード回転軸芯側に刈り草を集めるようにしてあるから、マルチング性能を優れたものにできるようになった。
【0010】
〔効果〕
従って、刈り草を裁断して均一に分散させるといったマルチング性能を向上できるようになった。
【0011】
【発明の実施の形態】
マルチングモーアは、サイドディスチャージモーアをベースにして構成されている。
【0012】
サイドディスチャージモーアは、図4、図9に示すように、左右一側に放出口1を突出形成した刈刃ハウジング2に、二つのブレード3を左右方向に並置する状態で内装し、前記刈刃ハウジング2の前縁部に、上方に膨出していてブレード3の全部の同一方向への回転に伴い前記放出口1に刈り草を流動案内する排出路4を形成した基本構造を備えている。
【0013】
前記刈刃ハウジング2のうち前部の左右両側箇所には、前部接地輪5が前部ブラケット6を介して片持ち状に装着されており、後部の左右中央入り込み箇所には、図5の(イ)(ロ)にも示すように、後部接地輪7が左右一対の後部ブラケット8を介して両持ち状に装着されている。
【0014】
マルチングモーアは、図1〜図4に示すように、前記サイドディスチャージモーアに、仕切り板9と第1整流板10と第2整流板11と蓋12と吹き出し防止板13とを設けて構成されている。
【0015】
前記仕切り板9は、前記排出路4のうち上方膨出排出路部分と下部排出路部分とを仕切るものであって、前記刈刃ハウジング2のうち膨出部天井の左右二箇所にそれぞれステー15を介してボルトB1止めされるとともに、非膨出部天井の左右二箇所にそれぞれでボルトB2止めされている。
【0016】
前記第1整流板10は、前記放出口1から遠い側のブレード3の端部回転軌跡にほぼ沿って配置することにより下部排出路部分を介する隣りのブレード3による切断領域への刈り草の移動を阻止するものであって、前記仕切り板9に固着連設されている。
【0017】
前記第2整流板11は、各ブレード3による切断領域のそれぞれにおいて、回転方向下手側ほどブレード回転軸芯側に位置させる状態で配置することにより回転に伴い刈り草をブレード回転軸芯側に案内するものであって、前記仕切り板9に固着連設されている。これら第2整流板11は、刈刃ハウジング2のうち隣り合うブレード回転軸芯間の中央箇所Aに刈り草を集めるように、回転方向下手側端部をブレード回転軸芯間を結ぶ直線L上又はその近くに位置させている。
【0018】
前記蓋12は、放出口1側のブレード3による切断領域での刈り草の流動を案内するガイドを兼用する状態で放出口1のうち下部排出路部分に連通する下部部分を閉塞するものであって、前記仕切り板9に固着連設されている。
【0019】
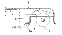
前記吹き出し防止板13は、横断面形状L字形で刈刃ハウジング2の後縁下端から刈刃ハウジング2内に水平板部を入り込ませる状態に配置することにより、刈刃ハウジング2の後縁下端と地面との間から刈刃ハウジング2内の刈り草が漏洩するのを抑制ものであって、左右で三分割されている。そして、左側の分割体13Aは、左端及び左右中央で刈刃ハウジング2にボルトB4止めされており、中央の分割体13Bは、右端及び左右中央で刈刃ハウジング2にボルトB5止めされており、右側の分割体13Cは、前記仕切り板9の下方への折り曲げ片9aにボルトB3止めされている。
そして、左側と中央の分割体13A,13Bは連結板17を介して連結されている。
【0020】
前記連結板17は、ボルトB6で分割体13A,13Bに連結するものであって、この連結板17には、図5の(イ)(ロ)〜図7に示すように、前記後部ブラケット8に載置保持されるためのアーム17aが一体形成されている。
【0021】
18は、入力プーリ19を備えた入力軸であり、この入力軸18に装着した出力プーリ20と各ブレード3の回転軸21に装着した入力プーリ22とにわたっては、入力軸18の回転に伴って各ブレード3が同一方向に回転するように動力を伝達する伝動ベルト23が張設されている。24は伝動ベルト23に張力を付与するテンションプーリである。これらは、本来的にサイドディスチャージモーアに備わっているものである。
【0022】
このように構成されたマルチングモーアは、フロントマウント草刈り機、ミッドマウント草刈り機、リヤマウント草刈り機のモーアとして使用されるのである。
【0023】
もちろん、仕切り板9、第1整流板10、第2整流板11、蓋12、吹き出し防止板13を取り外すことにより、サイドディスチャージモーアとして使用できるものである。
【0024】
〔別実施形態〕
上記実施の形態では、2ブレードタイプのモーアを示したが、本発明は、3ブレードタイプのモーアにも適用することができる。
【図面の簡単な説明】
【図1】 マルチングモーアの平面図
【図2】 マルチングモーアの横断平面図
【図3】 マルチングモーアの縦断背面図
【図4】 マルチングモーアの縦断側面図
【図5】 要部の分解平面図と組み立て平面図
【図6】 図5の(ロ)におけるa−a線断面図
【図7】 連結板の斜視図
【図8】 分解平面図
【図9】 サイドディスチャージモーアの平面図
【符号の説明】
2 刈刃ハウジング
3 ブレード
1 放出口
4 排出路
9 仕切り板
10 第1整流板
11 第2整流板
12 蓋
A 中央箇所
L 直線

Claims (1)

  1. 刈刃ハウジングに複数のブレードを左右方向に並置する状態で内装し、前記ブレード全部の同一方向への回転に伴い前記刈刃ハウジングの左右一側に形成の放出口に刈り草を流動案内するモーアであって、前記ブレードの端部回転軌跡にほぼ沿って配置することで隣りのブレードによる切断領域への刈り草の移動を阻止する第1整流板と、回転方向下手側ほどブレード回転軸芯側に位置させる状態で配置することで刈り草をブレード回転軸芯側に案内する第2整流板と、前記放出口側のブレードの端部回転軌跡にほぼ沿わせ、放出口に対向配置することで前記放出口へ刈り草が放出されるのを阻止するために放出口部分を閉塞する蓋とを設けるとともに、前記刈刃ハウジング内のうち隣り合って対となるブレード回転軸芯間の中央箇所で刈り草をブレード回転軸芯側に集めるように、前記隣り合って対となる第2整流板の回転方向下手側端部をそれぞれブレード回転軸芯間の中央側に近寄って前記ブレード回転軸芯間を結ぶ直線上又はその近くに位置させてあるモーア。
JP2001321781A 2001-10-19 2001-10-19 モーア Expired - Fee Related JP3759019B2 (ja)

Priority Applications (1)

Application Number Priority Date Filing Date Title
JP2001321781A JP3759019B2 (ja) 2001-10-19 2001-10-19 モーア

Applications Claiming Priority (1)

Application Number Priority Date Filing Date Title
JP2001321781A JP3759019B2 (ja) 2001-10-19 2001-10-19 モーア

Publications (2)

Publication Number Publication Date
JP2003125626A JP2003125626A (ja) 2003-05-07
JP3759019B2 true JP3759019B2 (ja) 2006-03-22

Family

ID=19138939

Family Applications (1)

Application Number Title Priority Date Filing Date
JP2001321781A Expired - Fee Related JP3759019B2 (ja) 2001-10-19 2001-10-19 モーア

Country Status (1)

Country Link
JP (1) JP3759019B2 (ja)

Cited By (1)

* Cited by examiner, † Cited by third party
Publication number Priority date Publication date Assignee Title
US9629307B2 (en) 2013-07-12 2017-04-25 Excel Industries, Inc. Mower cutting chamber with adjustable discharge geometry

Families Citing this family (5)

* Cited by examiner, † Cited by third party
Publication number Priority date Publication date Assignee Title
US7448194B2 (en) 2006-08-29 2008-11-11 Kubota Corporation Mower deck with ventilation hole
US7610742B2 (en) 2006-10-19 2009-11-03 Kubota Corporation Mower unit
JP4825114B2 (ja) 2006-11-13 2011-11-30 株式会社クボタ 多目的車両の運転部構造
JP5022242B2 (ja) * 2008-01-11 2012-09-12 株式会社クボタ モーア
CN114711018A (zh) * 2022-05-17 2022-07-08 宁波大叶园林设备股份有限公司 一种割草机

Cited By (1)

* Cited by examiner, † Cited by third party
Publication number Priority date Publication date Assignee Title
US9629307B2 (en) 2013-07-12 2017-04-25 Excel Industries, Inc. Mower cutting chamber with adjustable discharge geometry

Also Published As

Publication number Publication date
JP2003125626A (ja) 2003-05-07

Similar Documents

Publication Publication Date Title
US7617665B2 (en) Mower having cutting chambers
US7299613B2 (en) Mulching mower unit
US6330783B2 (en) Mower deck
EP2710874B1 (en) Riding lawn mower
EP2923554B1 (en) Lawn mower
EP2923553B1 (en) Lawn mower
EP2710876B1 (en) Riding lawn mower
US5251430A (en) Cutter and housing assembly for lawn mower
US6073430A (en) Rotary mower up-flow cutting deck
JP4275088B2 (ja) サイドディスチャージモーア
US7383678B2 (en) Rear discharge mower deck having non-vertical fan spindle
JP3759019B2 (ja) モーア
US4773205A (en) Anti-clogging means for bulk material flow duct
JP3582878B2 (ja) モーア
JP2001251924A (ja) ブレードモーアのモーアデッキ
JP2859039B2 (ja) モーア
JP3612630B2 (ja) モアのデッキカバー
JPH01112913A (ja) 草刈機
JPH0313136Y2 (ja)
CN222954421U (zh) 割草机
JP3562992B2 (ja) モーア
JPH0313137Y2 (ja)
JPH0210891Y2 (ja)
JPH0356172Y2 (ja)
JP5022242B2 (ja) モーア

Legal Events

Date Code Title Description
A621 Written request for application examination

Free format text: JAPANESE INTERMEDIATE CODE: A621

Effective date: 20040510

A977 Report on retrieval

Free format text: JAPANESE INTERMEDIATE CODE: A971007

Effective date: 20050527

A131 Notification of reasons for refusal

Free format text: JAPANESE INTERMEDIATE CODE: A131

Effective date: 20050609

A521 Written amendment

Free format text: JAPANESE INTERMEDIATE CODE: A523

Effective date: 20050802

TRDD Decision of grant or rejection written
A01 Written decision to grant a patent or to grant a registration (utility model)

Free format text: JAPANESE INTERMEDIATE CODE: A01

Effective date: 20051215

A61 First payment of annual fees (during grant procedure)

Free format text: JAPANESE INTERMEDIATE CODE: A61

Effective date: 20051227

R150 Certificate of patent or registration of utility model

Free format text: JAPANESE INTERMEDIATE CODE: R150

Ref document number: 3759019

Country of ref document: JP

Free format text: JAPANESE INTERMEDIATE CODE: R150

FPAY Renewal fee payment (event date is renewal date of database)

Free format text: PAYMENT UNTIL: 20100113

Year of fee payment: 4

FPAY Renewal fee payment (event date is renewal date of database)

Free format text: PAYMENT UNTIL: 20100113

Year of fee payment: 4

FPAY Renewal fee payment (event date is renewal date of database)

Free format text: PAYMENT UNTIL: 20110113

Year of fee payment: 5

FPAY Renewal fee payment (event date is renewal date of database)

Free format text: PAYMENT UNTIL: 20120113

Year of fee payment: 6

FPAY Renewal fee payment (event date is renewal date of database)

Free format text: PAYMENT UNTIL: 20130113

Year of fee payment: 7

FPAY Renewal fee payment (event date is renewal date of database)

Free format text: PAYMENT UNTIL: 20140113

Year of fee payment: 8

LAPS Cancellation because of no payment of annual fees