JP3692016B2 - コアドリルを回転駆動部へ接続するための接続装置 - Google Patents
コアドリルを回転駆動部へ接続するための接続装置 Download PDFInfo
- Publication number
- JP3692016B2 JP3692016B2 JP2000181496A JP2000181496A JP3692016B2 JP 3692016 B2 JP3692016 B2 JP 3692016B2 JP 2000181496 A JP2000181496 A JP 2000181496A JP 2000181496 A JP2000181496 A JP 2000181496A JP 3692016 B2 JP3692016 B2 JP 3692016B2
- Authority
- JP
- Japan
- Prior art keywords
- drill
- holder
- collet chuck
- core drill
- lock nut
- Prior art date
- Legal status (The legal status is an assumption and is not a legal conclusion. Google has not performed a legal analysis and makes no representation as to the accuracy of the status listed.)
- Expired - Lifetime
Links
- 238000005553 drilling Methods 0.000 claims description 31
- 230000002093 peripheral effect Effects 0.000 claims description 11
- XLYOFNOQVPJJNP-UHFFFAOYSA-N water Substances O XLYOFNOQVPJJNP-UHFFFAOYSA-N 0.000 description 17
- 238000004080 punching Methods 0.000 description 3
- 229910003460 diamond Inorganic materials 0.000 description 2
- 239000010432 diamond Substances 0.000 description 2
- 239000000428 dust Substances 0.000 description 2
- 239000000314 lubricant Substances 0.000 description 2
- 238000003825 pressing Methods 0.000 description 2
- 230000005540 biological transmission Effects 0.000 description 1
- 238000010276 construction Methods 0.000 description 1
- 230000000694 effects Effects 0.000 description 1
- 238000000034 method Methods 0.000 description 1
- 239000004570 mortar (masonry) Substances 0.000 description 1
- 230000000149 penetrating effect Effects 0.000 description 1
- 230000002787 reinforcement Effects 0.000 description 1
- 230000003014 reinforcing effect Effects 0.000 description 1
Images
Landscapes
- Gripping On Spindles (AREA)
- Drilling And Boring (AREA)
- Drilling Tools (AREA)
- Processing Of Stones Or Stones Resemblance Materials (AREA)
Description
【発明の属する技術分野】
本発明は、コアドリルを穿孔機の回転駆動部へ接続するための接続装置に関するものである。
【0002】
【従来の技術】
コアドリルは、円筒形状の回転工具であって、円筒状筒体の先端部に工業用ダイヤモンドあるいは超硬の刃となるチップを付けたものであり、刃先に工業用ダイヤモンドのチップを付けたものはコンクリート又は岩盤等の穴あけに適しており、又、刃先に超硬チップを付けたものはモルタル又はALC版の穴あけに適している。前者は、ドリル筒体の基端部に穿孔機の回転駆動部に設けたねじ部に結合する連結ねじを設けた方式が多く、後者は、ドリル筒体の基端部は円筒体のままで開放状態にしておき、シャンクを有する連結軸体を当該基端部に挿入して両者を一体に結合し、シャンクを回転伝動工具に接続する方式が多い。
【0003】
又、コアドリルの筒体につまった抜きカス(コア)は、ドリル筒体を回転駆動部から外して取り除くが、ドリル筒体の基端部が開放状態であれば抜きカスの除去は容易である。従来構造のコアドリルは、ドリル筒体の直径にかかわりなく1回の穿孔作業ごとに抜きカスを除去しているが、ドリル筒体の直径が3〜5cm程度と小径の場合はドリル筒体を外さずに集塵機によって抜きカスを吸い取ることができるので、抜きカスをドリル筒体に残したままでも連続して穿孔作業が可能となる。従って、上記のようにコアドリルの穿孔径が比較的小さいときはドリル筒体を長くして連続した穿孔作業をして作業能率を向上させることができる。
【0004】
コアドリルの直径が3〜5cmであってドリル筒体が長くなる場合、ドリル筒体は作業開始時に僅かな刃先の振れが生じると振れが増大して所望の穴径が得られなくなる。しかしドリル筒体の任意の位置を穿孔機に連結できれば、例えドリル筒体の長さが100〜150cmになっても、穿孔作業の開始時に刃先部分が振れることを防止できる。
【0005】
本願発明者は、穿孔機の回転駆動部となるねじ部にホルダーを結合し、該ホルダー内にコレットチャックを設け、当該コレットチャックにコアドリルの筒体を装着することによりドリル筒体の基端部に回転駆動部とねじ結合する連結ねじを省略することができることに着目した。
【0006】
特許第2502876号発明は、コレットチャックの従来例である。図7は当該従来発明を示しており、ホルダー本体1、コレット3、楔リング5、ロックナット4により構成され、ホルダー本体1には、工具を挿入する入口部より径が奥細りとなる長いテーパ穴2を設け、このテーパ穴2と一致する後細りのテーパ面3bを設けたコレット3を挿入し、該コレット3の先端にはホルダー本体1に挿入したテーパとは逆向きの先細りのテーパ面3aを設け、このテーパ面3aとホルダー本体1のテーパ穴2との間に楔リング5を押し込み、ロックナット4で締め付けて工具の軸部を把持する工具ホルダーである。
【0007】
上記の従来発明は、コレット3の外周面に設けた逆向きのテーパ面3a,3bとホルダー本体1のテーパ穴2及び楔リング5の内側面並びに工具を把持する面が大きく、工具把持の精度はよいが、把持面が平坦に形成されているので、コアドリルの把持力が不足するといった問題があった。すなわち、本発明が対象とする建築現場でコンクリートに穴あけをする場合は、切削によって生じる粉塵又はコンクリート切粉がドリル把持面にも付着し、このためドリルを把持する把持力が低下するだけでなくドリルの芯だしが不正確になっていた。
【0008】
【発明が解決しようとする課題】
本発明の課題は、筒体基端部を開放状態に形成したコアドリルを穿孔機の回転駆動部に接続する接続装置であって、穿孔機の回転駆動部に結合したホルダーにドリル筒体を装着するコレットチャックを設け、該コレットチャックのドリル把持面の面積をできるだけ小さくすることにより、ドリル筒体を把持する単位面積あたりの把持面圧を高くして安定した把持力が得られるようにしたコアドリルの接続装置を提供することである。
【0009】
【課題を解決するための手段】
解決手段の第1は、ホルダーと、該ホルダーに連結するロックナットと、該ロックナットと上記ホルダーとの間に装着するコレットチャックとからなり、上記ホルダーは、筒体であって内周面に基端部が小径となる第1のテーパ面を設けたものであり、上記ロックナットは、内周面に先端側が小径となる第2のテーパ面を設けたものであり、上記コレットチャックは、両端外側部に一方を上記ホルダーの上記第1のテーパ面と当接し他方を上記ロックナットの上記第2のテーパ面と当接する外側テーパ面と、両端内周面に基端部の内径が筒状部分の内径よりも小径に形成されかつ最大面積が上記外側テーパ面の面積を超えない大きさに形成されたドリル把持面と、筒状部の両端から軸方向に沿って複数本のスリットを設けたものであり、上記ホルダーを穿孔機の回転駆動体に結合し、上記コレットチャックにコアドリルを装着し、当該コレットチャックの上記ドリル把持面でコアドリルを挟着したことを特徴とするものである。
解決手段の第2は、コレットチャックが、ドリル把持面に環状溝を設けたことを特徴とするものである。
【0010】
【発明の実施の形態】
図1はスタンドにセットした穿孔機にコアドリルを装着した状態を示し、図2はコレットチャックを装着したホルダー部の詳細を示し、図3はホルダー、コレット、ロックナットを示し、図4はドリルへの給水構造を示し、図5はコアドリルを示し、図6はコレットのドリル筒体との接触面の形態を示している。
【0011】
図1において、スタンド10は、基台11と該基台11に設けた支柱12とからなる。支柱12には穿孔機13が昇降可能に設けられている。穿孔機13はスライダー14を有し、該スライダー14は前記支柱12に装着されていて、当該支柱12の側部に設けたラック15に係合し、該ラック15に沿って昇降するものである。16は前記スライダー14に設けた腕杆であり、該腕杆16にモータ17を設けると共に当該腕杆16の先端部に回転駆動体18を設けている。実施例において、回転駆動体18は腕杆16に上下に貫通させた筒体であって、前記モータ17の駆動軸と減速歯車19を介して連結されると共にベアリングに支持されて回転可能である。又、回転駆動体18の下端部の外周面には後述するホルダーを結合する雄ねじ20が設けられている。ただし、雄ねじ20に代えて雌ねじを設けることができることは勿論である。
【0012】
次に図2、図3によりコアドリルを装着するホルダー、コレットチャック、ロックナットを説明する。図3(A)に示すホルダー30は筒状体であり、基端部に穿孔機13に設けられた回転駆動体18の雄ねじ20と着脱自在にねじ結合する雌ねじ31を設けると共に、上記雌ねじ31と隣接する内周面に基端側(奥部)が小径となる第1のテーパ面32を設けたものである。なお、33はホルダー外周面に設けた雄ねじである。
【0013】
図3(C)に示すロックナット40は、上記ホルダー30にねじ結合するものであって、筒状に形成された基端部にホルダーの雄ねじ33と結合する雌ねじ41を設け、内周面に先端縁部が小径となり、かつ、上記ホルダー30の第1のテーパ面32と同じ傾斜角度に形成した第2のテーパ面42を設けたものである。
【0014】
図3(B)に示すコレットチャック50は、筒状部51の両端外側部に該筒状部51よりも大径で、かつ、前記第1及び第2のテーパ面32,42と同じ傾斜角度にした外側テーパ面52を設けると共に、両端開口部の内周面に筒状部51の内径より若干小径としたドリル把持面53を設けたものである。54は筒状部51の両端部から軸方向に沿って設けた複数本のスリットである。
【0015】
図2に示すように、穿孔機(13)の回転駆動体18の雄ねじ20にホルダー30の雌ねじ31をねじ結合して両者を固定する。次いでロックナット40内にコレットチャック50を挿入し、ホルダー30の雄ねじ33にロックナット40の雌ねじ41をねじ結合するが、ここではホルダー30とロックナット40は仮止めの状態にしておく。コアドリル60は、ロックナット40をホルダー30に仮止めした後にコレットチャック50の下方から装着する。
【0016】
ホルダー30に装着されたコレットチャック50は、一方の外側テーパ面52がホルダー30の第1のテーパ面32と係合し、他方の外側テーパ面52がロックナット40の第2のテーパ面42と係合し、さらにドリル把持面53がコアドリル60のドリル筒体と係合している。前記第1及び第2のテーパ面32,42と外側テーパ面52は何れも傾斜角度を同一に形成しているので、コレットチャック50は天地の方向を無視してホルダー30に装着することができるようになっている。
【0017】
実施例において、回転駆動体18の下端部近傍には雄ねじ20に隣接する位置に2面が平行となる工具当接部21を設け(図1)、ホルダー30の雌ねじ31を設けた部分の外周面は横断面を6角形とした締付部34を設け、ロックナット40の外周面には複数個の工具係合穴43を設けており、各部材の組み立て時に当該部材に工具を装着して締め付け及び取り外しができるようにしている。
【0018】
仮り止めされていたロックナット40を締め付けると、コレットチャック50はホルダー30の奥部に向って移動する。ロックナット40の第2のテーパ面42はコレットの下端部を上方に押し上げる作用をし、同時にホルダー30の第1のテーパ面32はコレットの上端部を下方に押し付ける作用をする。このため、コレットチャック50はこの位置で上下方向からの押圧力を受けて軸方向に圧縮されるので内径部が縮径し、ドリル把持面53がコアドリル60のドリル筒体をしっかりと支持する。従って、回転駆動体18、ホルダー30、ロックナット40、コレットチャック50、コアドリル60の各部材は一体となる。
【0019】
コアドリルによる穿孔作業においては、ドリルの刃先に潤滑剤として水を供給するので穿孔機には給水機構を設けている。図4において、給水機構70は、穿孔機13の上方に回転駆動体18と平行する支持板71を固定ボルト72により固定すると共に、該支持板71に形成した長孔73に取付ボルト74により取付位置が変更できる給水筐体75を設けたものである。また給水筐体75は、筒状体に形成されていて内部に回転可能な回転筒体76をベアリング77を介して設け、当該回転筒体76にコアドリル60の先端部を挿入する。コアドリル60と回転筒体76との間にはOリング78が設けられ、給水筐体75の上部に設けた蓋体79には中心部にコックを有する給水口80が設けられている。なお、給水口80から供給された水はコアドリル60の筒体に供給されるが、Oリング77によってドリル筒体の外側には漏れないようになっている。
【0020】
上記のように組み立てられた実施例は、回転駆動体18の回転力がコアドリル60に伝えられるので、モータ17を駆動しながら穿孔機13をスタンド10の支柱12に沿って下降すれば、コアドリル60の刃部61(図5)によって所望の穴があけられる。なお、穿孔作業に際し、給水機構70の給水口80からコアドリル60内に潤滑剤として作用する水が供給される。
【0021】
実施例においては、コレットチャック50のドリル把持面53の面積が外側テーパ面52の面積よりも小に形成されており、換言すれば、ドリル把持面53の最大面積が外側テーパ面52の面積を越えないように形成することにより、コアドリルのドリル筒体を掴む単位面積あたりの面圧を高くすることができる。このため、実施例では穿孔作業によって生じるコンクリート切粉などがドリル筒体との間に付着してもこれを押し遺し把持力が低下するのを防止することができる。
【0022】
又、実施例では、コアドリルを装着する穿孔機13の回転駆動体18を筒状体に形成し、コアドリル60を該回転駆動体18の下端に設けたコレットチャック50で把持するようにしたので、コアドリル60はドリル筒体の頂部を筒体のままの開放状態でよいから何らの加工も不要であり、このためドリル筒体につまった抜きカスはドリルを外して筒体頂部から簡単に取り除くことができる。又、コアドリル60はドリル筒体の任意の位置で固定できるので、例えば切削開始時にドリルの刃部が振られたりして所謂喰い付きが悪い場合は、作業開始時にドリル筒体の刃先に近い位置を把持すれば、コンクリート面に対して喰い付きやすくなりドリルの振れも防止できることになる。
【0023】
さらに実施例では、コアドリルの筒体長さを100〜150cmのように長尺に形成することができるので、例えばコンクリート躯体の補強工事などでアンカーを埋め込むための穴あけ作業であれば、穴の深さは、鉄筋D19の場合で20cm程度であるから、ドリルの筒体長さを上記寸法にすることにより複数回の穿孔作業が連続して可能となり作業効率は飛躍的に向上する。
【0024】
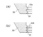
図5は、コレットチャックのドリル把持面の他の実施例を示している。図5(a)及び(b)に示すドリル把持面53は、把持面に環状溝を形成したものであり、(a)は1条の環状溝53aが形成され、(b)は2条の環状溝53bが形成されている。
【0026】
【発明の効果】
本発明は、コアドリルを穿孔機の回転駆動部に接続するに際し、ドリル筒体を穿孔機の回転駆動部に結合したホルダーに設けたコレットチャックで装着したものであるから、ドリル筒体は基端部が開放状態のままでよく、このためドリル筒体に詰まった抜きかすはドリルをコレットチャックから外して頂部から簡単に取り除くことができるものである。また、コレットチャックのドリル把持面は、両端内周面に開口端の口径が筒状部の内径よりも小径に形成しかつ当該ドリル把持面の最大面積が外側テーパ面の面積を超えない大きさに形成されているので、ドリル筒体を把持する単位面積あたりの面圧を高くすることができ、ドリル筒体を強い把持力で確実に把持することができるものである。さらに、ドリル把持面に環状溝を形成した場合は、ドリル筒体を把持する単位面積あたりの面圧を一層高くすることができるものである。
【0027】
また、本発明は、穿孔機の回転駆動体を筒状に形成することによって、コアドリルのドリル筒体を回転駆動体から突出して装着することができるので、ドリル筒体を長尺に形成することが可能であり、穿孔作業ごとに抜きかすを除去する必要がなく作業能率が向上するものである。
【図面の簡単な説明】
【図1】スタンドにセットした穿孔機にコアドリルを装着した状態を示す側面図。
【図2】コレットチャックをホルダーに装着した状態の詳細を示す断面図。
【図3】Aはホルダーの一部破断の側面図、Bはコレットチャックの断面図、Cはロックナットの一部破断の側面図。
【図4】Aはコアドリルの給水機構を示す断面図、Bは給水機構を取り付ける支持板の側面図。
【図5】 コレットチャックにおけるドリル把持面の他の実施例を示す断面図。
【図6】 コアドリルの斜視図。
【図7】従来例のコレットチャックを示す断面図。
【符号の説明】
10 スタンド
11 基台
12 支柱
13 穿孔機
14 スライダー
15 ラック
16 腕杆
17 モータ
18 回転駆動体
19 減速歯車
20 ねじ部
21 工具当接部
30 ホルダー
31 雌ねじ
32 第1のテーパ面
33 雄ねじ
34 締付部
40 ロックナット
41 雌ねじ
42 第2のテーパ面
43 工具係合穴
50 コレットチャック
51 筒状部
52 外側テーパ面
53 ドリル把持面
54 スリット
60 コアドリル
61 刃部
70 給水機構
71 支持板
72 固定ボルト
73 長孔
74 取付ボルト
75 給水筐体
76 回転筒体
77 ベアリング
78 Oリング
79 蓋体
80 給水口
Claims (2)
- ホルダー(30)と、該ホルダーに連結するロックナット(40)と、該ロックナットと上記ホルダーとの間に装着するコレットチャック(50)とからなり、上記ホルダーは、筒体であって内周面に基端部が小径となる第1のテーパ面(32)を設けたものであり、上記ロックナットは、内周面に先端側が小径となる第2のテーパ面(42)を設けたものであり、上記コレットチャックは、両端外側部に一方を上記ホルダーの上記第1のテーパ面と当接し他方を上記ロックナットの上記第2のテーパ面と当接する外側テーパ面 ( 52 ) と、両端内周面に基端部の内径が筒状部分の内径よりも小径に形成されかつ最大面積が上記外側テーパ面の面積を超えない大きさに形成されたドリル把持面 ( 53 ) と、筒状部の両端から軸方向に沿って複数本のスリット(54)を設けたものであり、上記ホルダーを穿孔機の回転駆動体に結合し、上記コレットチャックにコアドリルを装着し、当該コレットチャックの上記ドリル把持面でコアドリルを挟着したことを特徴とするコアドリルを回転駆動部へ接続するための接続装置。
- コレットチャック ( 50 ) は、ドリル把持面 ( 53 ) に環状溝を設けたことを特徴とする請求項1に記載のコアドリルを回転駆動部へ接続するための接続装置。
Priority Applications (1)
| Application Number | Priority Date | Filing Date | Title |
|---|---|---|---|
| JP2000181496A JP3692016B2 (ja) | 2000-06-06 | 2000-06-16 | コアドリルを回転駆動部へ接続するための接続装置 |
Applications Claiming Priority (3)
| Application Number | Priority Date | Filing Date | Title |
|---|---|---|---|
| JP2000-168382 | 2000-06-06 | ||
| JP2000168382 | 2000-06-06 | ||
| JP2000181496A JP3692016B2 (ja) | 2000-06-06 | 2000-06-16 | コアドリルを回転駆動部へ接続するための接続装置 |
Publications (2)
| Publication Number | Publication Date |
|---|---|
| JP2002059305A JP2002059305A (ja) | 2002-02-26 |
| JP3692016B2 true JP3692016B2 (ja) | 2005-09-07 |
Family
ID=26593366
Family Applications (1)
| Application Number | Title | Priority Date | Filing Date |
|---|---|---|---|
| JP2000181496A Expired - Lifetime JP3692016B2 (ja) | 2000-06-06 | 2000-06-16 | コアドリルを回転駆動部へ接続するための接続装置 |
Country Status (1)
| Country | Link |
|---|---|
| JP (1) | JP3692016B2 (ja) |
Families Citing this family (10)
| Publication number | Priority date | Publication date | Assignee | Title |
|---|---|---|---|---|
| DE10256043A1 (de) * | 2002-11-30 | 2004-06-09 | Hilti Ag | Werkzeugaufnahme für Kernbohrkronen |
| JP2006142428A (ja) * | 2004-11-18 | 2006-06-08 | Ono Seisakusho:Kk | 切削工具用ホルダ |
| US8888420B2 (en) | 2007-03-15 | 2014-11-18 | Primetool Mfg, Inc. | Tool chucking apparatus |
| US8821084B2 (en) | 2007-06-21 | 2014-09-02 | Primetool Mfg, Inc. | Tool holding module |
| JP2010247190A (ja) * | 2009-04-16 | 2010-11-04 | Hidaka Seiki Kk | 拡管装置 |
| CN101985179B (zh) * | 2010-10-18 | 2012-01-11 | 王秀强 | 轧辊分离用车床及利用其分离轧辊的方法 |
| WO2017002692A1 (ja) * | 2015-06-30 | 2017-01-05 | 日立オートモティブシステムズ株式会社 | チャック装置 |
| CN109513967B (zh) * | 2019-01-02 | 2024-06-21 | 淮安市逸臣精密机械有限公司 | 一种钢管加工用穿孔机 |
| JP7407015B2 (ja) * | 2020-02-19 | 2023-12-28 | ポップリベット・ファスナー株式会社 | 自己穿孔型リベットの締結装置 |
| CN114683422B (zh) * | 2022-04-18 | 2022-12-09 | 厦门品河精密科技有限公司 | 减小形变的主导轮 |
Family Cites Families (6)
| Publication number | Priority date | Publication date | Assignee | Title |
|---|---|---|---|---|
| JPS5069389U (ja) * | 1973-10-26 | 1975-06-20 | ||
| JPS51124687U (ja) * | 1975-04-04 | 1976-10-08 | ||
| DE8135511U1 (de) * | 1981-12-05 | 1982-04-22 | Jens, Hans, 2300 Kiel | Spannzangenartiger Führungsaufbau für Drehmaschinen zum Führen von Staagenmaterial |
| JPS62104913U (ja) * | 1985-12-23 | 1987-07-04 | ||
| JP3007807U (ja) * | 1994-05-21 | 1995-02-28 | 敬吉 長江 | コンクリート穿孔機 |
| JP2000326118A (ja) * | 1999-05-24 | 2000-11-28 | Toyo Advanced Technologies Co Ltd | 工作物把持装置 |
-
2000
- 2000-06-16 JP JP2000181496A patent/JP3692016B2/ja not_active Expired - Lifetime
Also Published As
| Publication number | Publication date |
|---|---|
| JP2002059305A (ja) | 2002-02-26 |
Similar Documents
| Publication | Publication Date | Title |
|---|---|---|
| US6045302A (en) | Drill bit retriever device | |
| JP3692016B2 (ja) | コアドリルを回転駆動部へ接続するための接続装置 | |
| JP4747282B2 (ja) | インサート着脱式ドリル | |
| AU2006246397B2 (en) | Depth limiting device and hole forming apparatus containing the same | |
| JPS63214410A (ja) | アンダーカットされる穴をコンクリート等の固定基盤に形成させる方法及び装置 | |
| JP2010201733A (ja) | ドリルビット | |
| EP2855782A1 (en) | Tool and tool holder for a dredger | |
| US5433560A (en) | Apparatus for drilling holes in a workpiece | |
| JP2002096319A (ja) | コアドリル装置 | |
| JP2002283339A (ja) | 岩石加工用の吸引ドリル | |
| EP0163727A1 (en) | Mining drill bit | |
| JP5419524B2 (ja) | コアビット | |
| JP3082238U (ja) | 穴抜き工具 | |
| WO1995024988A1 (en) | Ultrasonic working tool | |
| JP4815137B2 (ja) | 水道配管の穿孔カッター | |
| JPH0512031U (ja) | ヘツド着脱式回転切削工具 | |
| JP2002103130A (ja) | ねじ連結式シャンクを備えた切削用インサート | |
| JP2009190136A (ja) | コアドリル | |
| JPH09109141A (ja) | 穴開け用ビットおよびその取付方法 | |
| KR200243387Y1 (ko) | 홀 커터 | |
| JPH0811096A (ja) | ボーリングカッタ | |
| JPH09286018A (ja) | 穿孔装置及び穿孔方法 | |
| JP2009078337A (ja) | 管状体穿孔装置及び管状体穿孔方法 | |
| JPS6216308B2 (ja) | ||
| KR200249675Y1 (ko) | 다목적 기능을 갖는 드릴 분리용 쐐기 |
Legal Events
| Date | Code | Title | Description |
|---|---|---|---|
| A977 | Report on retrieval |
Free format text: JAPANESE INTERMEDIATE CODE: A971007 Effective date: 20041015 |
|
| A131 | Notification of reasons for refusal |
Free format text: JAPANESE INTERMEDIATE CODE: A131 Effective date: 20041102 |
|
| A521 | Written amendment |
Free format text: JAPANESE INTERMEDIATE CODE: A523 Effective date: 20041227 |
|
| TRDD | Decision of grant or rejection written | ||
| A01 | Written decision to grant a patent or to grant a registration (utility model) |
Free format text: JAPANESE INTERMEDIATE CODE: A01 Effective date: 20050531 |
|
| A61 | First payment of annual fees (during grant procedure) |
Free format text: JAPANESE INTERMEDIATE CODE: A61 Effective date: 20050617 |
|
| R150 | Certificate of patent or registration of utility model |
Free format text: JAPANESE INTERMEDIATE CODE: R150 Ref document number: 3692016 Country of ref document: JP Free format text: JAPANESE INTERMEDIATE CODE: R150 |
|
| FPAY | Renewal fee payment (event date is renewal date of database) |
Free format text: PAYMENT UNTIL: 20080624 Year of fee payment: 3 |
|
| FPAY | Renewal fee payment (event date is renewal date of database) |
Free format text: PAYMENT UNTIL: 20090624 Year of fee payment: 4 |
|
| R250 | Receipt of annual fees |
Free format text: JAPANESE INTERMEDIATE CODE: R250 |
|
| FPAY | Renewal fee payment (event date is renewal date of database) |
Free format text: PAYMENT UNTIL: 20100624 Year of fee payment: 5 |
|
| R250 | Receipt of annual fees |
Free format text: JAPANESE INTERMEDIATE CODE: R250 |
|
| FPAY | Renewal fee payment (event date is renewal date of database) |
Free format text: PAYMENT UNTIL: 20110624 Year of fee payment: 6 |
|
| R250 | Receipt of annual fees |
Free format text: JAPANESE INTERMEDIATE CODE: R250 |
|
| FPAY | Renewal fee payment (event date is renewal date of database) |
Free format text: PAYMENT UNTIL: 20120624 Year of fee payment: 7 |
|
| R250 | Receipt of annual fees |
Free format text: JAPANESE INTERMEDIATE CODE: R250 |
|
| FPAY | Renewal fee payment (event date is renewal date of database) |
Free format text: PAYMENT UNTIL: 20130624 Year of fee payment: 8 |
|
| R250 | Receipt of annual fees |
Free format text: JAPANESE INTERMEDIATE CODE: R250 |
|
| FPAY | Renewal fee payment (event date is renewal date of database) |
Free format text: PAYMENT UNTIL: 20130624 Year of fee payment: 8 |
|
| FPAY | Renewal fee payment (event date is renewal date of database) |
Free format text: PAYMENT UNTIL: 20130624 Year of fee payment: 8 |
|
| FPAY | Renewal fee payment (event date is renewal date of database) |
Free format text: PAYMENT UNTIL: 20130624 Year of fee payment: 8 |
|
| R250 | Receipt of annual fees |
Free format text: JAPANESE INTERMEDIATE CODE: R250 |
|
| R250 | Receipt of annual fees |
Free format text: JAPANESE INTERMEDIATE CODE: R250 |
|
| R250 | Receipt of annual fees |
Free format text: JAPANESE INTERMEDIATE CODE: R250 |
|
| R250 | Receipt of annual fees |
Free format text: JAPANESE INTERMEDIATE CODE: R250 |
|
| R250 | Receipt of annual fees |
Free format text: JAPANESE INTERMEDIATE CODE: R250 |
|
| R250 | Receipt of annual fees |
Free format text: JAPANESE INTERMEDIATE CODE: R250 |
|
| R250 | Receipt of annual fees |
Free format text: JAPANESE INTERMEDIATE CODE: R250 |
|
| EXPY | Cancellation because of completion of term |