JP3674635B2 - 円板状記録媒体の真空吸着装置 - Google Patents
円板状記録媒体の真空吸着装置 Download PDFInfo
- Publication number
- JP3674635B2 JP3674635B2 JP03184294A JP3184294A JP3674635B2 JP 3674635 B2 JP3674635 B2 JP 3674635B2 JP 03184294 A JP03184294 A JP 03184294A JP 3184294 A JP3184294 A JP 3184294A JP 3674635 B2 JP3674635 B2 JP 3674635B2
- Authority
- JP
- Japan
- Prior art keywords
- recording medium
- shaped recording
- disk
- suction
- guide
- Prior art date
- Legal status (The legal status is an assumption and is not a legal conclusion. Google has not performed a legal analysis and makes no representation as to the accuracy of the status listed.)
- Expired - Fee Related
Links
Images
Landscapes
- Manufacturing Of Magnetic Record Carriers (AREA)
- Manufacturing Optical Record Carriers (AREA)
- Manipulator (AREA)
Description
【0001】
【産業上の利用分野】
本発明は、小径な光ディスクや磁気ディスク等の円板状記録媒体を吸着する円板状記録媒体の真空吸着装置に関する。
【0002】
【従来の技術】
従来において、光ディスクや磁気ディスクを移動したり、また、成膜を施す等の各種の工程では、光ディスクや磁気ディスクを吸着する真空吸着式ハンドリング装置が用いられている。
この種のハンドリング装置では、光ディスクや磁気ディスクを吸着するバキュームパッドを備え、このバキュームパッドにより光ディスクや磁気ディスクが吸着され移送される。
また、従来のハンドリング装置においては、バキュームパッドが光ディスクや磁気ディスクに設けられる成膜エリヤ(記録エリヤ)の内側の中央部分を吸着できるように形成されており、光ディスクや磁気ディスクの成膜エリヤ(記録エリヤ)の内側の中央部分をバキュームパッドにより吸着して各種の作業を行なうことにより、バキュームパッドによる光ディスクや磁気ディスクの成膜エリヤ(記録エリヤ)内の傷や汚れ等が付くのを防止している。
これは、光ディスクや磁気ディスクに限らず、傷や汚れ等に弱い各種の円板状記録媒体についても同様に行なわれている。
【0003】
【発明が解決しようとする課題】
ところが、近年において、光ディスクや磁気ディスクが小径化しており、このような小径化に伴い、接触可能なエリヤが小さくなって吸着面積が小さくなってきた。
このため、従来のバキュームパッドのように、光ディスクや磁気ディスク等の円板状記録媒体の中央部分のみを吸着する方法では、円板状記録媒体に対する吸着力が低下してしまい、円板状記録媒体に対するハンドリングの信頼性が低下するというおそれがあった。
そこで、本発明では、光ディスクや磁気ディスク等の円板状記録媒体が小径化して中央部分の吸着面積が小さい場合でも、確実に吸着でき、更に吸着精度を高めることができる円板状記録媒体の真空吸着装置を提供することを目的としている。
【0005】
【課題を解決するための手段】
前記目的を達成するため、本発明は、移動可能なアームと、このアームに設けられた吸着部とを備え、円板状記録媒体を前記吸着部により吸着して移送する円板状記録媒体の真空吸着装置において、前記吸着部は、円板状記録媒体の記録エリアの内側部分に接触する内側接触部と、円板状記録媒体の記録エリアの外側部分に接触する外側接触部と、前記内側接触部と外側接触部の間に形成され、各内側接触部と外側接触部がそれぞれ円板状記録媒体の記録エリアの内側部分と外側部分に接触した状態で、前記内側接触部と外側接触部と円板状記録媒体の記録エリア部分と協働して閉塞空間を形成する吸引用凹部と、前記吸引用凹部に連通する真空吸引路とを備えたことを特徴とする。
また、本発明は、前記吸着部の外側に、先端に至り径方向外方に傾斜するテーパ面を有し円板状記録媒体の周縁に接触可能な案内部が設けられていることを特徴とする。
【0006】
また、本発明は、移動可能なアームと、このアームに設けられた吸着部とを備え、円板状記録媒体を前記吸着部により吸着して移送する円板状記録媒体の真空吸着装置において、前記吸着部は、円板状記録媒体の記録エリアの内側部分で円板状記録媒体の径方向に間隔を置いた箇所に接触可能に環状に形成された第1および第2内側接触部と、前記第1、第2内側接触部の間に形成され、各第1、第2内側接触部がそれぞれ円板状記録媒体の記録エリアの内側部分に接触した状態で、各第1、第2内側接触部と円板状記録媒体の記録エリアの内側部分と協働して閉塞空間を形成する吸引用凹部と、前記吸引用凹部に連通する真空吸引路と、前記吸着部の外側に設けられ、先端に至り径方向外方に傾斜するテーパ面を有し円板状記録媒体の周縁に接触可能な案内部とを備えたことを特徴とする。
【0007】
また、本発明は、前記アームと吸着部との間には、アームに対して吸着部を、円板状記録媒体の中心軸方向に沿って移動可能に支持するフローティング機構が介設されていることを特徴とする。
また、本発明は、前記フローティング機構が、前記アームに貫通固着された筒状のガイドブッシュと、前記ガイドブッシュに挿通されて基端部が前記ガイドブッシュに係止され先端部に前記吸着部が取付けられるガイドシャフトと、前記アームと吸着部との間に介装された付勢部材とからなることを特徴とする。
また、本発明は、前記フローティング構造が、前記吸着部に貫通固着された筒状のガイドブッシュと、前記ガイドブッシュに挿通されて先端部が前記ガイドブッシュに係止され基端部が前記アームに固着されたガイドシャフトと、前記アームと吸着部との間に介装された付勢部材とからなることを特徴とする。
【0008】
また、本発明は、前記案内部が、先端に向けて先細りに形成されて前記円板状記録媒体の周縁に接触可能なテーパ面を有し前記吸着部に取付けられた複数の案内ピンにより構成されていることを特徴とする。
また、本発明は、前記案内部が、前記円板状記録媒体の周縁に接触可能なテーパ面を有し前記吸着部に取付けられた円筒状の受け部材で構成されていることを特徴とする。
また、本発明は、前記案内部が、前記円板状記録媒体の周縁に接触可能な円錐面を有し前記吸着部に取付けられた円錐状の受け部材で構成されていることを特徴とする。
【0009】
【作用】
円板状記録媒体の中央部および周縁部に吸着部の接触部が接触して吸着されるので、従来のような中央部分のみを吸着する場合に比べて吸引面積が大きくなり、円板状記録媒体が小径化しても確実に吸着することができる。
また、吸着部をアームに設け、吸着部に案内部を設けると、円板状記録媒体を案内部により位置決めし、円板状記録媒体の吸着位置精度を高めることができ、これにより、円板状記録媒体の吸着保持を確実に行なうことができる。
更に、吸着部をアームに設け、吸着部とアームとの間にフローティング機構を設けると、吸着部に対して傾きや高さ位置誤差を有した状態から円板状記録媒体を吸着する場合、円板状記録媒体の傾きや高さ位置誤差を吸着時に吸収することができ、精度の高い吸着が可能となる。
【0010】
【実施例】
以下に、本発明の第1実施例を図面に基づき説明する。
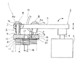
図1は本実施例の円板状記録媒体の真空吸着装置の要部断面側面図、図2はチャッキングプレートの断面側面図であり、本実施例では、小径化された光ディスクや磁気ディスク等の円板状記録媒体(以下、小径基板という)を吸着する場合について説明する。
本実施例の真空吸着装置1は、図1に示すように、移載装置2と、この移載装置2に取付けられた円板状のチャッキングプレート(吸着部)10とにより構成されている。
上記移載装置2は駆動部3と、軸部4と、アーム(ベースプレート)5により構成され、軸部4にアーム5が取付けられ、前記チャッキングプレート10はアーム5の先端部分にフローティング機構6を介して取付けられ、小径基板11はこのチャッキングプレート10に吸着される。
上記アーム5は、駆動部3の駆動により、軸部4の軸方向に移動したり、その基端部を中心に揺動したり、また、軸部4を中心に旋回移動できるようになっている。
【0011】
上記フローティング機構6は、複数のガイドブッシュ7、ガイドシャフト8、およびコイルスプリング9により構成され、複数のガイドブッシュ7およびガイドシャフト8はチャッキングプレート10の周方向の等間隔をおいた2〜3箇所に配設され、これらガイドブッシュ7およびガイドシャフト8は、吸着すべき小径基板11の中心軸と平行する方向に延在している。
上記各々のガイドブッシュ7は円筒状に形成され、その基端部には鍔部7aを備え、鍔部7aをアーム5に当接してアーム5を貫通して固着されており、各々のアーム5内にガイドシャフト8が挿通されている。
各々のガイドシャフト8は、その基端部に上記ガイドブッシュ7の鍔部7aに係止される鍔部8aを有し、先端部がチャッキングプレート10の背面部にそれぞれ取付けられており、アーム5とチャッキングプレート10との間でガイドブッシュ7、ガイドシャフト8の周囲にはコイルスプリング9が巻装され、チャッキングプレート10をアーム5から離す方向に付勢している。
したがって、アーム5およびフローティング機構6を介してチャッキングプレート10が小径基板11の中心軸方向に移動可能に支持され、これにより、小径基板11を吸着する際にチャッキングプレート10自体が自由度を有し、チャッキングプレート10による小径基板11の吸着がし易くなる。
【0012】
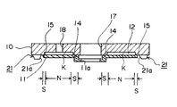
上記チャッキングプレート10は、吸着すべき小径基板11よりも僅かに大きな外径の円盤状に形成され、その表面には所定幅の吸引用凹部12が円周方向に亘って連続状に設けられている。
すなわち、一般に、光(磁気)ディスク等の小径基板11には、図2に示すように、円板状の中央部や周縁部分を除いて、記録・読取りのために記録読取りエリヤNがフォーマットされて接触禁止エリヤとなっており、この記録読取りエリヤNにはオングストローム単位の膜が形成されている。
本実施例では、チャッキングプレート10による吸着時にチャッキングプレート10の表面が記録読取りエリヤNに接触しないように、小径基板11の記録読取りエリヤNに対応した環状の形状で吸引用凹部12が設けられている。尚、図2中、Sは接触可能エリヤを示す。
【0013】
チャッキングプレート10の中央部分には、記録読取りエリヤNを除く小径基板11の中央部に接触する環状の接触面(内側接触部)14が設けられ、チャッキングプレート10の周縁部分には、記録読取りエリヤNを除く小径基板11の周縁部に接触する環状の接触面(外側接触部)15が設けられている。
そして、この環状の接触面14、15を記録読取りエリヤNを除く小径基板11の中央部および周縁部に接触させた状態で、接触面14、15と、吸引用凹部12と、小径基板11の記録読取りエリヤNとにより閉塞空間Kが形成されるように構成されている。
また、前記チャッキングプレート10の中央部には、小径基板11を段積みしてストックするポール式マガジンのポール16が挿通する挿通穴17が設けられている。
更に、上記吸引用凹部12は、チャッキングプレート10内に設けられた連通孔18およびバキュームチューブ19(真空吸引路)を通じて図示しない吸引装置の吸引ポートに接続され、チャッキングプレート10の周縁部分の接触面15の外周には複数の案内ピン(案内部)21が取付けられている。
これらの案内ピン21は、チャッキングプレート10の周方向の3箇所以上に等間隔に設けられ、先端に向けて先細りとなるように周面がテーパ面21aに形成されており、これらに案内ピン21によりマガジンラックから位置ずれすることなく小径基板11を吸着できる構造となっている。
【0014】
次に、上記真空吸着装置1により小径基板11を吸着して取出す場合について説明する。
ポール式マガジンのポール16には、小径基板11を同一方向に向けて小径基板11の中央部の穴11aを通すことにより、複数の小径基板11が段積みされてストックされている。
このようなポール式マガジンにストックされた小径基板11は、ポール16の傾きや、ポール径と小径基板11の穴径とのクリアランス等により、平面上の位置誤差を有している。
また、段積みされていることにより、集積高さも小径基板11の厚み誤差の累計からバラツキを有する。
更に、段積み状態で振動を伴うコンベアや台車等での搬送により、幾分かの傾きが発生してしまうのが実状である。
【0015】
このような状態の小径基板11を吸着してポール式マガジンから取出す場合には、移載装置2の駆動部3によりアーム5を旋回移動や揺動移動させた後、アーム5を軸部4の軸方向へ移動させてチャッキングプレート10をポール式マガジンの小径基板11に接近させると、先ず、各案内ピン21のテーパ面21aが取出そうとする小径基板11の周縁に接触し、これにより小径基板11は寄せられ、小径基板11の中心軸とチャッキングプレート10の中心軸が合わされる。
更に、チャッキングプレート10を下降させて接近させると、傾きを有する小径基板11の周縁部のより近接した箇所からチャッキングプレート10の周縁の接触面15に接触し、傾いた小径基板11を水平に矯正しつつ接近し、チャッキングプレート10が下降端に至る時点で小径基板11の中央部や周縁部の接触可能エリヤSがチャッキングプレート10の中央および周縁の接触面14、15に接触し、閉塞空間Kが形成される。
そして、この時点で真空ポンプにより真空吸引することにより、傾きが吸収矯正された状態で小径基板11がチャッキングプレート10に吸着され、アーム5の駆動により小径基板11は所定箇所に移送され、例えば、記録読取りエリヤに膜を形成する成膜工程作業が行なわれ、終了後に別のマガジンまで移送されストックされる。
【0016】
したがって、このような真空吸着装置1においては、小径基板11の中央部および周縁部にチャッキングプレート10の接触面14、15が接触し、小径基板11の記録読取りエリヤNを利用して小径基板11が吸着されるので、従来のような中央部分のみを吸着する場合に比べて吸引面積が大きくなり、基板が小径化しても確実に吸着することができる。
また、チャッキングプレート10の周縁にテーパ面21aを有する案内ピン21を複数設けたので、小径基板11に接近する際に複数の案内ピン21のテーパ面21aにより小径基板11が案内され、双方の中心軸が合わされて、小径基板11の吸着位置精度を高めることができ、これにより小径基板11の吸着保持を確実に行なうことが可能となる。
また、チャッキングプレート10がアーム5にフローティング機構6により取付けられているので、チャッキングプレート10の一連の動作により小径基板11に対して過度のストレスをかけることなく、また、小径基板11の高さ位置誤差を吸収しながら吸着される。
更に、チャッキングプレート10がアーム5に対してフローティング機構6により支持されているので、チャッキングプレート10に対して傾きや高さ位置誤差を有した状態でマガジンに支持された小径基板11の傾きや高さ位置誤差を吸着時に吸収することが可能となり、精度の高い吸着が可能となる。
【0017】
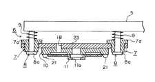
次に、本発明の第2実施例について説明する。
図3は第2実施例のフローティング機構の要部断面側面図である。
第2実施例では、チャッキングプレート10をアーム5に取付けるフローティング機構6を上記実施例とは異なる構造としたものである。
すなわち、本実施例のフローティング機構6は、チャッキングプレート10が固着された支持板23に複数のガイドブッシュ7が貫通して固着され、これらのガイドブッシュ7にそれぞれ挿通されるガイドシャフト8の基端部がアーム5に固着され、上記各ガイドブッシュ7の鍔部7aとアーム5との間でガイドシャフト8の周囲にコイルスプリング9が巻装されている。
【0018】
また、ガイドシャフト8の先端部に設けられた鍔部8aがガイドブッシュ7の下端に係止されており、上記コイルスプリング9の付勢力に抗する力がチャッキングプレート10に作用した際には、ガイドブッシュ7がチャッキングプレート10とともにガイドシャフト8に沿って移動する。
したがって、本実施例のフローティング機構6においても、上記実施例と同様に、小径基板11に対して過度のストレスをかけることなく、マガジンに支持された小径基板11の傾きや高さ位置誤差を吸着時に吸収することが可能となり、精度の高い吸着が可能となる。
【0019】
更に、本発明の第3実施例について説明する。
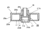
図4は第3実施例の要部断面側面図である。
本実施例では、チャッキングプレート10に設けられる複数の案内ピン21の代わりに受け部材25を設け、この受け部材25を案内部としたものである。
すなわち、図4に示すように、受け部材25は円筒部25aと底板25bを有し、底板25bの中央に設けられた穴25cにバキュームチューブ19が挿通され、バキュームチューブ19は受け部材25内の中央部に設けられたバキュームパッド26の内部に接続されている。
バキュームパッド26は、小径基板11の記録読取りエリヤNの内側部分で小径基板11の径方向に間隔を置いた箇所に接触可能に環状に形成された第1および第2内側接触部26A,26Bと、前記第1、第2内側接触部26A,26Bの間に形成され、各内側接触部26A,26Bがそれぞれ小径基板11の記録読取りエリヤNの内側部分に接触した状態で、前記各内側接触部26A,26Bと小径基板11の記録読取りエリアNの内側部分と協働して閉塞空間Kを形成する吸引用凹部27と、この吸引用凹部27と前記バキュームチューブ19とを接続する吸引路27Aとで構成されている。
【0020】
受け部材25の円筒部25aは小径基板11の略外径寸法に形成され、その先端面が受け部材25の基端に至り円筒部25aの中心側に傾斜するテーパ面25dに形成されている。
したがって、本実施例においては、小径基板11を吸着する場合には、小径基板11に接近する際に受け部材25のテーパ面25aにより、小径基板11が基準位置に案内されて位置決めされるとともに、小径基板11の傾きが水平に矯正され、これにより小径基板11の吸着精度が高められ、小径基板11の吸着保持が確実になされる。
尚、このような第3実施例に、第1,第2実施例におけるフローティング機構6を適用できることは無論のことであり、適用するか否かは任意である。
【0021】
次に、本発明の第4実施例について説明する。
図5は第4実施例の要部断面側面図である。
本実施例では、上記第3実施例の受け部材25の形状を円錐形状にしたものである。
すなわち、バキュームチューブ19の先端部に円筒状の連結部材29を介してバキュームパッド26が連結され、連結部材29に受け部材28の基端部が固着されている。
受け部材28は、円錐状(ラッパ状)に形成されて先端側が開き、この開口部分が小径基板11の外径よりも大きな径に形成され、円錐状の内面がテーパ面28aとなっている。
したがって、小径基板11を吸着する場合には、小径基板11に接近する際に受け部材28のテーパ面28aにより、小径基板11が案内されて位置決めされるとともに、小径基板11の傾きが水平に矯正され、上記第3実施例と同様な効果が得られる。
【0022】
【発明の効果】
以上説明したように本発明によれば、円板状記録媒体の中央部および周縁部に吸着部の接触部が接触して円板状記録媒体を吸着するので、従来のような中央部分のみを吸着する場合に比べて吸引面積が大きくなり、円板状記録媒体が小径化しても確実に吸着することができる。
また、吸着部に案内部を設けたので、円板状記録媒体に接近する際に案内部により円板状記録媒体を位置決めし、円板状記録媒体の吸着位置精度を高めることができる。
更に、吸着部とアームとの間にフローティング機構を設けたので、マガジンに支持された円板状記録媒体の傾きや高さ位置誤差を吸着時に吸収することが可能となり、精度の高い吸着が可能となる。
【図面の簡単な説明】
【図1】第1実施例に係る真空吸着装置の要部断面側面図である。
【図2】チャッキングプレートの断面側面図である。
【図3】第2実施例の要部断面側面図である。
【図4】第3実施例の要部断面側面図である。
【図5】第4実施例の要部断面側面図である。
【符号の説明】
1…真空吸着装置
5…アーム
6…フローティング機構
7…ガイドブッシュ
8…ガイドシャフト
9…コイルスプリング
10…吸着部
11…小径基板
12…吸引用凹部
14、15…接触部
21、25、28…案内部
21a、25d、28a…テーパ面
K…閉塞空間
【産業上の利用分野】
本発明は、小径な光ディスクや磁気ディスク等の円板状記録媒体を吸着する円板状記録媒体の真空吸着装置に関する。
【0002】
【従来の技術】
従来において、光ディスクや磁気ディスクを移動したり、また、成膜を施す等の各種の工程では、光ディスクや磁気ディスクを吸着する真空吸着式ハンドリング装置が用いられている。
この種のハンドリング装置では、光ディスクや磁気ディスクを吸着するバキュームパッドを備え、このバキュームパッドにより光ディスクや磁気ディスクが吸着され移送される。
また、従来のハンドリング装置においては、バキュームパッドが光ディスクや磁気ディスクに設けられる成膜エリヤ(記録エリヤ)の内側の中央部分を吸着できるように形成されており、光ディスクや磁気ディスクの成膜エリヤ(記録エリヤ)の内側の中央部分をバキュームパッドにより吸着して各種の作業を行なうことにより、バキュームパッドによる光ディスクや磁気ディスクの成膜エリヤ(記録エリヤ)内の傷や汚れ等が付くのを防止している。
これは、光ディスクや磁気ディスクに限らず、傷や汚れ等に弱い各種の円板状記録媒体についても同様に行なわれている。
【0003】
【発明が解決しようとする課題】
ところが、近年において、光ディスクや磁気ディスクが小径化しており、このような小径化に伴い、接触可能なエリヤが小さくなって吸着面積が小さくなってきた。
このため、従来のバキュームパッドのように、光ディスクや磁気ディスク等の円板状記録媒体の中央部分のみを吸着する方法では、円板状記録媒体に対する吸着力が低下してしまい、円板状記録媒体に対するハンドリングの信頼性が低下するというおそれがあった。
そこで、本発明では、光ディスクや磁気ディスク等の円板状記録媒体が小径化して中央部分の吸着面積が小さい場合でも、確実に吸着でき、更に吸着精度を高めることができる円板状記録媒体の真空吸着装置を提供することを目的としている。
【0005】
【課題を解決するための手段】
前記目的を達成するため、本発明は、移動可能なアームと、このアームに設けられた吸着部とを備え、円板状記録媒体を前記吸着部により吸着して移送する円板状記録媒体の真空吸着装置において、前記吸着部は、円板状記録媒体の記録エリアの内側部分に接触する内側接触部と、円板状記録媒体の記録エリアの外側部分に接触する外側接触部と、前記内側接触部と外側接触部の間に形成され、各内側接触部と外側接触部がそれぞれ円板状記録媒体の記録エリアの内側部分と外側部分に接触した状態で、前記内側接触部と外側接触部と円板状記録媒体の記録エリア部分と協働して閉塞空間を形成する吸引用凹部と、前記吸引用凹部に連通する真空吸引路とを備えたことを特徴とする。
また、本発明は、前記吸着部の外側に、先端に至り径方向外方に傾斜するテーパ面を有し円板状記録媒体の周縁に接触可能な案内部が設けられていることを特徴とする。
【0006】
また、本発明は、移動可能なアームと、このアームに設けられた吸着部とを備え、円板状記録媒体を前記吸着部により吸着して移送する円板状記録媒体の真空吸着装置において、前記吸着部は、円板状記録媒体の記録エリアの内側部分で円板状記録媒体の径方向に間隔を置いた箇所に接触可能に環状に形成された第1および第2内側接触部と、前記第1、第2内側接触部の間に形成され、各第1、第2内側接触部がそれぞれ円板状記録媒体の記録エリアの内側部分に接触した状態で、各第1、第2内側接触部と円板状記録媒体の記録エリアの内側部分と協働して閉塞空間を形成する吸引用凹部と、前記吸引用凹部に連通する真空吸引路と、前記吸着部の外側に設けられ、先端に至り径方向外方に傾斜するテーパ面を有し円板状記録媒体の周縁に接触可能な案内部とを備えたことを特徴とする。
【0007】
また、本発明は、前記アームと吸着部との間には、アームに対して吸着部を、円板状記録媒体の中心軸方向に沿って移動可能に支持するフローティング機構が介設されていることを特徴とする。
また、本発明は、前記フローティング機構が、前記アームに貫通固着された筒状のガイドブッシュと、前記ガイドブッシュに挿通されて基端部が前記ガイドブッシュに係止され先端部に前記吸着部が取付けられるガイドシャフトと、前記アームと吸着部との間に介装された付勢部材とからなることを特徴とする。
また、本発明は、前記フローティング構造が、前記吸着部に貫通固着された筒状のガイドブッシュと、前記ガイドブッシュに挿通されて先端部が前記ガイドブッシュに係止され基端部が前記アームに固着されたガイドシャフトと、前記アームと吸着部との間に介装された付勢部材とからなることを特徴とする。
【0008】
また、本発明は、前記案内部が、先端に向けて先細りに形成されて前記円板状記録媒体の周縁に接触可能なテーパ面を有し前記吸着部に取付けられた複数の案内ピンにより構成されていることを特徴とする。
また、本発明は、前記案内部が、前記円板状記録媒体の周縁に接触可能なテーパ面を有し前記吸着部に取付けられた円筒状の受け部材で構成されていることを特徴とする。
また、本発明は、前記案内部が、前記円板状記録媒体の周縁に接触可能な円錐面を有し前記吸着部に取付けられた円錐状の受け部材で構成されていることを特徴とする。
【0009】
【作用】
円板状記録媒体の中央部および周縁部に吸着部の接触部が接触して吸着されるので、従来のような中央部分のみを吸着する場合に比べて吸引面積が大きくなり、円板状記録媒体が小径化しても確実に吸着することができる。
また、吸着部をアームに設け、吸着部に案内部を設けると、円板状記録媒体を案内部により位置決めし、円板状記録媒体の吸着位置精度を高めることができ、これにより、円板状記録媒体の吸着保持を確実に行なうことができる。
更に、吸着部をアームに設け、吸着部とアームとの間にフローティング機構を設けると、吸着部に対して傾きや高さ位置誤差を有した状態から円板状記録媒体を吸着する場合、円板状記録媒体の傾きや高さ位置誤差を吸着時に吸収することができ、精度の高い吸着が可能となる。
【0010】
【実施例】
以下に、本発明の第1実施例を図面に基づき説明する。
図1は本実施例の円板状記録媒体の真空吸着装置の要部断面側面図、図2はチャッキングプレートの断面側面図であり、本実施例では、小径化された光ディスクや磁気ディスク等の円板状記録媒体(以下、小径基板という)を吸着する場合について説明する。
本実施例の真空吸着装置1は、図1に示すように、移載装置2と、この移載装置2に取付けられた円板状のチャッキングプレート(吸着部)10とにより構成されている。
上記移載装置2は駆動部3と、軸部4と、アーム(ベースプレート)5により構成され、軸部4にアーム5が取付けられ、前記チャッキングプレート10はアーム5の先端部分にフローティング機構6を介して取付けられ、小径基板11はこのチャッキングプレート10に吸着される。
上記アーム5は、駆動部3の駆動により、軸部4の軸方向に移動したり、その基端部を中心に揺動したり、また、軸部4を中心に旋回移動できるようになっている。
【0011】
上記フローティング機構6は、複数のガイドブッシュ7、ガイドシャフト8、およびコイルスプリング9により構成され、複数のガイドブッシュ7およびガイドシャフト8はチャッキングプレート10の周方向の等間隔をおいた2〜3箇所に配設され、これらガイドブッシュ7およびガイドシャフト8は、吸着すべき小径基板11の中心軸と平行する方向に延在している。
上記各々のガイドブッシュ7は円筒状に形成され、その基端部には鍔部7aを備え、鍔部7aをアーム5に当接してアーム5を貫通して固着されており、各々のアーム5内にガイドシャフト8が挿通されている。
各々のガイドシャフト8は、その基端部に上記ガイドブッシュ7の鍔部7aに係止される鍔部8aを有し、先端部がチャッキングプレート10の背面部にそれぞれ取付けられており、アーム5とチャッキングプレート10との間でガイドブッシュ7、ガイドシャフト8の周囲にはコイルスプリング9が巻装され、チャッキングプレート10をアーム5から離す方向に付勢している。
したがって、アーム5およびフローティング機構6を介してチャッキングプレート10が小径基板11の中心軸方向に移動可能に支持され、これにより、小径基板11を吸着する際にチャッキングプレート10自体が自由度を有し、チャッキングプレート10による小径基板11の吸着がし易くなる。
【0012】
上記チャッキングプレート10は、吸着すべき小径基板11よりも僅かに大きな外径の円盤状に形成され、その表面には所定幅の吸引用凹部12が円周方向に亘って連続状に設けられている。
すなわち、一般に、光(磁気)ディスク等の小径基板11には、図2に示すように、円板状の中央部や周縁部分を除いて、記録・読取りのために記録読取りエリヤNがフォーマットされて接触禁止エリヤとなっており、この記録読取りエリヤNにはオングストローム単位の膜が形成されている。
本実施例では、チャッキングプレート10による吸着時にチャッキングプレート10の表面が記録読取りエリヤNに接触しないように、小径基板11の記録読取りエリヤNに対応した環状の形状で吸引用凹部12が設けられている。尚、図2中、Sは接触可能エリヤを示す。
【0013】
チャッキングプレート10の中央部分には、記録読取りエリヤNを除く小径基板11の中央部に接触する環状の接触面(内側接触部)14が設けられ、チャッキングプレート10の周縁部分には、記録読取りエリヤNを除く小径基板11の周縁部に接触する環状の接触面(外側接触部)15が設けられている。
そして、この環状の接触面14、15を記録読取りエリヤNを除く小径基板11の中央部および周縁部に接触させた状態で、接触面14、15と、吸引用凹部12と、小径基板11の記録読取りエリヤNとにより閉塞空間Kが形成されるように構成されている。
また、前記チャッキングプレート10の中央部には、小径基板11を段積みしてストックするポール式マガジンのポール16が挿通する挿通穴17が設けられている。
更に、上記吸引用凹部12は、チャッキングプレート10内に設けられた連通孔18およびバキュームチューブ19(真空吸引路)を通じて図示しない吸引装置の吸引ポートに接続され、チャッキングプレート10の周縁部分の接触面15の外周には複数の案内ピン(案内部)21が取付けられている。
これらの案内ピン21は、チャッキングプレート10の周方向の3箇所以上に等間隔に設けられ、先端に向けて先細りとなるように周面がテーパ面21aに形成されており、これらに案内ピン21によりマガジンラックから位置ずれすることなく小径基板11を吸着できる構造となっている。
【0014】
次に、上記真空吸着装置1により小径基板11を吸着して取出す場合について説明する。
ポール式マガジンのポール16には、小径基板11を同一方向に向けて小径基板11の中央部の穴11aを通すことにより、複数の小径基板11が段積みされてストックされている。
このようなポール式マガジンにストックされた小径基板11は、ポール16の傾きや、ポール径と小径基板11の穴径とのクリアランス等により、平面上の位置誤差を有している。
また、段積みされていることにより、集積高さも小径基板11の厚み誤差の累計からバラツキを有する。
更に、段積み状態で振動を伴うコンベアや台車等での搬送により、幾分かの傾きが発生してしまうのが実状である。
【0015】
このような状態の小径基板11を吸着してポール式マガジンから取出す場合には、移載装置2の駆動部3によりアーム5を旋回移動や揺動移動させた後、アーム5を軸部4の軸方向へ移動させてチャッキングプレート10をポール式マガジンの小径基板11に接近させると、先ず、各案内ピン21のテーパ面21aが取出そうとする小径基板11の周縁に接触し、これにより小径基板11は寄せられ、小径基板11の中心軸とチャッキングプレート10の中心軸が合わされる。
更に、チャッキングプレート10を下降させて接近させると、傾きを有する小径基板11の周縁部のより近接した箇所からチャッキングプレート10の周縁の接触面15に接触し、傾いた小径基板11を水平に矯正しつつ接近し、チャッキングプレート10が下降端に至る時点で小径基板11の中央部や周縁部の接触可能エリヤSがチャッキングプレート10の中央および周縁の接触面14、15に接触し、閉塞空間Kが形成される。
そして、この時点で真空ポンプにより真空吸引することにより、傾きが吸収矯正された状態で小径基板11がチャッキングプレート10に吸着され、アーム5の駆動により小径基板11は所定箇所に移送され、例えば、記録読取りエリヤに膜を形成する成膜工程作業が行なわれ、終了後に別のマガジンまで移送されストックされる。
【0016】
したがって、このような真空吸着装置1においては、小径基板11の中央部および周縁部にチャッキングプレート10の接触面14、15が接触し、小径基板11の記録読取りエリヤNを利用して小径基板11が吸着されるので、従来のような中央部分のみを吸着する場合に比べて吸引面積が大きくなり、基板が小径化しても確実に吸着することができる。
また、チャッキングプレート10の周縁にテーパ面21aを有する案内ピン21を複数設けたので、小径基板11に接近する際に複数の案内ピン21のテーパ面21aにより小径基板11が案内され、双方の中心軸が合わされて、小径基板11の吸着位置精度を高めることができ、これにより小径基板11の吸着保持を確実に行なうことが可能となる。
また、チャッキングプレート10がアーム5にフローティング機構6により取付けられているので、チャッキングプレート10の一連の動作により小径基板11に対して過度のストレスをかけることなく、また、小径基板11の高さ位置誤差を吸収しながら吸着される。
更に、チャッキングプレート10がアーム5に対してフローティング機構6により支持されているので、チャッキングプレート10に対して傾きや高さ位置誤差を有した状態でマガジンに支持された小径基板11の傾きや高さ位置誤差を吸着時に吸収することが可能となり、精度の高い吸着が可能となる。
【0017】
次に、本発明の第2実施例について説明する。
図3は第2実施例のフローティング機構の要部断面側面図である。
第2実施例では、チャッキングプレート10をアーム5に取付けるフローティング機構6を上記実施例とは異なる構造としたものである。
すなわち、本実施例のフローティング機構6は、チャッキングプレート10が固着された支持板23に複数のガイドブッシュ7が貫通して固着され、これらのガイドブッシュ7にそれぞれ挿通されるガイドシャフト8の基端部がアーム5に固着され、上記各ガイドブッシュ7の鍔部7aとアーム5との間でガイドシャフト8の周囲にコイルスプリング9が巻装されている。
【0018】
また、ガイドシャフト8の先端部に設けられた鍔部8aがガイドブッシュ7の下端に係止されており、上記コイルスプリング9の付勢力に抗する力がチャッキングプレート10に作用した際には、ガイドブッシュ7がチャッキングプレート10とともにガイドシャフト8に沿って移動する。
したがって、本実施例のフローティング機構6においても、上記実施例と同様に、小径基板11に対して過度のストレスをかけることなく、マガジンに支持された小径基板11の傾きや高さ位置誤差を吸着時に吸収することが可能となり、精度の高い吸着が可能となる。
【0019】
更に、本発明の第3実施例について説明する。
図4は第3実施例の要部断面側面図である。
本実施例では、チャッキングプレート10に設けられる複数の案内ピン21の代わりに受け部材25を設け、この受け部材25を案内部としたものである。
すなわち、図4に示すように、受け部材25は円筒部25aと底板25bを有し、底板25bの中央に設けられた穴25cにバキュームチューブ19が挿通され、バキュームチューブ19は受け部材25内の中央部に設けられたバキュームパッド26の内部に接続されている。
バキュームパッド26は、小径基板11の記録読取りエリヤNの内側部分で小径基板11の径方向に間隔を置いた箇所に接触可能に環状に形成された第1および第2内側接触部26A,26Bと、前記第1、第2内側接触部26A,26Bの間に形成され、各内側接触部26A,26Bがそれぞれ小径基板11の記録読取りエリヤNの内側部分に接触した状態で、前記各内側接触部26A,26Bと小径基板11の記録読取りエリアNの内側部分と協働して閉塞空間Kを形成する吸引用凹部27と、この吸引用凹部27と前記バキュームチューブ19とを接続する吸引路27Aとで構成されている。
【0020】
受け部材25の円筒部25aは小径基板11の略外径寸法に形成され、その先端面が受け部材25の基端に至り円筒部25aの中心側に傾斜するテーパ面25dに形成されている。
したがって、本実施例においては、小径基板11を吸着する場合には、小径基板11に接近する際に受け部材25のテーパ面25aにより、小径基板11が基準位置に案内されて位置決めされるとともに、小径基板11の傾きが水平に矯正され、これにより小径基板11の吸着精度が高められ、小径基板11の吸着保持が確実になされる。
尚、このような第3実施例に、第1,第2実施例におけるフローティング機構6を適用できることは無論のことであり、適用するか否かは任意である。
【0021】
次に、本発明の第4実施例について説明する。
図5は第4実施例の要部断面側面図である。
本実施例では、上記第3実施例の受け部材25の形状を円錐形状にしたものである。
すなわち、バキュームチューブ19の先端部に円筒状の連結部材29を介してバキュームパッド26が連結され、連結部材29に受け部材28の基端部が固着されている。
受け部材28は、円錐状(ラッパ状)に形成されて先端側が開き、この開口部分が小径基板11の外径よりも大きな径に形成され、円錐状の内面がテーパ面28aとなっている。
したがって、小径基板11を吸着する場合には、小径基板11に接近する際に受け部材28のテーパ面28aにより、小径基板11が案内されて位置決めされるとともに、小径基板11の傾きが水平に矯正され、上記第3実施例と同様な効果が得られる。
【0022】
【発明の効果】
以上説明したように本発明によれば、円板状記録媒体の中央部および周縁部に吸着部の接触部が接触して円板状記録媒体を吸着するので、従来のような中央部分のみを吸着する場合に比べて吸引面積が大きくなり、円板状記録媒体が小径化しても確実に吸着することができる。
また、吸着部に案内部を設けたので、円板状記録媒体に接近する際に案内部により円板状記録媒体を位置決めし、円板状記録媒体の吸着位置精度を高めることができる。
更に、吸着部とアームとの間にフローティング機構を設けたので、マガジンに支持された円板状記録媒体の傾きや高さ位置誤差を吸着時に吸収することが可能となり、精度の高い吸着が可能となる。
【図面の簡単な説明】
【図1】第1実施例に係る真空吸着装置の要部断面側面図である。
【図2】チャッキングプレートの断面側面図である。
【図3】第2実施例の要部断面側面図である。
【図4】第3実施例の要部断面側面図である。
【図5】第4実施例の要部断面側面図である。
【符号の説明】
1…真空吸着装置
5…アーム
6…フローティング機構
7…ガイドブッシュ
8…ガイドシャフト
9…コイルスプリング
10…吸着部
11…小径基板
12…吸引用凹部
14、15…接触部
21、25、28…案内部
21a、25d、28a…テーパ面
K…閉塞空間
Claims (9)
- 移動可能なアームと、
このアームに設けられた吸着部とを備え、
円板状記録媒体を前記吸着部により吸着して移送する円板状記録媒体の真空吸着装置において、
前記吸着部は、
円板状記録媒体の記録エリアの内側部分に接触する内側接触部と、
円板状記録媒体の記録エリアの外側部分に接触する外側接触部と、
前記内側接触部と外側接触部の間に形成され、各内側接触部と外側接触部がそれぞれ円板状記録媒体の記録エリアの内側部分と外側部分に接触した状態で、前記内側接触部と外側接触部と円板状記録媒体の記録エリア部分と協働して閉塞空間を形成する吸引用凹部と、
前記吸引用凹部に連通する真空吸引路と、
を備えたことを特徴とする円板状記録媒体の真空吸着装置。 - 前記吸着部の外側に、先端に至り径方向外方に傾斜するテーパ面を有し円板状記録媒体の周縁に接触可能な案内部が設けられている請求項1記載の円板状記録媒体の真空吸着装置。
- 移動可能なアームと、
このアームに設けられた吸着部とを備え、
円板状記録媒体を前記吸着部により吸着して移送する円板状記録媒体の真空吸着装置において、
前記吸着部は、
円板状記録媒体の記録エリアの内側部分で円板状記録媒体の径方向に間隔を置いた箇所に接触可能に環状に形成された第1および第2内側接触部と、
前記第1、第2内側接触部の間に形成され、各第1、第2内側接触部がそれぞれ円板状記録媒体の記録エリアの内側部分に接触した状態で、各第1、第2内側接触部と円板状記録媒体の記録エリアの内側部分と協働して閉塞空間を形成する吸引用凹部と、
前記吸引用凹部に連通する真空吸引路と、
前記吸着部の外側に設けられ、先端に至り径方向外方に傾斜するテーパ面を有し円板状記録媒体の周縁に接触可能な案内部と、
を備えたことを特徴とする円板状記録媒体の真空吸着装置。 - 前記アームと吸着部との間には、アームに対して吸着部を、円板状記録媒体の中心軸方向に沿って移動可能に支持するフローティング機構が介設されている請求項1,2または3記載の円板状記録媒体の真空吸着装置。
- 前記フローティング機構が、前記アームに貫通固着された筒状のガイドブッシュと、前記ガイドブッシュに挿通されて基端部が前記ガイドブッシュに係止され先端部に前記吸着部が取付けられるガイドシャフトと、前記アームと吸着部との間に介装された付勢部材とからなる請求項4記載の円板状記録媒体の真空吸着装置。
- 前記フローティング機構が、前記吸着部に貫通固着された筒状のガイドブッシュと、前記ガイドブッシュに挿通されて先端部が前記ガイドブッシュに係止され基端部が前記アームに固着されたガイドシャフトと、前記アームと吸着部との間に介装された付勢部材とからなる請求項4記載の円板状記録媒体の真空吸着装置。
- 前記案内部が、先端に向けて先細りに形成されて前記円板状記録媒体の周縁に接触可能なテーパ面を有し前記吸着部に取付けられた複数の案内ピンにより構成されている請求項2または3記載の円板状記録媒体の真空吸着装置。
- 前記案内部が、前記円板状記録媒体の周縁に接触可能なテーパ面を有し前記吸着部に取付けられた円筒状の受け部材で構成されている請求項2または3記載の円板状記録媒体の真空吸着装置。
- 前記案内部が、前記円板状記録媒体の周縁に接触可能な円錐面を有し前記吸着部に取付けられた円錐状の受け部材で構成されている請求項2または3記載の円 板状記録媒体の真空吸着装置。
Priority Applications (1)
| Application Number | Priority Date | Filing Date | Title |
|---|---|---|---|
| JP03184294A JP3674635B2 (ja) | 1994-02-02 | 1994-02-02 | 円板状記録媒体の真空吸着装置 |
Applications Claiming Priority (1)
| Application Number | Priority Date | Filing Date | Title |
|---|---|---|---|
| JP03184294A JP3674635B2 (ja) | 1994-02-02 | 1994-02-02 | 円板状記録媒体の真空吸着装置 |
Publications (2)
| Publication Number | Publication Date |
|---|---|
| JPH07215461A JPH07215461A (ja) | 1995-08-15 |
| JP3674635B2 true JP3674635B2 (ja) | 2005-07-20 |
Family
ID=12342313
Family Applications (1)
| Application Number | Title | Priority Date | Filing Date |
|---|---|---|---|
| JP03184294A Expired - Fee Related JP3674635B2 (ja) | 1994-02-02 | 1994-02-02 | 円板状記録媒体の真空吸着装置 |
Country Status (1)
| Country | Link |
|---|---|
| JP (1) | JP3674635B2 (ja) |
-
1994
- 1994-02-02 JP JP03184294A patent/JP3674635B2/ja not_active Expired - Fee Related
Also Published As
| Publication number | Publication date |
|---|---|
| JPH07215461A (ja) | 1995-08-15 |
Similar Documents
| Publication | Publication Date | Title |
|---|---|---|
| US8873200B2 (en) | Spinstands for testing a head gimbal assembly | |
| CN1178219C (zh) | 盘保持装置 | |
| WO1998036867A1 (en) | Method and apparatus for laser texturing a magnetic recording disk substrate | |
| JP3674635B2 (ja) | 円板状記録媒体の真空吸着装置 | |
| US20030112553A1 (en) | Apparatus and method of disc clamping for disc stack assembly | |
| CN101366087A (zh) | 盘装置 | |
| JP2783104B2 (ja) | 芯出し貼合わせ装置 | |
| JP6154617B2 (ja) | ディスククランプ機構及び記録再生装置及びディスクチェンジャ | |
| EP1341171A2 (en) | Disk insertion position setting device | |
| JP3112272B2 (ja) | ディスク外周面加工装置 | |
| JPH07296429A (ja) | 円盤状記録媒体の取扱装置 | |
| JPH10134427A (ja) | 保持台から記憶ディスクを取り上げる方法、及びそのために使用する保持台 | |
| JP4250605B2 (ja) | ディスクスタック方法及びディスクスタック装置 | |
| JPH0264960A (ja) | ディスク位置決め装置 | |
| JPS61180988A (ja) | 記録媒体及びそのセパレ−タを保持する吸着ヘツド | |
| KR19980071557A (ko) | 디스크 구동장치 | |
| JPH077506B2 (ja) | ディスク・ハンドリングチャック機構 | |
| JP3643733B2 (ja) | 被検査物の位置決め装置 | |
| JPH0119263Y2 (ja) | ||
| JP2005310281A (ja) | ディスク装置 | |
| JPH10134423A (ja) | 保持台からの記憶ディスクの取り上げ方法及びその装置 | |
| JP2003223755A (ja) | ディスク装置ならびにディスク調芯機構 | |
| CN121604777A (zh) | 一种定心机构、键合设备及定心方法 | |
| JPH087531A (ja) | ディスクドライブ装置 | |
| JPH1166718A (ja) | 円板状記録媒体用ターンテーブル |
Legal Events
| Date | Code | Title | Description |
|---|---|---|---|
| A131 | Notification of reasons for refusal |
Free format text: JAPANESE INTERMEDIATE CODE: A131 Effective date: 20050209 |
|
| A521 | Written amendment |
Free format text: JAPANESE INTERMEDIATE CODE: A523 Effective date: 20050311 |
|
| TRDD | Decision of grant or rejection written | ||
| A01 | Written decision to grant a patent or to grant a registration (utility model) |
Free format text: JAPANESE INTERMEDIATE CODE: A01 Effective date: 20050406 |
|
| A61 | First payment of annual fees (during grant procedure) |
Free format text: JAPANESE INTERMEDIATE CODE: A61 Effective date: 20050419 |
|
| LAPS | Cancellation because of no payment of annual fees |