JP3665973B2 - 不正開封防止用ヒンジ付キャップ - Google Patents
不正開封防止用ヒンジ付キャップ Download PDFInfo
- Publication number
- JP3665973B2 JP3665973B2 JP18615195A JP18615195A JP3665973B2 JP 3665973 B2 JP3665973 B2 JP 3665973B2 JP 18615195 A JP18615195 A JP 18615195A JP 18615195 A JP18615195 A JP 18615195A JP 3665973 B2 JP3665973 B2 JP 3665973B2
- Authority
- JP
- Japan
- Prior art keywords
- lid
- cap
- opening
- hole
- virgin
- Prior art date
- Legal status (The legal status is an assumption and is not a legal conclusion. Google has not performed a legal analysis and makes no representation as to the accuracy of the status listed.)
- Expired - Fee Related
Links
- 230000002093 peripheral effect Effects 0.000 claims description 18
- 239000007788 liquid Substances 0.000 claims description 3
- 229920003002 synthetic resin Polymers 0.000 description 8
- 239000000057 synthetic resin Substances 0.000 description 8
- 238000007789 sealing Methods 0.000 description 7
- 238000004519 manufacturing process Methods 0.000 description 4
- 238000001746 injection moulding Methods 0.000 description 3
- 230000001681 protective effect Effects 0.000 description 3
- 230000005489 elastic deformation Effects 0.000 description 2
- 230000007246 mechanism Effects 0.000 description 2
- 238000000465 moulding Methods 0.000 description 2
- -1 polyethylene Polymers 0.000 description 2
- 230000002265 prevention Effects 0.000 description 2
- 239000000243 solution Substances 0.000 description 2
- 239000004698 Polyethylene Substances 0.000 description 1
- 239000004743 Polypropylene Substances 0.000 description 1
- 238000005452 bending Methods 0.000 description 1
- 235000013361 beverage Nutrition 0.000 description 1
- 230000000694 effects Effects 0.000 description 1
- 238000005516 engineering process Methods 0.000 description 1
- 235000013305 food Nutrition 0.000 description 1
- 230000001771 impaired effect Effects 0.000 description 1
- 238000002347 injection Methods 0.000 description 1
- 239000007924 injection Substances 0.000 description 1
- 239000002184 metal Substances 0.000 description 1
- 238000000034 method Methods 0.000 description 1
- 229920000573 polyethylene Polymers 0.000 description 1
- 229920001155 polypropylene Polymers 0.000 description 1
- 231100000241 scar Toxicity 0.000 description 1
- 239000000126 substance Substances 0.000 description 1
Images
Landscapes
- Closures For Containers (AREA)
Description
【産業上の利用分野】
本発明は、液体を収納した中空容器の開口部を密閉するためのヒンジ付キャップに関する、更に詳しくは、容器の密閉蓋が不正に開封されたかどうかが、すぐに発見することができる、即ち、バージンプルーフ性を備えた合成樹脂製のヒンジ付キャップに関するものである。
【0002】
【従来の技術】
今日、飲料その他の食品等の液体を収納した壜型中空容器に於いては、内容物の抜き取りや詰め替えが行われないようするために、更に、悪戯により有害物質が混入されるのを防止するために、金属製ねじ蓋の一部に初期開封を行う際に破断される箇所を形成しておいて不正開封を防止するねじ蓋が一般的に広く使用されるようになっているが、近年、合成樹脂製のヒンジ付キャップを用いたものに於いても、不正開封を防止し得る機能を備えたものが要望されるようになり、ヒンジ付キャップの上蓋と開封用突出部とを蓋体本体部側壁に一体的に密封した合成樹脂フィルム等の保護シールを設て、開封時には保護シールを破断除去するようにしたものが使用されている。
【0003】
しかし、このような保護シールによるバージンプルーフを施したものは、キャップが開封されたかどうかを容易に確認することができるが、蓋の開閉部を一体的に保護シールで被覆して密着させるには専用の設備と人手を必要とするので生産コストに影響するという問題があった。
【0004】
そこで、合成樹脂製のヒンジ付キャップに於いて、蓋体本体の側壁の一部に切り込み線やミシン目のような弱め部分を設けて置いて、側壁の一部を除去しない限り上蓋を開封できないようにしたものや、ヒンジ付キャップを製造するに際して、同時にキャップ上蓋の掛止部に係合して不正開封を防止する破断部を形成して、該破断部に前記キャップの掛止部又は開閉突部を破断することなしには離脱不可能に係合せしめて不正開封の防止構造としたものを射出成形により一体成形するものが提案されている。
【0005】
例えば、図5に示すようなヒンジ付キャップ型の栓本体1のヒンジ部3とは反対側の外周側壁部に、栓本体1と間隙溝11を形成して対向し、かつ、両端部で栓本体1の外周壁と連結する破断可能な帯状片10を円弧上に一体に形成すると共に、上蓋部2に設けた開封用指掛け突片4の下方突出片4bの先端に掛止部4cを形成し、上蓋2を栓本体1に被冠させたときに前記帯状片10と栓本体1との間に前記掛止部4cが係合されて、前記指掛け突片4を指で押し上げて開封すると帯状片10が破断するように一体に形成したもの(実公平2−21406号公報参照)や、図6に示すようなヒンジ付キャップの栓本体1は、容器の口頸部外周面に抜き取り不可能に嵌着させる周壁を有し、該周壁には後部のヒンジ部3を除いて複数の破断子9を介して覆合帯板10を破断可能に起立させ、且つ、該覆合帯板前部は平面コの字状に前方へ突出部10aを設けると共に、下方に開口する切欠き凹部10bを設けて、上蓋2の周壁の前部下端に設けた蓋開閉用の指掛け片4が、蓋を密閉する際に前記覆合帯板10の前部後面を乗り越えて前記凹部10bに離脱不可能に係合するように一体に形成したもの(実開平4−60866号公報参照)がある。
【0006】
また、上蓋と蓋体本体とがヒンジ部により連結されたヒンジ付キャップに於いて、上記のような不正開封防止用に帯片を用いずに、上蓋天板部に透孔を形成し、且つ、上蓋を閉じた状態に於いて該透孔を貫通して固定する突起体を蓋体本体の天板部に形成し、該突起体の上端に前記透孔の直径よりも僅かに大きな半球状の膨出体を設けると共に、該膨出体の下部に破断部を設けて、上蓋を開封する際に前記膨出体が破断除去されるように一体に形成して不正開封防止機構としたもの(実開平2−40053号公報参照)がある。
【0007】
【発明が解決しようとする課題】
合成樹脂製のヒンジ付キャップを射出成形により製造するには成形技術の面及び金型の製作の面から一般的に、該キャップの上蓋を開いた状態に成形した後、合成樹脂の弾性変形する性質を利用して、容器口頸部に嵌合する前に上蓋を閉じた状態にするか、容器口頸部に嵌合した後上蓋を閉じた状態にする方法が採用されている。
しかし、上記した従来技術の上蓋側壁の一部を破断除去するものに於いて、破断除去部分に形成した内方突出部と蓋体本体に形成した外方突出部とを係合させるようにしたものは、該突出部を大きく成形すると、突出部を係合させて閉蓋作業を行う際に除去部分が破断する恐れがある。
【0008】
また、実公平2−21406号公報記載のように上蓋開封用突出部の下方近傍に形成した掛止部や実開平4−60866号公報記載のように上蓋を押し上げるための開封用指掛け片部分の突出率を大きくすると、当該部分が弾性変形しにくくなって、閉蓋作業時に不正開封防止用帯体の破断部に亀裂を生ずる恐れがあり、更には実開平2−40053号公報記載のように蓋体本体の天板部に形成した突起体の半球状の膨出部を大きくすると、係合不可能となり、しかし、これとは反対にこれらの突出部を小さくすると、これらの突出部は容易に弾性変形するので蓋部の係合力が小さくなって、不正開封時に破断可能部分が破断されることなく抜き取られて開封されてしまう恐れがある。
【0009】
更に、これら従来の不正開封の防止機構は、蓋開閉部分のキャップ本体の周壁に横方向に帯状体を設けたものであるから、蓋の開封にはやや大きなちからを要し、また、開封後には破断した帯状体を取り除いた跡が大きな傷痕のようになって残り、容器にとって見栄えが良くない場合がある。
【0010】
【課題を解決するための手段】
本発明は、上蓋と蓋体本体とがヒンジ部により一体に連結されているヒンジ付キャップに於いて、上蓋に設けた蓋開閉用鍔部には弾性変形が可能なラチェット部を有する貫通孔を形成すると共に、蓋体本体部の外周面には縦方向に破断可能に連結する細長いバージンチップを形成し、該バージンチップの外側面には前記貫通孔を弾性変形して通過可能で、且つ、該貫通孔のラチェット部に係合する突起部を形成して、前記バージンチップを破断することなしには上蓋を開封不可能とする。
【0011】
【作用】
本発明のヒンジ付キャップは、蓋体本体1に対して上蓋2がヒンジ3により回動可能に連結されたものを、上蓋が開放された状態の形状にして合成樹脂の射出成形により一体に成形されている。そして、抜け止め用の突起部8aが設けられた概略平板状をしたバージンチップ8を、ヒンジ部3とは反対側の蓋体本体1の外周に沿って起立した状態で破断可能に連設して形成すると共に、上蓋1の外周面に開閉用指掛け突片4を、また、上蓋2の天板内面中央には注出口6内壁に嵌合する筒状密閉壁7を設けて、更に、前記指掛け突片4に形成したバージンチップ貫通孔4aの縁にはラチェット片8aを設けて、該貫通孔4aに前記バージンチップ8を挿通した突起部8aとラチェット片4bとを離脱不可能に係合せしめて、蓋体の不正開封を不可能とする。
【0012】
【実施例】
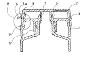
以下、本発明の一実施例を図面に基づいて説明する。図3に示すように本発明のヒンジ付キャップは、容器の口頸部に嵌着する蓋体本体1とヒンジ部3により該蓋体本体に一体に連結した上蓋2とからなる。
そして、前記蓋体本体1は、容器口頸部に嵌着する内筒部5と溶液注出口6を有し、更に、ヒンジ部3とは反対側の蓋体本体1の外周側壁部分に縦方向に沿うように概略平板状をした細長いバージンチップ8が起立状に形成されると共に、前記バージンチップ8の下端接続部分は細く絞られた状態の弱め部分9が形成されている。
また、閉蓋時に前記バージンチップ8の外側面に設けられて不正開封を防止する抜け止め用突起部8aは、外側表面の中程に滑り易く傾斜した上面と係止する平坦な下面とから形成されていて、上蓋2に設けた指掛け可能な突起部4の貫通孔4aを容易に通過できるように形成されて、下端部の前記弱め部9により蓋体本体1の外周側壁部分に破断可能に接続されている。
そして、前記上蓋2には、ヒンジ部3とは反対側の外周面に上蓋を開閉するための指掛け可能な突起部4を鍔状に形成すると共に、該指掛け突起部に前記バージンチップ8を挿通する貫通孔4aを形成して、貫通孔4aの縁部には前記バージンチップ8に設けられた抜け止め用突起部8aと係合するラチェット片4bが形成され、且つ、上蓋2の天板内面中央には注出口6内壁に嵌合する密閉用筒状壁7が形成されている。
【0013】
上記のような構造に合成樹脂を用いて射出成形された本発明のヒンジ付キャップは、上蓋2がヒンジ部3で回動されて前記貫通孔4a内にバージンチップ8を挿通して押し下げられると、注出口6に密閉用筒状壁7が嵌合されると共に、バージンチップ8の上半部は上蓋2の側面に密着した状態に、また、下半部は蓋体本体の側面に密着した状態となって、上蓋2の貫通孔4aの内面がバージンチップ8の突起部の斜面を滑りながら押し下げられる。
そして、前記突起部8a及び貫通孔4aの縁部が弾性変形して離脱不可能に係合して、上蓋2をキャップ本体1に被冠させた状態になるので、これを公知の打栓機等の閉蓋手段により図2に示すように容器口頸部に抜き取り不能に嵌着することができる。
本発明のヒンジ付キャップは、注出口6に密閉用筒状壁7が嵌合することにより上蓋2が蓋体本体1に密閉した状態に固定されているが、必要に応じて、上蓋2及び蓋体本体1の開口縁部に、実公平2−21406号公報に見るような周知の係止用突起部を形成することにより、より一層強固に上蓋を蓋体本体に密閉保持することを可能にすることもできる。
【0014】
本発明のようなヒンジ付キャップは、ポリエチレンやポリプロピレン等の可撓性を有する合成樹脂を用いて一体成形すれば、閉蓋作業を行う際にバージンチップ8の突起部8a及び上蓋2の貫通孔4aが弾性変形し易いので、バージンチップを破損させることもほとんどない。
尚、本発明のヒンジ付キャップは、上記のように上蓋2をキャップ本体1に被冠させた状態でなく、上蓋2を開いた状態で容器口頸部に装着した後で、上蓋2をキャップ本体1に被冠させることもできる。
また、必要に応じて、蓋体本体1側に形成した注出口6内部に、周知の引っ張片を有する破断可能な中蓋を設けたものとすることが可能であることは言うまでもない。
【0015】
【発明の効果】
本発明は、ヒンジ付キャップを用いた容器の不正開封を防止するための帯封体として、平板状の細長いバージンチップをキャップ本体の周壁に沿うようにして縦方向に設けたので、閉蓋作業を行う際には、細長いバージンチップは上蓋面に密着したように沿って案内されるので、折れ曲がって破損する恐れがない。
また、前記バージンチップは、小さくて、キャップ本体の周壁には細く絞られた弱め部分の僅かな接点で連結しているので、蓋の開封は容易に行うことができ、且つ、一度蓋が開封されると破断したバージンチップ片は蓋から脱落するので、蓋が開けられたことを容易に知ることができ、蓋が開封された後バージンチップが除去されても、容器の見栄えを損なうことがない。
【図面の簡単な説明】
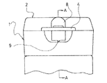
【図1】本発明のヒンジ付キャップを容器に装着した正面図である。
【図2】図1に於けるA−A断面図である。
【図3】本発明のヒンジ付キャップを成形した直後の断面図である。
【図4】図2に於けるバージンチップの係合部分の拡大図である。
【図5】不正開封防止用帯片を用いた第1の従来例である。
【図6】不正開封防止用被覆帯板を用いた第2の従来例である。
【符号の説明】
1 蓋体本体
2 上蓋
3 ヒンジ部
4 開閉用指掛け突片
5 嵌着用内筒部
6 溶液注出口
7 密閉用筒状壁
8 バージンチップ
9 破断用弱め部
Claims (4)
- 液体収納容器の口頸部に装着して開口部を開閉自在に密閉する蓋体であって、口頸部に嵌着する蓋体本体の一部にヒンジ部を介して上蓋を開閉可能に連結して一体に形成したヒンジキャップに於いて、前記蓋体本体のヒンジ部と対向する位置に外周面に沿って縦方向に細長い略平板状をしたバージンチップを連接して設けて、その下半部の内面は蓋体本体の外周面に密接可能に形成すると共に下端接続部は細く絞って破断可能に形成して、また、その上半部の内側面は上蓋の外周面に密接可能に形成すると共に外側面に傾斜した上面と平坦な下面とからなる鍔部の貫通孔を挿通可能な突起部を形成して、前記バージンチップを前記上蓋外周面に設けた蓋開閉用鍔部に形成された貫通孔に挿通せしめて係止可能に構成したことを特徴とする不正開封防止用ヒンジ付キャップ。
- 前記上蓋の蓋開閉用鍔部に形成された貫通孔は、その内側縁部にラチェット片を形成してなることを特徴とする請求項1に記載する不正開封防止用ヒンジ付キャップ。
- 蓋体本体部の外周面に下半部が沿うように立設した前記バージンチップは、前記蓋開閉用鍔部の貫通孔に挿通せしめられて、前記突起部の平坦面が貫通孔のラチェット片に離脱不可能に係合されることを特徴とする請求項1に記載する不正開封防止用ヒンジ付キャップ。
- 前記バージンチップは、上蓋の開閉用鍔部の貫通孔に挿通されて蓋開閉用鍔部が押圧されると、上半部は上蓋の外周面に密接されて、下半部は蓋体本体の外周面に密接されて、前記突起部は貫通孔を抜けてラチェット片に係合されてなることを特徴とする請求項1に記載する不正開封防止用ヒンジ付キャップ。
Priority Applications (1)
| Application Number | Priority Date | Filing Date | Title |
|---|---|---|---|
| JP18615195A JP3665973B2 (ja) | 1995-06-28 | 1995-06-28 | 不正開封防止用ヒンジ付キャップ |
Applications Claiming Priority (1)
| Application Number | Priority Date | Filing Date | Title |
|---|---|---|---|
| JP18615195A JP3665973B2 (ja) | 1995-06-28 | 1995-06-28 | 不正開封防止用ヒンジ付キャップ |
Publications (2)
| Publication Number | Publication Date |
|---|---|
| JPH0912054A JPH0912054A (ja) | 1997-01-14 |
| JP3665973B2 true JP3665973B2 (ja) | 2005-06-29 |
Family
ID=16183281
Family Applications (1)
| Application Number | Title | Priority Date | Filing Date |
|---|---|---|---|
| JP18615195A Expired - Fee Related JP3665973B2 (ja) | 1995-06-28 | 1995-06-28 | 不正開封防止用ヒンジ付キャップ |
Country Status (1)
| Country | Link |
|---|---|
| JP (1) | JP3665973B2 (ja) |
Families Citing this family (5)
| Publication number | Priority date | Publication date | Assignee | Title |
|---|---|---|---|---|
| FR2890942B1 (fr) * | 2005-09-21 | 2010-04-09 | Airsec | Conteneur a temoin d'inviolabilite |
| FR2890945A1 (fr) * | 2005-09-21 | 2007-03-23 | Airsec Soc Par Actions Simplif | Conteneur a temoin d'inviolabilite |
| JP5449960B2 (ja) * | 2009-09-30 | 2014-03-19 | 株式会社吉野工業所 | 不正開封防止機構付きヒンジキャップ |
| JP5840021B2 (ja) * | 2012-02-16 | 2016-01-06 | 三菱電機株式会社 | 空気調和機の室内機 |
| JP6004969B2 (ja) * | 2013-02-28 | 2016-10-12 | 株式会社吉野工業所 | 不正開封防止機能を備えた注出栓 |
-
1995
- 1995-06-28 JP JP18615195A patent/JP3665973B2/ja not_active Expired - Fee Related
Also Published As
| Publication number | Publication date |
|---|---|
| JPH0912054A (ja) | 1997-01-14 |
Similar Documents
| Publication | Publication Date | Title |
|---|---|---|
| JP2543571Y2 (ja) | 合成樹脂製蓋 | |
| KR100822925B1 (ko) | 합성수지제 주출캡 | |
| CN103958363B (zh) | 显窃启封闭件 | |
| US4570810A (en) | Cap with tamper indicating band | |
| JP6116474B2 (ja) | 不正開封防止キャップ | |
| JPH0232599Y2 (ja) | ||
| JP5449960B2 (ja) | 不正開封防止機構付きヒンジキャップ | |
| JP3665973B2 (ja) | 不正開封防止用ヒンジ付キャップ | |
| JP4231680B2 (ja) | ヒンジキャップ | |
| JP4401083B2 (ja) | 注出口体 | |
| JP7346059B2 (ja) | キャップ | |
| JP4342839B2 (ja) | 易開栓容器蓋 | |
| JP2660552B2 (ja) | ヒンジ付キャップ | |
| JP4401467B2 (ja) | 合成樹脂製キャップ | |
| JP4409145B2 (ja) | 不正開封防止機能付き密封蓋体 | |
| JP3874169B2 (ja) | 合成樹脂製注出キャップ | |
| JP2014129104A (ja) | キャップ及びキャップ付き容器 | |
| RU235561U1 (ru) | Укупорочное устройство для емкости | |
| JP4548023B2 (ja) | 不正開封防止機能付キャップ | |
| JP2012188123A (ja) | 容器蓋 | |
| EP0968120B1 (en) | Container with tamper evident closure | |
| RU211965U1 (ru) | Укупорочное устройство для ёмкости | |
| JP3867175B2 (ja) | 容器の開閉装置 | |
| JP4437035B2 (ja) | 不正開封防止機能付きのヒンジキャップ | |
| EP0618146A2 (en) | Tamper-evident closure |
Legal Events
| Date | Code | Title | Description |
|---|---|---|---|
| A977 | Report on retrieval |
Free format text: JAPANESE INTERMEDIATE CODE: A971007 Effective date: 20040217 |
|
| A131 | Notification of reasons for refusal |
Free format text: JAPANESE INTERMEDIATE CODE: A131 Effective date: 20040224 |
|
| A521 | Written amendment |
Free format text: JAPANESE INTERMEDIATE CODE: A523 Effective date: 20040427 |
|
| A59 | Written plea |
Free format text: JAPANESE INTERMEDIATE CODE: A59 Effective date: 20040730 |
|
| A072 | Dismissal of procedure |
Free format text: JAPANESE INTERMEDIATE CODE: A072 Effective date: 20040824 |
|
| A131 | Notification of reasons for refusal |
Free format text: JAPANESE INTERMEDIATE CODE: A131 Effective date: 20041019 |
|
| A521 | Written amendment |
Free format text: JAPANESE INTERMEDIATE CODE: A523 Effective date: 20041220 |
|
| TRDD | Decision of grant or rejection written | ||
| A01 | Written decision to grant a patent or to grant a registration (utility model) |
Free format text: JAPANESE INTERMEDIATE CODE: A01 Effective date: 20050222 |
|
| A61 | First payment of annual fees (during grant procedure) |
Free format text: JAPANESE INTERMEDIATE CODE: A61 Effective date: 20050325 |
|
| R150 | Certificate of patent or registration of utility model |
Free format text: JAPANESE INTERMEDIATE CODE: R150 |
|
| FPAY | Renewal fee payment (event date is renewal date of database) |
Free format text: PAYMENT UNTIL: 20080415 Year of fee payment: 3 |
|
| FPAY | Renewal fee payment (event date is renewal date of database) |
Free format text: PAYMENT UNTIL: 20090415 Year of fee payment: 4 |
|
| FPAY | Renewal fee payment (event date is renewal date of database) |
Free format text: PAYMENT UNTIL: 20100415 Year of fee payment: 5 |
|
| FPAY | Renewal fee payment (event date is renewal date of database) |
Free format text: PAYMENT UNTIL: 20110415 Year of fee payment: 6 |
|
| FPAY | Renewal fee payment (event date is renewal date of database) |
Free format text: PAYMENT UNTIL: 20110415 Year of fee payment: 6 |
|
| FPAY | Renewal fee payment (event date is renewal date of database) |
Free format text: PAYMENT UNTIL: 20120415 Year of fee payment: 7 |
|
| FPAY | Renewal fee payment (event date is renewal date of database) |
Free format text: PAYMENT UNTIL: 20120415 Year of fee payment: 7 |
|
| FPAY | Renewal fee payment (event date is renewal date of database) |
Free format text: PAYMENT UNTIL: 20130415 Year of fee payment: 8 |
|
| FPAY | Renewal fee payment (event date is renewal date of database) |
Free format text: PAYMENT UNTIL: 20130415 Year of fee payment: 8 |
|
| FPAY | Renewal fee payment (event date is renewal date of database) |
Free format text: PAYMENT UNTIL: 20140415 Year of fee payment: 9 |
|
| LAPS | Cancellation because of no payment of annual fees |