JP3662018B2 - 内燃機関の燃焼室内の圧力を検出するための圧力センサ - Google Patents
内燃機関の燃焼室内の圧力を検出するための圧力センサ Download PDFInfo
- Publication number
- JP3662018B2 JP3662018B2 JP50300292A JP50300292A JP3662018B2 JP 3662018 B2 JP3662018 B2 JP 3662018B2 JP 50300292 A JP50300292 A JP 50300292A JP 50300292 A JP50300292 A JP 50300292A JP 3662018 B2 JP3662018 B2 JP 3662018B2
- Authority
- JP
- Japan
- Prior art keywords
- pressure sensor
- pressure
- sensor according
- plunger
- silicon chip
- Prior art date
- Legal status (The legal status is an assumption and is not a legal conclusion. Google has not performed a legal analysis and makes no representation as to the accuracy of the status listed.)
- Expired - Fee Related
Links
Images
Classifications
-
- G—PHYSICS
- G01—MEASURING; TESTING
- G01L—MEASURING FORCE, STRESS, TORQUE, WORK, MECHANICAL POWER, MECHANICAL EFFICIENCY, OR FLUID PRESSURE
- G01L23/00—Devices or apparatus for measuring or indicating or recording rapid changes, such as oscillations, in the pressure of steam, gas, or liquid; Indicators for determining work or energy of steam, internal-combustion, or other fluid-pressure engines from the condition of the working fluid
- G01L23/08—Devices or apparatus for measuring or indicating or recording rapid changes, such as oscillations, in the pressure of steam, gas, or liquid; Indicators for determining work or energy of steam, internal-combustion, or other fluid-pressure engines from the condition of the working fluid operated electrically
- G01L23/18—Devices or apparatus for measuring or indicating or recording rapid changes, such as oscillations, in the pressure of steam, gas, or liquid; Indicators for determining work or energy of steam, internal-combustion, or other fluid-pressure engines from the condition of the working fluid operated electrically by resistance strain gauges
-
- G—PHYSICS
- G01—MEASURING; TESTING
- G01L—MEASURING FORCE, STRESS, TORQUE, WORK, MECHANICAL POWER, MECHANICAL EFFICIENCY, OR FLUID PRESSURE
- G01L9/00—Measuring steady of quasi-steady pressure of fluid or fluent solid material by electric or magnetic pressure-sensitive elements; Transmitting or indicating the displacement of mechanical pressure-sensitive elements, used to measure the steady or quasi-steady pressure of a fluid or fluent solid material, by electric or magnetic means
- G01L9/0041—Transmitting or indicating the displacement of flexible diaphragms
- G01L9/0051—Transmitting or indicating the displacement of flexible diaphragms using variations in ohmic resistance
- G01L9/0052—Transmitting or indicating the displacement of flexible diaphragms using variations in ohmic resistance of piezoresistive elements
-
- G—PHYSICS
- G01—MEASURING; TESTING
- G01L—MEASURING FORCE, STRESS, TORQUE, WORK, MECHANICAL POWER, MECHANICAL EFFICIENCY, OR FLUID PRESSURE
- G01L9/00—Measuring steady of quasi-steady pressure of fluid or fluent solid material by electric or magnetic pressure-sensitive elements; Transmitting or indicating the displacement of mechanical pressure-sensitive elements, used to measure the steady or quasi-steady pressure of a fluid or fluent solid material, by electric or magnetic means
- G01L9/02—Measuring steady of quasi-steady pressure of fluid or fluent solid material by electric or magnetic pressure-sensitive elements; Transmitting or indicating the displacement of mechanical pressure-sensitive elements, used to measure the steady or quasi-steady pressure of a fluid or fluent solid material, by electric or magnetic means by making use of variations in ohmic resistance, e.g. of potentiometers, electric circuits therefor, e.g. bridges, amplifiers or signal conditioning
- G01L9/06—Measuring steady of quasi-steady pressure of fluid or fluent solid material by electric or magnetic pressure-sensitive elements; Transmitting or indicating the displacement of mechanical pressure-sensitive elements, used to measure the steady or quasi-steady pressure of a fluid or fluent solid material, by electric or magnetic means by making use of variations in ohmic resistance, e.g. of potentiometers, electric circuits therefor, e.g. bridges, amplifiers or signal conditioning of piezo-resistive devices
- G01L9/065—Measuring steady of quasi-steady pressure of fluid or fluent solid material by electric or magnetic pressure-sensitive elements; Transmitting or indicating the displacement of mechanical pressure-sensitive elements, used to measure the steady or quasi-steady pressure of a fluid or fluent solid material, by electric or magnetic means by making use of variations in ohmic resistance, e.g. of potentiometers, electric circuits therefor, e.g. bridges, amplifiers or signal conditioning of piezo-resistive devices with temperature compensating means
Landscapes
- Physics & Mathematics (AREA)
- General Physics & Mathematics (AREA)
- Chemical & Material Sciences (AREA)
- Engineering & Computer Science (AREA)
- Combustion & Propulsion (AREA)
- Measuring Fluid Pressure (AREA)
- Pressure Sensors (AREA)
Description
背景技術
本発明はドイツ連邦共和国特許公開公報第3125640.6号に基づき公知の圧力センサから出発する。この公知の圧力センサにおいては、ピエゾ抵抗形の測定素子、例えばサーメット、導電性プラスチックまたは金属からなる厚膜抵抗が支持体に被着されている。抵抗素子と支持体とは、圧力室内の圧力を測定することができるように圧力室の出来るだけ近くに配置されている。さらに測定信号は、電気的な導線を用いて圧力センサのケーシングの外部に配置された電子評価回路に案内されている。したがってピエゾ抵抗形の素子と電子的な構成部材とはシールドされた導線を用いて互いに接続されなければならず、これには手間がかかる。ピエゾ抵抗形の測定素子は圧力に直接さらされるので、圧力室内の高温にもさらされることになる。この圧力室には約2000℃の温度で火炎が広がる。これによって、ケーシングには歪みが生じてしまうことがある。したがって圧力信号は高温により誤められてしまう。
さらに米国特許第4645965号明細書に開示された圧力センサにおいては、測定センサが圧電性材料から成っている。圧電性の素子としては例えば圧電セラミック素子が使用されている。この圧電セラミック素子は、線材をコンタクト板に溶接することにより接触接続することができる。しかしこれには手間がかかる。ピエゾ抵抗形の素子とは異なり、圧電性の素子では圧力作用時に測定信号が形成される際に電荷ひいては電圧が形成される。この電圧が取出され、評価されるのである。これとは異なり、ピエゾ抵抗形の素子では、電圧が印加され、ピエゾ抵抗形の素子における電気抵抗が圧力作用によって変化させられる。
発明の利点
請求項1に記載の特徴を有する本発明の圧力センサには次のような利点がある。すなわち単結晶のシリコンチップにピエゾ抵抗形の測定素子と電子処理装置とを極めてスペース節約型のコンパクトな構造で配置することができる。センサの感度は、組立てが完了した状態で外部から調節することができる。本発明の圧力センサにおいては従来の技術背景とは異なりレーザ調整はもはや不要である。
従属形式請求項に記載の手段により、請求項1に記載のセンサの有利な手段が得られる。
図面
以下に本発明の実施例を図面につき詳しく説明する。第1図は圧力センサの断面図であり、第2図は回路図であり、第3a図および第3b図は、1変化実施例を断面図と平面図とで示しており、第4図は別の変化実施例の断面図である。
実施例の説明
第1図には内燃機関の燃焼室内の圧力を測定するための圧力センサ11のケーシングが符号10で示されている。このケーシングは中央に、一貫して延びかつ段付けされた孔12を有している。ケーシング10の、燃焼室に面した開口部13はダイヤフラム14によって閉鎖されている。ダイヤフラム14はいわゆるキャップ形ダイヤフラムとして構成されている。ダイヤフラムの縁部は折り曲げられており、ケーシング10の軸部15の端部に被せられていて、そこで溶接固定されている。これによりダイヤフラム14はケーシング10にしっかりと装着されているが、ダイヤフラム14の可動性を保証するために、軸部15の端面16には直接接触していない。したがってダイヤフラム14の曲がった部分は自由に運動することができる。しかしダイヤフラムは、例えばスナップ結合のようなほかの形式によってケーシング10の軸部15に固定することもできる。ダイヤフラム14は、超合金、すなわち、例えばほぼNi50%とCr20%とFe20%との合金から構成されていると特に有利である。ダイヤフラム14の中央部にはプランジャ18の一方の端部が当接しており、プランジャ18の他方の端部は、単結晶のシリコン(Si)チップ20のピエゾ抵抗形の測定素子19に当接している。ピエゾ抵抗形の測定素子とは、圧力作用を受けてその抵抗値を変化させるような素子を意味する。測定素子19は拡散と、半導体技術に基づき公知の他の方法とにより製造されたピエゾ抵抗形の抵抗21から成っている。この抵抗21にはプランジャ18の力が直角方向で導入される。前記の抵抗の製造方法ではシリコンプレートの異種原子とのドーピングが行なわれる。実際にはこの場合例えばホウ素またはリンが使用される。さらに測定素子19は、すぐ近くに配置された第2の抵抗22を有している(第2図)。しかしこの抵抗22には圧力は作用しない。
この抵抗22は抵抗21と同様に前記の方法で製造されている。抵抗22は抵抗21を補完していわゆる半波整流ブリッジ回路を形成している。場合によっては、別の2つの抵抗を加えて都合3つの抵抗を設けてもよい。これらの抵抗には圧力が作用せず、これによりホイートストン形の全波整流ブリッジ回路が得られる。さらにシリコンチップには安定化回路23が形成されていて、これにより測定素子19には安定化されかつ外乱を取り除かれた電圧または電流が供給される。さらに抵抗21,22の測定ブリッジには直流電圧または交流電圧の増幅回路24が作用する。これにより測定信号をミリボルト領域からボルト領域に増幅することができる。しかしその代わりに一般に公知の、増幅作用を有する制御回路がシリコンチップに設けられていてもよい。測定素子19の測定ブリッジの近傍には温度依存型の抵抗25または半導体素子が配置されており、これによってブリッジ抵抗の温度依存性ならびに使用されるピエゾ抵抗形の素子のピエゾ抵抗係数が補償される。さらにシリコンチップには、抵抗27と、例えば並列に接続された抵抗51と、これに直列接続されたツェナーダイオード28とからなる回路網ならびに機能のバランスのためのロジック素子29が設けられている。このためにはロジック素子29から付加的な接続部31がチップから外部へ向かって案内されている。必要に応じて極めて高い電圧と電流とを印加することによりツェナーダイオード28をブレークダウンさせひいては抵抗51を回路網に並列に接続させることができるほどの高い電圧と電流とが前記接続部に加えられるようになっている。これにより、例えば測定素子19への規定の圧力の印加時に、センサのゼロ点と感度とが外部から電気的にバランス可能となる。場合によってはこのようにして温度特性が温度依存型の抵抗25を介して影響されるようになっていてもよい。従来より公知の圧力センサにおいてはこのような形式の機能のバランスは、厚膜ハイブリッド上の抵抗のレーザバランシングによってのみ可能である。しかし厚膜回路は比較的大きな所要スペースを有しており、これによりセンサの外寸法を決定してしまう。
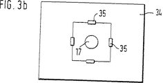
第3図に示した測定素子の実施態様では、シリコン結晶20aからエッチング加工されかつダイヤフラムとして働く薄い部分に4つの抵抗35が形成されている。これらの4つの抵抗35はホイートストン形のブリッジ回路内に接続されており、この場合力はダイヤフラム34の中央に導入され、これにより抵抗35は縦方向または横方向で引張応力または圧縮応力を受ける。この場合チップは第2図に示したように構成されている。第3図に示した配置形式は第1図に示した構成にも同様に使用可能である。この場合プランジャ18は抵抗の1つに載置されることなくホイートストン形のブリッジ回路の中央に作用し、第1図に示した通りシリコンチップ20はエッチング加工されたダイヤフラムを有していない。
プランジャ18はガラスセラミックスからなっていてもよく、これによりダイヤフラムすなわち圧力を測定しようとする圧力室と測定素子19との間の良好な断熱が保証される。プランジャ18の、チップ20に面した端部は円錐状に構成されていてもよい。これによりこの端部は測定素子19の敏感な抵抗とほぼ等しい直径を有することができるか、あるいはダイヤフラム34もしくはホイートストン形のブリッジ回路の中央に載置することができる。これによってプランジャ18を孔12内で案内するにもかかわらず、圧力伝達部分ではプランジャを測定素子19の大きさに制限することが可能になる。プランジャ18から測定素子19への、力のできるだけ正確に規定された導入を保証するために、プランジャ18は少なくともその端部領域17が比較的軟らかい材料から製造されている。これによりプランジャ端部の表面粗さが測定素子19の測定抵抗21に測定誤差として生じてしまうことを阻止できる。この場合、プランジャ端部の端面と測定素子19の表面との間に形状接続が得られる。ここではチップ20に中間素子36が配置されていてもよい。この中間素子は、正確に規定された載着面でプランジャ18の力を極めて均一に測定素子19に導入するために役立つ。しかもその際、測定素子19がプランジャ端部の粗く凹凸のある表面により破壊されたり付加的な横方向緊張が測定素子に生じたりすることはない。中間素子36は、ホウケイ酸ガラスまたは同様にシリコンからなっていると有利である。それというのはこれらの材料は熱膨張係数の点でシリコンチップに適合しておりしかも表面の質が高いからである。ホウケイ酸ガラスとしてはコーニング−グラスワークス社(Firma Corning−Glass Works、米国在)の材料パイレックス(Pyrex)またはショット社(Firma Schott、ドイツ連邦共和国、マインツ在)の材料テンパックス(Tempax)を使用してもよい。中間素子36は、エッチングにより加工されたいわゆる凸構造または第4図に示したようなメサ構造32を有していてもよい。メサ構造には平らな表面はもはや形成されておらず凸部および/または凹部が設けられている。例えばすでに製造過程において、シリコンチップを備えたウェーハと、メサ構造にエッチングされたパイレックスウェーハまたはシリコンウェーハとを陽極ボンディングするか、または直接にボンディングし、つまり両者を機械的に固く結合させ、続いてソーイングすることができる。これにより中間素子36の極めて高い位置調整精度が得られる。
さらに、プランジャ18全体を軟らかな材料から製造することも考えられる。しかしこうすることによりプランジャ18の剛性にはやはり不都合な影響がもたらされることがある。プランジャ18の材料を選択する際には次の点を考慮するのが望ましい。すなわち、プランジャはできるだけ小さな熱伝導率を有しているのがよく、これにより測定信号が温度の変動または温度自体による影響によって誤められることがなくなるのである。小さな熱伝導率は例えばガラスセラミックスが有している。プランジャ18の部分17のための材料は、例えば比較的軟質の金属、例えばAl、黄銅、Cuやプラスチック等が使用されてもよい。この軟らかい領域のための材料は小さい熱伝導率に合わせる必要はない。
チップ20は、孔12にプレス嵌めされた受け37に直接当接しているか、または支持体38を介してこの受けに結合されている。この支持体38は、シリコンチップ20と受け37との間に異なる膨張係数が作用するのを回避するようになっている。支持体の材料としてはシリコンまたはホウケイ酸ガラスが有利に適している。受け37内には孔12に対してほぼ軸平行に延びて貫通する複数の孔40が構成されている。これらの孔40内では、電気的に絶縁性のガラスコンパウンドによって取り囲まれた調整ピン31aと電気的な接続のためのピン47とが案内されている。ピン31a,47はボンディングワイヤ39を介してシリコンチップ20に接続されている。ピン47の導線48はマウスピース49に集められている。例えば湿リのような、環境からの有害な影響に対する保護のためには孔12がピンと電気的な回路とが存在する領域に封止用コンパウンド50を流し込まれていてもよい。
本発明はドイツ連邦共和国特許公開公報第3125640.6号に基づき公知の圧力センサから出発する。この公知の圧力センサにおいては、ピエゾ抵抗形の測定素子、例えばサーメット、導電性プラスチックまたは金属からなる厚膜抵抗が支持体に被着されている。抵抗素子と支持体とは、圧力室内の圧力を測定することができるように圧力室の出来るだけ近くに配置されている。さらに測定信号は、電気的な導線を用いて圧力センサのケーシングの外部に配置された電子評価回路に案内されている。したがってピエゾ抵抗形の素子と電子的な構成部材とはシールドされた導線を用いて互いに接続されなければならず、これには手間がかかる。ピエゾ抵抗形の測定素子は圧力に直接さらされるので、圧力室内の高温にもさらされることになる。この圧力室には約2000℃の温度で火炎が広がる。これによって、ケーシングには歪みが生じてしまうことがある。したがって圧力信号は高温により誤められてしまう。
さらに米国特許第4645965号明細書に開示された圧力センサにおいては、測定センサが圧電性材料から成っている。圧電性の素子としては例えば圧電セラミック素子が使用されている。この圧電セラミック素子は、線材をコンタクト板に溶接することにより接触接続することができる。しかしこれには手間がかかる。ピエゾ抵抗形の素子とは異なり、圧電性の素子では圧力作用時に測定信号が形成される際に電荷ひいては電圧が形成される。この電圧が取出され、評価されるのである。これとは異なり、ピエゾ抵抗形の素子では、電圧が印加され、ピエゾ抵抗形の素子における電気抵抗が圧力作用によって変化させられる。
発明の利点
請求項1に記載の特徴を有する本発明の圧力センサには次のような利点がある。すなわち単結晶のシリコンチップにピエゾ抵抗形の測定素子と電子処理装置とを極めてスペース節約型のコンパクトな構造で配置することができる。センサの感度は、組立てが完了した状態で外部から調節することができる。本発明の圧力センサにおいては従来の技術背景とは異なりレーザ調整はもはや不要である。
従属形式請求項に記載の手段により、請求項1に記載のセンサの有利な手段が得られる。
図面
以下に本発明の実施例を図面につき詳しく説明する。第1図は圧力センサの断面図であり、第2図は回路図であり、第3a図および第3b図は、1変化実施例を断面図と平面図とで示しており、第4図は別の変化実施例の断面図である。
実施例の説明
第1図には内燃機関の燃焼室内の圧力を測定するための圧力センサ11のケーシングが符号10で示されている。このケーシングは中央に、一貫して延びかつ段付けされた孔12を有している。ケーシング10の、燃焼室に面した開口部13はダイヤフラム14によって閉鎖されている。ダイヤフラム14はいわゆるキャップ形ダイヤフラムとして構成されている。ダイヤフラムの縁部は折り曲げられており、ケーシング10の軸部15の端部に被せられていて、そこで溶接固定されている。これによりダイヤフラム14はケーシング10にしっかりと装着されているが、ダイヤフラム14の可動性を保証するために、軸部15の端面16には直接接触していない。したがってダイヤフラム14の曲がった部分は自由に運動することができる。しかしダイヤフラムは、例えばスナップ結合のようなほかの形式によってケーシング10の軸部15に固定することもできる。ダイヤフラム14は、超合金、すなわち、例えばほぼNi50%とCr20%とFe20%との合金から構成されていると特に有利である。ダイヤフラム14の中央部にはプランジャ18の一方の端部が当接しており、プランジャ18の他方の端部は、単結晶のシリコン(Si)チップ20のピエゾ抵抗形の測定素子19に当接している。ピエゾ抵抗形の測定素子とは、圧力作用を受けてその抵抗値を変化させるような素子を意味する。測定素子19は拡散と、半導体技術に基づき公知の他の方法とにより製造されたピエゾ抵抗形の抵抗21から成っている。この抵抗21にはプランジャ18の力が直角方向で導入される。前記の抵抗の製造方法ではシリコンプレートの異種原子とのドーピングが行なわれる。実際にはこの場合例えばホウ素またはリンが使用される。さらに測定素子19は、すぐ近くに配置された第2の抵抗22を有している(第2図)。しかしこの抵抗22には圧力は作用しない。
この抵抗22は抵抗21と同様に前記の方法で製造されている。抵抗22は抵抗21を補完していわゆる半波整流ブリッジ回路を形成している。場合によっては、別の2つの抵抗を加えて都合3つの抵抗を設けてもよい。これらの抵抗には圧力が作用せず、これによりホイートストン形の全波整流ブリッジ回路が得られる。さらにシリコンチップには安定化回路23が形成されていて、これにより測定素子19には安定化されかつ外乱を取り除かれた電圧または電流が供給される。さらに抵抗21,22の測定ブリッジには直流電圧または交流電圧の増幅回路24が作用する。これにより測定信号をミリボルト領域からボルト領域に増幅することができる。しかしその代わりに一般に公知の、増幅作用を有する制御回路がシリコンチップに設けられていてもよい。測定素子19の測定ブリッジの近傍には温度依存型の抵抗25または半導体素子が配置されており、これによってブリッジ抵抗の温度依存性ならびに使用されるピエゾ抵抗形の素子のピエゾ抵抗係数が補償される。さらにシリコンチップには、抵抗27と、例えば並列に接続された抵抗51と、これに直列接続されたツェナーダイオード28とからなる回路網ならびに機能のバランスのためのロジック素子29が設けられている。このためにはロジック素子29から付加的な接続部31がチップから外部へ向かって案内されている。必要に応じて極めて高い電圧と電流とを印加することによりツェナーダイオード28をブレークダウンさせひいては抵抗51を回路網に並列に接続させることができるほどの高い電圧と電流とが前記接続部に加えられるようになっている。これにより、例えば測定素子19への規定の圧力の印加時に、センサのゼロ点と感度とが外部から電気的にバランス可能となる。場合によってはこのようにして温度特性が温度依存型の抵抗25を介して影響されるようになっていてもよい。従来より公知の圧力センサにおいてはこのような形式の機能のバランスは、厚膜ハイブリッド上の抵抗のレーザバランシングによってのみ可能である。しかし厚膜回路は比較的大きな所要スペースを有しており、これによりセンサの外寸法を決定してしまう。
第3図に示した測定素子の実施態様では、シリコン結晶20aからエッチング加工されかつダイヤフラムとして働く薄い部分に4つの抵抗35が形成されている。これらの4つの抵抗35はホイートストン形のブリッジ回路内に接続されており、この場合力はダイヤフラム34の中央に導入され、これにより抵抗35は縦方向または横方向で引張応力または圧縮応力を受ける。この場合チップは第2図に示したように構成されている。第3図に示した配置形式は第1図に示した構成にも同様に使用可能である。この場合プランジャ18は抵抗の1つに載置されることなくホイートストン形のブリッジ回路の中央に作用し、第1図に示した通りシリコンチップ20はエッチング加工されたダイヤフラムを有していない。
プランジャ18はガラスセラミックスからなっていてもよく、これによりダイヤフラムすなわち圧力を測定しようとする圧力室と測定素子19との間の良好な断熱が保証される。プランジャ18の、チップ20に面した端部は円錐状に構成されていてもよい。これによりこの端部は測定素子19の敏感な抵抗とほぼ等しい直径を有することができるか、あるいはダイヤフラム34もしくはホイートストン形のブリッジ回路の中央に載置することができる。これによってプランジャ18を孔12内で案内するにもかかわらず、圧力伝達部分ではプランジャを測定素子19の大きさに制限することが可能になる。プランジャ18から測定素子19への、力のできるだけ正確に規定された導入を保証するために、プランジャ18は少なくともその端部領域17が比較的軟らかい材料から製造されている。これによりプランジャ端部の表面粗さが測定素子19の測定抵抗21に測定誤差として生じてしまうことを阻止できる。この場合、プランジャ端部の端面と測定素子19の表面との間に形状接続が得られる。ここではチップ20に中間素子36が配置されていてもよい。この中間素子は、正確に規定された載着面でプランジャ18の力を極めて均一に測定素子19に導入するために役立つ。しかもその際、測定素子19がプランジャ端部の粗く凹凸のある表面により破壊されたり付加的な横方向緊張が測定素子に生じたりすることはない。中間素子36は、ホウケイ酸ガラスまたは同様にシリコンからなっていると有利である。それというのはこれらの材料は熱膨張係数の点でシリコンチップに適合しておりしかも表面の質が高いからである。ホウケイ酸ガラスとしてはコーニング−グラスワークス社(Firma Corning−Glass Works、米国在)の材料パイレックス(Pyrex)またはショット社(Firma Schott、ドイツ連邦共和国、マインツ在)の材料テンパックス(Tempax)を使用してもよい。中間素子36は、エッチングにより加工されたいわゆる凸構造または第4図に示したようなメサ構造32を有していてもよい。メサ構造には平らな表面はもはや形成されておらず凸部および/または凹部が設けられている。例えばすでに製造過程において、シリコンチップを備えたウェーハと、メサ構造にエッチングされたパイレックスウェーハまたはシリコンウェーハとを陽極ボンディングするか、または直接にボンディングし、つまり両者を機械的に固く結合させ、続いてソーイングすることができる。これにより中間素子36の極めて高い位置調整精度が得られる。
さらに、プランジャ18全体を軟らかな材料から製造することも考えられる。しかしこうすることによりプランジャ18の剛性にはやはり不都合な影響がもたらされることがある。プランジャ18の材料を選択する際には次の点を考慮するのが望ましい。すなわち、プランジャはできるだけ小さな熱伝導率を有しているのがよく、これにより測定信号が温度の変動または温度自体による影響によって誤められることがなくなるのである。小さな熱伝導率は例えばガラスセラミックスが有している。プランジャ18の部分17のための材料は、例えば比較的軟質の金属、例えばAl、黄銅、Cuやプラスチック等が使用されてもよい。この軟らかい領域のための材料は小さい熱伝導率に合わせる必要はない。
チップ20は、孔12にプレス嵌めされた受け37に直接当接しているか、または支持体38を介してこの受けに結合されている。この支持体38は、シリコンチップ20と受け37との間に異なる膨張係数が作用するのを回避するようになっている。支持体の材料としてはシリコンまたはホウケイ酸ガラスが有利に適している。受け37内には孔12に対してほぼ軸平行に延びて貫通する複数の孔40が構成されている。これらの孔40内では、電気的に絶縁性のガラスコンパウンドによって取り囲まれた調整ピン31aと電気的な接続のためのピン47とが案内されている。ピン31a,47はボンディングワイヤ39を介してシリコンチップ20に接続されている。ピン47の導線48はマウスピース49に集められている。例えば湿リのような、環境からの有害な影響に対する保護のためには孔12がピンと電気的な回路とが存在する領域に封止用コンパウンド50を流し込まれていてもよい。
Claims (13)
- 特に自動車の内燃機関の燃焼室内の圧力を検出するための圧力センサであって、該圧力センサの、片側がダイヤフラム(14)によって閉鎖されたケーシング(10)内で単結晶のシリコンチップ(20)上に、ピエゾ抵抗形の材料より成る測定素子(19,21,35)と、付加的に、該測定素子を補完してブリッジ回路を形成する抵抗(22)と、増幅回路(24)とが配置されており、前記ダイヤフラム(14)と測定素子(19,21,35)との間にプランジャ(18)が配置されていて、該プランジャ(18)が測定素子(21)に、検出しようとする圧力を供給するようになっている形式のものにおいて、
シリコンチップ(20)上に付加的に、温度依存型の抵抗 (25)または半導体素子と、外部から圧力センサ特性曲線を電気的にバランスするための少なくとも1つの回路網とが設けられており、シリコンチップ(20)に付加的 に、回路網のそれぞれのグループの素子(27,28,51)の うちの1つを選択するためのデジタル式の選択ロジック (29)が配置されていることを特徴とする、内燃機関の燃焼室内の圧力を検出するための圧力センサ。 - 回路網によって、ゼロ点、感度、ゼロ点の温度特性、感度の温度特性がバランスされるようになっている、請求項1記載の圧力センサ。
- 回路網が多数のグループより成っていて、これらのグループが、少なくとも1つの抵抗(51,27)と、電流によってブレークダウン可能な少なくとも1つの半導体構造部(28)とを有している、請求項1記載の圧力センサ。
- 前記半導体構造部(28)がツェナーダイオードである、請求項3記載の圧力センサ。
- 単結晶の前記シリコンチップ(20)が前記ブリッジ回路(19)に電流または電圧を供給するための安定化回路(23)を有している、請求項1から4までのいずれか1項の記載の圧力センサ。
- 前記プランジャ(18)がホイートストン形のブリッジ回路のほぼ中央に当接している、請求項1から5までのいずれか1項記載の圧力センサ。
- プランジャが当接する前記範囲(34)が前記シリコンチップ(20)からエッチング加工されたダイヤフラムから成る、請求項1から6までのいずれか1項記載の圧力センサ。
- 前記測定素子(19,21,35)への圧力伝達のための中間素子(36)がブリッジ回路の中央に直接被着されている、請求項1から7までのいずれか1項記載の圧力センサ。
- 前記中間素子(36)が第2のシリコンチップから成っている、請求項8記載の圧力センサ。
- 前記プランジャ(18)の、前記チップ(20)に面した端部が比較的軟らかい材料から成っている、請求項1から9までのいずれか1項記載の圧力センサ。
- 前記中間素子(36)が直接ボンディング法または陽極ボンディング法によって前記シリコンチップ(20)と接続されている、請求項8から10までのいずれか1項記載の圧力センサ。
- 前記中間素子(36)がメサエッチング部(32)を有している、請求項8から11までのいずれか1項記載の圧力センサ。
- 前記プランジャ(18)がガラスセラミックスから成っている、請求項1から12までのいずれか1項記載の圧力センサ。
Applications Claiming Priority (3)
| Application Number | Priority Date | Filing Date | Title |
|---|---|---|---|
| DE4106102A DE4106102A1 (de) | 1991-02-27 | 1991-02-27 | Druckgeber zur druckerfassung im brennraum von brennkraftmaschinen |
| DE4106102.0 | 1991-02-27 | ||
| PCT/DE1992/000024 WO1992015851A1 (de) | 1991-02-27 | 1992-01-17 | Druckgeber zur druckerfassung im brennraum von brennkraftmaschinen |
Publications (2)
| Publication Number | Publication Date |
|---|---|
| JPH05507358A JPH05507358A (ja) | 1993-10-21 |
| JP3662018B2 true JP3662018B2 (ja) | 2005-06-22 |
Family
ID=6425977
Family Applications (1)
| Application Number | Title | Priority Date | Filing Date |
|---|---|---|---|
| JP50300292A Expired - Fee Related JP3662018B2 (ja) | 1991-02-27 | 1992-01-17 | 内燃機関の燃焼室内の圧力を検出するための圧力センサ |
Country Status (6)
| Country | Link |
|---|---|
| EP (1) | EP0526600B1 (ja) |
| JP (1) | JP3662018B2 (ja) |
| KR (1) | KR100210726B1 (ja) |
| DE (2) | DE4106102A1 (ja) |
| ES (1) | ES2060468T3 (ja) |
| WO (1) | WO1992015851A1 (ja) |
Cited By (1)
| Publication number | Priority date | Publication date | Assignee | Title |
|---|---|---|---|---|
| JP2018141672A (ja) * | 2017-02-27 | 2018-09-13 | 日立オートモティブシステムズ株式会社 | 圧力センサ |
Families Citing this family (16)
| Publication number | Priority date | Publication date | Assignee | Title |
|---|---|---|---|---|
| DE4137624A1 (de) * | 1991-11-15 | 1993-05-19 | Bosch Gmbh Robert | Silizium-chip zur verwendung in einem kraftsensor |
| JPH0719981A (ja) * | 1993-06-01 | 1995-01-20 | Nippondenso Co Ltd | 高温用圧力センサ |
| DE4320594A1 (de) * | 1993-06-22 | 1995-01-05 | Bosch Gmbh Robert | Drucksensor |
| US5583295A (en) * | 1994-03-14 | 1996-12-10 | Nippondenso Co., Ltd. | Pressure sensor having gauge resistors and temperature compensating resistors on the same surface |
| JP3317084B2 (ja) * | 1995-03-31 | 2002-08-19 | 株式会社豊田中央研究所 | 力検知素子およびその製造方法 |
| DE19538854C1 (de) * | 1995-10-19 | 1996-08-08 | Bosch Gmbh Robert | Druckgeber zur Druckerfassung im Brennraum von Brennkraftmaschinen |
| JP2001272287A (ja) * | 2000-03-27 | 2001-10-05 | Tadahiro Kato | 歪み検出センサ |
| DE10211992C2 (de) * | 2001-05-04 | 2003-11-27 | Trafag Ag Maennedorf | Drucksensor zur Druckerfassung in einem Motorbrennraum sowie Verfahren zu dessen Herstellung |
| DE10232721A1 (de) * | 2002-07-16 | 2004-02-12 | Siemens Ag | Druckgeber mit Drucksensor in mikromechanischer Bauweise |
| JP4206941B2 (ja) * | 2003-06-12 | 2009-01-14 | 株式会社デンソー | 燃焼圧センサ |
| DE102005043688B4 (de) * | 2005-09-14 | 2016-11-24 | Robert Bosch Gmbh | Vorrichtung zur Messung eines Drucks innerhalb eines Brennraums einer Brennkraftmaschine |
| DE102011112935B4 (de) * | 2011-09-13 | 2015-02-12 | Micronas Gmbh | Kraftsensor |
| JP2017032492A (ja) * | 2015-08-05 | 2017-02-09 | トヨタ自動車株式会社 | 内燃機関の制御装置 |
| CN108593184B (zh) * | 2018-05-08 | 2023-10-17 | 西安航天三沃机电设备有限责任公司 | 一种用于特种爆破压力测量的爆破压力传感器 |
| JP7515528B2 (ja) * | 2021-03-22 | 2024-07-12 | キストラー ホールディング アクチエンゲゼルシャフト | 圧電トランスデューサ |
| CN116380330B (zh) * | 2023-05-31 | 2023-10-24 | 成都凯天电子股份有限公司 | 一种用于高温的无液体压阻式碳化硅压力传感器 |
Family Cites Families (5)
| Publication number | Priority date | Publication date | Assignee | Title |
|---|---|---|---|---|
| GB2144857A (en) * | 1983-08-12 | 1985-03-13 | Prutec Ltd | Piezo resistive transducer |
| GB8615305D0 (en) * | 1986-06-23 | 1986-07-30 | Stc Plc | Pressure sensor |
| FR2626670A1 (fr) * | 1987-06-17 | 1989-08-04 | Gazzano Maurice | Capteur de pressions et de deformations |
| GB2207804B (en) * | 1987-08-06 | 1990-08-15 | Stc Plc | Pressure sensor and manufacturing process therefor |
| US4993266A (en) * | 1988-07-26 | 1991-02-19 | Kabushiki Kaisha Toyota Chuo Kenkyusho | Semiconductor pressure transducer |
-
1991
- 1991-02-27 DE DE4106102A patent/DE4106102A1/de not_active Withdrawn
-
1992
- 1992-01-17 DE DE59200321T patent/DE59200321D1/de not_active Expired - Fee Related
- 1992-01-17 EP EP92903011A patent/EP0526600B1/de not_active Expired - Lifetime
- 1992-01-17 ES ES92903011T patent/ES2060468T3/es not_active Expired - Lifetime
- 1992-01-17 WO PCT/DE1992/000024 patent/WO1992015851A1/de not_active Ceased
- 1992-01-17 KR KR1019920702603A patent/KR100210726B1/ko not_active Expired - Fee Related
- 1992-01-17 JP JP50300292A patent/JP3662018B2/ja not_active Expired - Fee Related
Cited By (1)
| Publication number | Priority date | Publication date | Assignee | Title |
|---|---|---|---|---|
| JP2018141672A (ja) * | 2017-02-27 | 2018-09-13 | 日立オートモティブシステムズ株式会社 | 圧力センサ |
Also Published As
| Publication number | Publication date |
|---|---|
| JPH05507358A (ja) | 1993-10-21 |
| ES2060468T3 (es) | 1994-11-16 |
| EP0526600A1 (de) | 1993-02-10 |
| DE4106102A1 (de) | 1992-09-03 |
| DE59200321D1 (de) | 1994-09-01 |
| WO1992015851A1 (de) | 1992-09-17 |
| EP0526600B1 (de) | 1994-07-27 |
| KR100210726B1 (ko) | 1999-07-15 |
| KR937000833A (ko) | 1993-03-16 |
Similar Documents
| Publication | Publication Date | Title |
|---|---|---|
| JP3662018B2 (ja) | 内燃機関の燃焼室内の圧力を検出するための圧力センサ | |
| US7219554B2 (en) | Semiconductor pressure sensor | |
| US4500864A (en) | Pressure sensor | |
| KR840002283B1 (ko) | 실리콘 압력 변환기 | |
| KR100741520B1 (ko) | 다이어프램을 갖는 반도체 압력 센서 | |
| KR0176983B1 (ko) | 내연기관의 연소실 내의 압력 탐지용 압력 센서 | |
| US9689766B2 (en) | Pressure sensor with cover layer | |
| US3654579A (en) | Electromechanical transducers and housings | |
| JPS5855732A (ja) | 静電容量型圧力センサ | |
| US6655216B1 (en) | Load transducer-type metal diaphragm pressure sensor | |
| JPH07103837A (ja) | 物理量検出センサ | |
| KR0184012B1 (ko) | 내연기관의 연소실내의 압력 탐지용 압력센서 | |
| EP0266681B1 (en) | Method of adjusting bridge circuit of semiconductor pressure sensor | |
| US5315875A (en) | Pressure sensor for detecting the pressure in the combustion chamber of internal-combustion engines | |
| JP2021518546A (ja) | 熱絶縁を備えた温度検出プローブ | |
| US5191798A (en) | Pressure sensor | |
| JPH11153503A (ja) | 圧力センサ装置 | |
| US5606117A (en) | Pressure sensor for measuring pressure in an internal combustion engine | |
| JPH0972805A (ja) | 半導体センサ | |
| US3900811A (en) | Economical pressure transducer assemblies, methods of fabricating and mounting the same | |
| EP4194832B1 (en) | Pressure sensor with trim resistors | |
| KR100347642B1 (ko) | 내연기관의연소실내의압력을검출하기위한압력변환기 | |
| JPH02196938A (ja) | 圧力センサ | |
| JPH01236659A (ja) | 半導体圧力センサ | |
| JPH08136384A (ja) | 燃焼圧センサ |
Legal Events
| Date | Code | Title | Description |
|---|---|---|---|
| A521 | Request for written amendment filed |
Free format text: JAPANESE INTERMEDIATE CODE: A523 Effective date: 20041105 |
|
| A61 | First payment of annual fees (during grant procedure) |
Free format text: JAPANESE INTERMEDIATE CODE: A61 Effective date: 20050322 |
|
| R150 | Certificate of patent or registration of utility model |
Free format text: JAPANESE INTERMEDIATE CODE: R150 |
|
| LAPS | Cancellation because of no payment of annual fees |