JP3607086B2 - リクライニングシート - Google Patents
リクライニングシート Download PDFInfo
- Publication number
- JP3607086B2 JP3607086B2 JP23396998A JP23396998A JP3607086B2 JP 3607086 B2 JP3607086 B2 JP 3607086B2 JP 23396998 A JP23396998 A JP 23396998A JP 23396998 A JP23396998 A JP 23396998A JP 3607086 B2 JP3607086 B2 JP 3607086B2
- Authority
- JP
- Japan
- Prior art keywords
- seat back
- seat
- rotating wheel
- wheel
- rotating
- Prior art date
- Legal status (The legal status is an assumption and is not a legal conclusion. Google has not performed a legal analysis and makes no representation as to the accuracy of the status listed.)
- Expired - Fee Related
Links
- 238000005096 rolling process Methods 0.000 claims description 30
- 230000007935 neutral effect Effects 0.000 claims description 13
- 230000002093 peripheral effect Effects 0.000 claims description 8
- 230000002159 abnormal effect Effects 0.000 description 4
- 210000000078 claw Anatomy 0.000 description 2
- 238000013459 approach Methods 0.000 description 1
- 230000037396 body weight Effects 0.000 description 1
- 230000000694 effects Effects 0.000 description 1
- 230000005489 elastic deformation Effects 0.000 description 1
- 229920002545 silicone oil Polymers 0.000 description 1
Images
Landscapes
- Seats For Vehicles (AREA)
- Chairs For Special Purposes, Such As Reclining Chairs (AREA)
Description
【発明の属する技術分野】
この発明は、自動車等の車輌用のリクライニングシートに関するものである。
【0002】
【従来の技術】
シートクッションの後部にシートバッグを起伏自在に連結し、その連結部にシートバッグを起立方向に付勢する渦巻きばねと、シートバックを起伏させた調整位置でロックするロック機構を設けた自動車用のマニュアル式のリクライニングシートにおいては、ロック機構として、普通、シートバックに取付けられたセクタギヤに操作レバーの端部に設けた爪を係合および係合解除させるようにしたラチェット機構から成るものが用いられている。
【0003】
【発明が解決しようとする課題】
ところで、ロック機構がラチェット機構から成るリクライニングシートにおいては、セクタギヤの歯に爪を係合させるため、シートバックの傾き角度は段階的になり、シートバックを任意の角度でロックすることができず、疲労の少ない適切な姿勢をとることができないという不都合がある。
【0004】
また、シートバックを角度調整する際に、爪がセクタギヤに対して不完全に噛み合い解除される場合があり、このとき、爪がセクタギヤの歯に段階的に当接するため、異音が発生するという不都合がある。
【0005】
この発明の課題は、シートバックを任意の角度に傾き調整することができると共に、異音を発生させることなく円滑に傾き調整することができるリクライニングシートを提供することである。
【0006】
【課題を解決するための手段】
上記の課題を解決するために、この発明においては、シートクッションに対してシートバックを起伏自在に連結し、上記シートバックが起立する方向に、そのシートバックに弾性部材の弾力を付与したリクライニングシートにおいて、前記シートバックの起伏中心軸上にクラッチを設け、そのクラッチが、シートクッション側に取付けられた固定輪と、シートバック側に取付けられた回転輪と、上記固定輪に対する回転輪の回転を摩擦接触でロックするロック手段と、上記ロック手段のロックを解除するロック解除手段と、このロック解除手段を操作する操作手段とから成る構成を採用している。
【0007】
ここで、固定輪は回転輪より大径のものであってもよく、あるいは小径のものであってもよい。
【0008】
上記のように構成すると、操作手段によりロック解除手段を操作して、ロック手段のロックを解除した場合、弾性部材の弾力によってシートバックが起立し、また、シートバックに上半身の体重をあずけるとシートバックが後方に倒れ、シートバックの傾きを任意に調整することができる。そして、その傾き調整後において、操作手段の操作を解除し、シートバックに体重をあずけると、ロック機構が作動し、シートバックは傾き調整位置においてロックされる。
【0009】
ここで、クラッチを、シートクッションとシートバックの連結部の両側に設けると、シートバックに負荷される荷重に片寄りが生じても、シートバックに捩れが生じるのを防止することができる。
【0010】
上記の構成から成るリクライニングシートにおいて、ロック手段として、前記固定輪の前記回転輪と対向する周面に、周方向の中央部が深く、周方向両端に至るに従って次第に浅くなるカム溝を形成し、前記回転輪には前記固定輪に対向して円筒面を設け、上記カム溝内に転動体を組込み、その転動体がカム溝の周方向中央に配置される中立位置において、上記転動体と円筒面間に微小の半径方向すきまを形成し、上記固定輪と回転輪との間に上記転動体を保持する保持器を組込み、その保持器と回転輪との間に、回転輪の回転を保持器に伝えるフリクション機構を設けた構成から成るものを採用することができる。
【0011】
上記のようなロック手段においては、固定輪に対して回転輪が相対回転しようとすると、転動体がカム溝の底面と円筒面に摩擦接触し、その接触によって回転輪の正逆両方向の回転が阻止される。
【0012】
また、ロック手段として、固定輪と回転輪の内外で対向する周面の小径側周面に円弧状の切欠部を形成し、その切欠部を中心にして周方向に揺動自在に支持され、揺動時に大径側周面に摩擦接触するスプラグの中央部を固定輪と回転輪間に組込まれた保持器で支持し、その保持器と回転輪との間に、回転輪の回転を保持器に伝えるフリクション機構を設けた構成から成るものを採用することができる。
【0013】
上記ロック手段においては、シートバックに固定された回転輪が固定輪に対して相対回転しようとすると、回転輪につれ回りする保持器によりスプラグが周方向に傾動されて円筒面に摩擦係合するため、回転輪がロックされ、シートバックは傾き調整位置で保持される。
【0014】
上記のようなロック手段のロックを解除するロック解除手段として、前記保持器と前記固定輪の対向面における一方に位置決め凹部を形成し、他方には上記位置決め凹部に回転方向すきまをもって嵌合すると共に、その回転方向すきまが無くなる係合状態において転動体がカム溝の中立位置に配置されるよう前記保持器を固定輪に対して位置決めする位置決め突部を設けた構成から成るものを採用することができる。
【0015】
また、操作手段として、レバーを有する操作部材を前記保持器と同軸上に対向配置して回転自在に支持し、その操作部材と保持器との間に、操作部材の回転により保持器を押圧して位置決め凹部に位置決め突部を係合させるカム手段を設けた構成から成るものを採用することができる。
【0016】
上記のようなロック解除手段および操作手段において、レバーの操作により、操作部材を回転して保持器を押圧すると、位置決め凹部に位置決め突部が係合する。その係合によって保持器は位置決めされ、転動体およびスプラグは円筒面との間に半径方向すきまが形成される中立位置に保持されるので、回転輪は正逆両方向に回転し得る状態となり、シートバックを傾き調整することができる。
【0017】
【発明の実施の形態】
以下、この発明の実施の形態を図面に基づいて説明する。
【0018】
図1に示すように、リクライニングシートは、シートクッション1と、そのシートクッション1の後端部から起立するシートバック2とを有する。
【0019】
図2に示すように、シートクッション1はフレーム1aを有し、そのフレーム1aの両側後端部にブラケット1bが取付けられている。一方、シートバック2もフレーム2aを有し、そのフレーム2aの両側下端部にブラケット2bが設けられている。
【0020】
シートクッション1におけるブラケット1bのそれぞれには連結軸3が取付けられ、一方の連結軸3にシートバック2の一方のブラケット2bが回動自在に連結されている。
【0021】
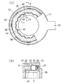
他方の連結軸3上にはクラッチ10が設けられている。図3乃至図6に示すように、クラッチ10は、固定輪11と、その外側に設けられた回転輪12とを有する。固定輪11は、シートクッション1のブラケット1bに固定されている。この固定輪11の外周の端部には小径の軸受面13が形成されている。
【0022】
回転輪12は一端に内向のフランジ12aが設けられ、そのフランジ12aが前記軸受面13によって回転自在に支持されている。
【0023】
また、回転輪12の外周には連結片12bが形成され、その連結片12bがシートバック2のブラケット2bに連結されている。このため、シートバック2は固定輪11を中心として回転自在の支持とされ、その固定輪11と同軸上に設けられた連結軸3を中心に起伏し得るようになっている。
【0024】
回転輪12はロック機構20によりロックされて正逆方向に回転するのが防止される。
【0025】
ロック機構20は、固定輪11の外周に複数のカム溝21を形成し、一方、回転輪12の内周には円筒面22を設け、上記カム溝21内に組込まれたローラから成る転動体23を上記カム溝21の底面21aおよび円筒面22に摩擦接触させて回転輪12をロックするようにしている。
【0026】
ここで、カム溝21は、周方向の中央部が深く、周方向両端に至るに従って次第に浅くなるV字形とされている。このカム溝21の底面21aは、図7(I)に示すように、相反する方向に傾斜する二つの傾斜面から成るものであってもよく、あるいは図7(II)に示すように円弧状のものであってもよい。
【0027】
図8(IIb)に示すように、転動体23は、カム溝21の周方向中央部に配置される中立位置において円筒面22との間に微小な半径方向すきまδ1 が形成される外径とされ、周方向に微妙に移動すると、図8(III b)および図8(IVb)に示すように、円筒面22とカム溝21の底面21aに摩擦接触するようになっている。
【0028】
図4および図5に示すように、転動体23は、固定輪11と回転輪12との間に組込まれた保持器24によって保持される。保持器24には上記転動体23を収容するポケット25が形成されている。このポケット25は、転動体23との間に微小なラジアル方向すきまが形成される幅、又は負のラジアル方向すきまが形成される幅とされている。
【0029】
上記保持器24は、固定輪11の外径で案内され、その一側にはフランジ26が設けられている。保持器24は、フランジ26が固定輪11と接近する方向への移動時、回転輪12の内部に組込まれた弾性部材27を弾性変形させるようになっており、弾性部材27は形状復元する弾性力によって保持器24を元の位置に戻すようになっている。
【0030】
保持器24と回転輪12との間には、図5および図6に示すように、回転輪12の回転を保持器24に伝えるフリクション機構30が設けられている。フリクション機構30は、保持器24の他端に環状板31を固定し、その環状板31の外周に複数の弾性片32を形成し、各弾性片32の先端に設けた接触片33を回転輪12の円筒面22に弾性接触させるようにしている。
【0031】
上記の構成から成るロック機構20は、ロック解除機構40によってロック解除され、上記ロック解除機構40は操作機構50によって操作されるようになっている。
【0032】
ロック解除機構40は、図5および図8(I)に示すように、固定輪11の開口端にV形の位置決め凹部41を形成し、一方、保持器24のフランジ26には上記位置決め凹部41に嵌合する位置決め突部42を設け、その位置決め突部42を保持器24の軸方向への移動により、図8(IIa)に示すように、位置決め凹部41に係合して固定輪11に対して保持器24を位置決めするようにしており、その位置決めによって転動体23は、図8(IIb)に示すように、カム溝21の周方向中央に位置する中立位置に配置されるようになっている。
【0033】
操作機構50は、図5および図6に示すように、連結軸3の先端部に円板状の操作部材51を回転自在に取付け、その操作部材51の外周にレバー52を設け、上記レバー52の操作による操作部材51の回転時に、その操作部材51の一側に設けたカム面53により保持器24のフランジ26表面に設けた突出部54を押圧して、保持器24を軸方向に移動させるようにしている。
【0034】
ここで、レバー52は、図1に示すように、クラッチ10を覆うクラッチカバー14の長孔15に挿通され、その長孔15に沿って移動自在とされている。また、レバー52は、図3に示すように、引張りコイルばねから成る弾性部材55により復帰回動されるようになっている。
【0035】
図5に示すように、固定輪11の内部には渦巻ばね60が組込まれている。渦巻ばね60の内端は連結軸3に連結されている。また、渦巻ばね60の外端は、突軸61にかかり、その突軸61の端部に設けられた取付片62が回転輪12の連結片12bに固定され、上記渦巻ばね60によってシートバック2は起立する方向に弾性力が付与されている。
【0036】
ここで、突軸61は、操作部材51に形成された円弧状の長孔63に挿通されて操作部材51の回転を阻害することのないようにされている。
【0037】
回転輪12とシートクッション2におけるブラケット2b間には、その回転輪12に摩擦抵抗を付与する摩擦抵抗付与機構70が設けられている。
【0038】
摩擦抵抗付与機構70は、回転輪12のフランジ12aに環状溝71を設け、その環状溝71に取付けた弾性リング72をブラケット1bに弾性接触させて回転輪12に摩擦抵抗を付与しており、上記摩擦抵抗によって回転輪12の回転方向のがたつきが吸収されるようになっている。
【0039】
実施の形態で示すリクライニングシートは上記の構造から成り、図1は、レバー52が弾性部材55により引き下げられて中立位置にある状態を示す。このとき、図8(I)に示すように、ロック解除機構40の位置決め突部42と位置決め凹部41間に回転方向すきまδ2 が形成され、その回転方向すきまδ2 内において保持器24は固定輪11に対して回動し得るようになっている。
【0040】
また、渦巻きばね60の弾性力によりシートバック2は起立する方向への回転力が付与されている。その回転力によって、図8(IVb)に示すように、ロック機構20の転動体23はカム溝21の底面21aと円筒面22に摩擦接触し、その接触によってシートバック2は起立方向に回転せず、ロックされている。
【0041】
上記のような状態において、シートバック2に上半身の体重をあずけると、回転輪12に図4の矢印で示す方向の回転力が付与される。また、回転輪12と保持器24との間にはフリクション機構30が設けられているため、保持器24にも同方向の回転力が付与される。
【0042】
このとき、図8(IVb)に示すように、カム溝21と転動体23との間には微小の回転方向の遊びがあるため、その遊びの範囲内においてシートバック2が倒れると共に、転動体23は図8(III b)に示すように、カム溝21の底面21aおよび回転輪12の円筒面22に直ちに摩擦接触してシートバック2をロックする。
【0043】
ここで、シートバック2がカム溝21と転動体23間の遊びの範囲内で後方に倒れるとき、回転輪12は図5に示す弾性リング72と接触する状態で回転するため、上記シートバック2の回転方向のがたつきは上記弾性リング72で吸収されることになり、ドライバに回転方向のがたつきを感じさせることがない。
【0044】
なお、弾性リング72と回転輪12の接触部に105 cSt以上のシリコン油を塗布することにより、回転輪12の動きがスムーズになり、シートバック2の回転方向のがたつきをより効果的に吸収することができる。
【0045】
シートバック2の傾き調整に際しては、図1に示すレバー52を引き上げる。そのレバー52の引き上げによって、操作部材51に形成されたカム面53が保持器24の突出部54を押圧するため、保持器24が軸方向に移動し、図8(IIa)に示すように、位置決め突部42が位置決め凹部41に係合する。その係合によって保持器24は固定輪11に位置決めされ、図8(IIb)に示すように、転動体23はカム溝21の周方向中央に位置する中立位置に保持され、ロック機構20がロック解除される。
【0046】
そのロック解除状態において、転動体23と円筒面22との間には半径方向すきまδ1 が形成され、シートバック2は起立する方向および倒れる方向のいずれにも傾動し得ることになり、そのシートバック2に体重をあずけることによってシートバック2は後方に倒される。また、シートバック2から上半身を離すことにより、渦巻ばね60のばね力によってシートバック2は起こされることになり、シートバック2の傾きを任意に調整することができる。
【0047】
シートバック2の傾き調整後、レバー52を弾性部材55の弾力によって中立位置に戻すと、回転輪12の内部に組込まれた弾性部材27の弾力により保持器24は操作部材51の方向に戻され、図8(I)に示すように、ロック解除機構40の位置決め突部42が位置決め凹部41から離れると共に、ロック機構20の転動体23は図8(III b)又は図8(IVb)に示すように、カム溝21の底面21aおよび円筒面22のそれぞれに摩擦接触し、シートバック2は傾き調整位置でロックされる。
【0048】
このように、シートバック2を任意の傾き調整位置でロックすることができるため、疲労の少ない適切な姿勢を確保することができると共に、ハンドルの操作性や安全性の向上を図ることができる。
【0049】
また、ロック機構が摩擦接触によるものであるため、シートバックの傾き調整時に、異音を発生することがなく、不快感を与えることもない。
【0050】
図9は、前記クラッチの他の例を示す。この例では、保持器24を弾性変形可能な材料で形成し、その保持器24の内径面と固定輪11の外径面間にロック解除機構40を設けている。
【0051】
ロック解除機構40は、固定輪11の外径面に位置決め凹部43を形成し、保持器24の内径面に位置決め突部44を設けた構成としている。
【0052】
また、操作部材51の外径部に保持器24の端部に嵌合する円筒部57を設け、その円筒部57の内径面に操作カム面58を形成し、一方、保持器24の外径面には上記操作カム面58によって半径方向に押圧される突出部59を設けている。
【0053】
他の構成は、先に述べたクラッチ10と同一であるため、同一部品には同一の符号を付して説明を省略する。
【0054】
上記のクラッチ10においては、レバー52の引き上げによる円筒部57の回転時に、上記操作カム面58によって保持器24の外径面に設けた突出部59を押圧し、保持器24の内径方向への弾性変形により、図10(II)に示すように、位置決め突部44を位置決め凹部43に係合させて保持器24を位置決めし、転動体23をカム溝21の中立位置に保持するようにしている。
【0055】
図11は、クラッチ10のさらに他の例を示す。この例は、図5に示すクラッチ10の転動体23およびカム溝21を省略し、その代わりにスプラグ80を設けるようにしている。スプラグ80は略T字形の側面形状をなし、その基端部が固定輪11の外径面に設けた円弧状の切欠部81に嵌合して揺動自在に支持されている。
【0056】
また、保持器24には上記スプラグ80の脚片部を支持するポケット82が形成されている。
【0057】
他の構成は、図5に示すクラッチ10と同一であるため、同一部品に同一の符号を付して説明を省略する。
【0058】
上記クラッチは、回転輪12の回転時につれ回りする保持器24の回転によって、図11(III )又は(IV)に示すように、切欠部81を中心にスプラグ80を傾動させてそのスプラグ80を回転輪12の円筒面22に摩擦接触させ、その摩擦接触によって回転輪12をロックするようにしている。
【0059】
図12および図13は、この発明の他の実施形態を示す。この実施形態においては、シートクッション1とシートバック2の連結部の両側にクラッチ10を内装するクラッチカバー14を設けている。
【0060】
図13に示すように、クラッチ10を支持する連結軸3は筒状とされ、その連結軸3内に挿通した連動軸90の一端を一方のクラッチ10における操作部材51に連結し、他端を他方のクラッチ10における操作部材51に連結して、一対のクラッチ10を連動し、その一方のクラッチ10における操作部材51にのみレバー52を設けている。
【0061】
クラッチ10の他の構成は図5に示すクラッチ10と同一であるため、同一部品に同一符号を付して説明を省略する。
【0062】
上記のように、一対のクラッチ10をシートクッション1とシートバック2の連結部の両側に設けてその両クラッチ10を連動させることにより、シートバック2の支持の安定性が増し、そのシートバック2に大きな負荷が付与されても、その負荷を充分に受ける事ができると共に、シートバック2にねじれが生じるのを防止することができる。
【0063】
【発明の効果】
以上のように、この発明においては、シートバックを任意の傾き調整位置においてロックすることができるので、疲労の少ない適切な姿勢を確保することができると共に、ハンドルの操作性や安全性の向上を図ることができる。
【0064】
また、シートバックをロックするロック機構が摩擦接触によるため、シートバックの傾き調整時に異音を発生するという不都合の発生はなく、ドライバに不快感を与えることがない。
【図面の簡単な説明】
【図1】この発明に係るリクライニングシートの実施の形態を示す斜視図
【図2】同上のフレームの連結部を示す斜視図
【図3】同上のクラッチの正面図
【図4】同上のクラッチの縦断正面図
【図5】図3のV−V線に沿った断面図
【図6】同上の固定輪、保持器および操作部材を示す分解斜視図
【図7】(I)、(II)はロック機構におけるカム溝の例を示す断面図
【図8】(I)は同上クラッチのロック解除機構の断面図、(II)乃至(IV)は、ロック解除機構とロック機構の関係を示す図
【図9】(I)は同上クラッチの他の例を示す一部切欠正面図、(II)は(I)のa−a線に沿った断面図
【図10】(I)、(II)は同上クラッチのロック機構とロック解除機構の関係を示す断面図
【図11】(I)は同上クラッチのさらに他の例を示す一部切欠正面図、(II)乃至(IV)は作動状態を示す図
【図12】この発明に係るリクライニングシートの他の実施の形態を示す斜視図
【図13】同上のクラッチの連動関係を示す断面図
【符号の説明】
1 シートクッション
2 シートバック
10 クラッチ
11 固定輪
12 回転輪
20 ロック機構
21 カム溝
22 円筒面
23 転動体
δ1 半径方向すきま
24 保持器
26 フランジ
40 ロック解除機構
41 位置決め凹部
42 位置決め突部
δ2 回転方向すきま
43 位置決め凹部
44 位置決め突部
50 操作機構
51 操作部材
52 レバー
53 カム面
58 操作カム面
60 渦巻ばね
80 スプラグ
81 切欠部
Claims (7)
- シートクッションに対してシートバックを起伏自在に連結し、上記シートバックが起立する方向に、そのシートバックに弾性部材の弾力を付与したリクライニングシートにおいて、前記シートバックの起伏中心軸上にクラッチを設け、そのクラッチが、シートクッション側に取付けられた固定輪と、シートバック側に取付けられた回転輪と、上記固定輪に対する回転輪の回転を摩擦接触でロックするロック手段と、上記ロック手段のロックを解除するロック解除手段と、このロック解除手段をレバーにより操作する操作手段と、前記レバーを中立位置に復帰回動させる弾性部材とから成り、前記ロック手段が、前記固定輪の前記回転輪と対向する周面に、周方向の中央部が深く、周方向両端に至るに従って次第に浅くなるカム溝を形成し、前記回転輪には前記固定輪に対向して円筒面を設け、上記カム溝内に転動体を組込み、その転動体がカム溝の周方向中央に配置される中立位置において、上記転動体と円筒面間に微小の半径方向すきまを形成し、上記固定輪と回転輪との間に上記転動体を保持する保持器を組込み、その保持器と回転輪との間に、回転輪の回転を保持器に伝えるフリクション機構を設けた構成から成ることを特徴とするリクライニングシート。
- シートクッションに対してシートバックを起伏自在に連結し、上記シートバックが起立する方向に、そのシートバックに弾性部材の弾力を付与したリクライニングシートにおいて、前記シートバックの起伏中心軸上にクラッチを設け、そのクラッチが、シートクッション側に取付けられた固定輪と、シートバック側に取付けられた回転輪が、シートクッション側に取付けられた固定輪と、シートバック側に取付けられた回転輪と、上記固定輪に対する回転輪の回転を摩擦接触でロックするロック手段と、上記ロック手段のロックを解除するロック解除手段と、このロック解除手段をレバーにより操作する操作手段と、前記レバーを中立位置に復帰回動させる弾性部材とから成り、前記ロック手段が、固定輪と回転輪の内外で対向する周面の小径側周面に円弧状の切欠部を形成し、その切欠部を中心にして周方向に揺動自在に支持され、揺動時に大径側周面に摩擦接触するスプラグの中央部を固定輪と回転輪間に組込まれた保持器で支持し、その保持器と回転輪との間に、回転輪の回転を保持器に伝えるフリクション機構を設けた構成から成ることを特徴とするリクライニングシート。
- 前記ロック解除手段が、前記保持器と前記固定輪の対向面における一方に位置決め凹部を形成し、他方には上記位置決め凹部に回転方向すきまをもって嵌合すると共に、その回転方向すきまが無くなる係合状態において転動体がカム溝の中立位置に配置されるよう前記保持器を固定輪に対して位置決めする位置決め突部を設けた構成から成る請求項1又は2に記載のリクライニングシート。
- 前記保持器に前記固定輪と軸方向で対向するフランジを設け、このフランジと固定輪の対向面一方に位置決め凹部を形成し、他方に位置決め突部を設けた請求項3に記載のリクライニングシート。
- 前記保持器を弾性変形可能の材料で形成し、その保持器と固定輪の対向する周面の一方に位置決め凹部を設け、他方に位置決め突部を形成した請求項3に記載のリクライニングシート。
- 前記操作手段が、レバーを有する操作部材を前記保持器と同軸上に対向配置して回転自在に支持し、その操作部材と保持器との間に、操作部材の回転により保持器を押圧して位置決め凹部に位置決め突部を係合させるカム手段を設けた構成から成る請求項1乃至5のいずれかに記載のリクライニングシート。
- 前記クラッチをシートクッションとシートバックの連結部の両側に設け、その両クラッチを連動させたことを特徴とする請求項1乃至6のいずれかに記載のリクライニングシート。
Priority Applications (3)
| Application Number | Priority Date | Filing Date | Title |
|---|---|---|---|
| JP23396998A JP3607086B2 (ja) | 1998-08-20 | 1998-08-20 | リクライニングシート |
| DE19939115A DE19939115A1 (de) | 1998-08-20 | 1999-08-18 | Sitz mit verstellbarer Lehne für ein Fahrzeug |
| US09/377,173 US6267443B1 (en) | 1998-08-20 | 1999-08-19 | Reclining seat for vehicle |
Applications Claiming Priority (1)
| Application Number | Priority Date | Filing Date | Title |
|---|---|---|---|
| JP23396998A JP3607086B2 (ja) | 1998-08-20 | 1998-08-20 | リクライニングシート |
Publications (2)
| Publication Number | Publication Date |
|---|---|
| JP2000060669A JP2000060669A (ja) | 2000-02-29 |
| JP3607086B2 true JP3607086B2 (ja) | 2005-01-05 |
Family
ID=16963485
Family Applications (1)
| Application Number | Title | Priority Date | Filing Date |
|---|---|---|---|
| JP23396998A Expired - Fee Related JP3607086B2 (ja) | 1998-08-20 | 1998-08-20 | リクライニングシート |
Country Status (1)
| Country | Link |
|---|---|
| JP (1) | JP3607086B2 (ja) |
Families Citing this family (1)
| Publication number | Priority date | Publication date | Assignee | Title |
|---|---|---|---|---|
| CN114734598B (zh) * | 2022-04-19 | 2023-12-22 | 合肥汇凌汽车零部件有限公司 | 一种能快速组装的汽车零部件模具 |
-
1998
- 1998-08-20 JP JP23396998A patent/JP3607086B2/ja not_active Expired - Fee Related
Also Published As
| Publication number | Publication date |
|---|---|
| JP2000060669A (ja) | 2000-02-29 |
Similar Documents
| Publication | Publication Date | Title |
|---|---|---|
| EP1562784B1 (en) | Two way locking rotary drive clutch assembly | |
| JP4058115B2 (ja) | シートアジャスタ | |
| US8262165B2 (en) | Connection devices | |
| US6267443B1 (en) | Reclining seat for vehicle | |
| JP2004520093A (ja) | リクライニング機構 | |
| CA2500826A1 (en) | Constantly engaged rotary recliner mechanism | |
| JP2004092718A (ja) | シート高さ調整クラッチ | |
| US6488338B1 (en) | Reclining mechanism for an automotive seat | |
| US6616241B1 (en) | Rotation limiting device and seat recliner device using the same | |
| JP3607087B2 (ja) | リクライニングシート | |
| JP3607086B2 (ja) | リクライニングシート | |
| JP3607085B2 (ja) | リクライニングシート | |
| JP3865911B2 (ja) | シート背もたれ傾き調整装置 | |
| JP3673444B2 (ja) | メモリ機構付きチルトテレスコステアリング装置 | |
| JP4208363B2 (ja) | 二方向テーパクラッチおよびリクライニングシート | |
| JP3794885B2 (ja) | 二方向テーパクラッチおよびリクライニングシート | |
| JP2000104754A (ja) | 2方向空転・ロック切替えクラッチ | |
| JPS6365325B2 (ja) | ||
| JP3796077B2 (ja) | 二方向クラッチおよびリクライニングシート | |
| US6230863B1 (en) | Actuator arrangement | |
| JPH10323257A (ja) | シート用クラッチ装置およびシート背もたれ傾き調整装置 | |
| JP3913457B2 (ja) | シート装置 | |
| JPH0117006B2 (ja) | ||
| JP4060408B2 (ja) | 車両用シートの無段階アジャスタ | |
| JP3098617B2 (ja) | 無段階調整式操作装置 |
Legal Events
| Date | Code | Title | Description |
|---|---|---|---|
| A977 | Report on retrieval |
Free format text: JAPANESE INTERMEDIATE CODE: A971007 Effective date: 20040105 |
|
| A131 | Notification of reasons for refusal |
Free format text: JAPANESE INTERMEDIATE CODE: A131 Effective date: 20040113 |
|
| A521 | Written amendment |
Free format text: JAPANESE INTERMEDIATE CODE: A523 Effective date: 20040312 |
|
| A131 | Notification of reasons for refusal |
Free format text: JAPANESE INTERMEDIATE CODE: A131 Effective date: 20040518 |
|
| A521 | Written amendment |
Free format text: JAPANESE INTERMEDIATE CODE: A523 Effective date: 20040625 |
|
| TRDD | Decision of grant or rejection written | ||
| A01 | Written decision to grant a patent or to grant a registration (utility model) |
Free format text: JAPANESE INTERMEDIATE CODE: A01 Effective date: 20040907 |
|
| A61 | First payment of annual fees (during grant procedure) |
Free format text: JAPANESE INTERMEDIATE CODE: A61 Effective date: 20041006 |
|
| R150 | Certificate of patent or registration of utility model |
Free format text: JAPANESE INTERMEDIATE CODE: R150 |
|
| FPAY | Renewal fee payment (event date is renewal date of database) |
Free format text: PAYMENT UNTIL: 20071015 Year of fee payment: 3 |
|
| FPAY | Renewal fee payment (event date is renewal date of database) |
Free format text: PAYMENT UNTIL: 20081015 Year of fee payment: 4 |
|
| FPAY | Renewal fee payment (event date is renewal date of database) |
Free format text: PAYMENT UNTIL: 20091015 Year of fee payment: 5 |
|
| FPAY | Renewal fee payment (event date is renewal date of database) |
Free format text: PAYMENT UNTIL: 20101015 Year of fee payment: 6 |
|
| FPAY | Renewal fee payment (event date is renewal date of database) |
Free format text: PAYMENT UNTIL: 20111015 Year of fee payment: 7 |
|
| FPAY | Renewal fee payment (event date is renewal date of database) |
Free format text: PAYMENT UNTIL: 20121015 Year of fee payment: 8 |
|
| FPAY | Renewal fee payment (event date is renewal date of database) |
Free format text: PAYMENT UNTIL: 20121015 Year of fee payment: 8 |
|
| FPAY | Renewal fee payment (event date is renewal date of database) |
Free format text: PAYMENT UNTIL: 20131015 Year of fee payment: 9 |
|
| LAPS | Cancellation because of no payment of annual fees |