JP3584979B2 - 集合住宅 - Google Patents

集合住宅 Download PDF

Info

Publication number
JP3584979B2
JP3584979B2 JP2001277201A JP2001277201A JP3584979B2 JP 3584979 B2 JP3584979 B2 JP 3584979B2 JP 2001277201 A JP2001277201 A JP 2001277201A JP 2001277201 A JP2001277201 A JP 2001277201A JP 3584979 B2 JP3584979 B2 JP 3584979B2
Authority
JP
Japan
Prior art keywords
corner
building
pipe
pipe shaft
slab
Prior art date
Legal status (The legal status is an assumption and is not a legal conclusion. Google has not performed a legal analysis and makes no representation as to the accuracy of the status listed.)
Expired - Fee Related
Application number
JP2001277201A
Other languages
English (en)
Other versions
JP2003082868A (ja
Inventor
武 葛貫
邦夫 渡辺
Current Assignee (The listed assignees may be inaccurate. Google has not performed a legal analysis and makes no representation or warranty as to the accuracy of the list.)
Sumitomo Mitsui Construction Co Ltd
Original Assignee
Sumitomo Mitsui Construction Co Ltd
Priority date (The priority date is an assumption and is not a legal conclusion. Google has not performed a legal analysis and makes no representation as to the accuracy of the date listed.)
Filing date
Publication date
Application filed by Sumitomo Mitsui Construction Co Ltd filed Critical Sumitomo Mitsui Construction Co Ltd
Priority to JP2001277201A priority Critical patent/JP3584979B2/ja
Publication of JP2003082868A publication Critical patent/JP2003082868A/ja
Application granted granted Critical
Publication of JP3584979B2 publication Critical patent/JP3584979B2/ja
Anticipated expiration legal-status Critical
Expired - Fee Related legal-status Critical Current

Links

Images

Landscapes

  • Buildings Adapted To Withstand Abnormal External Influences (AREA)

Description

【0001】
【発明の属する技術分野】
本発明は、屈曲するコーナー部を有して形成される共用廊下の外側に、建物外周部に沿う住戸ゾーンを配置した集合住宅に関する。
【0002】
【従来の技術】
従来、建物中央部にコア(エレベータ、階段等の共用部分)を配置し、コアの外周に共用廊下を廻らし、共用廊下の外側に建物外周部に沿って住戸ゾーンを配置した塔状の集合住宅は、知られている。建物外周部に沿って住戸ゾーンを配置することにより、採光、通風、眺望に優れた居住空間が得られる。特開平7−133621号公報には、このような集合住宅であって、コアの周囲にメータボックスを設け、メータボックス内に、水道管を収納するパイプシャフトを設けた構成が開示されている。この構成によって、保守・点検等のメンテナンスを容易にすることができる。
【0003】
しかし、上記従来技術によると、住戸ゾーンからの排水横引き管を廊下を隔てたコア部まで伸ばして設けなければならないため、横引き距離、特に建物の角部に位置する住戸ゾーンからの横引き距離が長くなる。排水横引き管には所定の勾配が必要なため、横引き距離が長くなると、二重床のクリアランスが大きくなり、階高が大きくなる。それに応じたコストも要する。
【0004】
【発明が解決しようとする課題】
本発明は、上記のような従来技術を考慮してなされたもので、その目的は、建物の角部に位置する住戸ゾーンに配置された水場からの排水横引き管を、パイプシャフト内の排水竪管に効率的に接続し、階高を抑えることができるようにすること、さらには、建物の角部に位置する住戸ゾーンの住戸配置、間取り等のプランニングの自由度、将来の更新性に優れた集合住宅を提供すること等にある。
【0005】
【課題を解決するための手段】
(1) 本発明は、屈曲するコーナー部を有して形成される共用廊下の外側に、建物外周部に沿う住戸ゾーンを配置した集合住宅において、
前記共用廊下のコーナー部の内側角部と、前記建物外周部の辺部とを結ぶ、2本の略直交するコーナー梁によって区画される角部ブロックが形成され、
前記共用廊下のコーナー部の外側の辺部は、住戸ゾーンと共用廊下の境界面に配置されている界壁の壁芯線にほぼ対応し、2方向に直交した界壁の壁芯線の交点が共用廊下のコーナー部の外側角部を形成しており、
前記共用廊下のコーナー部の外側角部と住戸ゾーンとの境界付近に、共用廊下側に開口部を有するパイプシャフトを設け、
前記角部ブロックの住戸ゾーンに配置された水場からの排水横引き管を、前記パイプシャフト内の排水竪管に接続できるように構成するとともに、
前記パイプシャフトと2本の直交したコーナー梁との間で平面視L字形に屈曲された界壁の位置において、パイプシャフトを挟んでその両側に、前記角部ブロックの住戸ゾーンに通じる出入口を設けることができるように構成した、集合住宅である。
【0006】
本発明は、さらに次のような構成を備えるものとすることができる。
(2) 前記角部ブロックに位置するパイプシャフト内に排水竪管を複数本配設し、前記角部ブロックの住戸ゾーンに位置する2住戸の排水横引き管をそれぞれ接続可能とした。
(3) 前記パイプシャフトを挟んでその両側に出入口を設け、その一方を玄関とし、他方を裏玄関又は勝手口あるいは収納庫等のスペースへの出入口として構成した。
(4) 前記角部ブロックの住戸ゾーンの床スラブは、建物外周部側に位置するスラブ下面が平面視略L字形の外周床スラブと、共用廊下側に位置し、外周床スラブよりも天端レベルを低く形成した内周床スラブとからなり、内周床スラブと外周床スラブとを、スラブ連結部によって段差を設けて一体化して構成した。
(5) 前記角部ブロックの住戸ゾーンに、床スラブに対して二重構造をなす内装床を構築し、内装床と床スラブとの間のクリアランスに排水横引き管を配置し、
前記共用廊下のコーナー部の外側に形成された角部ブロックの住戸ゾーンの水場に向けて、パイプシャフトを起点として、放射状等の効率的な配管ルートで配管し、かつ、角部ブロック内の排水横引き管を、前記コーナー梁をまたがって隣接の中間部ブロックに通じる配管ルートを採らないように構成した。
(6) 前記角部ブロックを、略正方形の平面形に形成し、平面視略四辺形の建物の四隅に配置した。
【0007】
【発明の実施の形態】
[実施形態1]
図1は本発明に係る集合住宅の実施例である建物1の基準階の平面図である。建物1は、センターコア型の高層集合住宅の建物であって、基準階の平面形は略正方形をなしている。なお、同じ要素、部材には同じ符号を用い、重複する説明は適宜省略する。
【0008】
先ず、図2を参照して図1に示す建物1の特徴を説明する。図2は、図1に示す建物1の基準階の平面図の説明図である。
建物1の各階の床面は、建物中央部Bと居住部Aに分けられている(図2(a)参照)。
建物中央部Bは、その内部にエレベータ、階段等の共用部分6が配置されているセンターコアとして形成されている。
居住部Aは、建物中央部Bの周囲(内周架構部10の位置)と建物外周部(外周架構部20の位置)との間の床面に形成されている居住空間で、共用廊下15と住戸ゾーン17とが配置されてなる。
共用廊下15(斜線部で表示)は、建物中央部Bの周囲(内周架構部10の外周部側)に配置されているので、屈曲するコーナー部(進む向きの変わる地点)15aで屈曲して平面視ロ字状に形成されている。
住戸ゾーン17は、共用廊下15と外周架構部20との間の床面にあって、外周架構部20に沿って配置され、平面視ロ字状に形成されている。共用廊下15と住戸ゾーン17との境界面には界壁16が設けられている。
【0009】
建物1は、耐震性能を有する架構構造体によって構成され、内周架構部10及び外周架構部20を備えている(図2(b)参照)。ここで、架構構造体とは、柱、梁などの線材、耐震壁、制振壁、壁ブレーズなどの面部材を組み合わせた架構、及びそれに一体化した二次的構造部材で構成され、常時鉛直荷重、地震力などの外力に対して構造設計上抵抗し得る構造体をいう。
【0010】
内周架構部10は、建物中央部Bの周囲の鉛直面(壁面)に配置されている架構をいう(図2(b)参照)。ここでは、内周架構部10は建物中央部Bの周囲に沿って、平面視ロ字状に形成されている。
内周架構部10は、コーナー柱11,内周柱11a、内周梁12によって構成された骨組に耐震壁(図示しない)を配置して構成されている。もっとも、内周架構部10を、コーナー柱11,内周柱11aによって骨組に構成せずに、鉄筋コンクリート造の耐震壁(図示しない)の壁式構造としてもよい。
【0011】
外周架構部20は、建物外周部の鉛直面(壁面)に配置されている架構をいう(図2(b)参照)。ここでは、外周架構部2は建物外周部に沿って、平面視ロ字状に形成されている。外周架構部20は、外周柱21,21a及び外周梁22によりラーメン骨組を構成しているが、これに限定されるものではない。
【0012】
内周架構部10に設けられたコーナー柱11は、共用廊下15のコーナー部15aの内側角部Ci(建物中央部Bの隅角部)の位置に設けられた柱であって、2本の略直交するコーナー梁30が接合されている。コーナー柱11は、任意の部材断面形状の独立した鉛直構造部材として形成されているが、鉄筋コンクリート造の耐震壁の一部として形成してもよい。コーナー柱11は、柱としての機能(断面耐力、剛性など)を有すればよく、その部材形状は特に限定されるものではない。
【0013】
コーナー梁30は、共用廊下15のコーナー部15aの内側角部Ci(コーナー柱11の位置)と、内周架構部10に対向する建物外周部20の辺部(外周柱21の位置)とを結ぶ位置に配置される梁部材である(図2(b)参照)。
コーナー梁30は、そのスパン端部でコーナー柱11(内周架構部10)及び外周柱21(外周架構部20)に接合されて、内周架構部10と外周架構部20に平面視直交する架構構造体を構成する。コーナー梁30は、床に作用する常時鉛直荷重、地震力に抵抗することができる断面性能を有する梁部材として機能すればよい。上下階のコーナー梁30の間の鉛直面に壁体(耐震壁、間仕切り壁など)を設けてもよい。
【0014】
各階の居住部Aは、コーナー梁30によって、建物1の角部に位置する角部ブロック4と、建物1の辺部に位置する中間部ブロック3とに区画されている(図2(c)参照)。そして、平面視略四辺形の建物1の四隅に、4個の角部ブロック4が配置されている。角部ブロック4は、共用廊下のコーナー部15aの内側角部Ciと、建物外周部20の辺部とを結ぶ2本のコーナー梁30,30によって区画されている。本実施形態では、2本のコーナー梁30,30が床面(水平面内)で直角に交差している場合を例示しているが、これに限定されず、居住部Aの床平面の屈曲形状に対応して2本のコーナー梁30,30が任意の角度で交差する態様であってもよい。
【0015】
各角部ブロック4には、その角部ブロック4専用のパイプシャフト70が1箇所づつ設けられている(図2(c)参照)。このパイプシャフト70は、角部ブロック4に配置されている共用廊下15のコーナー部15aの「外側角部Co」と住戸ゾーン17との境界付近に位置している。
【0016】
本発明の一つの重要な特徴は、「出入口19の配置」及び「排水横引き管60の配管ルート」に関係する、角部ブロック4における「パイプシャフト70の位置」にある。
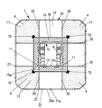
そこで、図3を参照してさらに角部ブロック4について詳細に説明する。図3は、図2(c)の平面図の左下角部に位置する角部ブロック4の拡大平面図である。
【0017】
先ず、角部ブロック4の床面の平面的構成を説明する。角部ブロック4の床面は、略正方形(スパン長さはL1 *S1 )をなし、その内部に住戸ゾーン17と共用廊下15のコーナー部15aが配置されている。そして、住戸ゾーン17は、共用廊下15のコーナー部15aを介して共用廊下15に連絡するように配置されている。
【0018】
共用廊下15のコーナー部(以下、単に「コーナー部」ともいう。)15aは、略正方形(水平長さはR1*R2)の平面形をなし、共用廊下15の直線部分と連続した共用廊下15の一部分として配置されている。住戸ゾーン17と共用廊下15の境界面には界壁16が設けられているので、コーナー部15aの外側の辺部(水平長さはR1*R2)は、界壁16の壁芯線にほぼ対応する。コーナー部15aの外側の辺部は、コーナー部15aの外側角部Coと、2本の直交したコーナー梁30との間で平面視L字形に屈曲され、平面視の2方向に直交した界壁16の壁芯線の交点がコーナー部15aの外側角部Coに相当する。
【0019】
一方、住戸ゾーン17は略L字形の平面形をなし、そのL字形の内側がコーナー部15aと接している。住戸ゾーン17の建物の奥行き方向(内周架構部10と外周架構部20に直交する水平方向)の水平長さ(L10*S10)は、コーナー部15aの外側の辺部の水平長さ(R1*R2)に比べて大きい。コーナー柱11を角部とする角部ブロック4の内隅部に、略正方形をなすコーナー部15aが配置された態様となる。なお、住戸ゾーン17の床面の外周部は、その角が隅切り(コーナーカット)されているが、これに限定されない。
【0020】
さて、図3を参照して、排水竪管71を収納するパイプシャフト70の平面的配置について説明する。
図示のとおり、角部ブロック4内、共用廊下15のコーナー部15aの外側角部Coと住戸ゾーン17との境界付近に、共用廊下15(コーナー部15a)側に開口部を有するパイプシャフト70を設け、パイプシャフト70内の排水竪管71に、角部ブロック4に位置する住戸ゾーン17に配置された水場からの排水横引き管60を接続するように構成している。すなわち、角部ブロック4に配置された住戸ゾーン17の水場からの排水横引き管60は、すべて、その角部ブロック4に専用のパイプシャフト70内の排水竪管71に接続されている。
【0021】
本発明では、角部ブロック4内、共用廊下15のコーナー部15aの外側角部Coと住戸ゾーン17との境界付近に、共用廊下15(コーナー部15a)側に開口部を有するパイプシャフト70を設けることによって、共用廊下15(コーナー部15a)からの点検、修理等のアクセスが可能となり、かつ、角部ブロック4に位置する住戸ゾーン17に配置された水場(設備機器)からの排水横引き管60の横引き距離をできるだけ短くして効率的に接続することができるようになる。コーナー部15aの外側に形成された広々とした住戸ゾーン17の水場に向けて、パイプシャフト70を起点として、放射状等に最も効率的な配管ルートを採ることができる。角部ブロック4の住戸ゾーン17内であれば任意の場所に水場ゾーンを配置することができ、また、横引き距離をできるだけ短くすることによって階高を抑えることができる。ここで、水場ゾーンとは、住戸内に配置されるキッチン、洗面室及びトイレなど部屋であって、給水(水道水)、排水設備が設置されているスペースをいう。
【0022】
図示のとおり、パイプシャフト70内の排水竪管71については、これを複数本配設し、角部ブロック4の住戸ゾーン17に位置する2住戸の排水横引き管をそれぞれ接続可能とするのが好ましい。このような構成にすれば、フリープランに従い、ある階では、角部ブロック4内に2住戸が位置する(2住戸を仕切る戸境壁が角部ブロック4内に位置する)ような住戸配置を採りたい場合、角部ブロック4内においてパイプシャフト70内の各排水竪管71から夫々の住戸の水場へと配管ルートを独立して採ることができるため、フリープランに柔軟に対応し得る。しかも、パイプシャフト70は1箇所において集中管理することができる。また、排水横引き管60が床スラブの上方で立体交差する重なりを無くし、各排水竪管71,71から各住戸にある設備機器に向けて効率的に排水横引き管60を接続することができ、二重床のレベルも抑えることができる。図示のものは、排水竪管71を3本、平面L字形となるように配設し、角部ブロック4の様々な方向へ効率的に排水横引き管60を接続できるようにしている。なお、パイプシャフト70には、排水竪管71以外の設備用竪管(例えばディスポーザー用の排水竪管72等)を設けてもよい。また、角部ブロック以外(例えば中間部ブロック等)の設備用竪管を設けてもよい。
【0023】
住戸配置、間取り等のプランニングの自由度が高いSI住宅(スケルトン・インフィル)を実現するためには、居住ゾーンのみならず、水場ゾーンを含めたプランニング・設備配管ルートの自由度、将来の更新性を同時に高める必要がある。上記のようなパイプシャフト70の平面的配置によって、建物の角部に位置する住戸ゾーン17内部には上下階の床スラブを貫通したパイプシャフトを立設していないため、フリープランに好適な開放的な室内空間を形成することができるのは勿論、フリープランニングのネックとなりやすい水場ゾーンを含めたプランニング・配管ルート(特に排水横引き管60の配管ルート)の自由度、将来の更新性が高められることになる。
【0024】
仮に、パイプシャフト70の平面的位置を、共用廊下15のコーナー部15aの内側角部Ci付近に設けた場合、共用廊下15からのアクセスは可能であるが、排水横引き管60の横引き距離が長くなってしまい、また、共用廊下15のコーナー部15aの内側角部Ci位置にパイプシャフトが突出することで廊下スペース(幅)を狭めたり、あるいはコーナー部15aが外側にずれることで住戸ゾーン17を狭めたりする不都合を生じる。
【0025】
図3を参照して、パイプシャフト70に近接して設けられる出入口19の配置について説明する。
上記のとおり、角部ブロック4のパイプシャフト70を、共用廊下15のコーナー部15aの外側角部Coと住戸ゾーン17との境界付近に設けたため、界壁16の壁芯線にほぼ対応するコーナー部15aの外側の辺部(水平長さはR1*R2)には、パイプシャフト70を挟んでその両側に、角部ブロック4の住戸ゾーン17に通じる出入口19(玄関、勝手口等、広く出入口のことを意味し、玄関アルコーブを含む)を設けることが可能な水平長さが形成される。すなわち、パイプシャフト70と2本のコーナー梁30との間で屈曲された界壁16の位置で、パイプシャフト70を挟んでその両側に出入口19を設けることができる。したがって、共用廊下15のコーナー部15aから出入口19を介して、直接に住戸ゾーン17に出入できる人の動線が確保することができる。
【0026】
パイプシャフト70を挟んでその両側に出入口を設けることができ、また、片側にのみ出入口を設けることを選択するのも可能なため、ひとつの角部ブロック4に、2住戸を配置する場合と、大きな専有面積を有する1住戸を配置する場合のいずれにも簡単に対応することができ、建築プランニングの自由度が高まる。出入口19の位置を、同一階又は上下階方向の複数の角部ブロック4毎に自由に変えることができ、フリープランに柔軟に対応し得るものとなる。例えば、図4(a)(b)はそれぞれ異なる階の住戸配置を示すもので、(a)は角部ブロック4に1住戸が配置される例、(b)は角部ブロック4に2住戸が配置される例である。図中、破線が戸境壁であり、*が出入口(玄関)位置である。(a)では、角部ブロック4内の1住戸に対応してパイプシャフト70の片側に玄関*が設けられている。(b)では、角部ブロック4内の2住戸に対応してパイプシャフト70を挟んでその両側に玄関*が設けられている。(b)では、角部ブロック4における戸境壁の一端は、パイプシャフト70に接続する形で終止している。
【0027】
このように、広大な住戸ゾーンに連接する共用廊下のコーナー部15aという狭隘なスペースにパイプシャフト70を配置するとともに、パイプシャフト70を挟んでその両側に、二つの出入口を近接して設けることができる特徴があるので、例えば、角部ブロック4に二世帯住宅(1住戸でも2住戸でもよい)を配置し、この二世帯住宅の各玄関を近接して配置することができる。また、角部ブロック4に1住戸を配置する場合でも、パイプシャフト70を挟んでその両側に出入口を設け、一方を玄関とし、他方を裏玄関又は勝手口あるいは収納庫等のスペース(仕切られた部屋、空間)への出入口とするような実施形態も可能であり、新規なプランニングが可能である。
【0028】
図5、図6に、パイプシャフト70及び出入口19の配置例を示す。図5(a)(b)は、パイプシャフト70の開口部が、丁度、共用廊下15のコーナー部15aの外側角部Co(直交する界壁16の壁芯線の交点)に位置するように設けた例である。パイプシャフト70を挟んだコーナー部15aの外側の各辺部の長さは、ほぼ均等に形成されている。図5(a)は、パイプシャフト70を挟んでその両側に、住戸ゾーン17に通じる出入口19を設けた例、図5(b)は、パイプシャフト70を挟んでその片側に、住戸ゾーン17に通じる出入口19を設けた例を示す。
【0029】
図6(a)(b)は、パイプシャフト70を共用廊下15のコーナー部15aの外側角部Coと住戸ゾーン17との境界付近に設けた点は、図5と同じであるが、パイプシャフト70の位置が、コーナー部15aの外側の一方の辺部側に若干ずれている点が異なる。パイプシャフト70を挟んだコーナー部15aの外側の各辺部は、その長さが異なるが、パイプシャフト70を挟んでその両側に出入口を設けることができる長さには形成されている。図6(a)は、パイプシャフト70を挟んでその両側に、住戸ゾーン17に通じる出入口19を設けた例、図6(b)は、パイプシャフト70を挟んでその片側に、住戸ゾーン17に通じる出入口19を設けた例を示す。
【0030】
前記のとおり、本実施形態では、角部ブロック4は、共用廊下のコーナー部15aの内側角部Ciと、建物外周部の辺部とを結ぶ、2本の略直交するコーナー梁30,30によって区画されている。そして、この角部ブロック4の住戸ゾーン17は、無柱・無梁の室内空間に形成されている。このため、角部ブロック4には、柱や梁型のない広く開放的な居住空間が形成され、商品価値の高い建物の角部の価値を一層高めている。また、前記したパイプシャフト70の配置と相俟って、1住戸の室内空間の間取りのみならず、2住戸の間の戸境壁の配置、水場ゾーンの配置をも含めたプランニングの自由度が非常に高いものとなっている。
【0031】
上述したような角部ブロック4を構築するのに好適な床スラブ40の一例について、図7〜図10を参照して説明する。
角部ブロック4を形成する床スラブ40は、共用廊下15のコーナー部15aと住戸ゾーン17とを配置してなり、床スラブ40の周囲を支持する建物外周部20の外周梁22とコーナー梁30によって区画形成されている(図7参照)。
【0032】
図7に、角部ブロック4を形成する床スラブ40の構成の拡大平面図を示す。角部ブロック4の床スラブの平面形状は、略正方形の大スパン床スラブを形成している。大スパン床スラブは、8m以上、好ましくは10m以上、さらに好ましくは15m以上の各辺長さ(L1*S1)で形成される。角部ブロック4を、一般的な1住戸の2倍(2住戸分)に相当する室内空間を配置できる大スパンに形成することによって、1住戸の室内空間の間取りのみならず、2住戸の間の戸境壁を自由に配置し、また変更することができる。住戸の平面形、住戸配置の多様性、融通性が格段に向上する。
【0033】
図7に示すとおり、床スラブ40は、建物外周部20側に位置する外周床スラブ43と、内周架構部10側(共用廊下15側)に位置し、外周床スラブ43よりも天端レベルを低く形成した内周床スラブ41(散点状に示す部分)とからなっている。内周床スラブ41と外周床スラブ43とは、内周架構部10と建物外周部20との間の中央域において、スラブ連結部50(斜線ハッチングで示す部分)によって段差を設けて一体化されている。スラブ連結部50は、建物1の周方向に沿って筋状に延設されている。内周架構部10の外側において、内周床スラブ41、スラブ連結部50、外周床スラブ43の順で配置され、夫々が平面的に連続しており、環状に形成されている。角部ブロック4の建物外周部20側に、スラブ下面が平坦な平面視略L字形の外周床スラブ43が形成される。
【0034】
建物1の内周架構部10にほぼ沿うように、内周床スラブ41、外周床スラブ43、スラブ連結部50が夫々屈曲され、平面的に連続して形成されている。スラブ連結部50は、隣接する中間部ブロック3から伸びてきて角部ブロック4で交差するが、互いにこの交差部で終止してL字形の屈曲部を形成している。角部ブロック4の内周側角部を形成する矩形の内周床スラブ41の外周に、平面視略L字形にスラブ連結部50が形成され、スラブ連結部50の外周に、外周架構部20側に沿って、スラブ下面が平坦な平面視略L字形の外周床スラブ43が形成される。
【0035】
図8に、床スラブ40の縦断面(図7の8A−8A断面図)を示す。図9にスラブ連結部50近傍の拡大縦断面図を示す。内周床スラブ41の上面に上部段差D1が形成され、外周床スラブ43の下面に下部段差D2が形成される。スラブ連結部50は、上部段差D1、下部段差D2で両側が区画された幅Bを有する。また、スラブ連結部50は、内周床スラブ41のスラブ厚さT1及び上部段差D1を用いた断面高さ(厚さ)Dを有する。この断面幅Bと、断面高さDとを有する断面形状によって曲げ材を形成する。
【0036】
スラブ連結部50の断面において、その幅Bは、厚さDよりも大きく、横長の矩形状をなしている(図9参照)。スラブ連結部50の天端は、外周床スラブ43の天端と一致している。スラブ連結部50の下端は、内周床スラブ41の下端と一致しているが、邪魔にならない程度(空調配管を貫通させる必要のない程度)であれば、スラブ連結部50の下端が内周床スラブ41の下端よりも張り出してもよい。
【0037】
スラブ連結部50の下端と内周床スラブ41の下端とを一致させ、平坦なスラブ下面を形成することにより、小梁のような突出部が全くなく広くてすっきりした空間が得られる。内周床スラブ41の厚さT1と外周床スラブ43の厚さT2は必ずしも同じである必要はない。内周床スラブ41と外周床スラブ43の各スラブは、中空スラブでもよいし、通常のコンクリートスラブでもよい。
【0038】
外周床スラブ43は、日照、眺望、開放性に優れる主たる採光面側に位置するので、通常、居間、食堂等の主たる居室が配置される。内周床スラブ41には、主に台所、風呂、便所等の水場ゾーンが配置される。勿論、入口側の内周床スラブ41の上にも居室が配置されることはあるし、外周床スラブ43の上に水場ゾーンの一部が配置されることもある。共用廊下15は内周架構部10の外側、内周床スラブ41上に設けられている。
【0039】
外周床スラブ43位置における居室空間の天井高さh2は、内周床スラブ位置41における天井高さh1よりもほぼ下部段差D2分、立ち上げられ、天井が高く形成されている(図9参照)。この段差分によって、居間や食堂等の主たる居室の広く開放的な空間が確保される。
【0040】
そして、図9に示すとおり、住戸ゾーン17の床スラブ40に対して二重構造をなす内装床45を構築し、内装床45と床スラブ40の間のクリアランス(床上)48に排水横引き管60を横引き設置する。また、床スラブ40の下面は空間を形成して天井板47で覆い二重天井に形成し、外周床スラブ43下の空間を用いて空調配管を設けることができる(図示省略)。
【0041】
排水横引き管60は、水場ゾーンの設備機器からの汚水が排水竪管71まで自然排水できるように、所定の勾配で床スラブ40の上方に横引き配管されるが、前述したスラブ連結部50における上部段差D1を設けることによって、機能上必要な排水勾配を確保し、排水横引き管60を接続する排水竪管71までの横引き距離を長くすることができる。
【0042】
また、角部ブロック4内の排水横引き管60は、コーナー梁30,30をまたがって隣接の中間部ブロック3に通じる配管ルートを採らないので、コーナー梁30の断面の上面レベルを下げる必要がない。このため、排水横引き管60の配管用のクリアランス(床上)48の分だけ、各階の階高を小さくすることができる。
【0043】
図10に床スラブ40の縦断面(図7の10A−10A断面図)を示す。図示のとおり、スラブ連結部50の断面内には、好ましくは、部材長さ方向にPC鋼材51を配線し、プレストレスを導入する。図7及び図10を参照して説明すると、スラブ連結部50の中に配線されたPC鋼材51は交差するスラブ連結部50を超え、PC鋼材51の定着部は、スラブ連結部50の屈曲部の外周側において、外周床スラブ43のコンクリート断面内に埋設されている。スラブ連結部50は、角部ブロック4と中間部ブロック3とに跨り連続形成されているので、これに合わせてPC鋼材51も連続配線するのが好ましい。これにより、PC鋼材51の定着部の数を減らせるので、施工性・経済性が向上する。
【0044】
角部ブロック4における床スラブ40のスラブ連結部50にプレストレスを導入し、PC鋼材51の吊り上げ力を発揮させることにより、従来のような、床スラブを厚くする、小梁を設ける等の手段によらずに、集合住宅の角部に無柱・無梁の大スパン床スラブを効率的に構築することができる。階高をできるだけ抑えることができる。
【0045】
角部ブロック4(床スラブ40)を、略正方形の平面形に形成し、平面視略四辺形の建物1の四隅に配置することにより、各角部ブロック4における住戸配置、間取り等のプランニングの自由度、将来の更新性を向上させることができ、設計及び施工もしやすいものとなる。建物1の角部の占める面積(及び体積)の割合が大きくなるので、建物角部の商品価値が高められ、これによって、集合住宅全体の商品価値を格段に向上させることができる。
【0046】
中間部ブロック3は、角部ブロック4、4の間に区画、形成される。中間部ブロック3も、角部ブロック4と同様に、略正方形の大スパンスラブによって形成し、中間部ブロック3の住戸ゾーンも無柱・無梁の室内空間とするのが好ましい。全体として、内周架構部10と外周架構部20との間で、住戸ゾーン17(及び共用廊下15)は無柱空間に形成されるので、建物の周方向(隣り合う住戸を横断する方向)に伸びる梁・小梁もなく、柱、梁、壁による制約が少なく、間取り及び住戸配置等のプランニングの自由度、将来の更新性を、建物全体において高めることができる。
【0047】
[実施形態2]
本発明における建物は、以上説明したようなセンターコア型の搭状建物に限定されるものではない。本発明は、屈曲するコーナー部を有して形成される共用廊下の外側に、建物外周部に沿う住戸ゾーンを配置した集合住宅に適用することができる。例えば、対向する架構面を形成する内周部と外周部とによってそれらの間に形成される床スラブ構造体が平面視屈曲され、その床スラブ構造体の内側に共用廊下を配置し、その外側に住戸ゾーンを配置した各種形態の建物に適用することができる。
図11は、鉄筋コンクリート造の耐震壁によって構築された内周架構部10の内部に機械式の立体駐車設備19を設け、エレベータや階段等の共用部分6は中間部ブロック3に配置した例を示す。
【0048】
[実施形態3]
図12は、内周架構部10の内部に、コア(共用部分)ではなく吹抜け部18を配置した例を示す。また、角部ブロック4,4間に複数の中間部ブロック3,3を配置している。
【0049】
[実施形態4]
また、平面視四辺形の建物のみに限定されない。図13に示す例では、内周架構部10の内部に、吹抜け部18を配置しており、また、内周架構部10と建物外周部20の外側とを連通する開口部18aを設けている。この例では、実施形態3と同様にコーナー梁30の長さ方向のスパン中央部において、柱33を設けている。
【0050】
以上、本発明の実施の形態を説明したが、本発明は上記の実施の形態に限定されるものではなく、本発明の要旨の範囲で種々の変形、付加等が可能である。本発明の集合住宅は、高層〜超高層のみならず、中低層の建物にも適用し得る。中間部ブロック3におけるパイプシャフトの位置は何ら限定されない。角部ブロック4の住戸ゾーン17が無柱・無梁の室内空間に形成されている例を示したが、必ずしもこれに限定されない。
【0051】
【発明の効果】
(請求項1に係る発明)本発明によれば、共用廊下のコーナー部の内側角部と、建物外周部の辺部とを結ぶ、2本の略直交するコーナー梁によって区画される簡素な構造の建物 の角部ブロックにおいて、任意の場所に配置された水場からの排水横引き管の横引き距離をできるだけ短くして、パイプシャフト内の排水竪管に効率的に接続することができ、これによって階高を抑えることができる。また、共用廊下からパイプシャフトへのアクセスが可能であり、排水竪管の保守・点検及び取替えがし易い。フリープランニングのネックとなりやすい水場ゾーンのプランニングの自由度、将来の更新性が高められ、共用廊下及び住戸ゾーンのスペースを大きく狭める不都合もない。
【0052】
加えて、パイプシャフトと2本の直交したコーナー梁との間で平面視L字形に屈曲された界壁の位置において、パイプシャフトを挟んでその両側に、角部ブロックの住戸ゾーンに通じる出入口を設けることができるように構成したので、ひとつの角部ブロックに、2住戸を配置する場合と、大きな専有面積を有する1住戸を配置する場合のいずれにも簡単に対応することができ、建築プランニングの自由度が高まる。出入口の位置を、同一階又は上下階方向の複数の角部ブロック4毎に自由に変えることができ、プランニング及びその変更の自由度が高まる。
【0053】
(請求項2に係る発明)角部ブロックに位置するパイプシャフト内に排水竪管を複数本配設し、角部ブロックの住戸ゾーンに位置する2住戸の排水横引き管をそれぞれ接続可能とすることにより、ある階では、角部ブロック内に2住戸が位置するような住戸配置を採りたい場合、角部ブロック内においてパイプシャフト内の各排水竪管から夫々の住戸の水場へと配管ルートを独立して採ることができるため、フリープランに柔軟に対応し得る。しかも、パイプシャフトは1箇所において集中管理することができる。また、排水横引き管が床スラブの上方で立体交差する重なりを無くし、各排水竪管から各住戸にある設備機器に向けて効率的に排水横引き管を接続することができ、二重床のレベルも抑えられる。
【0054】
(請求項3に係る発明)パイプシャフトを挟んでその両側に出入口を設け、その一方を玄関とし、他方を裏玄関又は勝手口あるいは収納庫等のスペースへの出入口として構成することにより、新規なプランニングが可能である。
【0055】
(請求項4に係る発明)角部ブロックの住戸ゾーンの床スラブは、建物外周部側に位置するスラブ下面が平面視略L字形の外周床スラブと、共用廊下側に位置し、外周床スラブよりも天端レベルを低く形成した内周床スラブとからなり、内周床スラブと外周床スラブとを、スラブ連結部によって段差を設けて一体化した構成により、内周床スラブ上に排水管を納める空間が確保され、外周床スラブ下に空調配管等を納める空間が確保される。機能上必要な排水勾配を確保し、排水管を接続する竪管までの横引き距離を長くすることができる。限られた階高において、外周床スラブ位置に充分な天井高さが確保され、快適な住戸空間を形成することができる。また、角部ブロックの建物外周部側にスラブ下面が平坦な平面視略L字形の外周床スラブを形成したので、二方向以上に視野が開ける建物の角部(外周部)に沿って連続する、面積が広くかつ充分な天井高さを有する開放的な住戸空間が形成される。
【0056】
加えて、前記角部ブロックの住戸ゾーンは、無柱・無梁の室内空間に形成されたものとすることにより、商品価値に優れる建物の角部の住戸ゾーンに、フリープランに好適な広く開放的な居住空間が形成されて居住性が高められるとともに、住戸配置、間取り等のプランニング及び設備配管ルートの自由度、将来の更新性に優れた集合住宅が提供される。住戸配置、間取り等のプランニングの自由度が高いSI住宅(スケルトン・インフィル)を実現することができる。
【0057】
(請求項5に係る発明)前記角部ブロックの住戸ゾーンに、床スラブに対して二重構造をなす内装床を構築し、内装床と床スラブとの間のクリアランスに排水横引き管を配置し、前記共用廊下のコーナー部の外側に形成された角部ブロックの住戸ゾーンの水場に向け て、パイプシャフトを起点として、放射状等の効率的な配管ルートで配管し、かつ、角部ブロック内の排水横引き管を、前記コーナー梁をまたがって隣接の中間部ブロックに通じる配管ルートを採らないように構成したので、コーナー梁の断面の上面レベルを下げる必要がない。このため、排水横引き管の配管用のクリアランス(床上)の分だけ、各階の階高を小さくすることができる。
【0058】
(請求項6に係る発明)角部ブロックを、略正方形の平面形に形成し、平面視略四辺形の建物の四隅に配置することにより、各角部ブロックにおける住戸配置、間取り等のプランニングの自由度、将来の更新性を一層向上させることができ、設計及び施工もしやすい。建物の角部の閉める面積(及び体積)の割合が大きくなるので、角部の商品価値を高めることによって、集合住宅全体の商品価値を格段に向上させることができる。
【図面の簡単な説明】
【図1】実施例を構成する建物1の基準階の平面図である。
【図2】図1の建物1の基準階の平面図の説明図である。
【図3】角部ブロック4の平面図である。
【図4】住戸配置例を示す建物1の平面図である。
【図5】パイプシャフト70、出入口19の実施例の詳細平面図である。
【図6】パイプシャフト70、出入口19の他の実施例の詳細平面図である。
【図7】角部ブロック4の床スラブ40の平面図である。
【図8】図7の8A−8A断面図である。
【図9】図8の一部を拡大した断面図である。
【図10】図7の10A−10A断面図(スラブ連結部50の断面図)である。
【図11】他の実施例を構成する建物1の基準階の平面図である。
【図12】他の実施例を構成する建物1の基準階の平面図である。
【図13】他の実施例を構成する建物1の基準階の平面図である。
【符号の説明】
A 居住部
B 建物中央部
1 建物
3 中間部ブロック
4 角部ブロック
10 内周架構部
11 コーナー柱
11a 内周柱
12 内周梁
15 共用廊下
15a 共用廊下のコーナー部
Ci 共用廊下のコーナー部15aの内側角部
Co 共用廊下のコーナー部15aの外側角部
16 界壁
17 住戸ゾーン
18 吹抜け部
18a 連通空間
19 出入口
20 建物外周部(外周架構部)
20a 建物外周部20の辺部
21,21a 外周柱
22 外周梁
30 コーナー梁
40 床スラブ
41 内周床スラブ
43 外周床スラブ
45 内装床
47 天井
48 クリアランス(床上)
50 スラブ連結部
51 PC鋼材
60 排水横引き管
70 パイプシャフト
71 排水竪管

Claims (6)

  1. 屈曲するコーナー部を有して形成される共用廊下の外側に、建物外周部に沿う住戸ゾーンを配置した集合住宅において、
    前記共用廊下のコーナー部の内側角部と、前記建物外周部の辺部とを結ぶ、2本の略直交するコーナー梁によって区画される角部ブロックが形成され、
    前記共用廊下のコーナー部の外側の辺部は、住戸ゾーンと共用廊下の境界面に配置されている界壁の壁芯線にほぼ対応し、2方向に直交した界壁の壁芯線の交点が共用廊下のコーナー部の外側角部を形成しており、
    前記共用廊下のコーナー部の外側角部と住戸ゾーンとの境界付近に、共用廊下側に開口部を有するパイプシャフトを設け、
    前記角部ブロックの住戸ゾーンに配置された水場からの排水横引き管を、前記パイプシャフト内の排水竪管に接続できるように構成するとともに、
    前記パイプシャフトと2本の直交したコーナー梁との間で平面視L字形に屈曲された界壁の位置において、パイプシャフトを挟んでその両側に、前記角部ブロックの住戸ゾーンに通じる出入口を設けることができるように構成した、
    集合住宅。
  2. 前記角部ブロックに位置するパイプシャフト内に排水竪管を複数本配設し、前記角部ブロックの住戸ゾーンに位置する2住戸の排水横引き管をそれぞれ接続可能とした、請求項1に記載の集合住宅。
  3. 前記パイプシャフトを挟んでその両側に出入口を設け、その一方を玄関とし、他方を裏玄関又は勝手口あるいは収納庫等のスペースへの出入口として構成した、請求項1又は2に記載の集合住宅。
  4. 前記角部ブロックの住戸ゾーンの床スラブは、建物外周部側に位置するスラブ下面が平面視略L字形の外周床スラブと、共用廊下側に位置し、外周床スラブよりも天端レベルを低く形成した内周床スラブとからなり、内周床スラブと外周床スラブとを、スラブ連結部によって段差を設けて一体化して構成され、
    前記角部ブロックの住戸ゾーンは、無柱・無梁の室内空間に形成された、
    請求項1〜3のいずれかに記載の集合住宅。
  5. 前記角部ブロックの住戸ゾーンに、床スラブに対して二重構造をなす内装床を構築し、内装床と床スラブとの間のクリアランスに排水横引き管を配置し、
    前記共用廊下のコーナー部の外側に形成された角部ブロックの住戸ゾーンの水場に向けて、パイプシャフトを起点として、放射状等の効率的な配管ルートで配管し、かつ、角部ブロック内の排水横引き管を、前記コーナー梁をまたがって隣接の中間部ブロックに通じる配管ルートを採らないように構成した、
    請求項に記載の集合住宅。
  6. 前記角部ブロックを、略正方形の平面形に形成し、平面視略四辺形の建物の四隅に配置した、請求項1〜のいずれかに記載の集合住宅。
JP2001277201A 2001-09-12 2001-09-12 集合住宅 Expired - Fee Related JP3584979B2 (ja)

Priority Applications (1)

Application Number Priority Date Filing Date Title
JP2001277201A JP3584979B2 (ja) 2001-09-12 2001-09-12 集合住宅

Applications Claiming Priority (1)

Application Number Priority Date Filing Date Title
JP2001277201A JP3584979B2 (ja) 2001-09-12 2001-09-12 集合住宅

Publications (2)

Publication Number Publication Date
JP2003082868A JP2003082868A (ja) 2003-03-19
JP3584979B2 true JP3584979B2 (ja) 2004-11-04

Family

ID=19101769

Family Applications (1)

Application Number Title Priority Date Filing Date
JP2001277201A Expired - Fee Related JP3584979B2 (ja) 2001-09-12 2001-09-12 集合住宅

Country Status (1)

Country Link
JP (1) JP3584979B2 (ja)

Families Citing this family (4)

* Cited by examiner, † Cited by third party
Publication number Priority date Publication date Assignee Title
JP5076709B2 (ja) * 2007-06-12 2012-11-21 株式会社大林組 制震建物、制震方法
JP6700023B2 (ja) * 2015-10-30 2020-05-27 旭化成ホームズ株式会社 建物
JP7068143B2 (ja) * 2018-11-13 2022-05-16 三井住友建設株式会社 建物
JP6771850B1 (ja) * 2020-02-07 2020-10-21 正通 亀井 多層階建物の床下構造

Also Published As

Publication number Publication date
JP2003082868A (ja) 2003-03-19

Similar Documents

Publication Publication Date Title
US3643390A (en) Modular building structure
JP2797245B2 (ja) 住宅構造
JP3584979B2 (ja) 集合住宅
JP2003184331A (ja) 中高層集合住宅の建物構造
JP3754612B2 (ja) 集合住宅
JP3066744B2 (ja) 集合住宅
JP6913408B1 (ja) 平屋建て木造住宅
JP5627069B2 (ja) 多層建物
JP3494372B2 (ja) 建 物
JP7011360B1 (ja) 複数階建て木造住宅
JP2002303053A (ja) 高層集合住宅
JP3558283B2 (ja) 集合住宅の床スラブ構造
JP7194568B2 (ja) 集合住宅建築物
JP4031452B2 (ja) ユニット式建物およびそのユニット式建物の施工方法
JP3261404B2 (ja) 規格化集合住宅のスケルトン構造
JP2004211495A (ja) 集合住宅建物
JP3066743B2 (ja) 集合住宅
JP2003056188A (ja) 片廊下型集合住宅
JP2020133388A (ja) 住戸ユニット
JP3903306B2 (ja) 集合住宅建物
JPH1171918A (ja) 建築物およびその建築方法
JP2024074727A (ja) 排水構造、排水構造の施工方法、及び建築物
JP2002174042A (ja) スケルトン・インフィル集合住宅
JP3108756B2 (ja) 建築物
JP2023118188A (ja) 配管及び配線収納構造

Legal Events

Date Code Title Description
A977 Report on retrieval

Free format text: JAPANESE INTERMEDIATE CODE: A971007

Effective date: 20040210

A131 Notification of reasons for refusal

Free format text: JAPANESE INTERMEDIATE CODE: A131

Effective date: 20040224

A521 Written amendment

Free format text: JAPANESE INTERMEDIATE CODE: A523

Effective date: 20040423

TRDD Decision of grant or rejection written
A01 Written decision to grant a patent or to grant a registration (utility model)

Free format text: JAPANESE INTERMEDIATE CODE: A01

Effective date: 20040720

A61 First payment of annual fees (during grant procedure)

Free format text: JAPANESE INTERMEDIATE CODE: A61

Effective date: 20040727

R150 Certificate of patent or registration of utility model

Ref document number: 3584979

Country of ref document: JP

Free format text: JAPANESE INTERMEDIATE CODE: R150

Free format text: JAPANESE INTERMEDIATE CODE: R150

FPAY Renewal fee payment (event date is renewal date of database)

Free format text: PAYMENT UNTIL: 20100813

Year of fee payment: 6

R250 Receipt of annual fees

Free format text: JAPANESE INTERMEDIATE CODE: R250

FPAY Renewal fee payment (event date is renewal date of database)

Free format text: PAYMENT UNTIL: 20130813

Year of fee payment: 9

R250 Receipt of annual fees

Free format text: JAPANESE INTERMEDIATE CODE: R250

R250 Receipt of annual fees

Free format text: JAPANESE INTERMEDIATE CODE: R250

R250 Receipt of annual fees

Free format text: JAPANESE INTERMEDIATE CODE: R250

R250 Receipt of annual fees

Free format text: JAPANESE INTERMEDIATE CODE: R250

R250 Receipt of annual fees

Free format text: JAPANESE INTERMEDIATE CODE: R250

R250 Receipt of annual fees

Free format text: JAPANESE INTERMEDIATE CODE: R250

R250 Receipt of annual fees

Free format text: JAPANESE INTERMEDIATE CODE: R250

LAPS Cancellation because of no payment of annual fees