JP3565166B2 - 電気ケーブルコネクタ - Google Patents
電気ケーブルコネクタ Download PDFInfo
- Publication number
- JP3565166B2 JP3565166B2 JP2000404230A JP2000404230A JP3565166B2 JP 3565166 B2 JP3565166 B2 JP 3565166B2 JP 2000404230 A JP2000404230 A JP 2000404230A JP 2000404230 A JP2000404230 A JP 2000404230A JP 3565166 B2 JP3565166 B2 JP 3565166B2
- Authority
- JP
- Japan
- Prior art keywords
- cable
- connector
- support member
- clamp
- tail
- Prior art date
- Legal status (The legal status is an assumption and is not a legal conclusion. Google has not performed a legal analysis and makes no representation as to the accuracy of the status listed.)
- Expired - Fee Related
Links
- 239000011810 insulating material Substances 0.000 claims description 6
- 230000013011 mating Effects 0.000 claims description 3
- 239000002775 capsule Substances 0.000 claims 1
- 239000004020 conductor Substances 0.000 claims 1
- 238000003466 welding Methods 0.000 description 6
- 238000000034 method Methods 0.000 description 4
- 230000008569 process Effects 0.000 description 4
- 238000005304 joining Methods 0.000 description 3
- 238000005476 soldering Methods 0.000 description 3
- 230000000712 assembly Effects 0.000 description 2
- 238000000429 assembly Methods 0.000 description 2
- 230000010354 integration Effects 0.000 description 2
- 239000000463 material Substances 0.000 description 2
- 230000009471 action Effects 0.000 description 1
- 239000000853 adhesive Substances 0.000 description 1
- 230000001070 adhesive effect Effects 0.000 description 1
- 238000010586 diagram Methods 0.000 description 1
- 239000012777 electrically insulating material Substances 0.000 description 1
- 230000006872 improvement Effects 0.000 description 1
- 238000002955 isolation Methods 0.000 description 1
- 238000004519 manufacturing process Methods 0.000 description 1
- 238000012986 modification Methods 0.000 description 1
- 230000004048 modification Effects 0.000 description 1
- 238000004023 plastic welding Methods 0.000 description 1
- 238000000926 separation method Methods 0.000 description 1
- 125000006850 spacer group Chemical group 0.000 description 1
Images
Classifications
-
- H—ELECTRICITY
- H01—ELECTRIC ELEMENTS
- H01R—ELECTRICALLY-CONDUCTIVE CONNECTIONS; STRUCTURAL ASSOCIATIONS OF A PLURALITY OF MUTUALLY-INSULATED ELECTRICAL CONNECTING ELEMENTS; COUPLING DEVICES; CURRENT COLLECTORS
- H01R13/00—Details of coupling devices of the kinds covered by groups H01R12/70 or H01R24/00 - H01R33/00
- H01R13/58—Means for relieving strain on wire connection, e.g. cord grip, for avoiding loosening of connections between wires and terminals within a coupling device terminating a cable
- H01R13/5845—Means for relieving strain on wire connection, e.g. cord grip, for avoiding loosening of connections between wires and terminals within a coupling device terminating a cable the strain relief being achieved by molding parts around cable and connections
-
- H—ELECTRICITY
- H01—ELECTRIC ELEMENTS
- H01R—ELECTRICALLY-CONDUCTIVE CONNECTIONS; STRUCTURAL ASSOCIATIONS OF A PLURALITY OF MUTUALLY-INSULATED ELECTRICAL CONNECTING ELEMENTS; COUPLING DEVICES; CURRENT COLLECTORS
- H01R12/00—Structural associations of a plurality of mutually-insulated electrical connecting elements, specially adapted for printed circuits, e.g. printed circuit boards [PCB], flat or ribbon cables, or like generally planar structures, e.g. terminal strips, terminal blocks; Coupling devices specially adapted for printed circuits, flat or ribbon cables, or like generally planar structures; Terminals specially adapted for contact with, or insertion into, printed circuits, flat or ribbon cables, or like generally planar structures
- H01R12/70—Coupling devices
- H01R12/77—Coupling devices for flexible printed circuits, flat or ribbon cables or like structures
- H01R12/771—Details
- H01R12/775—Ground or shield arrangements
-
- H—ELECTRICITY
- H01—ELECTRIC ELEMENTS
- H01R—ELECTRICALLY-CONDUCTIVE CONNECTIONS; STRUCTURAL ASSOCIATIONS OF A PLURALITY OF MUTUALLY-INSULATED ELECTRICAL CONNECTING ELEMENTS; COUPLING DEVICES; CURRENT COLLECTORS
- H01R13/00—Details of coupling devices of the kinds covered by groups H01R12/70 or H01R24/00 - H01R33/00
- H01R13/58—Means for relieving strain on wire connection, e.g. cord grip, for avoiding loosening of connections between wires and terminals within a coupling device terminating a cable
- H01R13/582—Means for relieving strain on wire connection, e.g. cord grip, for avoiding loosening of connections between wires and terminals within a coupling device terminating a cable the cable being clamped between assembled parts of the housing
- H01R13/5825—Means for relieving strain on wire connection, e.g. cord grip, for avoiding loosening of connections between wires and terminals within a coupling device terminating a cable the cable being clamped between assembled parts of the housing the means comprising additional parts captured between housing parts and cable
Landscapes
- Details Of Connecting Devices For Male And Female Coupling (AREA)
- Connector Housings Or Holding Contact Members (AREA)
- Multi-Conductor Connections (AREA)
- Coupling Device And Connection With Printed Circuit (AREA)
Description
【発明の属する技術分野】
本発明は、一般に、ケーブルコネクタに係り、より詳細には、ストレインレリーフ手段が一体化された高速用の電気ケーブルコネクタに係る。
【0002】
【従来の技術】
ケーブルをバックプレーン組立体に接続するために、多数のコネクタが知られている。これらコネクタのほとんどは、多数の部品で組み立てられ、コンタクト端子、接地プレート及びハウジングを備えている。コンタクト端子、接地プレート、及びケーブルへのそれらの接続点は、1986年7月29日付の米国特許第4,602,831号に開示されたコネクタ構造体で例示されるように、異なる平面に維持される。
【0003】
【発明が解決しようとする課題】
接続点が異なる平面にあることは、コネクタのコンタクト端子のテールにケーブルリードを溶接又は半田付けする作業を困難にし、ひいては、コネクタの製造コストを高める。又、このような二重平面構成は、ケーブルの信号ワイヤ間の電気的干渉をクロストーク(信号漏れ)の形態で高めることにもなる。更に、公知のコネクタに使用されたストレインレリーフ部材は、コネクタ本体の後方でそこから離間してケーブルに個別に取り付けねばならない。
本発明は、これらの欠点を克服する改良されたケーブルコネクタに向けられる。
【0004】
【課題を解決するための手段】
従って、本発明の目的は、ケーブルウエハーコネクタの用途に使用するための高い電気的性能特性をもつ改良されたケーブルコネクタを提供することである。
本発明の別の目的は、一連のケーブルを導電性ピンのアレーに接続するコネクタであって、ケーブルの個々のワイヤが同じ平面内に終端維持されると共に、その信号ワイヤに並置して接地ワイヤが設けられて、電気的性能が向上されたコネクタを提供することである。
【0005】
本発明の別の目的は、多数の個々のワイヤが終端された複数の導電性ピン接点を包囲したケーブルコネクタ組立体であって、ワイヤの終端をほぼ同じ平面内で行ってその電気的性能を向上させ、ケーブルは、ケーブル位置設定部材によって離間させ、そしてこの位置設定部材の上にハウジングがモールドされたコネクタ組立体を提供することである。
【0006】
本発明の更に別の目的は、絶縁性コネクタハウジング内で予め選択された間隔に複数の導電性信号端子及び接地コンタクトが維持された一体的なケーブルコネクタであって、上記導電性信号端子のテール部分が、予め選択された単一の平面内で互いに整列状態に維持され、一連のケーブルの個々の信号及び接地ワイヤが上記テール部分に各々終端され、これらケーブルがクランプ部材によって予め選択された間隔で保持され、クランプ部材は、コネクタハウジングに一体成形されると共に、コネクタハウジングから出るケーブルのストレインレリーフとして働くようなケーブルコネクタを提供することである。
【0007】
これらの目的により、本発明は、1つの主たる特徴において、複数の導電性信号端子を片面にそして接地シールドを他面に支持するコネクタ本体部分を有する改良されたウエハーコネクタ構造体を提供する。導電性信号端子及び接地シールドは、コネクタ本体部分の後方に延びるテール部分を有する。好適な実施形態では、導電性信号端子のテール部分は、平坦であって共通の平面内に延び、一方、接地シールドのテール部分も平坦であるが、導電性信号端子のテール部分と同じ平面内に延びるように曲げられる。この同一平面性は、ケーブルワイヤをテール部分に取り付けるプロセスを簡単化する。
【0008】
導電性信号端子及び接地コンタクトのテール部分は、交互に配列され、必要に応じて、各導電性信号端子又は導電性信号端子の対を接地テール部分で取り囲み、コネクタにクロストークが発生するおそれを低減することができる。本発明の別の重要な特徴として、コネクタハウジングをその本体部分からケーブル端まで延ばすようにケーブルワイヤの接続エリアがオーバーモールドされる。クランプ又は保持具の形態のケーブルスペーサが設けられ、これは、ケーブル剥ぎ及び終端のための好ましい間隔にケーブルを保持する。
【0009】
このケーブルクランプは、オーバーモールドプロセス中及び完成したコネクタにおいてストレインレリーフの役目を果たす。ケーブルクランプは、ケーブルに適用される2部片インサートの形態をとり、この点において、ケーブルを受け入れるための溝が形成される。このクランプは、これがケーブルに取り付けられそしてワイヤがテール部分に終端された後に、型に挿入される。次いで、コネクタハウジングの延長部が、ハウジング及びケーブルワイヤの終端点の上にモールドされ、個別のケーブルクランプ及びコンタクト組立体を一体的なコネクタ本体へと一緒に接合する。
【0010】
【発明の実施の形態】
本発明のこれら及び他の目的、特徴並びに効果は、添付図面を参照した以下の詳細な説明より明確に理解されよう。
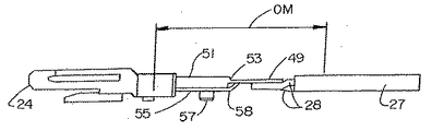
本発明は、上述したように、ケーブルウエハーコネクタに関する。このようなコネクタが図1に参照番号20で示されている。コネクタ20は、プラスチックのような電気絶縁性材料で形成された細長い本体部分22を有する。この本体部分22は、前部24及び後部25を有する。前部24は、複数の導電性信号端子43を含み、これら導電性信号端子43は、バックプレーン部材から突出するピンのアレーのような対向部材(図示せず)の対応する導電性ピンを受け入れるために予め選択された間隔で配置される。後部25は、1本以上のワイヤ28を各々含む複数のマルチワイヤケーブル27を保持する。
【0011】
図2に示すように、ケーブル27は、それに対応するコネクタコンタクト組立体29と整列され、そしてそこに取り付けられる。コネクタ本体部分22は、コネクタコンタクト組立体29及びケーブル組立体30の一部分の上に後でモールドされる。従って、完成したコネクタ20は、2つの異なるそして個別の組立体、即ちコネクタコンタクト組立体29及びケーブル組立体30を一体化したものと考えられる。
【0012】
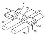
先ず、ケーブル組立体30を説明すれば、オーバーモールドに適した材料、例えば、プラスチックで形成されたケーブルクランプ即ち保持具31により、複数のマルチワイヤケーブル27が所定の間隔に保持される。図7及び図8は、このような2つのケーブルクランプ31を示す。図7に示すケーブルクランプ31は、互いに容易に係合するように構成された2つの対向する半部分32a、32bを含む。この点について、図7に示すように、ケーブルクランプの半部分32a、32bは一連の溝34を有し、ここでは、3つの溝34が、介在するランド部分35によって互いに分離されて示されている。溝34は、クランプ31の巾Wにわたって延びる。図8に示すケーブルクランプは、特定形状の外面72を有し、溝即ち谷部71が介在するランド部分70により分離されるという点で、図7の場合とは異なる。
【0013】
ランド部分35は、図示されたように、2つの半部分32a、32bを方向付けして一緒に嵌合するための手段、例えば、突出ポスト36と、このポスト36を受け入れるための対応する窪み開口37とを含むのが好ましい。これらのポスト36及び開口37は、内側の巾の広いランドに配置されるが、外側の巾の狭いランドは、三角形の突出ラグ38と、それに関連した適当な構成の三角形の溝39とを含む。これらの相互係合する素子の組は、組立中に、ケーブル27を位置保持すると共に、2つの半部分32a、32bを互いに保持するよう作用する。半部分32a、32bは、超音波溶接、プラスチック溶接、熱溶接、接着剤等の適当な手段により互いに固定されるのが好ましい。この点について、ラグ38及びそれに対応する溝39は、クランプの半部分32a、32bの適切な整列及び嵌合を確保するだけでなく、超音波溶接又は他の同様の接合手段が使用されるときにエネルギーを方向付けするようにも働く。
【0014】
重要なこととして、ケーブルクランプ31は、異なる長さのストリップで作られ、そして特定のコネクタに必要なケーブル27の本数に適合するように所望の長さLに切断される。更に、以下に詳細に述べるように、クランプ31は、型に容易に挿入されて、その上に最終的なコネクタ本体がモールドされる。コネクタ20の後端25付近の位置において、コンタクト組立体29の上に最終的なコネクタ本体がモールドされるときには、クランプ31は、ケーブル27のストレインレリーフとして働くと共に、コネクタ20の後端25の一部分を形成する助けもする。
【0015】
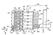
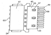
図3Aは、コネクタ20に使用されるコンタクト組立体29を示す部分断面上面図である。コンタクト組立体29は、型抜き成形された複数の個々の導電性信号端子43を支持する絶縁フレーム即ち支持部材40を備え、各導電性信号端子43は、一対のコンタクトアーム44を有し、そのコンタクト面即ちポイント45は、チャンネル59内に配置され、そしてそれに対応するピン即ち雄コンタクト部材46(仮想線で示す)の巾、厚み又は直径より小さい所定の距離だけ互いに離間される。このように、コンタクト組立体29と、同数のピン46とが係合すると、ピン46の押し込み作用のもとでコンタクトアーム44が互いに若干広げられる。コンタクトアーム44は、コンタクト面45において、それらのバネ力及び最初の至近離間構成によりピン46に係合する。コネクタ20の前端24には、支持部材40のチャンネル59に連通するスロット60が形成される。これらのスロット60は、コネクタ20の前端24に連通しそしてそこで開いており、相手コネクタ(図示せず)の導電性の雄コンタクト部材46を受け入れることができる。
【0016】
各導電性信号端子43は、後方に延びて、細長いレッグ部分48を含み、これは、テール部分49で終わる。全ての導電性信号端子43において、レッグ部分48は、隣接導電性信号端子43のレッグ部分48から分離され、単一のテール部分49が単一の導電性信号端子43に関連される。プレート部材51の形態の分離部材は、導電性信号端子43を、同数のチャンネル59内で所定の整列状態に保持するように働く。プレート部材51には開口52が設けられ、これは、プレート部材51における導電性信号端子43の適切な配置を目で確認できるようにすると共に、個々の導電性信号端子43の継続性をテストする手段も構成する。これらの「信号」導電性信号端子43のテール部分49は、プレート部材51の後面53を越えて特定の距離だけ延び、ケーブルワイヤ28のリードを対応テール部分49に終端できるようにする。
【0017】
図3Bに示すように、コンタクト組立体29の反対側には、導電性プレート55の形態の接地即ちシールド部材が設けられる。この接地プレート55には、プレート部材51の反対面に配置された一連のポスト57を締りばめ等により受け入れるための一連の開口56が形成されている。接地プレート55には複数のテール部分58が形成され(接地プレート55から型抜き成形されてもよい)、これらテール部分は、プレート部材51の後面53を越えて後方に延びる。これらテール部分58は、導電性信号端子43の隣接テール部分49間の介在スペース内に延びるように所定のパターンで方向付けされる。
【0018】
接地プレート55は、更に、参照番号61で示すようにコンタクト組立体29の前面60に向かって延び、導電性信号端子43の効果的な信号分離を与える。図4に示すように、接地プレートのテール部分58は、コンタクトのテール部分49と整列され且つ好ましくはそれと同じ平面内に存在するように、若干オフセット式に曲げられる。この同一平面性が図12に示されている。この同一平面構成は、ケーブル27の個々の信号ワイヤ28及び接地シールド80の溶接又は半田付けを容易にする。更に、この同一平面構成は、導電性信号端子43間のクロストーク又は干渉を低減する。というのは、接地プレートのテール部分58及び導電性信号端子のテール部分49が同じレベルに配置され、公知の構成のように交互に上下に配置されてクロストークを誘発することがないからである。
【0019】
コネクタ20を組み立てるときには、ケーブルワイヤ28のリードを溶接又は半田付けのような適当なやり方でテール部分49、58に取り付ける。このプロセスにおいて、信号リードは、それに対応する導電性信号端子のテール部分49に取り付け、そして接地シールドは、それに対応する接地テール部分58に取り付け、交互に信号−接地−信号−接地という構成にして、適切な信号分離を確保する。図12に示すように、ケーブル27の信号ワイヤは、「S」においてコンタクトテール部分49に取り付けられ、そして接地又はドレインリードは、「G」において接地テール部分58に取り付けられる。
【0020】
ケーブルクランプ31は、コンタクト組立体29に取り付ける前にワイヤ28に取り付けられる。このように取り付けられると、クランプ31は、個々のケーブルを終端のための適切なピッチに配列する。ケーブルクランプ31は、コンタクト組立体29から離間され、それらの間に介在スペースが形成される。コンタクト組立体29のテール部分と、ケーブルワイヤ及び接地部材の終端とは、この介在スペースへと延びる。次いで、ケーブルクランプ31及びコンタクト組立体29は、全組立体として型に挿入され、そして全コネクタ本体部分22の絶縁性延長部即ちブリッジ部分65がコンタクト組立体29及びその関連プレート部材51上にオーバーモールドされる。この延長部65は、テール部分及びプレート部材51上にオーバーモールドされる。又、ケーブル組立体30及びその関連ケーブルクランプ31上にもオーバーモールドされ、それ故、ケーブルクランプ31を支持部材40に一体的に相互接続する。このオーバーモールド作業は、図3及び図4に「OM」と示された範囲で行なわれ、ケーブルワイヤ28のリード及びそれに取り付けられたテール部分49、58をカプセル状に包囲する。ブリッジ部分65をモールドする付加的な絶縁材料は、ケーブルクランプ31と支持部材40との間の介在スペースを満たし、ひいては、ケーブルワイヤ及び接地部材とテール部分49、58との終端部をカプセル状に包囲する。
【0021】
組み立てプロセス中に、ケーブルクランプ31は、ケーブル27のストレインレリーフ部材として働くと共に、型の遮蔽部としても働く。又、クランプ31は、クランプ31の後面33が型空洞に配置されて、図5に示すように型空洞の後壁と一致して延びるので、コンタクト及びケーブル組立体29、30を型空洞に適切に位置設定する助けもする。これにより形成されるコネクタ20は、ケーブルクランプ31をその本体部分22に一体化する。この一体化を助けるために、ケーブルクランプ31は、介在する溝即ち谷部分71で分離された外部ランド部分70を有してもよい。これらの谷部分71は、ケーブルクランプ31と結合するモールド材料を受け入れて、コネクタ本体部分22を構造上堅牢なものにする。更に、外部ランド部分70は、最終的なコネクタ20の全外面の一部分を形成するように働く。
本発明の好適な実施形態を図示して説明したが、当業者であれば、請求の範囲に規定された本発明の精神及び範囲から逸脱せずに種々の変更や修正がなされ得ることが明らかであろう。
【図面の簡単な説明】
【図1】本発明の原理に基づいて形成されたウエハーコネクタの斜視図である。
【図2】ウエハーサブ組立体と、このウエハーサブ組立体から分離されたケーブルクランプに保持されたワイヤケーブルとを示す分解図である。
【図3A】図2のウエハーサブ組立体にケーブルが整列されそして接触された状態を示す上面図である。
【図3B】図2のウエハーサブ組立体の下面図である。
【図4】図3の4−4線に沿った側面図である。
【図5】図1のウエハーコネクタの上面図で、ウエハーコネクタ本体内にモールドされたケーブルの位置を示す図である。
【図6】図5の6−6線に沿ったウエハーコネクタの側面図である。
【図7】図1のウエハーコネクタに使用されるケーブルクランプの一部分を示す斜視図である。
【図8】図7と同様のケーブルクランプの斜視図であるが、3本のワイヤに適用され、そしてケーブルクランプの2つの半部分を接合してケーブルを特定の位置及び間隔に維持した状態を示す図である。
【図9】図8のケーブルクランプの別の実施形態を示す図である。
【図10】本発明のウエハーコネクタに使用されるケーブルクランプの別の実施形態を示す図である。
【図11】図5の11−11線に沿ったコネクタの端面図である。
【図12】図5のコネクタの端面図であるが、コネクタの前面を示すと共に、コネクタにおける導電性信号端子及び接地コンタクトの1つの好ましい配列を概略的に示す図である。
Claims (17)
- コネクタハウジング及びそこに配置された複数の導電性信号端子を備え、絶縁材料で形成されたコネクタ支持部材を更に備え、この支持部材は、第1及び第2の支持面を有すると共に、互いに逆の第1及び第2端を有し、上記支持部材の第1面に配置された複数の導電性信号端子を有する電気的コンタクト組立体を更に備え、各導電性信号端子は、コンタクト部分と、そこから長手方向に上記支持部材の第2端を越えて延びる細長い第1テール部分とを有し、上記支持部材の第2面に配置されたシールドプレートを有する接地組立体を更に備え、シールドプレートは、上記支持部材の第2端を越えて長手方向に延びる複数の第2テール部分を有し、上記シールドプレートの第2テール部分及び上記導電性信号端子の第1テール部分は、共通の平面内に存在し、上記支持部材の後方でクランプ部材により離間関係に維持された複数のケーブルを更に備え、クランプ部材は絶縁材料で形成され、各ケーブルは、上記第1及び第2のテール部分に電気的に接続された少なくとも1つの導体を含み、上記支持部材及びクランプ部材にモールドされた絶縁材料で形成されたブリッジ部分を更に備え、このブリッジ部分は、上記支持部材とクランプ部材との間に延び、上記ブリッジ部分は、上記支持部材及びクランプ部材の両方の少なくとも一部分を包囲し、そして上記ブリッジ部分は、上記支持部材及びクランプ部材を上記コネクタハウジングへと互いに一体的に接合することを特徴とする電気ケーブルコネクタ。
- 上記コネクタハウジングは、上記ケーブルが延びるところの後壁を含み、コネクタハウジングのこの後壁は、上記ブリッジ部分及びクランプ部材の上記一部分の協働により形成される請求項1に記載の電気ケーブルコネクタ。
- 上記支持部材及びクランプ部材は、介在スペースにより分離され、そして上記第1及び第2の端子テール部分は、上記介在スペースにおいて交互に配置されて、各第2テール部分が第1テール部分に隣接するようにする請求項1に記載の電気ケーブルコネクタ。
- 上記ブリッジ部分は、上記支持部材の一部分、上記クランプ部材の一部分、及び上記第1及び第2テール部分の上にモールドされ、上記ブリッジ部分は、上記第1及び第2テール部分をカプセル状に包囲する請求項1に記載の電気ケーブルコネクタ。
- 上記クランプ部材は、ほぼ上記コネクタハウジングの巾にわたって延びる細長いベース部分を含み、クランプ部材のこのベース部分には一連の溝が形成され、各溝は、少なくとも1つのケーブルを受け入れる請求項1に記載の電気ケーブルコネクタ。
- 上記クランプ部材のベース部分は、第1及び第2の半部分を含み、これら第1及び第2の半部分は、これら2つの半部分を方向付けして嵌合するための手段を含む請求項5に記載の電気ケーブルコネクタ。
- 上記方向付けして嵌合する手段は、上記2つの半部分に形成された対向するポスト及び開口の組を含む請求項6に記載の電気ケーブルコネクタ。
- 上記ベース部分の外面には一連の溝が形成され、この溝は、上記コネクタ本体部の一部分を受け入れる請求項5に記載の電気ケーブルコネクタ。
- 上記支持部材は、上記第1面に配置された複数のチャンネルを含み、各チャンネルは、上記導電性信号端子の1つを受け入れ、そして上記シールド部材は、上記支持部材の第2面を横切って延びるプレート部分を含む請求項1に記載の電気ケーブルコネクタ。
- 絶縁性支持部材を含むコンタクト組立体を備え、支持部材の第1面には複数の導電性信号端子が配置されそして支持部材の第2の反対面には接地コンタクト部材が配置され、支持部材は互いに逆の第1及び第2端を有し、導電性信号端子は、支持部材の第1端付近で離間された状態で配列され、導電性信号端子は、更に、支持部材の第2端付近に配置されてそれを越えて延びるテール部分を有し、上記接地コンタクト部材は、支持部材の第2端付近に配置されてそれを越えて延びる複数のテール部分を有し、上記導電性信号端子及び接地コンタクト部材のテール部分は、ほぼ共通の平面に配列され、
更に、複数のケーブルを備え、各ケーブルは、信号ワイヤ終端をもつ少なくとも1つの信号ワイヤと、ケーブルの長さ全体にわたって延びる接地部材終端をもつ1つの接地部材とを有し、ケーブルの信号ワイヤ終端は、上記導電性信号端子のテール部分に電気的に接続され、そしてケーブルの接地部材終端は、少なくとも1つの接地部材終端が各信号ワイヤ終端に隣接する所定のパターンで上記接地コンタクト部材のテール部分に電気的に接続され、
更に、上記ケーブルに適用されそして上記支持部材の第2端の後方に離間されたクランプ部材を備え、このクランプ部材は、上記ケーブルを所定の間隔で保持し、そして
更に、コネクタハウジングを協働で画成するように上記支持部材及びクランプ部材の少なくとも一部分の上にモールドされた絶縁本体部を備え、コネクタハウジングは、上記導電性信号端子及び接地コンタクト部材のテール部分と、上記ケーブル信号ワイヤ及び接地部材の終端とをカプセル状に包囲し、これにより、上記導電性信号端子及び接地コンタクト部材のテール部分と、上記ケーブル信号ワイヤ及び接地部材の終端とを互いに絶縁することを特徴とする電気コネクタ組立体。 - 上記クランプ部材は、第1及び第2の相互係合する半部分を備え、これら半部分は、上記コネクタのケーブルの本数に対応する数の複数の内部溝を含み、これら内部溝は、介在するランド部分によって分離され、これらランド部分は、上記第1及び第2の半部分に係合するための手段を有する請求項10に記載の電気コネクタ組立体。
- 上記クランプ部材は、第1及び第2のクランプ部分を含み、これら2つの各クランプ部分には、複数の内部溝が配置されており、各溝は、1本のケーブルの半分を受け入れるに充分な巾を有し、上記ランド部分は、上記第1及び第2のクランプ部分を方向付けして一緒に嵌合するための手段を含む請求項10に記載の電気コネクタ組立体。
- 上記クランプ部材の外面には複数の溝が配置され、これら外部溝は、介在するランド部分により分離され、これら外部ランド部分は、上記コネクタハウジングの一部分を形成する請求項10に記載の電気コネクタ組立体。
- 上記クランプ部材の端壁は、上記コネクタハウジングの端壁の一部分を形成し、そして上記クランプ部材の端壁は、型空洞の対向面に係合することができる請求項10に記載の電気コネクタ組立体。
- 上記クランプ部材の2つの半部分は外面を含み、上記クランプ部材の半部分の外面は、上記コネクタ本体の外面の一部分を少なくとも部分的に画成するように働く請求項11に記載の電気コネクタ組立体。
- 上記クランプ部材及び上記支持部材は、介在するスペースによって互いに離間され、上記導電性信号端子及び接地コンタクト部材のテール部分と、上記ケーブル信号ワイヤ及び接地部材の終端との両方が上記介在スペースへと延び、上記本体部分は、上記支持部材と上記クランプ部材との間に延び、そして上記介在スペースを満たし、これにより、上記導電性信号端子及び接地コンタクト部材のテール部分と、上記ケーブル信号ワイヤ及び接地部材の終端とをカプセル状に包囲する請求項10に記載の電気コネクタ組立体。
- 低干渉特性の電気ケーブルコネクタにおいて、
絶縁材料で形成され、第1及び第2の面が第1及び第2の互いに逆の端間に延びているコネクタ支持部材を備え、そして
電気コンタクト組立体を更に備え、このコンタクト組立体は、上記支持部材の第1面に保持された複数の導電性であって、関連する第1テール部分を各々有する導電性信号端子と、上記支持部材の第2面に配置された共通のシールドプレートを含み、このシールドプレートには、複数の第2のテール部分が関連され、上記第1及び第2のテール部分は、上記支持部材の第2端を越えて長手方向に延び、上記シールドプレートの第2テール部分及び上記コンタクトの第1テール部分は、信号ワイヤ及び接地ワイヤに終端するために共通の平面に存在し、
更に、上記支持部材の後方でクランプ部材により離間関係に維持された複数のケーブルが接続され、各ケーブルは、一対の個別の信号ワイヤと、接地部材とを含み、上記ケーブルの信号ワイヤ及び接地部材は、上記コンタクト組立体の第1及び第2テール部分に各々接続される終端を有し、上記コンタクト組立体の第1及び第2テール部分と、上記ケーブル信号ワイヤ及び接地部材の終端とは、上記支持部材の後縁と、上記ケーブルに適用されるクランプ部材の前縁とで画成された介在スペースに向かって上記支持部材の後方に延び、上記コネクタは、更に、上記支持部材とクランプ部材を相互接続する個別のコネクタ本体部分を含み、このコネクタ本体部分は、上記介在スペースを満たすと共に、上記コンタクト組立体の第1及び第2テール部分と、上記ケーブル信号ワイヤ及び接地部材の終端とをカプセル状に包囲し、
上記コネクタ本体部分は絶縁材料で形成され、そして上記支持部材及びクランプ部材の一部分の上にモールドされる電気ケーブルコネクタ。
Applications Claiming Priority (2)
| Application Number | Priority Date | Filing Date | Title |
|---|---|---|---|
| US09/461,833 US6203376B1 (en) | 1999-12-15 | 1999-12-15 | Cable wafer connector with integrated strain relief |
| US09/461,833 | 1999-12-15 |
Publications (2)
| Publication Number | Publication Date |
|---|---|
| JP2001230018A JP2001230018A (ja) | 2001-08-24 |
| JP3565166B2 true JP3565166B2 (ja) | 2004-09-15 |
Family
ID=23834108
Family Applications (1)
| Application Number | Title | Priority Date | Filing Date |
|---|---|---|---|
| JP2000404230A Expired - Fee Related JP3565166B2 (ja) | 1999-12-15 | 2000-12-14 | 電気ケーブルコネクタ |
Country Status (4)
| Country | Link |
|---|---|
| US (1) | US6203376B1 (ja) |
| EP (1) | EP1109253B1 (ja) |
| JP (1) | JP3565166B2 (ja) |
| DE (1) | DE60021845T2 (ja) |
Families Citing this family (56)
| Publication number | Priority date | Publication date | Assignee | Title |
|---|---|---|---|---|
| US6428344B1 (en) * | 2000-07-31 | 2002-08-06 | Tensolite Company | Cable structure with improved termination connector |
| US6354879B1 (en) * | 2000-10-05 | 2002-03-12 | Ball Aerospace & Technologies Corp. | Connector for shielded conductors |
| US6887104B2 (en) * | 2002-11-12 | 2005-05-03 | Hon Hai Precision Ind. Co., Ltd. | Cable end connector assembly and the method of making the same |
| TW573840U (en) * | 2002-11-15 | 2004-01-21 | Hon Hai Prec Ind Co Ltd | Cable connector |
| US6955565B2 (en) * | 2002-12-30 | 2005-10-18 | Molex Incorporated | Cable connector with shielded termination area |
| US6793520B1 (en) * | 2003-03-20 | 2004-09-21 | Hon Hai Precision Ind. Co., Ltd | Cable end connector assembly with strain relief |
| US6893295B1 (en) * | 2003-12-23 | 2005-05-17 | Molex Incorporated | Connector with integrated strain relief |
| US6939165B1 (en) | 2004-07-22 | 2005-09-06 | Hon Hai Precision Ind. Co., Ltd. | Cable connector assembly with cable holder |
| US7134908B2 (en) * | 2004-07-23 | 2006-11-14 | Hon Hai Precision Ind. Co., Ltd. | Single-port to multi-port cable assembly |
| USD521456S1 (en) * | 2004-11-16 | 2006-05-23 | Pent Technologies, Inc. | Female plug configuration |
| DE102005009442A1 (de) * | 2005-03-02 | 2006-09-14 | Hirschmann Automotive Gmbh | Steckverbinder mit einer Crimp-Abdichtung und/oder einer Kabelhalterung |
| JP5107256B2 (ja) * | 2006-11-24 | 2012-12-26 | 株式会社オートネットワーク技術研究所 | シールド導電体 |
| US7485012B2 (en) * | 2007-06-28 | 2009-02-03 | Delphi Technologies, Inc. | Electrical connection system having wafer connectors |
| ATE490577T1 (de) * | 2007-10-04 | 2010-12-15 | 3M Innovative Properties Co | Eine auf dem gebiet der telekommunikation an einen verbinder anfügbare abschirmung, eine kombination des verbinders und mindestens einer abschirmung und verfahren zum abschirmen eines verbinders |
| US7438597B1 (en) * | 2008-04-23 | 2008-10-21 | International Business Machines Corporation | EMC clamp for three exit backshell |
| JP4565031B2 (ja) * | 2008-09-17 | 2010-10-20 | 山一電機株式会社 | 高速伝送用コネクタ、高速伝送コネクタ用プラグ、および、高速伝送コネクタ用ソケット |
| US9011177B2 (en) * | 2009-01-30 | 2015-04-21 | Molex Incorporated | High speed bypass cable assembly |
| CN101483289B (zh) * | 2009-02-17 | 2011-03-23 | 信音电子(中国)股份有限公司 | 一种直流电连接器的组装方法及直流电连接器 |
| JP5293644B2 (ja) * | 2010-03-02 | 2013-09-18 | 住友電装株式会社 | ワイヤハーネスの配索構造 |
| JP5212499B2 (ja) * | 2010-09-08 | 2013-06-19 | 第一精工株式会社 | 電気コネクタ及びその製造方法 |
| JP5640912B2 (ja) * | 2011-07-01 | 2014-12-17 | 山一電機株式会社 | コンタクトユニット、および、それを備えるプリント回路板用コネクタ |
| CN103515749A (zh) * | 2012-06-19 | 2014-01-15 | 凡甲电子(苏州)有限公司 | 端子模组及具有该端子模组的线缆连接器组件 |
| US9831588B2 (en) | 2012-08-22 | 2017-11-28 | Amphenol Corporation | High-frequency electrical connector |
| US9142921B2 (en) | 2013-02-27 | 2015-09-22 | Molex Incorporated | High speed bypass cable for use with backplanes |
| US9859659B2 (en) | 2013-07-10 | 2018-01-02 | Molex, Llc | Wafer connector with grounding clamp |
| WO2015035052A1 (en) | 2013-09-04 | 2015-03-12 | Molex Incorporated | Connector system with cable by-pass |
| US9246286B2 (en) * | 2013-09-25 | 2016-01-26 | Virginia Panel Corporation | High speed data module for high life cycle interconnect device |
| CN104022399B (zh) * | 2014-05-29 | 2016-06-22 | 立讯精密工业(昆山)有限公司 | 插头连接器 |
| TW201613203A (en) * | 2014-09-29 | 2016-04-01 | Foxconn Interconnect Technology Ltd | Electrical connector assembly and assembling method of the same |
| US9685736B2 (en) | 2014-11-12 | 2017-06-20 | Amphenol Corporation | Very high speed, high density electrical interconnection system with impedance control in mating region |
| TWI617098B (zh) | 2015-01-11 | 2018-03-01 | Molex Llc | Board connector, connector and bypass cable assembly |
| WO2016112379A1 (en) | 2015-01-11 | 2016-07-14 | Molex, Llc | Circuit board bypass assemblies and components therefor |
| US10739828B2 (en) | 2015-05-04 | 2020-08-11 | Molex, Llc | Computing device using bypass assembly |
| CN108713355B (zh) | 2016-01-11 | 2020-06-05 | 莫列斯有限公司 | 路由组件及使用路由组件的系统 |
| US10424878B2 (en) | 2016-01-11 | 2019-09-24 | Molex, Llc | Cable connector assembly |
| US11151300B2 (en) | 2016-01-19 | 2021-10-19 | Molex, Llc | Integrated routing assembly and system using same |
| TWI790785B (zh) | 2016-05-31 | 2023-01-21 | 美商安芬諾股份有限公司 | 電終端、纜線總成以及纜線端接方法 |
| CN110088985B (zh) | 2016-10-19 | 2022-07-05 | 安费诺有限公司 | 用于超高速高密度电互连的柔性屏蔽件 |
| TW202510437A (zh) | 2017-08-03 | 2025-03-01 | 美商安芬諾股份有限公司 | 電纜總成及電子系統中的電纜總成 |
| TWI902126B (zh) | 2017-11-14 | 2025-10-21 | 美商山姆科技公司 | 連接器、資料通訊系統、安裝連接器之方法、電性構件及建構電性構件之方法 |
| US10665973B2 (en) | 2018-03-22 | 2020-05-26 | Amphenol Corporation | High density electrical connector |
| CN112514175B (zh) | 2018-04-02 | 2022-09-09 | 安达概念股份有限公司 | 受控阻抗顺应性线缆终端头 |
| US10790619B2 (en) * | 2018-07-12 | 2020-09-29 | Cinch Connectors, Inc. | Shielded cable system for the shielding and protection against emi-leakage and impedance control |
| TWM611526U (zh) | 2018-09-04 | 2021-05-11 | 美商山姆科技公司 | 互連系統 |
| US10931062B2 (en) | 2018-11-21 | 2021-02-23 | Amphenol Corporation | High-frequency electrical connector |
| WO2020154526A1 (en) | 2019-01-25 | 2020-07-30 | Fci Usa Llc | I/o connector configured for cabled connection to the midboard |
| WO2020154507A1 (en) | 2019-01-25 | 2020-07-30 | Fci Usa Llc | I/o connector configured for cable connection to a midboard |
| CN113728521B (zh) | 2019-02-22 | 2025-03-18 | 安费诺有限公司 | 高性能线缆连接器组件 |
| US10873160B2 (en) * | 2019-05-06 | 2020-12-22 | Te Connectivity Corporation | Receptacle assembly having cabled receptacle connector |
| US11735852B2 (en) | 2019-09-19 | 2023-08-22 | Amphenol Corporation | High speed electronic system with midboard cable connector |
| US11469554B2 (en) | 2020-01-27 | 2022-10-11 | Fci Usa Llc | High speed, high density direct mate orthogonal connector |
| WO2021154702A1 (en) | 2020-01-27 | 2021-08-05 | Fci Usa Llc | High speed connector |
| CN113258325A (zh) | 2020-01-28 | 2021-08-13 | 富加宜(美国)有限责任公司 | 高频中板连接器 |
| TW202224285A (zh) | 2020-11-02 | 2022-06-16 | 美商山姆科技公司 | 撓曲電路和與其相關之電氣通訊組件 |
| USD1002553S1 (en) | 2021-11-03 | 2023-10-24 | Amphenol Corporation | Gasket for connector |
| US11876363B2 (en) * | 2022-02-11 | 2024-01-16 | Eric Wilfred Moore | Audio video cable holder |
Family Cites Families (12)
| Publication number | Priority date | Publication date | Assignee | Title |
|---|---|---|---|---|
| US4580869A (en) | 1980-08-04 | 1986-04-08 | Star-Tron Corporation | Connector and method of making it |
| US4602831A (en) | 1983-09-26 | 1986-07-29 | Amp Incorporated | Electrical connector and method of making same |
| US4615578A (en) * | 1984-12-05 | 1986-10-07 | Raychem Corporation | Mass termination device and connection assembly |
| US4767352A (en) | 1986-08-28 | 1988-08-30 | Minnesota Mining And Manufacturing Company | Integrally molded cable termination assembly, contact and method |
| US4860445A (en) | 1989-02-09 | 1989-08-29 | Gte Products Corporation | Method of mounting electrical contacts in connector body |
| US5100347A (en) * | 1989-05-03 | 1992-03-31 | E. I. Du Pont De Nemours And Company | Method and apparatus for providing a cable assembly seal and strain relief |
| US4976628A (en) * | 1989-11-01 | 1990-12-11 | Amp Incorporated | Modules for cable assemblies |
| US5038001A (en) | 1990-03-13 | 1991-08-06 | Amp Incorporated | Feature for orientation of an electrical cable |
| US5281762A (en) * | 1992-06-19 | 1994-01-25 | The Whitaker Corporation | Multi-conductor cable grounding connection and method therefor |
| JP3415889B2 (ja) * | 1992-08-18 | 2003-06-09 | ザ ウィタカー コーポレーション | シールドコネクタ |
| US5328386A (en) * | 1993-06-08 | 1994-07-12 | Frantz Robert H | Wire organizer for ballast connector |
| US5806179A (en) | 1996-02-20 | 1998-09-15 | Alps Electric (Usa), Inc. | Method for connecting a cable to a printed circuit board |
-
1999
- 1999-12-15 US US09/461,833 patent/US6203376B1/en not_active Expired - Lifetime
-
2000
- 2000-12-07 EP EP00126826A patent/EP1109253B1/en not_active Expired - Lifetime
- 2000-12-07 DE DE60021845T patent/DE60021845T2/de not_active Expired - Fee Related
- 2000-12-14 JP JP2000404230A patent/JP3565166B2/ja not_active Expired - Fee Related
Also Published As
| Publication number | Publication date |
|---|---|
| EP1109253A2 (en) | 2001-06-20 |
| EP1109253B1 (en) | 2005-08-10 |
| JP2001230018A (ja) | 2001-08-24 |
| EP1109253A3 (en) | 2003-11-26 |
| US6203376B1 (en) | 2001-03-20 |
| DE60021845D1 (de) | 2005-09-15 |
| DE60021845T2 (de) | 2006-01-26 |
Similar Documents
| Publication | Publication Date | Title |
|---|---|---|
| JP3565166B2 (ja) | 電気ケーブルコネクタ | |
| TWI817130B (zh) | 插接模組以及線纜連接器 | |
| JP2589135B2 (ja) | 電気コネクタ | |
| TWI840661B (zh) | 電連接器組合 | |
| EP1964216B1 (en) | Connector family for board mounting and cable applications | |
| JP2525660B2 (ja) | 電気コネクタ組立体およびそれに使用する成端カバ― | |
| US6273758B1 (en) | Wafer connector with improved grounding shield | |
| US9991639B2 (en) | Wafer connector with grounding clamp | |
| US5378161A (en) | Tapered electrical connector | |
| US6893295B1 (en) | Connector with integrated strain relief | |
| US6840798B2 (en) | Shielding connector, a shielding connector system, a terminal fitting and use thereof | |
| JP2579149B2 (ja) | 電気コネクタ | |
| JP3296731B2 (ja) | ケーブルコネクタ組立体及びその製造方法 | |
| CN1069450C (zh) | 电缆连接件 | |
| CN110808493B (zh) | 电连接器 | |
| US5085595A (en) | Side entry cable assembly | |
| JP2992689B2 (ja) | 雄型コネクタ | |
| JPH0773924A (ja) | 電気コネクタ | |
| JP2000507384A (ja) | 高密度電気コネクタ | |
| JP2686652B2 (ja) | 多心同軸ケーブル用電気コネクタおよびその結線方法 | |
| US6672913B1 (en) | Plug connector and method for manufacturing the same | |
| US6179669B1 (en) | Molded receptacle for a daisy chain power cord assembly | |
| US6325681B1 (en) | Cable connector and contacts for cable connector | |
| EP1120867A2 (en) | High speed, shielded cable assembly | |
| JP3728424B2 (ja) | 電線接続型コネクタ |
Legal Events
| Date | Code | Title | Description |
|---|---|---|---|
| A521 | Written amendment |
Free format text: JAPANESE INTERMEDIATE CODE: A523 Effective date: 20040127 |
|
| A01 | Written decision to grant a patent or to grant a registration (utility model) |
Free format text: JAPANESE INTERMEDIATE CODE: A01 Effective date: 20040309 |
|
| R155 | Notification before disposition of declining of application |
Free format text: JAPANESE INTERMEDIATE CODE: R155 |
|
| A61 | First payment of annual fees (during grant procedure) |
Free format text: JAPANESE INTERMEDIATE CODE: A61 Effective date: 20040531 |
|
| R150 | Certificate of patent or registration of utility model |
Free format text: JAPANESE INTERMEDIATE CODE: R150 |
|
| FPAY | Renewal fee payment (event date is renewal date of database) |
Free format text: PAYMENT UNTIL: 20080618 Year of fee payment: 4 |
|
| FPAY | Renewal fee payment (event date is renewal date of database) |
Free format text: PAYMENT UNTIL: 20090618 Year of fee payment: 5 |
|
| FPAY | Renewal fee payment (event date is renewal date of database) |
Free format text: PAYMENT UNTIL: 20100618 Year of fee payment: 6 |
|
| FPAY | Renewal fee payment (event date is renewal date of database) |
Free format text: PAYMENT UNTIL: 20100618 Year of fee payment: 6 |
|
| FPAY | Renewal fee payment (event date is renewal date of database) |
Free format text: PAYMENT UNTIL: 20110618 Year of fee payment: 7 |
|
| FPAY | Renewal fee payment (event date is renewal date of database) |
Free format text: PAYMENT UNTIL: 20120618 Year of fee payment: 8 |
|
| LAPS | Cancellation because of no payment of annual fees |