JP3556762B2 - 車両のアクスルのハブ構造,ハブにおけるベアリング固定用治具及びベアリング固定用治具を用いたアクスル組立方法 - Google Patents
車両のアクスルのハブ構造,ハブにおけるベアリング固定用治具及びベアリング固定用治具を用いたアクスル組立方法 Download PDFInfo
- Publication number
- JP3556762B2 JP3556762B2 JP08528696A JP8528696A JP3556762B2 JP 3556762 B2 JP3556762 B2 JP 3556762B2 JP 08528696 A JP08528696 A JP 08528696A JP 8528696 A JP8528696 A JP 8528696A JP 3556762 B2 JP3556762 B2 JP 3556762B2
- Authority
- JP
- Japan
- Prior art keywords
- hub
- jig
- axle
- peripheral surface
- bearing
- Prior art date
- Legal status (The legal status is an assumption and is not a legal conclusion. Google has not performed a legal analysis and makes no representation as to the accuracy of the status listed.)
- Expired - Fee Related
Links
- 238000000034 method Methods 0.000 title claims description 9
- 230000002093 peripheral effect Effects 0.000 claims description 81
- 238000003780 insertion Methods 0.000 claims description 35
- 230000037431 insertion Effects 0.000 claims description 35
- 230000000694 effects Effects 0.000 description 1
Images
Landscapes
- Rolling Contact Bearings (AREA)
Description
【0001】
【発明の属する技術分野】
本発明は、自動車等の車両のアクスルのハブ構造,ハブにおけるベアリング固定用治具及びベアリング固定用治具を用いたアクスル組立方法に関し、組立作業性の向上及び品質の向上を図る技術に関する。
【0002】
【従来の技術】
自動車等の車両のリヤアクスルとして、図9に示すように、アクスルケース1の端部にハブ2が2つのテーパローラベアリング3,4を介して取り付けられ、前記アクスルケース2内に挿通されるアクスルシャフト5が前記ハブ2に締結具としてのボルト6により組み付けられる全浮動式のものがある。
【0003】
この全浮動式のリヤアクスルは、垂直、水平荷重、衝撃、ホイールに掛かる横力等は全てアクスルケース1が受け持つため、アクスルシャフト5は単に動力の伝達だけを受け持つだけであるという利点を有する。
【0004】
【発明が解決しようとする課題】
ところで、以上のようなリヤアクスルを組み立てるに際しては、アクスルケース1外周部にハブ2を挿通し、その後、アクスルケース1内側にアクスルシャフト5を挿通して、該アクスルシャフト5端部のフランジ部5Aをハブ2にボルト6により締結する。
【0005】
この場合、図10に示すように、アクスルケース1外周部にハブ2を挿通する前に、ハブ2内周面にオイルシール7とハブ挿通方向の前側に位置するテーパローラベアリング3(アウターレース3A、テーパローラ3B及びインナーレース3C)とを装着しておくが、ハブ挿通方向の後側に位置するテーパローラベアリング4は、アウターレース4Aのみを装着して、そのインナーレース4Cとテーパローラ4Bは取外しておく。
【0006】
これは、前記ハブ挿通方向の後側に位置するテーパローラベアリング4のインナーレース4Cとテーパローラ4Bとを装着したままでは、挿通時にテーパローラベアリング4のアウターレース4Aからインナーレース4Cとテーパローラ4Bとが離脱してしまうからである。
このため、ハブ挿通方向の後側に位置するテーパローラベアリング4のインナーレース4Cとテーパローラ4Bとは、アクスルケース1外周部にハブ2を挿通した後、アクスルケース1先端側から、該アクスルケース1外周面に装着して、この段階で、前記アウターレース4Aとインナーレース4Cとテーパローラ4Bとが組み付けられるようにしている。
【0007】
しかしながら、このような組立方法では、アクスルケース1外周部にハブ2を挿通する際の、該ハブ2とアクスルケース1両者のセンタリングが正確になされず、両者のセンターにズレが生じ易いため、挿通作業時に、オイルシール7やテーパローラベアリング3等のダメージを発生する虞があり、組立作業が容易ではないと共に、品質低下を来す虞があった。
【0008】
本発明は上記に鑑みてなされたものであり、自動車等の車両のアクスル組立に際して、アクスルケース外周部にハブを挿通する前に、ハブ内周面にシール部材とハブ挿通方向の前側に位置するベアリングのみならず、ハブ挿通方向の後側に位置するベアリングの全構成要素、即ち、アウターレースとローラとインナーレースを全て装着した状態とすることを可能にして、アクスルの組立作業の向上及び品質の向上を図ることを課題とする。
【0009】
【課題を解決するための手段】
このため、請求項1に係る発明は、
アクスルケースの端部にハブが2つのベアリングを介して取り付けられ、前記アクスルケース内に挿通されるアクスルシャフトが前記ハブに締結具により組み付けられた車両のアクスルにおいて、
前記ハブの内周面に、前記アクスルケースをハブ外周部に挿通する際に、挿通方向の後側に位置するベアリングのインナーレースを前記挿通方向と反対方向に移動不能に係止する着脱自由な治具の取付部を形成した。
【0010】
請求項2に係る発明は、
前記治具を、所定幅のリング状部材の外周面に、一条のねじ溝の如く螺旋状に延びる凹溝を形成した構成とし、前記治具の取付部は、ハブ内周面の直径方向に離間する2部位に軸方向に前記凹溝のねじピッチ分ずれて形成され、凹溝に嵌め合わされる突起とした。
【0011】
請求項3に係る発明は、
前記治具を、所定幅のリング状部材の外周面に、直径方向に離間する2部位から夫々周方向に沿って互いに異なる斜め方向に所定長さ延びる凹溝を形成し、該凹溝の一端部をその一端面にて開口し、他端部を閉止した構成とし、前記治具の取付部は、ハブ内周面の直径方向に離間する2部位の軸方向の同一位置に形成され、凹溝に嵌め合わされる突起とした。
【0012】
請求項4に係る発明は、
前記治具を、所定幅のリング状部材の外周面に、おねじ部を形成した構成であり、前記治具の取付部は、ハブ内周面に前記おねじ部に嵌合されるめねじ部とした。
請求項5に係る発明は、
前記治具を、略半円形状に湾曲され形成されたばね材からなる板部材の両端部に夫々相反する方向に突出するピンを固着取付し、かつこのピンの基端部に偏心カムを形成した構成とし、前記治具の取付部は、ハブ内周面の直径方向に離間する2部位の軸方向の同一位置に形成され、前記ピンが嵌入される溝とした。
【0013】
請求項6に係る発明は、
アクスルケースの端部にハブが2つのベアリングを介して取り付けられ、前記アクスルケース内に挿通されるアクスルシャフトが前記ハブに締結具により組み付けられた車両のアクスルにおいて、
前記ハブの内周面の取付部に着脱自由に取り付けられて、前記アクスルケース外周部に前記ハブを挿通する際に、挿通方向の後側に位置するベアリングのインナーレースを前記挿通方向と反対方向に移動不能に係止する構成とした。
【0014】
請求項7に係る発明は、
所定幅のリング状部材の外周面に、一条のねじ溝の如く螺旋状に延びる凹溝を形成した構成であり、該凹溝が、ハブ内周面の直径方向に離間する2部位に軸方向に前記凹溝のねじピッチ分ずれて形成された突起に嵌め合わされる構成とした。
【0015】
請求項8に係る発明は、
所定幅のリング状部材の外周面に、直径方向に離間する2部位から夫々周方向に沿って互いに異なる斜め方向に所定長さ延びる凹溝を形成し、該凹溝の一端部をその一端面にて開口し、他端部を閉止した構成であり、前記凹溝が、ハブ内周面の直径方向に離間する2部位の軸方向の同一位置に形成された突起に嵌め合わされる構成とした。
【0016】
請求項9に係る発明は、
所定幅のリング状部材の外周面に、おねじ部を形成した構成であり、該おねじ部が、ハブ内周面に形成されためねじ部に嵌合される構成とした。
請求項10に係る発明は、
略半円形状に湾曲され形成されたばね材からなる板部材の両端部に夫々相反する方向に突出するピンを固着取付し、かつこのピンの基端部に偏心カムを形成した構成であり、前記ピンが、ハブ内周面の直径方向に離間する2部位の軸方向の同一位置に形成される溝に嵌入される構成とした。
【0017】
請求項11に係る発明は、
アクスルケースの端部にハブが2つのベアリングを介して取り付けられ、前記アクスルケース内に挿通されるアクスルシャフトが前記ハブに締結具により組み付けられた車両のアクスルを組み付けるに際して、
アクスルケース外周部にハブを挿通する前に、ハブ内周面にシール部材とハブ挿通方向の前側に位置するベアリングとを装着すると共に、ハブ挿通方向の後側に位置するベアリングのアウターレースとローラとを装着し、かつ該ベアリングのインナーレースをハブ内周面に着脱自由に取り付けられた治具により前記挿通方向と反対方向に移動不能に係止させ、アクスルケース外周部にハブを挿通した後に前記治具を取外すようにしたハブにおけるベアリング固定用治具を用いたアクスル組立方法とした。
【0018】
【発明の実施の形態】
以下、本発明の実施形態を図面に基づいて詳述する。
図8において、自動車等の車両のリヤアクスルは、アクスルケース1の端部にハブ2が2つのテーパローラベアリング3,4を介して取り付けられ、前記アクスルケース1内に挿通されるアクスルシャフト5が前記ハブ2にボルト6により組み付けられる構成は従来と同様である。
【0019】
ここで、ハブ2の内周面に着脱自由に取り付けられて、アクスルケース1外周部にハブ2を挿通する際に、挿通方向の後側に位置するテーパローラベアリング4のインナーレース4Cを前記挿通方向と反対方向に移動不能に係止する構成のベアリング固定用治具が設けられている。
このベアリング固定用治具としては、図1,図2,図3、図4及び図5に示す4つのものがある。
【0020】
これを順番に説明する。
図1のベアリング固定用治具10は、所定幅のリング状部材11の外周面に、一条のねじ溝の如く螺旋状に延びる凹溝12を形成した構成である。
このベアリング固定用治具10は、テーパローラベアリング4装着部近傍のハブ2の内周面に形成された2つの突起13A,13Bにその凹溝12を嵌め合わせることにより、ハブ2内周面に装着される。
【0021】
この場合、前記突起13A,13Bは、ハブ2内周面の直径方向に離間する2部位に軸方向に前記凹溝12のねじピッチ分ずれて形成される。
かかるベアリング固定用治具10をハブ2内周面に装着するには、凹溝12にハブ2内周面の突起13A,13Bを合わせ、この状態で治具10を回動すると、凹溝12内を突起13A,13Bが移動し、これによって、治具10は軸方向に進行して、テーパローラベアリング4のインナーレース4Cに当接し、該インナーレース4Cを前記挿通方向と反対方向に移動不能に係止する。
【0022】
図2のベアリング固定用治具14は、所定幅のリング状部材15の外周面に、直径方向に離間する2部位から夫々周方向に沿って互いに異なる斜め方向に所定長さ(例えば、円周の1/4)延びる凹溝16を形成し、この凹溝16の一端部をその一端面にて開口し、他端部を閉止した構成である。
このベアリング固定用治具14は、テーパローラベアリング4装着部近傍のハブ2の内周面に形成された2つの突起17にその2つの凹溝16を嵌め合わせることにより、ハブ2内周面に装着される。
【0023】
この場合、前記突起17は、ハブ2内周面の直径方向に離間する2部位の軸方向の同一位置に形成される。
かかるベアリング固定用治具14をハブ2内周面に装着するには、凹溝16の開口位置にハブ2内周面の突起17を合わせ、この状態で治具14を回動すると、凹溝16内を突起17が移動し、これによって、治具10は軸方向に進行して、テーパローラベアリング4のインナーレース4Cに当接し、該インナーレース4Cを前記挿通方向と反対方向に移動不能に係止する。
【0024】
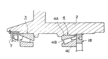
図3のベアリング固定用治具18は、所定幅のリング状部材19の外周面に、おねじ部20を形成した構成である。
このベアリング固定用治具18は、テーパローラベアリング4装着部近傍のハブ2の内周面に形成されためねじ部21にそのおねじ部20を嵌合することにより、ハブ2内周面に装着される。
【0025】
即ち、治具18をねじ込んでいくと、治具18は軸方向に進行して、テーパローラベアリング4のインナーレース4Cに当接し、該インナーレース4Cを前記挿通方向と反対方向に移動不能に係止する。
尚、図1〜図3に示した治具10,14,18においては、治具10,14,18の着脱時にこれを回動動作させるための工具の係合穴22,23,24が夫々端面の直径方向に離間する2部位に形成されている。
【0026】
図4及び図5のベアリング固定用治具25は、略半円形状に湾曲され形成されたばね材からなる板部材26の両端部に夫々相反する方向に突出するピン27を固着取付し、かつこのピン27の基端部に偏心カム28を形成した構成である。この場合、前記偏心カム28は、板部材26の両端部を結ぶ線に対して90度の角度ずれた方向に長軸が延びるような略長円形断面を有する形状に形成される。
【0027】
尚、偏心カム28は、ピン27に一体成形しても良いし、ピン27とは別体に形成して、該ピン27に嵌合取付するようにしても良い。
又、前記板部材26の両端部間の中間部には、治具25の操作用のつまみ部29が設けられている。
このベアリング固定用治具25は、その両端部のピン27を、テーパローラベアリング4装着部近傍のハブ2の内周面に形成された2つの溝30に嵌め合わせることにより、ハブ内周面に装着される。
【0028】
この場合、前記溝30は、ハブ2内周面の直径方向に離間する2部位の軸方向の同一位置に形成される。
かかるベアリング固定用治具25をハブ2内周面に装着するには、板部材26をその両端部間の間隔が狭められるように押し縮め、両端部のピン27をハブ2内周面の溝30に嵌入させる。この状態では、偏心カム28の長軸はテーパローラベアリング4のインナーレース4C端面と平行する方向に延びている。そして、板部材26を90度回動させると、偏心カム28は、その長軸がテーパローラベアリング4のインナーレース4C端面と直交する方向に延びた位置となって、テーパローラベアリング4のインナーレース4Cに当接し、該インナーレース4Cを前記挿通方向と反対方向に移動不能に係止する。
【0029】
尚、図4(B)において、A,Bの寸法は、A<Bに設定する。
車両のアクスルを組み付けるに際して、以上の各図に示されたベアリング固定用治具を用いる場合、次のようにする。
例えば、図3のベアリング固定用治具18を例にとって説明すると、アクスルケース1外周部にハブ2を挿通する前に、図6に示すように、ハブ2内周面にオイルシール7とハブ挿通方向の前側に位置するテーパローラベアリング3とを装着すると共に、ハブ挿通方向の後側に位置するテーパローラベアリング4のアウターレース4Aとテーパローラ4Bとインナーレース4Cとを装着し、このインナーレース4Cをベアリング固定用治具18により前記挿通方向と反対方向に移動不能に係止させ、図7に示すようにアクスルケース1外周部にハブ2を挿通し終わった後に前記治具18を取外すようにする。
【0030】
このように、アクスルケース1外周部にハブ2を挿通する前に、ハブ2内周面にオイルシール7とハブ挿通方向の前側に位置するテーパローラベアリング3とを装着すると共に、ハブ挿通方向の後側に位置するテーパローラベアリング4のインナーレース4Cをベアリング固定用治具により係止させておく結果、アクスルケース1外周部にハブ2を挿通する際の、該ハブ2とアクスルケース1両者のセンタリングが正確になり、両者のセンターにズレが生じ難くなり、挿通作業時に、オイルシール7やテーパローラベアリング3等のダメージを発生する虞がなくなる。
【0031】
即ち、組立作業が容易となると共に、品質の向上を図ることが可能となる。
【0032】
【発明の効果】
以上説明したように、請求項1,6及び11に係る発明によれば、アクスルケース外周部にハブを挿通する際の、該ハブとアクスルケース両者のセンタリングが正確になり、両者のセンターにズレが生じ難くなり、挿通作業時に、オイルシールやベアリング等のダメージを発生する虞がなくなり、組立作業が容易となると共に、品質の向上を図ることが可能となる。
【0033】
請求項2,3,7及び8に係る発明によると、リング状部材の回動により、ハブ挿通方向の後側に位置するベアリングのインナーレースの係止を容易に行え、しかも、ハブ側は凹溝を設けるだけの構成であるから、ハブの製作性に優れている。
請求項4及び9に係る発明によると、リング状部材の回動により、ハブ挿通方向の後側に位置するベアリングのインナーレースの係止を容易に行える。
【0034】
請求項5及び10に係る発明によると、板部材の回動により、ハブ挿通方向の後側に位置するベアリングのインナーレースの係止を容易に行え、しかも、ハブ側は溝を設けるだけの構成であるから、ハブの製作性に優れている。
【図面の簡単な説明】
【図1】本発明の一実施形態を示す図で、(A)は側面断面図、(B)はベアリング固定用治具の装着状態を示す部分断面図
【図2】本発明の他の実施形態を示す図で、(A)は側面断面図、(B)はベアリング固定用治具の装着状態を示す部分断面図
【図3】本発明の更に他の実施形態を示す図で、(A)は側面断面図、(B)はベアリング固定用治具の装着状態を示す部分断面図
【図4】本発明の更に他の実施形態を示す図で、(A)は側面断面図、(B)はベアリング固定用治具の装着状態を示す部分断面図
【図5】同上の実施形態におけるベアリング固定用治具の斜視図
【図6】図3の実施形態におけるベアリング固定用治具を用いたハブ組立方法を示す側面断面図
【図7】図3の実施形態におけるベアリング固定用治具を用いたハブ組立方法を示す側面断面図
【図8】図3の実施形態におけるベアリング固定用治具を用いたハブ組立方法を示す側面断面図
【図9】従来のアクスル構造を示す側面断面図
【図10】従来のハブ組立方法を示す側面断面図
【符号の説明】
1 アクスルケース
2 ハブ
3,4 テーパローラベアリング
4C インナーレース
5 アクスルシャフト
6 ボルト
10 ベアリング固定用治具
11 リング状部材
12 凹溝
13A,13B 突起
14 ベアリング固定用治具
16 凹溝
17 突起
18 ベアリング固定用治具
19 リング状部材
20 おねじ部
21 めねじ部
25 ベアリング固定用治具
26 板部材
27 ピン
28 偏心カム
【発明の属する技術分野】
本発明は、自動車等の車両のアクスルのハブ構造,ハブにおけるベアリング固定用治具及びベアリング固定用治具を用いたアクスル組立方法に関し、組立作業性の向上及び品質の向上を図る技術に関する。
【0002】
【従来の技術】
自動車等の車両のリヤアクスルとして、図9に示すように、アクスルケース1の端部にハブ2が2つのテーパローラベアリング3,4を介して取り付けられ、前記アクスルケース2内に挿通されるアクスルシャフト5が前記ハブ2に締結具としてのボルト6により組み付けられる全浮動式のものがある。
【0003】
この全浮動式のリヤアクスルは、垂直、水平荷重、衝撃、ホイールに掛かる横力等は全てアクスルケース1が受け持つため、アクスルシャフト5は単に動力の伝達だけを受け持つだけであるという利点を有する。
【0004】
【発明が解決しようとする課題】
ところで、以上のようなリヤアクスルを組み立てるに際しては、アクスルケース1外周部にハブ2を挿通し、その後、アクスルケース1内側にアクスルシャフト5を挿通して、該アクスルシャフト5端部のフランジ部5Aをハブ2にボルト6により締結する。
【0005】
この場合、図10に示すように、アクスルケース1外周部にハブ2を挿通する前に、ハブ2内周面にオイルシール7とハブ挿通方向の前側に位置するテーパローラベアリング3(アウターレース3A、テーパローラ3B及びインナーレース3C)とを装着しておくが、ハブ挿通方向の後側に位置するテーパローラベアリング4は、アウターレース4Aのみを装着して、そのインナーレース4Cとテーパローラ4Bは取外しておく。
【0006】
これは、前記ハブ挿通方向の後側に位置するテーパローラベアリング4のインナーレース4Cとテーパローラ4Bとを装着したままでは、挿通時にテーパローラベアリング4のアウターレース4Aからインナーレース4Cとテーパローラ4Bとが離脱してしまうからである。
このため、ハブ挿通方向の後側に位置するテーパローラベアリング4のインナーレース4Cとテーパローラ4Bとは、アクスルケース1外周部にハブ2を挿通した後、アクスルケース1先端側から、該アクスルケース1外周面に装着して、この段階で、前記アウターレース4Aとインナーレース4Cとテーパローラ4Bとが組み付けられるようにしている。
【0007】
しかしながら、このような組立方法では、アクスルケース1外周部にハブ2を挿通する際の、該ハブ2とアクスルケース1両者のセンタリングが正確になされず、両者のセンターにズレが生じ易いため、挿通作業時に、オイルシール7やテーパローラベアリング3等のダメージを発生する虞があり、組立作業が容易ではないと共に、品質低下を来す虞があった。
【0008】
本発明は上記に鑑みてなされたものであり、自動車等の車両のアクスル組立に際して、アクスルケース外周部にハブを挿通する前に、ハブ内周面にシール部材とハブ挿通方向の前側に位置するベアリングのみならず、ハブ挿通方向の後側に位置するベアリングの全構成要素、即ち、アウターレースとローラとインナーレースを全て装着した状態とすることを可能にして、アクスルの組立作業の向上及び品質の向上を図ることを課題とする。
【0009】
【課題を解決するための手段】
このため、請求項1に係る発明は、
アクスルケースの端部にハブが2つのベアリングを介して取り付けられ、前記アクスルケース内に挿通されるアクスルシャフトが前記ハブに締結具により組み付けられた車両のアクスルにおいて、
前記ハブの内周面に、前記アクスルケースをハブ外周部に挿通する際に、挿通方向の後側に位置するベアリングのインナーレースを前記挿通方向と反対方向に移動不能に係止する着脱自由な治具の取付部を形成した。
【0010】
請求項2に係る発明は、
前記治具を、所定幅のリング状部材の外周面に、一条のねじ溝の如く螺旋状に延びる凹溝を形成した構成とし、前記治具の取付部は、ハブ内周面の直径方向に離間する2部位に軸方向に前記凹溝のねじピッチ分ずれて形成され、凹溝に嵌め合わされる突起とした。
【0011】
請求項3に係る発明は、
前記治具を、所定幅のリング状部材の外周面に、直径方向に離間する2部位から夫々周方向に沿って互いに異なる斜め方向に所定長さ延びる凹溝を形成し、該凹溝の一端部をその一端面にて開口し、他端部を閉止した構成とし、前記治具の取付部は、ハブ内周面の直径方向に離間する2部位の軸方向の同一位置に形成され、凹溝に嵌め合わされる突起とした。
【0012】
請求項4に係る発明は、
前記治具を、所定幅のリング状部材の外周面に、おねじ部を形成した構成であり、前記治具の取付部は、ハブ内周面に前記おねじ部に嵌合されるめねじ部とした。
請求項5に係る発明は、
前記治具を、略半円形状に湾曲され形成されたばね材からなる板部材の両端部に夫々相反する方向に突出するピンを固着取付し、かつこのピンの基端部に偏心カムを形成した構成とし、前記治具の取付部は、ハブ内周面の直径方向に離間する2部位の軸方向の同一位置に形成され、前記ピンが嵌入される溝とした。
【0013】
請求項6に係る発明は、
アクスルケースの端部にハブが2つのベアリングを介して取り付けられ、前記アクスルケース内に挿通されるアクスルシャフトが前記ハブに締結具により組み付けられた車両のアクスルにおいて、
前記ハブの内周面の取付部に着脱自由に取り付けられて、前記アクスルケース外周部に前記ハブを挿通する際に、挿通方向の後側に位置するベアリングのインナーレースを前記挿通方向と反対方向に移動不能に係止する構成とした。
【0014】
請求項7に係る発明は、
所定幅のリング状部材の外周面に、一条のねじ溝の如く螺旋状に延びる凹溝を形成した構成であり、該凹溝が、ハブ内周面の直径方向に離間する2部位に軸方向に前記凹溝のねじピッチ分ずれて形成された突起に嵌め合わされる構成とした。
【0015】
請求項8に係る発明は、
所定幅のリング状部材の外周面に、直径方向に離間する2部位から夫々周方向に沿って互いに異なる斜め方向に所定長さ延びる凹溝を形成し、該凹溝の一端部をその一端面にて開口し、他端部を閉止した構成であり、前記凹溝が、ハブ内周面の直径方向に離間する2部位の軸方向の同一位置に形成された突起に嵌め合わされる構成とした。
【0016】
請求項9に係る発明は、
所定幅のリング状部材の外周面に、おねじ部を形成した構成であり、該おねじ部が、ハブ内周面に形成されためねじ部に嵌合される構成とした。
請求項10に係る発明は、
略半円形状に湾曲され形成されたばね材からなる板部材の両端部に夫々相反する方向に突出するピンを固着取付し、かつこのピンの基端部に偏心カムを形成した構成であり、前記ピンが、ハブ内周面の直径方向に離間する2部位の軸方向の同一位置に形成される溝に嵌入される構成とした。
【0017】
請求項11に係る発明は、
アクスルケースの端部にハブが2つのベアリングを介して取り付けられ、前記アクスルケース内に挿通されるアクスルシャフトが前記ハブに締結具により組み付けられた車両のアクスルを組み付けるに際して、
アクスルケース外周部にハブを挿通する前に、ハブ内周面にシール部材とハブ挿通方向の前側に位置するベアリングとを装着すると共に、ハブ挿通方向の後側に位置するベアリングのアウターレースとローラとを装着し、かつ該ベアリングのインナーレースをハブ内周面に着脱自由に取り付けられた治具により前記挿通方向と反対方向に移動不能に係止させ、アクスルケース外周部にハブを挿通した後に前記治具を取外すようにしたハブにおけるベアリング固定用治具を用いたアクスル組立方法とした。
【0018】
【発明の実施の形態】
以下、本発明の実施形態を図面に基づいて詳述する。
図8において、自動車等の車両のリヤアクスルは、アクスルケース1の端部にハブ2が2つのテーパローラベアリング3,4を介して取り付けられ、前記アクスルケース1内に挿通されるアクスルシャフト5が前記ハブ2にボルト6により組み付けられる構成は従来と同様である。
【0019】
ここで、ハブ2の内周面に着脱自由に取り付けられて、アクスルケース1外周部にハブ2を挿通する際に、挿通方向の後側に位置するテーパローラベアリング4のインナーレース4Cを前記挿通方向と反対方向に移動不能に係止する構成のベアリング固定用治具が設けられている。
このベアリング固定用治具としては、図1,図2,図3、図4及び図5に示す4つのものがある。
【0020】
これを順番に説明する。
図1のベアリング固定用治具10は、所定幅のリング状部材11の外周面に、一条のねじ溝の如く螺旋状に延びる凹溝12を形成した構成である。
このベアリング固定用治具10は、テーパローラベアリング4装着部近傍のハブ2の内周面に形成された2つの突起13A,13Bにその凹溝12を嵌め合わせることにより、ハブ2内周面に装着される。
【0021】
この場合、前記突起13A,13Bは、ハブ2内周面の直径方向に離間する2部位に軸方向に前記凹溝12のねじピッチ分ずれて形成される。
かかるベアリング固定用治具10をハブ2内周面に装着するには、凹溝12にハブ2内周面の突起13A,13Bを合わせ、この状態で治具10を回動すると、凹溝12内を突起13A,13Bが移動し、これによって、治具10は軸方向に進行して、テーパローラベアリング4のインナーレース4Cに当接し、該インナーレース4Cを前記挿通方向と反対方向に移動不能に係止する。
【0022】
図2のベアリング固定用治具14は、所定幅のリング状部材15の外周面に、直径方向に離間する2部位から夫々周方向に沿って互いに異なる斜め方向に所定長さ(例えば、円周の1/4)延びる凹溝16を形成し、この凹溝16の一端部をその一端面にて開口し、他端部を閉止した構成である。
このベアリング固定用治具14は、テーパローラベアリング4装着部近傍のハブ2の内周面に形成された2つの突起17にその2つの凹溝16を嵌め合わせることにより、ハブ2内周面に装着される。
【0023】
この場合、前記突起17は、ハブ2内周面の直径方向に離間する2部位の軸方向の同一位置に形成される。
かかるベアリング固定用治具14をハブ2内周面に装着するには、凹溝16の開口位置にハブ2内周面の突起17を合わせ、この状態で治具14を回動すると、凹溝16内を突起17が移動し、これによって、治具10は軸方向に進行して、テーパローラベアリング4のインナーレース4Cに当接し、該インナーレース4Cを前記挿通方向と反対方向に移動不能に係止する。
【0024】
図3のベアリング固定用治具18は、所定幅のリング状部材19の外周面に、おねじ部20を形成した構成である。
このベアリング固定用治具18は、テーパローラベアリング4装着部近傍のハブ2の内周面に形成されためねじ部21にそのおねじ部20を嵌合することにより、ハブ2内周面に装着される。
【0025】
即ち、治具18をねじ込んでいくと、治具18は軸方向に進行して、テーパローラベアリング4のインナーレース4Cに当接し、該インナーレース4Cを前記挿通方向と反対方向に移動不能に係止する。
尚、図1〜図3に示した治具10,14,18においては、治具10,14,18の着脱時にこれを回動動作させるための工具の係合穴22,23,24が夫々端面の直径方向に離間する2部位に形成されている。
【0026】
図4及び図5のベアリング固定用治具25は、略半円形状に湾曲され形成されたばね材からなる板部材26の両端部に夫々相反する方向に突出するピン27を固着取付し、かつこのピン27の基端部に偏心カム28を形成した構成である。この場合、前記偏心カム28は、板部材26の両端部を結ぶ線に対して90度の角度ずれた方向に長軸が延びるような略長円形断面を有する形状に形成される。
【0027】
尚、偏心カム28は、ピン27に一体成形しても良いし、ピン27とは別体に形成して、該ピン27に嵌合取付するようにしても良い。
又、前記板部材26の両端部間の中間部には、治具25の操作用のつまみ部29が設けられている。
このベアリング固定用治具25は、その両端部のピン27を、テーパローラベアリング4装着部近傍のハブ2の内周面に形成された2つの溝30に嵌め合わせることにより、ハブ内周面に装着される。
【0028】
この場合、前記溝30は、ハブ2内周面の直径方向に離間する2部位の軸方向の同一位置に形成される。
かかるベアリング固定用治具25をハブ2内周面に装着するには、板部材26をその両端部間の間隔が狭められるように押し縮め、両端部のピン27をハブ2内周面の溝30に嵌入させる。この状態では、偏心カム28の長軸はテーパローラベアリング4のインナーレース4C端面と平行する方向に延びている。そして、板部材26を90度回動させると、偏心カム28は、その長軸がテーパローラベアリング4のインナーレース4C端面と直交する方向に延びた位置となって、テーパローラベアリング4のインナーレース4Cに当接し、該インナーレース4Cを前記挿通方向と反対方向に移動不能に係止する。
【0029】
尚、図4(B)において、A,Bの寸法は、A<Bに設定する。
車両のアクスルを組み付けるに際して、以上の各図に示されたベアリング固定用治具を用いる場合、次のようにする。
例えば、図3のベアリング固定用治具18を例にとって説明すると、アクスルケース1外周部にハブ2を挿通する前に、図6に示すように、ハブ2内周面にオイルシール7とハブ挿通方向の前側に位置するテーパローラベアリング3とを装着すると共に、ハブ挿通方向の後側に位置するテーパローラベアリング4のアウターレース4Aとテーパローラ4Bとインナーレース4Cとを装着し、このインナーレース4Cをベアリング固定用治具18により前記挿通方向と反対方向に移動不能に係止させ、図7に示すようにアクスルケース1外周部にハブ2を挿通し終わった後に前記治具18を取外すようにする。
【0030】
このように、アクスルケース1外周部にハブ2を挿通する前に、ハブ2内周面にオイルシール7とハブ挿通方向の前側に位置するテーパローラベアリング3とを装着すると共に、ハブ挿通方向の後側に位置するテーパローラベアリング4のインナーレース4Cをベアリング固定用治具により係止させておく結果、アクスルケース1外周部にハブ2を挿通する際の、該ハブ2とアクスルケース1両者のセンタリングが正確になり、両者のセンターにズレが生じ難くなり、挿通作業時に、オイルシール7やテーパローラベアリング3等のダメージを発生する虞がなくなる。
【0031】
即ち、組立作業が容易となると共に、品質の向上を図ることが可能となる。
【0032】
【発明の効果】
以上説明したように、請求項1,6及び11に係る発明によれば、アクスルケース外周部にハブを挿通する際の、該ハブとアクスルケース両者のセンタリングが正確になり、両者のセンターにズレが生じ難くなり、挿通作業時に、オイルシールやベアリング等のダメージを発生する虞がなくなり、組立作業が容易となると共に、品質の向上を図ることが可能となる。
【0033】
請求項2,3,7及び8に係る発明によると、リング状部材の回動により、ハブ挿通方向の後側に位置するベアリングのインナーレースの係止を容易に行え、しかも、ハブ側は凹溝を設けるだけの構成であるから、ハブの製作性に優れている。
請求項4及び9に係る発明によると、リング状部材の回動により、ハブ挿通方向の後側に位置するベアリングのインナーレースの係止を容易に行える。
【0034】
請求項5及び10に係る発明によると、板部材の回動により、ハブ挿通方向の後側に位置するベアリングのインナーレースの係止を容易に行え、しかも、ハブ側は溝を設けるだけの構成であるから、ハブの製作性に優れている。
【図面の簡単な説明】
【図1】本発明の一実施形態を示す図で、(A)は側面断面図、(B)はベアリング固定用治具の装着状態を示す部分断面図
【図2】本発明の他の実施形態を示す図で、(A)は側面断面図、(B)はベアリング固定用治具の装着状態を示す部分断面図
【図3】本発明の更に他の実施形態を示す図で、(A)は側面断面図、(B)はベアリング固定用治具の装着状態を示す部分断面図
【図4】本発明の更に他の実施形態を示す図で、(A)は側面断面図、(B)はベアリング固定用治具の装着状態を示す部分断面図
【図5】同上の実施形態におけるベアリング固定用治具の斜視図
【図6】図3の実施形態におけるベアリング固定用治具を用いたハブ組立方法を示す側面断面図
【図7】図3の実施形態におけるベアリング固定用治具を用いたハブ組立方法を示す側面断面図
【図8】図3の実施形態におけるベアリング固定用治具を用いたハブ組立方法を示す側面断面図
【図9】従来のアクスル構造を示す側面断面図
【図10】従来のハブ組立方法を示す側面断面図
【符号の説明】
1 アクスルケース
2 ハブ
3,4 テーパローラベアリング
4C インナーレース
5 アクスルシャフト
6 ボルト
10 ベアリング固定用治具
11 リング状部材
12 凹溝
13A,13B 突起
14 ベアリング固定用治具
16 凹溝
17 突起
18 ベアリング固定用治具
19 リング状部材
20 おねじ部
21 めねじ部
25 ベアリング固定用治具
26 板部材
27 ピン
28 偏心カム
Claims (11)
- アクスルケースの端部にハブが2つのベアリングを介して取り付けられ、前記アクスルケース内に挿通されるアクスルシャフトが前記ハブに締結具により組み付けられた車両のアクスルにおいて、
前記ハブの内周面に、前記アクスルケースをハブ外周部に挿通する際に、挿通方向の後側に位置するベアリングのインナーレースを前記挿通方向と反対方向に移動不能に係止する着脱自由な治具の取付部を形成したことを特徴とする車両のアクスルのハブ構造。 - 前記治具は、所定幅のリング状部材の外周面に、一条のねじ溝の如く螺旋状に延びる凹溝を形成した構成であり、前記治具の取付部は、ハブ内周面の直径方向に離間する2部位に軸方向に前記凹溝のねじピッチ分ずれて形成され、凹溝に嵌め合わされる突起であることを特徴とする請求項1記載の車両のアクスルのハブ構造。
- 前記治具は、所定幅のリング状部材の外周面に、直径方向に離間する2部位から夫々周方向に沿って互いに異なる斜め方向に所定長さ延びる凹溝を形成し、該凹溝の一端部をその一端面にて開口し、他端部を閉止した構成であり、前記治具の取付部は、ハブ内周面の直径方向に離間する2部位の軸方向の同一位置に形成され、凹溝に嵌め合わされる突起であることを特徴とする請求項1記載の車両のアクスルのハブ構造。
- 前記治具は、所定幅のリング状部材の外周面に、おねじ部を形成した構成であり、前記治具の取付部は、ハブ内周面に前記おねじ部に嵌合されるめねじ部であることを特徴とする請求項1記載の車両のアクスルのハブ構造。
- 前記治具は、略半円形状に湾曲され形成されたばね材からなる板部材の両端部に夫々相反する方向に突出するピンを固着取付し、かつこのピンの基端部に偏心カムを形成した構成であり、前記治具の取付部は、ハブ内周面の直径方向に離間する2部位の軸方向の同一位置に形成され、前記ピンが嵌入される溝であることを特徴とする請求項1記載の車両のアクスルのハブ構造。
- アクスルケースの端部にハブが2つのベアリングを介して取り付けられ、前記アクスルケース内に挿通されるアクスルシャフトが前記ハブに締結具により組み付けられた車両のアクスルにおいて、
前記ハブの内周面の取付部に着脱自由に取り付けられて、前記アクスルケース外周部に前記ハブを挿通する際に、挿通方向の後側に位置するベアリングのインナーレースを前記挿通方向と反対方向に移動不能に係止する構成を特徴とする車両のアクスルのハブにおけるベアリング固定用治具。 - 所定幅のリング状部材の外周面に、一条のねじ溝の如く螺旋状に延びる凹溝を形成した構成であり、該凹溝が、ハブ内周面の直径方向に離間する2部位に軸方向に前記凹溝のねじピッチ分ずれて形成された突起に嵌め合わされる構成であることを特徴とする請求項6記載の車両のアクスルのハブにおけるベアリング固定用治具。
- 所定幅のリング状部材の外周面に、直径方向に離間する2部位から夫々周方向に沿って互いに異なる斜め方向に所定長さ延びる凹溝を形成し、該凹溝の一端部をその一端面にて開口し、他端部を閉止した構成であり、前記凹溝が、ハブ内周面の直径方向に離間する2部位の軸方向の同一位置に形成された突起に嵌め合わされる構成であることを特徴とする請求項6記載の車両のアクスルのハブにおけるベアリング固定用治具。
- 所定幅のリング状部材の外周面に、おねじ部を形成した構成であり、該おねじ部が、ハブ内周面に形成されためねじ部に嵌合される構成であることを特徴とする請求項6記載の車両のアクスルのハブにおけるベアリング固定用治具。
- 略半円形状に湾曲され形成されたばね材からなる板部材の両端部に夫々相反する方向に突出するピンを固着取付し、かつこのピンの基端部に偏心カムを形成した構成であり、前記ピンが、ハブ内周面の直径方向に離間する2部位の軸方向の同一位置に形成される溝に嵌入される構成であることを特徴とする請求項6記載の車両のアクスルのハブにおけるベアリング固定用治具。
- アクスルケースの端部にハブが2つのベアリングを介して取り付けられ、前記アクスルケース内に挿通されるアクスルシャフトが前記ハブに締結具により組み付けられた車両のアクスルを組み付けるに際して、
アクスルケース外周部にハブを挿通する前に、ハブ内周面にシール部材とハブ挿通方向の前側に位置するベアリングとを装着すると共に、ハブ挿通方向の後側に位置するベアリングのアウターレースとローラとを装着し、かつ該ベアリングのインナーレースをハブ内周面に着脱自由に取り付けられた治具により前記挿通方向と反対方向に移動不能に係止させ、アクスルケース外周部にハブを挿通した後に前記治具を取外すようにしたことを特徴とするハブにおけるベアリング固定用治具を用いたアクスル組立方法。
Priority Applications (1)
| Application Number | Priority Date | Filing Date | Title |
|---|---|---|---|
| JP08528696A JP3556762B2 (ja) | 1996-04-08 | 1996-04-08 | 車両のアクスルのハブ構造,ハブにおけるベアリング固定用治具及びベアリング固定用治具を用いたアクスル組立方法 |
Applications Claiming Priority (1)
| Application Number | Priority Date | Filing Date | Title |
|---|---|---|---|
| JP08528696A JP3556762B2 (ja) | 1996-04-08 | 1996-04-08 | 車両のアクスルのハブ構造,ハブにおけるベアリング固定用治具及びベアリング固定用治具を用いたアクスル組立方法 |
Publications (2)
| Publication Number | Publication Date |
|---|---|
| JPH09272305A JPH09272305A (ja) | 1997-10-21 |
| JP3556762B2 true JP3556762B2 (ja) | 2004-08-25 |
Family
ID=13854335
Family Applications (1)
| Application Number | Title | Priority Date | Filing Date |
|---|---|---|---|
| JP08528696A Expired - Fee Related JP3556762B2 (ja) | 1996-04-08 | 1996-04-08 | 車両のアクスルのハブ構造,ハブにおけるベアリング固定用治具及びベアリング固定用治具を用いたアクスル組立方法 |
Country Status (1)
| Country | Link |
|---|---|
| JP (1) | JP3556762B2 (ja) |
Families Citing this family (2)
| Publication number | Priority date | Publication date | Assignee | Title |
|---|---|---|---|---|
| CN110549790B (zh) * | 2018-05-30 | 2024-04-02 | 镇江裕久智能装备股份有限公司 | 一种轻量化铝合金轮毂 |
| JP7047745B2 (ja) | 2018-12-17 | 2022-04-05 | 株式会社豊田自動織機 | ハブ構造 |
-
1996
- 1996-04-08 JP JP08528696A patent/JP3556762B2/ja not_active Expired - Fee Related
Also Published As
| Publication number | Publication date |
|---|---|
| JPH09272305A (ja) | 1997-10-21 |
Similar Documents
| Publication | Publication Date | Title |
|---|---|---|
| JP3634897B2 (ja) | ボルトの嵌合部構造 | |
| WO1996019679A1 (en) | Bearing assembly utilizing improved clamping arrangement | |
| US4988231A (en) | Bushing | |
| US6018869A (en) | Method of manufacturing a wheel hub assembly | |
| JP2002219903A (ja) | 車輪駆動用軸受ユニット | |
| JP3556762B2 (ja) | 車両のアクスルのハブ構造,ハブにおけるベアリング固定用治具及びベアリング固定用治具を用いたアクスル組立方法 | |
| JPH10324108A (ja) | ベアリングロックナット・ワッシャ構造 | |
| US4373831A (en) | Key device for locking an element to a shaft | |
| US6905249B2 (en) | Bearing locking mechanism | |
| JPH071257Y2 (ja) | 軸受け装着用治具 | |
| US6595085B1 (en) | Differential bearing cap | |
| JP2683324B2 (ja) | ドア用ハンドル取付座 | |
| JP4126774B2 (ja) | エンジンの組み立て方法およびその装置 | |
| JP2002039202A (ja) | 転がり回転軸受 | |
| JP2681876B2 (ja) | ユニバーサルジョイントの製造方法 | |
| JP2884494B2 (ja) | 車両用ドアヒンジ構造 | |
| US6945728B2 (en) | Mechanical fastener | |
| JP2543613Y2 (ja) | デフピニオンシャフトの回り止め装置 | |
| JPH08135673A (ja) | ユニバーサルジョイント及びその製造方法 | |
| JPH0211619Y2 (ja) | ||
| JPH086701Y2 (ja) | サスペンションユニットの取付け用治具 | |
| JP2003130073A (ja) | 車輪用回転支持装置 | |
| JPS5853456Y2 (ja) | 駆動部組立ロ−ル | |
| JPS597617Y2 (ja) | 一方向回転軸継手 | |
| KR980008957A (ko) | 자동차용 칼럼샤프트의 로킹링 결합구조 |
Legal Events
| Date | Code | Title | Description |
|---|---|---|---|
| A977 | Report on retrieval |
Free format text: JAPANESE INTERMEDIATE CODE: A971007 Effective date: 20040325 |
|
| TRDD | Decision of grant or rejection written | ||
| A01 | Written decision to grant a patent or to grant a registration (utility model) |
Free format text: JAPANESE INTERMEDIATE CODE: A01 Effective date: 20040511 |
|
| A61 | First payment of annual fees (during grant procedure) |
Free format text: JAPANESE INTERMEDIATE CODE: A61 Effective date: 20040513 |
|
| R150 | Certificate of patent or registration of utility model |
Free format text: JAPANESE INTERMEDIATE CODE: R150 |
|
| LAPS | Cancellation because of no payment of annual fees |