JP3553774B2 - カートリッジイジェクト装置 - Google Patents
カートリッジイジェクト装置 Download PDFInfo
- Publication number
- JP3553774B2 JP3553774B2 JP29762197A JP29762197A JP3553774B2 JP 3553774 B2 JP3553774 B2 JP 3553774B2 JP 29762197 A JP29762197 A JP 29762197A JP 29762197 A JP29762197 A JP 29762197A JP 3553774 B2 JP3553774 B2 JP 3553774B2
- Authority
- JP
- Japan
- Prior art keywords
- cartridge
- piece
- unlocking
- cartridge holder
- lock
- Prior art date
- Legal status (The legal status is an assumption and is not a legal conclusion. Google has not performed a legal analysis and makes no representation as to the accuracy of the status listed.)
- Expired - Fee Related
Links
Images
Landscapes
- Feeding And Guiding Record Carriers (AREA)
Description
【0001】
【発明の属する技術分野】
本発明は携帯用ディスク装置などに使用されるカートリッジイジェクト装置に関するものである。
【0002】
【従来の技術】
光ディスク媒体を光ピックアップで読み取って再生する携帯用ディスク装置としては、カートリッジに64mmの光ディスク媒体を内蔵したミニディスク(大きさは72mm×68mm×5mm)に記録された音楽を手軽にアウトドアに持ち出して聴けるように、軽量小型化された携帯用MDプレーヤーが一般に普及している。
【0003】
携帯用MDプレーヤーでは、外装ケースの上蓋を開くとカートリッジホルダーのカートリッジ挿入口が現れ、カートリッジホルダーにカートリッジを挿入すると、この挿入の操作に連動してカートリッジのシャッタが開放される。
【0004】
このようにカートリッジをカートリッジホルダーにセットして前記の上蓋を閉じると、カートリッジに収容されている光ディスクが、ドライブ装置に結合され、シャッタが開放されたカートリッジの開口から光ヘッドが光ディスクにアクセスできる状態になる。
【0005】
カートリッジの交換の際には、上蓋を開くことによって、それまでカートリッジホルダーにセットされていたカートリッジがイジェクト可能な状態に飛び出すように、従来ではカートリッジイジェクト装置が設けられている。
【0006】
この従来のカートリッジイジェクト装置の一例としては、特開平7−85560号公報に開示されたものがある。これは図29に示すように、シャーシ41の軸支部46に一端が回動自在に枢支されるカートリッジホルダー47に、シャッター開閉部材48と、イジェクトレバー58と、ロック部材67などを組み付け、シャーシ41にはラチェット部材72を組み付けて構成されている。69はロック部材67を付勢するコイルバネ、74はラチェット部材72を付勢するコイルバネである。
【0007】
【発明が解決しようとする課題】
しかしながら、図29に示す従来の構成では、ロック部材67とラチェット部材72が必要であって部品点数が多く、さらに、ロック部材67とラチェット部材72を組み付けた状態の両者間の組み上げ精度が、イジェクト動作に影響し、確実な動作を得るためには高精度の部品加工と組み立てが要求されるものである。
【0008】
本発明は、部品点数の削減と組み立て工数の低減を達成できるカートリッジイジェクト装置を提供することを目的とする。
【0009】
【課題を解決するための手段】
本発明のカートリッジイジェクト装置は、カートリッジホルダーに摺動自在に取り付けられるイジェクトスライダに、弾性変形が可能なロック片およびロック解除用係合片を一体に形成したことを特徴とする。
【0010】
また、本発明のカートリッジイジェクト装置は、カートリッジホルダーに摺動自在に取り付けられカートリッジホルダーの係止部材に係合するロック片を有するイジェクトスライダと、記録再生装置の外装ケースの側に設けられて前記ロック片のロック解除に寄与するロック解除手段を設け、カートリッジホルダーを閉じるときには互いの当接によって前記ロック片とロック解除手段の少なくとも一方を弾性変形ができるように構成して、カートリッジホルダーを開けるときには、ロック解除手段がカートリッジホルダーの係止部材とロック片との係合を解除するように構成したことを特徴とする。
【0011】
この本発明によると、部品点数の削減と組み立て工数の低減を達成できるカートリッジイジェクト装置を実現できる。
【0012】
【発明の実施の形態】
請求項1記載のカートリッジイジェクト装置は、記録再生装置の外装ケースの蓋体の開閉動作に連動して回動自在に支持されカートリッジが挿入保持されるカートリッジホルダーと、前記カートリッジホルダーに摺動自在に取り付けられるとともに挿入されたカートリッジに係合するカートリッジ係合片を有するイジェクトスライダと、前記イジェクトスライダに一体に形成され弾性変形が可能なロック片およびロック片解除用係合片を有するロック手段と、前記イジェクトスライダをカートリッジのイジェクト方向に付勢するイジェクト付勢手段と、前記カートリッジホルダーに設けられ前記ロック手段のロック片をロックする係止部材と、前記カートリッジホルダーを回動自在に支持する記録再生装置の本体側に設けられ前記ロック手段のロック解除用係合片と係合してロック片の係止部に対するロックを解除するロック解除部材を備え、前記ロック手段は、蓋体が開状態でカートリッジをカートリッジホルダーに奥部まで挿入した際にロック片が係止部材にロックされるとともに、前記蓋体の閉状態から開く際にロック解除用係合片がロック解除部材に係合してロック状態が解除され、カートリッジをカートリッジホルダーからイジェクトすることを特徴とする。
【0013】
請求項2記載のカートリッジイジェクト装置は、請求項1において、イジェクトスライダとロック手段を1枚の板金により構成し、カートリッジ係合片をカートリッジホルダーのカートリッジ挿入域に突出形成し、カートリッジの挿入押圧によりイジェクトスライダを摺動するとともに、ロック手段をロックするように構成したことを特徴とする。
【0014】
請求項3記載のカートリッジイジェクト装置は、請求項1または請求項2において、ロック手段のロック解除用係合片は、蓋体の開状態から閉状態に回動するカートリッジホルダーの回動の際、ロック解除部材と係合するも、当該ロック解除用係合片とロック解除部材のうちの少なくとも一方の弾性変形によりロック片のロック状態を解除することなく蓋が閉状態となるように構成したことを特徴とする。
【0015】
請求項4記載のカートリッジイジェクト装置は、請求項1または請求項2において、ロック解除部材は、カートリッジホルダーを回動自在に保持するシャーシを折り曲げて一体に形成したことを特徴とする。
【0016】
請求項5記載のカートリッジイジェクト装置は、請求項1または請求項2において、ロック解除部材は、カートリッジホルダーを回動自在に保持するシャーシに保持した弾性部材で形成し、ロック解除用係合片の蓋の閉方向への移動時には変形し、蓋の開方向への移動時にはロック解除用係合片と係合可能に構成したことを特徴とする。
【0017】
以下、本発明のカートリッジイジェクト装置を各実施の形態に基づいて説明する。
(実施の形態1)
図1〜図15は本発明のカートリッジイジェクト装置を備えた携帯用ディスク装置を示す。
【0018】
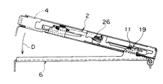
図1に示すように、携帯用MDプレーヤーの外装ケースの上蓋1を開くとカートリッジホルダー2のカートリッジ挿入口3が現れ、カートリッジホルダー2にカートリッジ4を挿入すると、この挿入の操作に連動してカートリッジ4のシャッタ5が開放される。6はメカシャーシである。
【0019】
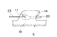
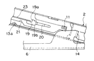
カートリッジホルダー2は、図2に示すように後端の両側に形成された折曲部7に穿設された孔8に、メカシャーシ6の後端に形成された軸支片9を挿入して回動自在に支持されている。カートリッジホルダー2には、前記の折曲部7の他にも支持板部10と係止部材11とシャッター開放部材12aとシャッター閉塞部材12bと一対の切り起こし片13a,13bなどが一体に板金加工で形成されている。メカシャーシ6にはロック解除部材14が一体に板金加工で形成されている。
【0020】
カートリッジホルダー2に組み付けられるイジェクトスライダ15は、図3と図4に示すようにカートリッジホルダー2に挿入されたカートリッジ4に当接する係合片16と、カートリッジホルダー2の前記の支持板部10に沿うベース部17と、ロック手段18とが板金加工で一体に形成されている。
【0021】
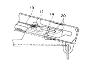
このロック手段18は、ロック片19とこのロック片19の先端に形成されたロック解除用係合片20とが、孔21を穿設する板金加工でイジェクトスライダ15に一体に形成されている。
【0022】
なお、ベース部17にはカートリッジホルダー2の支持板部10の切り起こし片13a,13bが係合するガイド長孔22a,22bが形成されている。ロック片19には、図4に示すように長手方向(矢印A方向)の剛性を満足させるために折曲辺23が一体に形成されている。ロック解除用係合片20は中間部を外側(矢印B方向)に突出させるようにへの字状に成形して、このロック解除用係合片20の先端20aは内側(矢印C方向)に向いている。
【0023】
イジェクトスライダ15はカートリッジホルダー2に図5に示すように、カートリッジホルダー2の切り起こし片13a,13bをイジェクトスライダ15のガイド長孔22a,22bに係合させてスライド自在に組み付け、イジェクトスライダ15に一体に形成されているバネ係止片24とカートリッジホルダー2に一体に形成されているバネ係止片25の間に引っ張りコイルバネ26が介装されている。
【0024】
図5と図6は上蓋1を開いてカートリッジ挿入口3からカートリッジ4をイジェクトスライダ15の係合片16に当接するまで挿入した状態を示している。この状態から引っ張りコイルバネ26の付勢に抗してカートリッジ4を押し込むと、この状態では、カートリッジ4の溝4aにシャッター開放部材12aが係合して、またシャッタ5の孔5aにシャッター閉塞部材12bが係合した状態でシャッタ5が溝4bに沿って解放され、カートリッジホルダー2に対してイジェクトスライダ15はガイド長孔22a,22bに沿って摺動し、イジェクトスライダ15のロック片19の係止部19aがカートリッジホルダー2の係止部材11に係合する直前位置で、図7に示すようにイジェクトスライダ15のロック解除用係合片20の先端がメカシャーシ6のロック解除部材14の側面に当接するとともに、ロック片19の係止部19aの直前に形成されている傾斜面19bがカートリッジホルダー2の係止部材14の裏面に当接する。
【0025】
なお、ロック解除用係合片20の先端がメカシャーシ6のロック解除部材14の側面に当接した状態におけるロック解除用係合片20の先端を逃がす孔2aが、カートリッジホルダー2の側に設けられている。
【0026】
カートリッジ4がさらに押し込まれることによってロック片19がカートリッジホルダー2の係止部材11によって押し下げられて、ロック片19は基端部dを支点に先端が下方に弾性変形し、ロック片19の傾斜面19bがカートリッジホルダー2の係止部材14を通過した時に前記の弾性変形が解除されて、図8と図9に示すようにイジェクトスライダ15のロック片19の係止部19aがカートリッジホルダー2の係止部材11に係合して、カートリッジホルダー2におけるイジェクトスライダ15の摺動位置がロックされる。このイジェクトスライダ15がロックされた状態では、カートリッジ4を押し込む操作力を解除してもカートリッジ4はカートリッジホルダー2から飛び出さない。また、この図8に示す状態では、イジェクトスライダ15のロック解除用係合片20の先端がメカシャーシ6のロック解除部材14の側面に当接している。
【0027】
次に、上蓋1を閉じる方向に回動させると、カートリッジホルダー2が図8の矢印D方向に回動し、メカシャーシ6のロック解除部材14の側面に当接していたロック解除用係合片20が図10〜図12に示すようにロック解除部材14の側面から外れて、ロック解除用係合片20がロック解除部材14の下方位置に移動する。この図10〜図12に示す状態でカートリッジ1に収容された光ディスクの記録再生が実施される。
【0028】
カートリッジ4の交換の際には、上蓋1を開くことによって、カートリッジホルダー2が図13に示すように矢印E方向に回動する。この回動の際には、図14に示すようにイジェクトスライダ15のロック解除用係合片20の中間部がメカシャーシ6のロック解除部材14によって押し下げられて、イジェクトスライダ15のロック片19の係止部19aとカートリッジホルダー2の係止部材11との係合が解除されて、イジェクトスライダ15が引っ張りコイルバネ26の付勢力でカートリッジホルダー2に対して矢印F方向に摺動する。この際に、イジェクトスライダ15の係合片16によってカートリッジ4が図15に示すようにカートリッジホルダー2から押し出されてイジェクトが実行される。
【0029】
このように、イジェクトスライダ15のロック片19に一体にロック解除用係合片20を設け、カートリッジホルダー2に一体に形成された係止部材11に係合してロックされたイジェクトスライダ15の前記ロックを解除する際には、上蓋1の開放操作に連動してカートリッジホルダー2が回動するが、イジェクトスライダ15のロック解除用係合片20の回動がメカシャーシ6に一体に設けたロック解除部材14によって規制されて、前記のロック片19と係止部材11とが係合したロック状態が解除されてイジェクトが実行されるので、図29に示した従来例のロック部材67やラチェット部材72などを必要とせず、その組み付け工程を必要としない。
【0030】
(実施の形態2)
図16〜図29は本発明の(実施の形態2)のカートリッジイジェクト装置を備えた携帯用ディスク装置を示す。なお、(実施の形態1)と同様の作用をなすものには同一の符号を付けて説明する。
【0031】
(実施の形態1)ではロック手段18がロック片19とロック解除用係合片20とで構成され、外装ケースの上蓋1を開く際には、メカシャーシ6の側のロック解除部材14にイジェクトスライダ15の側のロック解除用係合片20が係合して、上蓋1を開く動作に連動してカートリッジホルダー2が開状態に回動することによってロック片19がカートリッジホルダー2の側の係止部材11から外れてカートリッジ4のイジェクトが実行されたが、この(実施の形態2)では、(実施の形態1)におけるロック解除用係合片20に相当する構成要件がイジェクトスライダ15の側には設けられておらず、その代わりにメカシャーシ6の側のロック解除部材14が弾性変形できるように構成されている。
【0032】
図16に示すカートリッジホルダー2は(実施の形態1)と同様で、イジェクトスライダ15の要部の形状が図17と図18に示すように構成されている。
イジェクトスライダ15には、カートリッジホルダー2に挿入されたカートリッジ4に当接する係合片16と、カートリッジホルダー2の支持板部10に沿うベース部17と、孔21を穿設して形成されたロック片19とが板金加工で一体に形成されている。
【0033】
なお、ベース部17にはカートリッジホルダー2の切り起こし片13a,13bが係合するガイド長孔22a,22bが形成されている。ロック片19には、図18に示すように長手方向(矢印A方向)の剛性を満足させるために折曲辺23が一体に形成されている。
【0034】
イジェクトスライダ15はカートリッジホルダー2に図19に示すように、カートリッジホルダー2の切り起こし片13a,13bをイジェクトスライダ15のガイド長孔22a,22bに係合させてスライド自在に組み付け、イジェクトスライダ15に一体に形成されているバネ係止片24とカートリッジホルダー2に一体に形成されているバネ係止片25の間に引っ張りコイルバネ26が介装されている。
【0035】
図16に示すメカシャーシ6の側に設けられた係止部材27は、メカシャーシ6に形成されたロック解除部本体28と、このロック解除部本体28に取り付けられるロック解除片29とで構成されている。この詳細は図24に示すように形成されている。
【0036】
図24の(a)(c)に示すように、バネ材を板金加工で形成されたロック解除片29には、メカシャーシ6のロック解除部本体28の後端に形成された第1の凸部28aに係合する孔29aが穿設された第1の折曲片29bがロック解除片本体29cの後部に形成され、ロック解除片本体29cの前端の上面にはカートリッジホルダー2に近付くように内側に折り曲げられた第2の折曲片29dが形成されている。第2の折曲片29dの途中には、後端に向かって延びる支持片29eが形成され、さらに、ロック解除片本体29cには、メカシャーシ6のロック解除部本体28の外側面に形成された第2の凸部28bに係合する切欠部29fが形成されている。
【0037】
さらに、このロック解除片29の前記の切欠部29fを形成することによってロック解除片本体29cに形成された腕部29gは、矢印G方向に内側に僅かに折り曲げて形成されている。
【0038】
このように構成されたロック解除片29のメカシャーシ6のロック解除部本体28への取り付けは、図24の(b)から(c)に示すようにワンタッチ操作で簡単に取り付けられる。
【0039】
具体的には、図24の(b)に示すように、ロック解除片29の第1の折曲片29bをメカシャーシ6のロック解除部本体28の第1の凸部28aに僅かだけ係合させるとともに、ロック解除片29の支持片29eとロック解除片本体29cの内側とでメカシャーシ6のロック解除部本体28の上部凸部28cを挟持し、メカシャーシ6のロック解除部本体28の上にロック解除片29が前上がりになった状態で載置される。この状態でロック解除片29の前端部を矢印Hで示すように下方に押圧すると、ロック解除片29は第1の折曲片29bの孔29aとメカシャーシ6のロック解除部本体28の第1の凸部28aとの係合箇所(ポイントP1)を中心に回動して図24(c)に示すようにロック解除片29の腕部29gがメカシャーシ6のロック解除部本体28の第2の凸部28bを乗り越えて、ロック解除片29の切欠部29fに第2の凸部28dが入り込んだ目的位置にセットされる。
【0040】
この図24(c)に示すセット状態では、メカシャーシ6のロック解除部本体28におけるロック解除片29の前後方向(矢印J方向)の位置は、メカシャーシ6のロック解除部本体28の後端面とロック解除片29の第1の折曲片29bとの当接(ポイントP2)と、メカシャーシ6のロック解除部本体28の上部凸部28cの前端とロック解除片29の第2の折曲片29dとの当接(ポイントP3)とで規制されて位置決めされている。
【0041】
また、上下方向の位置は、ロック解除片29の腕部29gがメカシャーシ6の第2の凸部28bに係合することによって位置決めされている。
また、左右方向の位置は、ロック解除片29の第2のロック解除片29の支持片29eの係止片本体側の端面29hを、メカシャーシ6の上部凸部28cの内周面に、ロック解除片29の腕部29gの弾性力で押し付けて位置決めされている。
【0042】
このようにメカシャーシ6のロック解除部本体28にセットされたロック解除片29の第2の折曲片29dの先端部29iが、下記に示すようにカートリッジのイジェクト動作に重要な役割を果たす。
【0043】
図19は上蓋1を開いてカートリッジ挿入口3からカートリッジ4を挿入している状態を示している。このときのイジェクトスライダ15のロック片19とメカシャーシ6の側のロック解除片29との位置関係を図20に示す。
【0044】
カートリッジ4をイジェクトスライダ15の係合片16に当接するまで挿入していくと、イジェクトスライダ15が引っ張りコイルバネ26の付勢に抗してカートリッジホルダー2に対してイジェクトスライダ15がガイド長孔22a,22bに沿って摺動し、図21に示すようにイジェクトスライダ15のロック片19の係止部19aがカートリッジホルダー2の係止部材11に係合する直前位置で、ロック片19の係止部19aの直前に形成されている傾斜面19bがカートリッジホルダー2の係止部材11の裏面に当接する。
【0045】
カートリッジ4がさらに押し込まれることによってロック片19がカートリッジホルダー2の係止部材11によって押し下げられて、ロック片19は基端部dを支点に先端が下方に弾性変形し、ロック片19の傾斜面19bがカートリッジホルダー2の係止部材11を通過した時に前記の弾性変形が解除されて、図22と図23に示すようにイジェクトスライダ15のロック片19の係止部19aがカートリッジホルダー2の係止部材11に係合して、カートリッジホルダー2におけるイジェクトスライダ15の摺動位置がロックされる。このイジェクトスライダ15がロックされた状態では、カートリッジ4を押し込む操作力を解除してもカートリッジ4はカートリッジホルダー2から飛び出さない。
【0046】
この状態におけるイジェクトスライダ15のロック片19とメカシャーシ6の側のロック解除片29との位置関係を図25に示す。図26の(a)は図25のX−X′矢視図を示す。この図からも分かるように、イジェクトスライダ15の折曲辺23の奥端23aはロック解除片29の第2の折曲片29dの先端部29iよりも上方に位置している。
【0047】
次に、上蓋1を閉じる方向に回動させると、カートリッジホルダー2が図22の矢印D方向に回動し、その途中でイジェクトスライダ15の折曲辺23の奥端23aとロック解除片29の第2の折曲片29dの先端部29iとが当接して、図26の(b)に示すようにロック解除片29の第2の折曲片29dの先端部29iが下方に弾性変形し、イジェクトスライダ15の折曲辺23が図26の(c)および図27に示すようにロック解除片29の第2の折曲片29dの側方を下側に向かって通過する。
【0048】
カートリッジ4の交換の際には、上蓋1を開くことによって、カートリッジホルダー2が図28に示すように矢印E方向に回動する。この回動の際には、イジェクトスライダ15の折曲辺23がメカシャーシ6の側の第2の折曲片29dの先端部29iの下方に当接して押し下げられて、イジェクトスライダ15のロック片19の係止部19aとカートリッジホルダー2の係止部材11との係合が解除されて、イジェクトスライダ15が引っ張りコイルバネ26の付勢力でカートリッジホルダー2に対して矢印F方向に摺動する。この際に、イジェクトスライダ15の係合片16によってカートリッジ4が図28に示すようにカートリッジホルダー2から押し出される。
【0049】
上記の(実施の形態2)では、第2の折曲片29dとロック片19のうちの第2の折曲片29dを弾性変形するように構成したが、ロック片19の方を弾性変形するように構成したり、第2の折曲片29dとロック片19の両方をを弾性変形するようにして構成することもできる。
【0050】
【発明の効果】
以上のように本発明によると、カートリッジホルダーに摺動自在に取り付けられるイジェクトスライダに、弾性変形が可能なロック片およびロック解除用係合片を一体に形成したため、部品点数の削減と組み立て工数の低減を達成してカートリッジのイジェクトを実現できる。
【0051】
また、本発明によると、カートリッジホルダーに摺動自在に取り付けられカートリッジホルダーの係止部材に係合するロック片を有するイジェクトスライダと、記録再生装置の外装ケースの側に設けられて前記ロック片のロック解除に寄与するロック解除手段を設け、カートリッジホルダーを閉じるときには互いの当接によって前記ロック片とロック解除手段の少なくとも一方を弾性変形ができるように構成して、カートリッジホルダーを開けるときには、ロック解除手段がカートリッジホルダーの係止部材とロック片との係合を解除するように構成したため、部品点数の削減と組み立て工数の低減を達成してカートリッジのイジェクトを実現できる。
【図面の簡単な説明】
【図1】本発明のカートリッジイジェクト装置を備えた携帯用ディスク装置の外観斜視図
【図2】同(実施の形態1)のカートリッジイジェクト装置の分解斜視図
【図3】同実施の形態のイジェクトスライダの正面図
【図4】図3の一部切欠き平面図
【図5】同実施の形態の上蓋を開いた状態のカートリッジイジェクト装置の正面図
【図6】図5の要部の拡大図
【図7】図5の状態でカートリッジを終端の近くまで押し込んだ状態の要部の平面図
【図8】図5の状態でカートリッジを終端まで押し込んだ状態の正面図
【図9】図8の要部の拡大図
【図10】同実施の形態の上蓋を閉じた状態のカートリッジイジェクト装置の正面図
【図11】図10の要部の拡大図
【図12】図10の状態の要部の平面図
【図13】上蓋を閉じた状態から開いた状態のイジェクト直前の正面図
【図14】図13の要部の拡大図
【図15】上蓋を閉じた状態から開いた状態のイジェクト時の正面図
【図16】(実施の形態2)のカートリッジイジェクト装置の分解斜視図
【図17】同実施の形態のイジェクトスライダの正面図
【図18】図17の一部切欠き平面図
【図19】同実施の形態の上蓋を開いた状態のカートリッジイジェクト装置の正面図
【図20】図19の要部の拡大図
【図21】図19でカートリッジを終端の近くまで押し込んだ状態の要部の拡大図
【図22】図19でカートリッジを終端まで押し込んだ状態の正面図
【図23】図22の要部の拡大図
【図24】同(実施の形態2)の係止部本体と係止片の拡大の分解斜視と組み立て工程図
【図25】同(実施の形態2)の上蓋を閉じる前の状態の要部の平面図
【図26】同(実施の形態2)の各状態の背面図
【図27】同(実施の形態2)の上蓋を閉じた状態の要部の平面図
【図28】上蓋を閉じた状態から開いた状態のイジェクト時の正面図
【図29】従来のカートリッジイジェクト装置の分解斜視図
【符号の説明】
1 外装ケースの上蓋
2 カートリッジホルダー
3 カートリッジ挿入口
4 カートリッジ
5 シャッタ
6 メカシャーシ
7 カートリッジホルダーの折曲部
8 孔
9 軸支片
10 支持板部
11 係止部材
12 シャッター開放部材
13a,13b 切り起こし片
14 ロック解除部材
15 イジェクトスライダ
16 係合片
17 ベース部
18 ロック手段
19 ロック片
19a ロック片の係止部
19b ロック片の傾斜面
20 ロック解除用係合片
21 孔
22a,22b ガイド長孔
23 折曲辺
24 バネ係止片
25 バネ係止片
26 引っ張りコイルバネ
27 メカシャーシの側に設けられた係止部材
28 係止部本体
28a 第1の凸部
28b 第2の凸部
28c 上部凸部
29 ロック解除片
29a 孔
29b 第1の折曲片
29c ロック解除片本体
29d 第2の折曲片
29e 支持片
29f 切欠部
29g 腕部
【発明の属する技術分野】
本発明は携帯用ディスク装置などに使用されるカートリッジイジェクト装置に関するものである。
【0002】
【従来の技術】
光ディスク媒体を光ピックアップで読み取って再生する携帯用ディスク装置としては、カートリッジに64mmの光ディスク媒体を内蔵したミニディスク(大きさは72mm×68mm×5mm)に記録された音楽を手軽にアウトドアに持ち出して聴けるように、軽量小型化された携帯用MDプレーヤーが一般に普及している。
【0003】
携帯用MDプレーヤーでは、外装ケースの上蓋を開くとカートリッジホルダーのカートリッジ挿入口が現れ、カートリッジホルダーにカートリッジを挿入すると、この挿入の操作に連動してカートリッジのシャッタが開放される。
【0004】
このようにカートリッジをカートリッジホルダーにセットして前記の上蓋を閉じると、カートリッジに収容されている光ディスクが、ドライブ装置に結合され、シャッタが開放されたカートリッジの開口から光ヘッドが光ディスクにアクセスできる状態になる。
【0005】
カートリッジの交換の際には、上蓋を開くことによって、それまでカートリッジホルダーにセットされていたカートリッジがイジェクト可能な状態に飛び出すように、従来ではカートリッジイジェクト装置が設けられている。
【0006】
この従来のカートリッジイジェクト装置の一例としては、特開平7−85560号公報に開示されたものがある。これは図29に示すように、シャーシ41の軸支部46に一端が回動自在に枢支されるカートリッジホルダー47に、シャッター開閉部材48と、イジェクトレバー58と、ロック部材67などを組み付け、シャーシ41にはラチェット部材72を組み付けて構成されている。69はロック部材67を付勢するコイルバネ、74はラチェット部材72を付勢するコイルバネである。
【0007】
【発明が解決しようとする課題】
しかしながら、図29に示す従来の構成では、ロック部材67とラチェット部材72が必要であって部品点数が多く、さらに、ロック部材67とラチェット部材72を組み付けた状態の両者間の組み上げ精度が、イジェクト動作に影響し、確実な動作を得るためには高精度の部品加工と組み立てが要求されるものである。
【0008】
本発明は、部品点数の削減と組み立て工数の低減を達成できるカートリッジイジェクト装置を提供することを目的とする。
【0009】
【課題を解決するための手段】
本発明のカートリッジイジェクト装置は、カートリッジホルダーに摺動自在に取り付けられるイジェクトスライダに、弾性変形が可能なロック片およびロック解除用係合片を一体に形成したことを特徴とする。
【0010】
また、本発明のカートリッジイジェクト装置は、カートリッジホルダーに摺動自在に取り付けられカートリッジホルダーの係止部材に係合するロック片を有するイジェクトスライダと、記録再生装置の外装ケースの側に設けられて前記ロック片のロック解除に寄与するロック解除手段を設け、カートリッジホルダーを閉じるときには互いの当接によって前記ロック片とロック解除手段の少なくとも一方を弾性変形ができるように構成して、カートリッジホルダーを開けるときには、ロック解除手段がカートリッジホルダーの係止部材とロック片との係合を解除するように構成したことを特徴とする。
【0011】
この本発明によると、部品点数の削減と組み立て工数の低減を達成できるカートリッジイジェクト装置を実現できる。
【0012】
【発明の実施の形態】
請求項1記載のカートリッジイジェクト装置は、記録再生装置の外装ケースの蓋体の開閉動作に連動して回動自在に支持されカートリッジが挿入保持されるカートリッジホルダーと、前記カートリッジホルダーに摺動自在に取り付けられるとともに挿入されたカートリッジに係合するカートリッジ係合片を有するイジェクトスライダと、前記イジェクトスライダに一体に形成され弾性変形が可能なロック片およびロック片解除用係合片を有するロック手段と、前記イジェクトスライダをカートリッジのイジェクト方向に付勢するイジェクト付勢手段と、前記カートリッジホルダーに設けられ前記ロック手段のロック片をロックする係止部材と、前記カートリッジホルダーを回動自在に支持する記録再生装置の本体側に設けられ前記ロック手段のロック解除用係合片と係合してロック片の係止部に対するロックを解除するロック解除部材を備え、前記ロック手段は、蓋体が開状態でカートリッジをカートリッジホルダーに奥部まで挿入した際にロック片が係止部材にロックされるとともに、前記蓋体の閉状態から開く際にロック解除用係合片がロック解除部材に係合してロック状態が解除され、カートリッジをカートリッジホルダーからイジェクトすることを特徴とする。
【0013】
請求項2記載のカートリッジイジェクト装置は、請求項1において、イジェクトスライダとロック手段を1枚の板金により構成し、カートリッジ係合片をカートリッジホルダーのカートリッジ挿入域に突出形成し、カートリッジの挿入押圧によりイジェクトスライダを摺動するとともに、ロック手段をロックするように構成したことを特徴とする。
【0014】
請求項3記載のカートリッジイジェクト装置は、請求項1または請求項2において、ロック手段のロック解除用係合片は、蓋体の開状態から閉状態に回動するカートリッジホルダーの回動の際、ロック解除部材と係合するも、当該ロック解除用係合片とロック解除部材のうちの少なくとも一方の弾性変形によりロック片のロック状態を解除することなく蓋が閉状態となるように構成したことを特徴とする。
【0015】
請求項4記載のカートリッジイジェクト装置は、請求項1または請求項2において、ロック解除部材は、カートリッジホルダーを回動自在に保持するシャーシを折り曲げて一体に形成したことを特徴とする。
【0016】
請求項5記載のカートリッジイジェクト装置は、請求項1または請求項2において、ロック解除部材は、カートリッジホルダーを回動自在に保持するシャーシに保持した弾性部材で形成し、ロック解除用係合片の蓋の閉方向への移動時には変形し、蓋の開方向への移動時にはロック解除用係合片と係合可能に構成したことを特徴とする。
【0017】
以下、本発明のカートリッジイジェクト装置を各実施の形態に基づいて説明する。
(実施の形態1)
図1〜図15は本発明のカートリッジイジェクト装置を備えた携帯用ディスク装置を示す。
【0018】
図1に示すように、携帯用MDプレーヤーの外装ケースの上蓋1を開くとカートリッジホルダー2のカートリッジ挿入口3が現れ、カートリッジホルダー2にカートリッジ4を挿入すると、この挿入の操作に連動してカートリッジ4のシャッタ5が開放される。6はメカシャーシである。
【0019】
カートリッジホルダー2は、図2に示すように後端の両側に形成された折曲部7に穿設された孔8に、メカシャーシ6の後端に形成された軸支片9を挿入して回動自在に支持されている。カートリッジホルダー2には、前記の折曲部7の他にも支持板部10と係止部材11とシャッター開放部材12aとシャッター閉塞部材12bと一対の切り起こし片13a,13bなどが一体に板金加工で形成されている。メカシャーシ6にはロック解除部材14が一体に板金加工で形成されている。
【0020】
カートリッジホルダー2に組み付けられるイジェクトスライダ15は、図3と図4に示すようにカートリッジホルダー2に挿入されたカートリッジ4に当接する係合片16と、カートリッジホルダー2の前記の支持板部10に沿うベース部17と、ロック手段18とが板金加工で一体に形成されている。
【0021】
このロック手段18は、ロック片19とこのロック片19の先端に形成されたロック解除用係合片20とが、孔21を穿設する板金加工でイジェクトスライダ15に一体に形成されている。
【0022】
なお、ベース部17にはカートリッジホルダー2の支持板部10の切り起こし片13a,13bが係合するガイド長孔22a,22bが形成されている。ロック片19には、図4に示すように長手方向(矢印A方向)の剛性を満足させるために折曲辺23が一体に形成されている。ロック解除用係合片20は中間部を外側(矢印B方向)に突出させるようにへの字状に成形して、このロック解除用係合片20の先端20aは内側(矢印C方向)に向いている。
【0023】
イジェクトスライダ15はカートリッジホルダー2に図5に示すように、カートリッジホルダー2の切り起こし片13a,13bをイジェクトスライダ15のガイド長孔22a,22bに係合させてスライド自在に組み付け、イジェクトスライダ15に一体に形成されているバネ係止片24とカートリッジホルダー2に一体に形成されているバネ係止片25の間に引っ張りコイルバネ26が介装されている。
【0024】
図5と図6は上蓋1を開いてカートリッジ挿入口3からカートリッジ4をイジェクトスライダ15の係合片16に当接するまで挿入した状態を示している。この状態から引っ張りコイルバネ26の付勢に抗してカートリッジ4を押し込むと、この状態では、カートリッジ4の溝4aにシャッター開放部材12aが係合して、またシャッタ5の孔5aにシャッター閉塞部材12bが係合した状態でシャッタ5が溝4bに沿って解放され、カートリッジホルダー2に対してイジェクトスライダ15はガイド長孔22a,22bに沿って摺動し、イジェクトスライダ15のロック片19の係止部19aがカートリッジホルダー2の係止部材11に係合する直前位置で、図7に示すようにイジェクトスライダ15のロック解除用係合片20の先端がメカシャーシ6のロック解除部材14の側面に当接するとともに、ロック片19の係止部19aの直前に形成されている傾斜面19bがカートリッジホルダー2の係止部材14の裏面に当接する。
【0025】
なお、ロック解除用係合片20の先端がメカシャーシ6のロック解除部材14の側面に当接した状態におけるロック解除用係合片20の先端を逃がす孔2aが、カートリッジホルダー2の側に設けられている。
【0026】
カートリッジ4がさらに押し込まれることによってロック片19がカートリッジホルダー2の係止部材11によって押し下げられて、ロック片19は基端部dを支点に先端が下方に弾性変形し、ロック片19の傾斜面19bがカートリッジホルダー2の係止部材14を通過した時に前記の弾性変形が解除されて、図8と図9に示すようにイジェクトスライダ15のロック片19の係止部19aがカートリッジホルダー2の係止部材11に係合して、カートリッジホルダー2におけるイジェクトスライダ15の摺動位置がロックされる。このイジェクトスライダ15がロックされた状態では、カートリッジ4を押し込む操作力を解除してもカートリッジ4はカートリッジホルダー2から飛び出さない。また、この図8に示す状態では、イジェクトスライダ15のロック解除用係合片20の先端がメカシャーシ6のロック解除部材14の側面に当接している。
【0027】
次に、上蓋1を閉じる方向に回動させると、カートリッジホルダー2が図8の矢印D方向に回動し、メカシャーシ6のロック解除部材14の側面に当接していたロック解除用係合片20が図10〜図12に示すようにロック解除部材14の側面から外れて、ロック解除用係合片20がロック解除部材14の下方位置に移動する。この図10〜図12に示す状態でカートリッジ1に収容された光ディスクの記録再生が実施される。
【0028】
カートリッジ4の交換の際には、上蓋1を開くことによって、カートリッジホルダー2が図13に示すように矢印E方向に回動する。この回動の際には、図14に示すようにイジェクトスライダ15のロック解除用係合片20の中間部がメカシャーシ6のロック解除部材14によって押し下げられて、イジェクトスライダ15のロック片19の係止部19aとカートリッジホルダー2の係止部材11との係合が解除されて、イジェクトスライダ15が引っ張りコイルバネ26の付勢力でカートリッジホルダー2に対して矢印F方向に摺動する。この際に、イジェクトスライダ15の係合片16によってカートリッジ4が図15に示すようにカートリッジホルダー2から押し出されてイジェクトが実行される。
【0029】
このように、イジェクトスライダ15のロック片19に一体にロック解除用係合片20を設け、カートリッジホルダー2に一体に形成された係止部材11に係合してロックされたイジェクトスライダ15の前記ロックを解除する際には、上蓋1の開放操作に連動してカートリッジホルダー2が回動するが、イジェクトスライダ15のロック解除用係合片20の回動がメカシャーシ6に一体に設けたロック解除部材14によって規制されて、前記のロック片19と係止部材11とが係合したロック状態が解除されてイジェクトが実行されるので、図29に示した従来例のロック部材67やラチェット部材72などを必要とせず、その組み付け工程を必要としない。
【0030】
(実施の形態2)
図16〜図29は本発明の(実施の形態2)のカートリッジイジェクト装置を備えた携帯用ディスク装置を示す。なお、(実施の形態1)と同様の作用をなすものには同一の符号を付けて説明する。
【0031】
(実施の形態1)ではロック手段18がロック片19とロック解除用係合片20とで構成され、外装ケースの上蓋1を開く際には、メカシャーシ6の側のロック解除部材14にイジェクトスライダ15の側のロック解除用係合片20が係合して、上蓋1を開く動作に連動してカートリッジホルダー2が開状態に回動することによってロック片19がカートリッジホルダー2の側の係止部材11から外れてカートリッジ4のイジェクトが実行されたが、この(実施の形態2)では、(実施の形態1)におけるロック解除用係合片20に相当する構成要件がイジェクトスライダ15の側には設けられておらず、その代わりにメカシャーシ6の側のロック解除部材14が弾性変形できるように構成されている。
【0032】
図16に示すカートリッジホルダー2は(実施の形態1)と同様で、イジェクトスライダ15の要部の形状が図17と図18に示すように構成されている。
イジェクトスライダ15には、カートリッジホルダー2に挿入されたカートリッジ4に当接する係合片16と、カートリッジホルダー2の支持板部10に沿うベース部17と、孔21を穿設して形成されたロック片19とが板金加工で一体に形成されている。
【0033】
なお、ベース部17にはカートリッジホルダー2の切り起こし片13a,13bが係合するガイド長孔22a,22bが形成されている。ロック片19には、図18に示すように長手方向(矢印A方向)の剛性を満足させるために折曲辺23が一体に形成されている。
【0034】
イジェクトスライダ15はカートリッジホルダー2に図19に示すように、カートリッジホルダー2の切り起こし片13a,13bをイジェクトスライダ15のガイド長孔22a,22bに係合させてスライド自在に組み付け、イジェクトスライダ15に一体に形成されているバネ係止片24とカートリッジホルダー2に一体に形成されているバネ係止片25の間に引っ張りコイルバネ26が介装されている。
【0035】
図16に示すメカシャーシ6の側に設けられた係止部材27は、メカシャーシ6に形成されたロック解除部本体28と、このロック解除部本体28に取り付けられるロック解除片29とで構成されている。この詳細は図24に示すように形成されている。
【0036】
図24の(a)(c)に示すように、バネ材を板金加工で形成されたロック解除片29には、メカシャーシ6のロック解除部本体28の後端に形成された第1の凸部28aに係合する孔29aが穿設された第1の折曲片29bがロック解除片本体29cの後部に形成され、ロック解除片本体29cの前端の上面にはカートリッジホルダー2に近付くように内側に折り曲げられた第2の折曲片29dが形成されている。第2の折曲片29dの途中には、後端に向かって延びる支持片29eが形成され、さらに、ロック解除片本体29cには、メカシャーシ6のロック解除部本体28の外側面に形成された第2の凸部28bに係合する切欠部29fが形成されている。
【0037】
さらに、このロック解除片29の前記の切欠部29fを形成することによってロック解除片本体29cに形成された腕部29gは、矢印G方向に内側に僅かに折り曲げて形成されている。
【0038】
このように構成されたロック解除片29のメカシャーシ6のロック解除部本体28への取り付けは、図24の(b)から(c)に示すようにワンタッチ操作で簡単に取り付けられる。
【0039】
具体的には、図24の(b)に示すように、ロック解除片29の第1の折曲片29bをメカシャーシ6のロック解除部本体28の第1の凸部28aに僅かだけ係合させるとともに、ロック解除片29の支持片29eとロック解除片本体29cの内側とでメカシャーシ6のロック解除部本体28の上部凸部28cを挟持し、メカシャーシ6のロック解除部本体28の上にロック解除片29が前上がりになった状態で載置される。この状態でロック解除片29の前端部を矢印Hで示すように下方に押圧すると、ロック解除片29は第1の折曲片29bの孔29aとメカシャーシ6のロック解除部本体28の第1の凸部28aとの係合箇所(ポイントP1)を中心に回動して図24(c)に示すようにロック解除片29の腕部29gがメカシャーシ6のロック解除部本体28の第2の凸部28bを乗り越えて、ロック解除片29の切欠部29fに第2の凸部28dが入り込んだ目的位置にセットされる。
【0040】
この図24(c)に示すセット状態では、メカシャーシ6のロック解除部本体28におけるロック解除片29の前後方向(矢印J方向)の位置は、メカシャーシ6のロック解除部本体28の後端面とロック解除片29の第1の折曲片29bとの当接(ポイントP2)と、メカシャーシ6のロック解除部本体28の上部凸部28cの前端とロック解除片29の第2の折曲片29dとの当接(ポイントP3)とで規制されて位置決めされている。
【0041】
また、上下方向の位置は、ロック解除片29の腕部29gがメカシャーシ6の第2の凸部28bに係合することによって位置決めされている。
また、左右方向の位置は、ロック解除片29の第2のロック解除片29の支持片29eの係止片本体側の端面29hを、メカシャーシ6の上部凸部28cの内周面に、ロック解除片29の腕部29gの弾性力で押し付けて位置決めされている。
【0042】
このようにメカシャーシ6のロック解除部本体28にセットされたロック解除片29の第2の折曲片29dの先端部29iが、下記に示すようにカートリッジのイジェクト動作に重要な役割を果たす。
【0043】
図19は上蓋1を開いてカートリッジ挿入口3からカートリッジ4を挿入している状態を示している。このときのイジェクトスライダ15のロック片19とメカシャーシ6の側のロック解除片29との位置関係を図20に示す。
【0044】
カートリッジ4をイジェクトスライダ15の係合片16に当接するまで挿入していくと、イジェクトスライダ15が引っ張りコイルバネ26の付勢に抗してカートリッジホルダー2に対してイジェクトスライダ15がガイド長孔22a,22bに沿って摺動し、図21に示すようにイジェクトスライダ15のロック片19の係止部19aがカートリッジホルダー2の係止部材11に係合する直前位置で、ロック片19の係止部19aの直前に形成されている傾斜面19bがカートリッジホルダー2の係止部材11の裏面に当接する。
【0045】
カートリッジ4がさらに押し込まれることによってロック片19がカートリッジホルダー2の係止部材11によって押し下げられて、ロック片19は基端部dを支点に先端が下方に弾性変形し、ロック片19の傾斜面19bがカートリッジホルダー2の係止部材11を通過した時に前記の弾性変形が解除されて、図22と図23に示すようにイジェクトスライダ15のロック片19の係止部19aがカートリッジホルダー2の係止部材11に係合して、カートリッジホルダー2におけるイジェクトスライダ15の摺動位置がロックされる。このイジェクトスライダ15がロックされた状態では、カートリッジ4を押し込む操作力を解除してもカートリッジ4はカートリッジホルダー2から飛び出さない。
【0046】
この状態におけるイジェクトスライダ15のロック片19とメカシャーシ6の側のロック解除片29との位置関係を図25に示す。図26の(a)は図25のX−X′矢視図を示す。この図からも分かるように、イジェクトスライダ15の折曲辺23の奥端23aはロック解除片29の第2の折曲片29dの先端部29iよりも上方に位置している。
【0047】
次に、上蓋1を閉じる方向に回動させると、カートリッジホルダー2が図22の矢印D方向に回動し、その途中でイジェクトスライダ15の折曲辺23の奥端23aとロック解除片29の第2の折曲片29dの先端部29iとが当接して、図26の(b)に示すようにロック解除片29の第2の折曲片29dの先端部29iが下方に弾性変形し、イジェクトスライダ15の折曲辺23が図26の(c)および図27に示すようにロック解除片29の第2の折曲片29dの側方を下側に向かって通過する。
【0048】
カートリッジ4の交換の際には、上蓋1を開くことによって、カートリッジホルダー2が図28に示すように矢印E方向に回動する。この回動の際には、イジェクトスライダ15の折曲辺23がメカシャーシ6の側の第2の折曲片29dの先端部29iの下方に当接して押し下げられて、イジェクトスライダ15のロック片19の係止部19aとカートリッジホルダー2の係止部材11との係合が解除されて、イジェクトスライダ15が引っ張りコイルバネ26の付勢力でカートリッジホルダー2に対して矢印F方向に摺動する。この際に、イジェクトスライダ15の係合片16によってカートリッジ4が図28に示すようにカートリッジホルダー2から押し出される。
【0049】
上記の(実施の形態2)では、第2の折曲片29dとロック片19のうちの第2の折曲片29dを弾性変形するように構成したが、ロック片19の方を弾性変形するように構成したり、第2の折曲片29dとロック片19の両方をを弾性変形するようにして構成することもできる。
【0050】
【発明の効果】
以上のように本発明によると、カートリッジホルダーに摺動自在に取り付けられるイジェクトスライダに、弾性変形が可能なロック片およびロック解除用係合片を一体に形成したため、部品点数の削減と組み立て工数の低減を達成してカートリッジのイジェクトを実現できる。
【0051】
また、本発明によると、カートリッジホルダーに摺動自在に取り付けられカートリッジホルダーの係止部材に係合するロック片を有するイジェクトスライダと、記録再生装置の外装ケースの側に設けられて前記ロック片のロック解除に寄与するロック解除手段を設け、カートリッジホルダーを閉じるときには互いの当接によって前記ロック片とロック解除手段の少なくとも一方を弾性変形ができるように構成して、カートリッジホルダーを開けるときには、ロック解除手段がカートリッジホルダーの係止部材とロック片との係合を解除するように構成したため、部品点数の削減と組み立て工数の低減を達成してカートリッジのイジェクトを実現できる。
【図面の簡単な説明】
【図1】本発明のカートリッジイジェクト装置を備えた携帯用ディスク装置の外観斜視図
【図2】同(実施の形態1)のカートリッジイジェクト装置の分解斜視図
【図3】同実施の形態のイジェクトスライダの正面図
【図4】図3の一部切欠き平面図
【図5】同実施の形態の上蓋を開いた状態のカートリッジイジェクト装置の正面図
【図6】図5の要部の拡大図
【図7】図5の状態でカートリッジを終端の近くまで押し込んだ状態の要部の平面図
【図8】図5の状態でカートリッジを終端まで押し込んだ状態の正面図
【図9】図8の要部の拡大図
【図10】同実施の形態の上蓋を閉じた状態のカートリッジイジェクト装置の正面図
【図11】図10の要部の拡大図
【図12】図10の状態の要部の平面図
【図13】上蓋を閉じた状態から開いた状態のイジェクト直前の正面図
【図14】図13の要部の拡大図
【図15】上蓋を閉じた状態から開いた状態のイジェクト時の正面図
【図16】(実施の形態2)のカートリッジイジェクト装置の分解斜視図
【図17】同実施の形態のイジェクトスライダの正面図
【図18】図17の一部切欠き平面図
【図19】同実施の形態の上蓋を開いた状態のカートリッジイジェクト装置の正面図
【図20】図19の要部の拡大図
【図21】図19でカートリッジを終端の近くまで押し込んだ状態の要部の拡大図
【図22】図19でカートリッジを終端まで押し込んだ状態の正面図
【図23】図22の要部の拡大図
【図24】同(実施の形態2)の係止部本体と係止片の拡大の分解斜視と組み立て工程図
【図25】同(実施の形態2)の上蓋を閉じる前の状態の要部の平面図
【図26】同(実施の形態2)の各状態の背面図
【図27】同(実施の形態2)の上蓋を閉じた状態の要部の平面図
【図28】上蓋を閉じた状態から開いた状態のイジェクト時の正面図
【図29】従来のカートリッジイジェクト装置の分解斜視図
【符号の説明】
1 外装ケースの上蓋
2 カートリッジホルダー
3 カートリッジ挿入口
4 カートリッジ
5 シャッタ
6 メカシャーシ
7 カートリッジホルダーの折曲部
8 孔
9 軸支片
10 支持板部
11 係止部材
12 シャッター開放部材
13a,13b 切り起こし片
14 ロック解除部材
15 イジェクトスライダ
16 係合片
17 ベース部
18 ロック手段
19 ロック片
19a ロック片の係止部
19b ロック片の傾斜面
20 ロック解除用係合片
21 孔
22a,22b ガイド長孔
23 折曲辺
24 バネ係止片
25 バネ係止片
26 引っ張りコイルバネ
27 メカシャーシの側に設けられた係止部材
28 係止部本体
28a 第1の凸部
28b 第2の凸部
28c 上部凸部
29 ロック解除片
29a 孔
29b 第1の折曲片
29c ロック解除片本体
29d 第2の折曲片
29e 支持片
29f 切欠部
29g 腕部
Claims (9)
- 記録再生装置の外装ケースの蓋体の開閉動作に連動して回動自在に支持されカートリッジが挿入保持されるカートリッジホルダーと、
前記カートリッジホルダーに摺動自在に取り付けられるとともに挿入されたカートリッジに係合するカートリッジ係合片を有するイジェクトスライダと、
前記イジェクトスライダに一体に形成され弾性変形が可能なロック片およびロック片解除用係合片を有するロック手段と、
前記イジェクトスライダをカートリッジのイジェクト方向に付勢するイジェクト付勢手段と、
前記カートリッジホルダーに設けられ前記ロック手段のロック片をロックする係止部材と、
前記カートリッジホルダーを回動自在に支持する記録再生装置の本体側に設けられ前記ロック手段のロック解除用係合片と係合してロック片の係止部に対するロックを解除するロック解除部材を備え、
前記ロック手段は、蓋体が開状態でカートリッジをカートリッジホルダーに奥部まで挿入した際にロック片が係止部材にロックされるとともに、前記蓋体の閉状態から開く際にロック解除用係合片がロック解除部材に係合してロック状態が解除され、カートリッジをカートリッジホルダーからイジェクトする
カートリッジイジェクト装置。 - イジェクトスライダとロック手段を1枚の板金により構成し、カートリッジ係合片をカートリッジホルダーのカートリッジ挿入域に突出形成し、カートリッジの挿入押圧によりイジェクトスライダを摺動するとともに、ロック手段をロックするように構成した
請求項1記載のカートリッジイジェクト装置。 - ロック手段のロック解除用係合片は、蓋体の開状態から閉状態に回動するカートリッジホルダーの回動の際、ロック解除部材と係合するも、当該ロック解除用係合片とロック解除部材のうちの少なくとも一方が弾性変形することによりロック片のロック状態を解除することなく蓋が閉状態となるように構成した
請求項1または請求項2記載のカートリッジイジェクト装置。 - ロック解除部材は、カートリッジホルダーを回動自在に保持するシャーシを折り曲げて一体に形成した
請求項1または請求項2記載のカートリッジイジェクト装置。 - ロック解除部材は、カートリッジホルダーを回動自在に保持するシャーシに保持した弾性部材で形成し、ロック解除用係合片の蓋の閉方向への移動時には変形し、蓋の開方向への移動時にはロック解除用係合片と係合可能に構成した
請求項1または請求項2記載のカートリッジイジェクト装置。 - 記録再生装置の外装ケースの上蓋(1)の開閉動作に連動して回動自在に支持されカートリッジが挿入保持されるカートリッジホルダー(2)と、
前記カートリッジホルダー(2)に摺動自在に取り付けられるとともに挿入されたカートリッジ(4)に係合するカートリッジ係合片(16)を有し、かつ孔(21)を穿設して形成されたロック片(19)とこのロック片(19)の先端に形成されたロック解除用係合片(20)が一体に形成されたイジェクトスライダ(15)と、
前記イジェクトスライダ(15)をカートリッジ(4)のイジェクト方向に付勢するバネ(26)と、
前記カートリッジホルダー(2)に設けられ前記ロック片(19)に係合する係止部材(11)と、
前記カートリッジホルダー(2)を回動自在に支持するメカシャーシ(6)の側に設けられカートリッジホルダー(2)が閉塞方向へ回動する際には前記のロック解除用係合片(20)がカートリッジホルダー(2)の側に設けられたロック解除部材(14)の側面に当接して弾性変形しながらロック解除部材(14)の下面に潜り込んでロック解除用係合片(20)の前記の弾性変形が解除され、弾性変形が解除されたロック解除用係合片(20)がその後のカートリッジホルダー(2)の開放方向への回動によってロック解除部材(14)に係合してロック片(19)と係止部材(11)との前記の係合が解除されて、イジェクトスライダ(15)が前記バネ(26)の付勢力でカートリッジイジェクト方向に摺動し、カートリッジ係合片(16)がカートリッジ(4)をカートリッジホルダー(2)からイジェクトする
カートリッジイジェクト装置。 - 記録再生装置の外装ケースの上蓋(1)の開閉動作に連動して回動自在に支持されカートリッジが挿入保持されるカートリッジホルダー(2)と、
前記カートリッジホルダー(2)に摺動自在に取り付けられるとともに挿入されたカートリッジ(4)に係合するカートリッジ係合片(16)を有し、かつ一体に形成されたロック片(19)を有するイジェクトスライダ(15)と、
前記イジェクトスライダ(15)をカートリッジのイジェクト方向に付勢するバネ(26)と、
前記カートリッジホルダー(2)に設けられ前記ロック片(19)に係合する係止部(11)と、
前記カートリッジホルダー(2)を回動自在に支持するメカシャーシ(6)の側に設けられ弾性変形が可能なロック解除手段(27)と
を設け、カートリッジホルダー(2)が閉塞方向へ回動する際には前記ロック片(19)がロック解除手段(27)に当接して弾性変形して前記ロック片(19)が側方を通過し、その後のカートリッジホルダー(2)の開放方向への回動によって前記ロック片(19)が前記ロック解除手段(27)に係合してロック片(19)と係止部材(11)との前記の係合が解除されて、イジェクトスライダ(15)が前記バネ(26)の付勢力でカートリッジイジェクト方向に摺動し、カートリッジ係合片(16)がカートリッジ(4)をカートリッジホルダー(2)からイジェクトする
カートリッジイジェクト装置。 - メカシャーシ(6)の側に設けられたロック解除手段(27)を、
メカシャーシ(6)を折り曲げて構成されたロック解除部本体(28)と、
弾性材料で形成され前記のロック解除部本体(28)に取り付けられるロック解除片(29)と
で構成した請求項7記載のカートリッジイジェクト装置。 - メカシャーシ(6)を折り曲げて構成されたロック解除部本体(28)とこのロック解除部本体(28)に取り付けられるロック解除片(29)を、
ロック解除片(29)にはロック解除部本体(28)の後端に形成された第1の凸部(28a)に係合する第1の折曲片(29b)がロック解除片本体(29c)の後部に形成され、
ロック解除片本体(29c)の前端の上面にはカートリッジホルダー(2)に近付くように内側に折り曲げられた第2の折曲片(29d)が形成され、
第2の折曲片(29d)の途中には後端に向かって延びる支持片(29e)が形成され、
ロック解除片本体(29c)にはメカシャーシ(6)のロック解除部本体(28)の外側面に形成された第2の凸部(28b)に係合する切欠部(29f)が形成され、
このロック解除片(29)の前記の切欠部(29f)を形成することによってロック解除片本体(29c)に形成された腕部(29g)は、ロック解除部本体(28)の側に僅かに折り曲げて形成した
請求項7記載のカートリッジイジェクト装置。
Priority Applications (1)
| Application Number | Priority Date | Filing Date | Title |
|---|---|---|---|
| JP29762197A JP3553774B2 (ja) | 1997-10-30 | 1997-10-30 | カートリッジイジェクト装置 |
Applications Claiming Priority (1)
| Application Number | Priority Date | Filing Date | Title |
|---|---|---|---|
| JP29762197A JP3553774B2 (ja) | 1997-10-30 | 1997-10-30 | カートリッジイジェクト装置 |
Publications (2)
| Publication Number | Publication Date |
|---|---|
| JPH11134764A JPH11134764A (ja) | 1999-05-21 |
| JP3553774B2 true JP3553774B2 (ja) | 2004-08-11 |
Family
ID=17848939
Family Applications (1)
| Application Number | Title | Priority Date | Filing Date |
|---|---|---|---|
| JP29762197A Expired - Fee Related JP3553774B2 (ja) | 1997-10-30 | 1997-10-30 | カートリッジイジェクト装置 |
Country Status (1)
| Country | Link |
|---|---|
| JP (1) | JP3553774B2 (ja) |
-
1997
- 1997-10-30 JP JP29762197A patent/JP3553774B2/ja not_active Expired - Fee Related
Also Published As
| Publication number | Publication date |
|---|---|
| JPH11134764A (ja) | 1999-05-21 |
Similar Documents
| Publication | Publication Date | Title |
|---|---|---|
| JP3533681B2 (ja) | カートリッジのイジェクト機構 | |
| JP3553774B2 (ja) | カートリッジイジェクト装置 | |
| JP3726800B2 (ja) | ディスク記録再生装置 | |
| JP3105026B2 (ja) | ディスクカートリッジのシャッタ開閉機構 | |
| JP3591008B2 (ja) | カートリッジ排出装置及び記録及び/又は再生装置 | |
| JPH0237626B2 (ja) | ||
| JP3525459B2 (ja) | ディスクカートリッジのイジェクト機構 | |
| JP4029500B2 (ja) | ディスクカートリッジのイジェクト機構 | |
| JP4052059B2 (ja) | ディスクカートリッジ排出機構及び方法 | |
| JP3806570B2 (ja) | カートリッジの収納装置 | |
| JP3105198B2 (ja) | ディスクカートリッジのシャッタ開閉機構 | |
| JP2601350Y2 (ja) | ディスクカートリッジ装着装置 | |
| JP4062836B2 (ja) | フロッピーディスク・ドライブ | |
| JP2599394Y2 (ja) | 円盤媒体の読取り装置におけるカートリッジ押え装置 | |
| JP2899847B2 (ja) | ディスク装置 | |
| JP3425045B2 (ja) | コンピュータ及びこのコンピュータに使用するディスク駆動装置 | |
| JP3733855B2 (ja) | 記録媒体装着装置 | |
| JP2002133749A (ja) | イジェクト機構並びにディスク記録及び/又は再生装置 | |
| JP4379581B2 (ja) | ディスクカートリッジ | |
| JP2779230B2 (ja) | ケース装着・排出機構 | |
| JP2003091984A (ja) | ディスクドライブ | |
| JPH0281354A (ja) | カセツト排出装置 | |
| JP2004087013A (ja) | ディスク再生装置 | |
| JP2005209236A (ja) | ディスク記録又は再生装置 | |
| JP2005209232A (ja) | カートリッジの収納装置 |
Legal Events
| Date | Code | Title | Description |
|---|---|---|---|
| TRDD | Decision of grant or rejection written | ||
| A01 | Written decision to grant a patent or to grant a registration (utility model) |
Free format text: JAPANESE INTERMEDIATE CODE: A01 Effective date: 20040406 |
|
| A61 | First payment of annual fees (during grant procedure) |
Free format text: JAPANESE INTERMEDIATE CODE: A61 Effective date: 20040430 |
|
| LAPS | Cancellation because of no payment of annual fees |