JP3553022B2 - 隅木又は谷木の組立工法及びその接合金具 - Google Patents
隅木又は谷木の組立工法及びその接合金具 Download PDFInfo
- Publication number
- JP3553022B2 JP3553022B2 JP2001038160A JP2001038160A JP3553022B2 JP 3553022 B2 JP3553022 B2 JP 3553022B2 JP 2001038160 A JP2001038160 A JP 2001038160A JP 2001038160 A JP2001038160 A JP 2001038160A JP 3553022 B2 JP3553022 B2 JP 3553022B2
- Authority
- JP
- Japan
- Prior art keywords
- plate portion
- joint
- joint plate
- fixed plate
- corner
- Prior art date
- Legal status (The legal status is an assumption and is not a legal conclusion. Google has not performed a legal analysis and makes no representation as to the accuracy of the status listed.)
- Expired - Fee Related
Links
- 239000002184 metal Substances 0.000 title claims description 57
- 238000000034 method Methods 0.000 title claims description 21
- 239000000463 material Substances 0.000 claims description 13
- 238000005452 bending Methods 0.000 claims description 7
- 239000000758 substrate Substances 0.000 description 8
- 238000007430 reference method Methods 0.000 description 6
- 238000010276 construction Methods 0.000 description 5
- 238000005304 joining Methods 0.000 description 5
- 239000002023 wood Substances 0.000 description 3
- 238000004519 manufacturing process Methods 0.000 description 2
- 230000007547 defect Effects 0.000 description 1
- 230000000694 effects Effects 0.000 description 1
- 238000009432 framing Methods 0.000 description 1
- JEIPFZHSYJVQDO-UHFFFAOYSA-N iron(III) oxide Inorganic materials O=[Fe]O[Fe]=O JEIPFZHSYJVQDO-UHFFFAOYSA-N 0.000 description 1
- 230000002265 prevention Effects 0.000 description 1
- 230000000630 rising effect Effects 0.000 description 1
- 238000003466 welding Methods 0.000 description 1
Images
Landscapes
- Joining Of Building Structures In Genera (AREA)
Description
【0001】
【産業上の利用分野】
本発明は、隅棟を有する建築物の屋根の隅木、谷木の組み立てに使用する接合金具並びに当該金具を使用した組立工法に関するものである。
【0002】
【従来の技術及び発明が解決しようとする課題】
従来の木造軸組工法における隅屋根の骨組みとなる隅木や谷木の組み込みは、図8に例示するように、隅木01や谷木02と、これらの支持部材である軒桁、母屋または棟木など桁材(横架材)03との接合部分は、両部材に切欠き加工を行って、これを組み合わせていた。しかし切欠き加工の寸法決定、実施作業には熟練技術と多大な労力が必要とされ、両部材に断面欠損が生じる等の問題点を有している。而も隅木01や谷木02によって支持される屋根面材と、桁材03との間に間隙が生ずる構造は、建築物への断熱機能付与に不利益なものとなる。
【0003】
そこで隅木01や谷木02によって支持される屋根面材と、軒桁(桁材)03との間に隙間が生じないようにし、且つ部材の切欠き加工を省略できる工法が提案されている。
【0004】
例えば特開平09−302832号公報並びに09−302833号公報には、束木の側面に固定して、左右隅木の継手板部を備えた金具が開示されているが、前記金具は、一面の固定部で2個以上の隅木を連結するもので強度上の不安があり、強度の信頼性を高めるために、束木への金具固定をボルトとして、束木と棟木との連結構造を複雑にしている。
【0005】
また前記公報には、軒桁に隅木を連結する金具も開示されている。この金具は、軒桁の上面並びに入隅側の火打ち梁上に固定する固定板に、隅木を連結する縦板状の継手板部を立設しているもので、強度上の点から入隅部分で且つ火打ち梁を採用した箇所にしか使用できない問題があり、汎用性に欠ける。更に前記の各金具は、溶接箇所が必須であり、当然溶接箇所の防錆処理も必要であり、この点からもコスト高となる。
【0006】
また特開平10−96290号公報にも、軒桁の入隅側に隅木を連結する金具が開示されている。この金具は、軒桁への固定部と隅木と連結する継手板部との間を蝶板連結するという複雑な構造を採用し、且つ蝶板連結構造の採用の結果、更に継手板部側に三角筒状の受けプレートを備える必要があり、金具全体が複雑で、その製造が煩雑である。
【0007】
そこで本発明は、隅木や谷木の組み込みに使用する汎用性を備える金具取り組みで桁材の側面に隅木や谷木を連結する金具、及びその接合金具使用の工法を提案したものである。
【0008】
【課題を解決するための手段】
本発明に係る金具と組み合わされる第一の金具は、固定板部と継手板部とを備え、固定板部を屋根束木の1/2以下の幅とし、継手板部を前記固定板部から135度の角度で折曲してなり、固定板部に釘孔を、継手板部にピン孔を穿設して、継手板部の上縁を適宜な角度の下方への傾斜辺に形成してなることを特徴とするものである。
【0009】
また本発明に係る金具(第二金具)は、固定板部と継手板部と連結板部とを備え、固定板部と継手板部とは、互いに対面すると共に延長面が45度の角度をなし、前記固定板部と継手板部との頂角側を連結板部で連結し、固定板部や継手板部に釘孔並びにピン孔を穿設し、連結板部と継手板部の上縁を、適宜な角度の下方傾斜辺に形成してなることを特徴とするものである。
【0010】
本発明に係る組立工法は、前記第一金具と第二金具とを、その継手板部を対面当接させて組み合わせ、固定板部を桁材の側面等に釘着し、継手板部に隅木又は谷木を連結してなることを特徴とするものである。
【0011】
従って溶接構造を必要としないで単純な形状の金具の組み合わせで、種々の箇所の隅木並びに谷木の連結組み込みを可能としたものである。
【0012】
【実施の形態】
次に本発明の実施形態について説明する。本発明工法及び他の参考工法は、隅棟を備えた木造軸組工法を採用した建築物において、屋根の棟部分(棟木4及び束木5)や母屋部分から桁材3に差し渡す隅木1や谷木2を、前記の支持部材である棟木4及び束木5並びに母屋または棟木など桁材(横架材)3との接合に関するもので、接合箇所の軸組構造に対応して本発明に係る接合金具を含む3種の接合金具を使用するものである。
【0013】
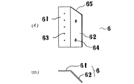
第一金具6は、図1に例示するとおり、金属板を折曲して形成したもので、固定板部61と継手板部62とを備えてなる。固定板部61は、屋根束木5の断面寸法における幅の1/2以下の幅とし、適宜箇所に釘孔63を適宜数穿設してなる。
【0014】
また継手板部62は、前記固定板部61から135度の角度で折曲されているもので、適宜数カ所にピン孔64を穿設すると共に、上縁(使用形態によっては下縁となる)を適宜な角度(好ましくは屋根勾配規格に対応させる)で下方へ傾斜させて傾斜辺65としてなる。
【0015】
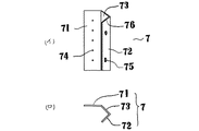
第二金具(本発明金具)7は、図2に例示するとおり、金属板を折曲して形成したもので、固定板部71と継手板部72と連結板部73とを備えてなるもので、固定板部71と継手板部72とは、互いに対面すると共に延長面が45度の角度をなし、前記固定板部71と継手板部72との頂角側を連結板部73で連結したものである。更に固定板部71の適宜数カ所に釘孔74を穿設し、継手板部72の適宜数カ所にピン孔75を穿設すると共に、連結板部73と継手板部72の上縁(使用形態によっては下縁となる)を、固定板部71と連結板部73の折曲箇所を起点として、適宜な角度(好ましくは屋根勾配規格に対応させる)で下方へ傾斜させて傾斜辺76を形成してなる。
【0016】
尚第一金具6と第二金具7は、同一種類又は異種類の金具を組み合わせて使用するものであるから、各金具6,7は、各々左右対称形状である金具であり、また両金具6,7は固定板部61,71の上辺高さを同一にした際に継手板部62,72のピン孔64,75の位置が一致するようにしておく。
【0017】
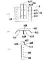
第三金具8は、図3に例示するとおり、基板81と継手板82とをビス83で連結して組み立て形成したもので、基板81は、金属板を折曲して形成したもので、基板部811の両側を前方に折曲して背後方向延長面が90度の角度をなす固定板部812を形成すると共に、基板部811の上縁を背後に折曲し、前記固定部背面と同一面となる端縁813を備えた支持板部814を形成してなる。また固定板部812の適宜数カ所に釘孔815を穿設してなる。
【0018】
継手板82は、金属板をL状に折曲したもので、折曲面の一方を継手板部821とし、他方を連結板部822としたもので、継手板部821が、基板部811の前面中央に基板部811に対して縦直交に突設するようにし、適宜数カ所にピン孔823を穿設し、且つ基板部811より上方に突出させた位置で、連結板部822を基板部811にビス83で止着してなるものである。
【0019】
次に前記金具を使用した本発明方法の実施形態について説明する。本発明金具(第二金具)と組み合わされて使用する第一金具を使用する第一の組立工法(参考工法)は、図4に例示するとおり、隅木1の上部側(屋根束木5の上部側面や、柱の出隅部分)の接合である。
【0020】
隅木1の接合は、左右対称の一対の第一金具6を、継手板部62同士を対面当接状態とし、傾斜辺65を上方に位置させて、固定板部61の上縁を屋根束木5の上端と一致させ、束木5の上端角部に固定板部61を釘着する。
【0021】
一方隅木1は、連結端面に前記継手板部62に嵌合する縦溝を予め穿設形成しておき、前記縦溝内に継手板部62を嵌合し、適宜なピンやボルトで連結してなる。
【0022】
第二の組立工法(参考工法)は、図5に例示するとおり、前記第一工法と同様に対称形状の一対の第一金具6を使用するものであるが、使用箇所が軒桁(桁材)3の出隅部分に谷木2を組み込むために、第一工法とは、上下逆にして傾斜辺65を下方に位置させて、固定板部61の上縁を桁材3の上面と一致させて、出隅形状となる桁材3の角部に固定板部61を釘着し、継手板部62を谷木の縦溝(予め縦溝を形成しておく)に差し入れて、両者を連結してなる。
【0023】
第三の組立工法(本発明工法)は、図6に例示するとおり、建築物に高さが異なる2箇所の棟が形成され、低い側の棟端において昇り勾配の隅木1と下り勾配の谷木2が同一箇所に取付き、当該位置において上端高さが等しい棟木4と束木5が接合されている場合等、特に母屋桁材や、棟木等の側面部分に棟木や谷木を連結する場合の工法である。
【0024】
即ち第一金具6と第二金具7を、継手板部62,72を対面当接させて組み合わせ、各金具6,7の固定板部61,71を棟木4の側面等に釘着し、対面当接した継手板部62,72に谷木2を連結してなるものである。この場合に、傾斜辺65,76は上方に位置するように組み合わせてなる。
【0025】
尚第三組立工法は、隅木1や谷木2の桁材3から連結方向並びに、隅木1や谷木2の選択によって左右対称の二種類の金具の組み合わせと、金具上下の使い分けによって全てに対応する。勿論図6に例示するように、隣接する隅木1や谷木2に対しては、前記の第一工法又は第二工法が適用されるものである。
【0026】
本発明の第四の組立工法(参考工法)は、図7に例示するとおり軒桁(桁材)3の直交入隅部に隅木1を取付ける為のもので、第三金具8を入隅部分に使用するものである。
【0027】
即ち第三金具8の両固定板部812を、桁材3の直交入隅形状の内側面箇所に、その上縁を桁材3の上面と一致させて釘着し、継手板部821に隅木1をその縦溝を使用してボルトやピン体で連結してなるものである。
【0028】
特に図示した例は、隅木1の場合を示したもので、金具8における基板81より継手板82が上方に突出した状態で使用しているが、谷木に対して使用する場合には、金具を上下逆転して使用する。
【0029】
【発明の効果】
以上のように本発明は、固定板部と継手板部と連結板部とを備え、固定板部と継手板部とは、互いに対面すると共に延長面が45度の角度をなし、前記固定板部と継手板部との頂角側を連結板部で連結した金具(第二金具)と、釘孔を設けた固定板部とピン孔を設けた継手板部とを備え、継手板部を前記固定板部から135度の角度で折曲してなる汎用性を有する第一金具とを組み合わせ、隅木や谷木を束木や桁材の側面に連結する組立工法で、製造容易な金具を採用して、隅木や谷木ならびに桁材等の切欠き加工を無くし、且つ隅木や谷木が載る屋根面材と軒桁との隙間をなくしての接合を可能としたものである。
【図面の簡単な説明】
【図1】本発明金具と組み合わせ使用される第一金具の説明図で、(イ)は正面図(ロ)は平面図。
【図2】本発明金具(第二金具)の説明図で、(イ)は正面図(ロ)は平面図。
【図3】参考第三金具の説明図で、(イ)は正面図(ロ)は平面図(ハ)は側面図。
【図4】参考第一工法の実施形態説明図。
【図5】同第二工法の実施形態説明図。
【図6】本発明工法(第三工法)の実施形態説明図で、(イ)は斜視図(ロ)は平面図。
【図7】参考第四工法の実施形態説明図。
【図8】従来例の説明図。
【符号の説明】
1 隅木
2 谷木
3 桁材(横架材)
4 棟木(横架材)
5 束木
6 第一金具
61 固定板部
62 継手板部
63 釘孔
64 ピン孔
65 傾斜辺
7 第二金具
71 固定板部
72 継手板部
73 連結板部
74 釘孔
75 ピン孔
76 傾斜辺
8 第三金具
81 基板
811 基板部
812 固定板部
813 端縁
814 支持板部
815 釘孔
82 継手板
821 継手板部
822 連結板部
823 ピン孔
83 ビス
【産業上の利用分野】
本発明は、隅棟を有する建築物の屋根の隅木、谷木の組み立てに使用する接合金具並びに当該金具を使用した組立工法に関するものである。
【0002】
【従来の技術及び発明が解決しようとする課題】
従来の木造軸組工法における隅屋根の骨組みとなる隅木や谷木の組み込みは、図8に例示するように、隅木01や谷木02と、これらの支持部材である軒桁、母屋または棟木など桁材(横架材)03との接合部分は、両部材に切欠き加工を行って、これを組み合わせていた。しかし切欠き加工の寸法決定、実施作業には熟練技術と多大な労力が必要とされ、両部材に断面欠損が生じる等の問題点を有している。而も隅木01や谷木02によって支持される屋根面材と、桁材03との間に間隙が生ずる構造は、建築物への断熱機能付与に不利益なものとなる。
【0003】
そこで隅木01や谷木02によって支持される屋根面材と、軒桁(桁材)03との間に隙間が生じないようにし、且つ部材の切欠き加工を省略できる工法が提案されている。
【0004】
例えば特開平09−302832号公報並びに09−302833号公報には、束木の側面に固定して、左右隅木の継手板部を備えた金具が開示されているが、前記金具は、一面の固定部で2個以上の隅木を連結するもので強度上の不安があり、強度の信頼性を高めるために、束木への金具固定をボルトとして、束木と棟木との連結構造を複雑にしている。
【0005】
また前記公報には、軒桁に隅木を連結する金具も開示されている。この金具は、軒桁の上面並びに入隅側の火打ち梁上に固定する固定板に、隅木を連結する縦板状の継手板部を立設しているもので、強度上の点から入隅部分で且つ火打ち梁を採用した箇所にしか使用できない問題があり、汎用性に欠ける。更に前記の各金具は、溶接箇所が必須であり、当然溶接箇所の防錆処理も必要であり、この点からもコスト高となる。
【0006】
また特開平10−96290号公報にも、軒桁の入隅側に隅木を連結する金具が開示されている。この金具は、軒桁への固定部と隅木と連結する継手板部との間を蝶板連結するという複雑な構造を採用し、且つ蝶板連結構造の採用の結果、更に継手板部側に三角筒状の受けプレートを備える必要があり、金具全体が複雑で、その製造が煩雑である。
【0007】
そこで本発明は、隅木や谷木の組み込みに使用する汎用性を備える金具取り組みで桁材の側面に隅木や谷木を連結する金具、及びその接合金具使用の工法を提案したものである。
【0008】
【課題を解決するための手段】
本発明に係る金具と組み合わされる第一の金具は、固定板部と継手板部とを備え、固定板部を屋根束木の1/2以下の幅とし、継手板部を前記固定板部から135度の角度で折曲してなり、固定板部に釘孔を、継手板部にピン孔を穿設して、継手板部の上縁を適宜な角度の下方への傾斜辺に形成してなることを特徴とするものである。
【0009】
また本発明に係る金具(第二金具)は、固定板部と継手板部と連結板部とを備え、固定板部と継手板部とは、互いに対面すると共に延長面が45度の角度をなし、前記固定板部と継手板部との頂角側を連結板部で連結し、固定板部や継手板部に釘孔並びにピン孔を穿設し、連結板部と継手板部の上縁を、適宜な角度の下方傾斜辺に形成してなることを特徴とするものである。
【0010】
本発明に係る組立工法は、前記第一金具と第二金具とを、その継手板部を対面当接させて組み合わせ、固定板部を桁材の側面等に釘着し、継手板部に隅木又は谷木を連結してなることを特徴とするものである。
【0011】
従って溶接構造を必要としないで単純な形状の金具の組み合わせで、種々の箇所の隅木並びに谷木の連結組み込みを可能としたものである。
【0012】
【実施の形態】
次に本発明の実施形態について説明する。本発明工法及び他の参考工法は、隅棟を備えた木造軸組工法を採用した建築物において、屋根の棟部分(棟木4及び束木5)や母屋部分から桁材3に差し渡す隅木1や谷木2を、前記の支持部材である棟木4及び束木5並びに母屋または棟木など桁材(横架材)3との接合に関するもので、接合箇所の軸組構造に対応して本発明に係る接合金具を含む3種の接合金具を使用するものである。
【0013】
第一金具6は、図1に例示するとおり、金属板を折曲して形成したもので、固定板部61と継手板部62とを備えてなる。固定板部61は、屋根束木5の断面寸法における幅の1/2以下の幅とし、適宜箇所に釘孔63を適宜数穿設してなる。
【0014】
また継手板部62は、前記固定板部61から135度の角度で折曲されているもので、適宜数カ所にピン孔64を穿設すると共に、上縁(使用形態によっては下縁となる)を適宜な角度(好ましくは屋根勾配規格に対応させる)で下方へ傾斜させて傾斜辺65としてなる。
【0015】
第二金具(本発明金具)7は、図2に例示するとおり、金属板を折曲して形成したもので、固定板部71と継手板部72と連結板部73とを備えてなるもので、固定板部71と継手板部72とは、互いに対面すると共に延長面が45度の角度をなし、前記固定板部71と継手板部72との頂角側を連結板部73で連結したものである。更に固定板部71の適宜数カ所に釘孔74を穿設し、継手板部72の適宜数カ所にピン孔75を穿設すると共に、連結板部73と継手板部72の上縁(使用形態によっては下縁となる)を、固定板部71と連結板部73の折曲箇所を起点として、適宜な角度(好ましくは屋根勾配規格に対応させる)で下方へ傾斜させて傾斜辺76を形成してなる。
【0016】
尚第一金具6と第二金具7は、同一種類又は異種類の金具を組み合わせて使用するものであるから、各金具6,7は、各々左右対称形状である金具であり、また両金具6,7は固定板部61,71の上辺高さを同一にした際に継手板部62,72のピン孔64,75の位置が一致するようにしておく。
【0017】
第三金具8は、図3に例示するとおり、基板81と継手板82とをビス83で連結して組み立て形成したもので、基板81は、金属板を折曲して形成したもので、基板部811の両側を前方に折曲して背後方向延長面が90度の角度をなす固定板部812を形成すると共に、基板部811の上縁を背後に折曲し、前記固定部背面と同一面となる端縁813を備えた支持板部814を形成してなる。また固定板部812の適宜数カ所に釘孔815を穿設してなる。
【0018】
継手板82は、金属板をL状に折曲したもので、折曲面の一方を継手板部821とし、他方を連結板部822としたもので、継手板部821が、基板部811の前面中央に基板部811に対して縦直交に突設するようにし、適宜数カ所にピン孔823を穿設し、且つ基板部811より上方に突出させた位置で、連結板部822を基板部811にビス83で止着してなるものである。
【0019】
次に前記金具を使用した本発明方法の実施形態について説明する。本発明金具(第二金具)と組み合わされて使用する第一金具を使用する第一の組立工法(参考工法)は、図4に例示するとおり、隅木1の上部側(屋根束木5の上部側面や、柱の出隅部分)の接合である。
【0020】
隅木1の接合は、左右対称の一対の第一金具6を、継手板部62同士を対面当接状態とし、傾斜辺65を上方に位置させて、固定板部61の上縁を屋根束木5の上端と一致させ、束木5の上端角部に固定板部61を釘着する。
【0021】
一方隅木1は、連結端面に前記継手板部62に嵌合する縦溝を予め穿設形成しておき、前記縦溝内に継手板部62を嵌合し、適宜なピンやボルトで連結してなる。
【0022】
第二の組立工法(参考工法)は、図5に例示するとおり、前記第一工法と同様に対称形状の一対の第一金具6を使用するものであるが、使用箇所が軒桁(桁材)3の出隅部分に谷木2を組み込むために、第一工法とは、上下逆にして傾斜辺65を下方に位置させて、固定板部61の上縁を桁材3の上面と一致させて、出隅形状となる桁材3の角部に固定板部61を釘着し、継手板部62を谷木の縦溝(予め縦溝を形成しておく)に差し入れて、両者を連結してなる。
【0023】
第三の組立工法(本発明工法)は、図6に例示するとおり、建築物に高さが異なる2箇所の棟が形成され、低い側の棟端において昇り勾配の隅木1と下り勾配の谷木2が同一箇所に取付き、当該位置において上端高さが等しい棟木4と束木5が接合されている場合等、特に母屋桁材や、棟木等の側面部分に棟木や谷木を連結する場合の工法である。
【0024】
即ち第一金具6と第二金具7を、継手板部62,72を対面当接させて組み合わせ、各金具6,7の固定板部61,71を棟木4の側面等に釘着し、対面当接した継手板部62,72に谷木2を連結してなるものである。この場合に、傾斜辺65,76は上方に位置するように組み合わせてなる。
【0025】
尚第三組立工法は、隅木1や谷木2の桁材3から連結方向並びに、隅木1や谷木2の選択によって左右対称の二種類の金具の組み合わせと、金具上下の使い分けによって全てに対応する。勿論図6に例示するように、隣接する隅木1や谷木2に対しては、前記の第一工法又は第二工法が適用されるものである。
【0026】
本発明の第四の組立工法(参考工法)は、図7に例示するとおり軒桁(桁材)3の直交入隅部に隅木1を取付ける為のもので、第三金具8を入隅部分に使用するものである。
【0027】
即ち第三金具8の両固定板部812を、桁材3の直交入隅形状の内側面箇所に、その上縁を桁材3の上面と一致させて釘着し、継手板部821に隅木1をその縦溝を使用してボルトやピン体で連結してなるものである。
【0028】
特に図示した例は、隅木1の場合を示したもので、金具8における基板81より継手板82が上方に突出した状態で使用しているが、谷木に対して使用する場合には、金具を上下逆転して使用する。
【0029】
【発明の効果】
以上のように本発明は、固定板部と継手板部と連結板部とを備え、固定板部と継手板部とは、互いに対面すると共に延長面が45度の角度をなし、前記固定板部と継手板部との頂角側を連結板部で連結した金具(第二金具)と、釘孔を設けた固定板部とピン孔を設けた継手板部とを備え、継手板部を前記固定板部から135度の角度で折曲してなる汎用性を有する第一金具とを組み合わせ、隅木や谷木を束木や桁材の側面に連結する組立工法で、製造容易な金具を採用して、隅木や谷木ならびに桁材等の切欠き加工を無くし、且つ隅木や谷木が載る屋根面材と軒桁との隙間をなくしての接合を可能としたものである。
【図面の簡単な説明】
【図1】本発明金具と組み合わせ使用される第一金具の説明図で、(イ)は正面図(ロ)は平面図。
【図2】本発明金具(第二金具)の説明図で、(イ)は正面図(ロ)は平面図。
【図3】参考第三金具の説明図で、(イ)は正面図(ロ)は平面図(ハ)は側面図。
【図4】参考第一工法の実施形態説明図。
【図5】同第二工法の実施形態説明図。
【図6】本発明工法(第三工法)の実施形態説明図で、(イ)は斜視図(ロ)は平面図。
【図7】参考第四工法の実施形態説明図。
【図8】従来例の説明図。
【符号の説明】
1 隅木
2 谷木
3 桁材(横架材)
4 棟木(横架材)
5 束木
6 第一金具
61 固定板部
62 継手板部
63 釘孔
64 ピン孔
65 傾斜辺
7 第二金具
71 固定板部
72 継手板部
73 連結板部
74 釘孔
75 ピン孔
76 傾斜辺
8 第三金具
81 基板
811 基板部
812 固定板部
813 端縁
814 支持板部
815 釘孔
82 継手板
821 継手板部
822 連結板部
823 ピン孔
83 ビス
Claims (2)
- 金属板を折曲して形成した固定板部と継手板部と連結板部とを備え、固定板部と継手板部とは、互いに対面すると共に延長面が45度の角度をなし、前記固定板部と継手板部との頂角側を連結板部で連結し、固定板部に釘孔を穿設し、継手板部にピン孔を穿設すると共に、連結板部と継手板部の上縁を、適宜な角度の下方傾斜辺に形成してなることを特徴とする隅木又は谷木の接合金具。
- 金属板を折曲して形成した固定板部と継手板部とを備え、固定板部を屋根束木の1/2以下の幅とし、継手板部を前記固定板部から135度の角度で折曲してなり、固定板部に釘孔を穿設し、継手板部にピン孔を穿設すると共に、継手板部の上縁を適宜な角度の下方への傾斜辺に形成してなる第一金具と、金属板を折曲して形成した固定板部と継手板部と連結板部とを備え、固定板部と継手板部とは、互いに対面すると共に延長面が45度の角度をなし、前記固定板部と継手板部との頂角側を連結板部で連結し、固定板部に釘孔を穿設し、継手板部にピン孔を穿設すると共に、連結板部と継手板部の上縁を、適宜な角度の下方傾斜辺に形成してなる第二金具とを、左右に固定板部が位置するように継手板部同士を対面当接状態とし、桁材の側面、又は桁材及び束木に渡る側面に、固定板部上縁を桁材上面と一致させて、前記側面に固定板部を釘着し、対面当接する継手板部に隅木又は谷木を連結してなることを特徴とする隅木又は谷木の組立工法。
Priority Applications (1)
| Application Number | Priority Date | Filing Date | Title |
|---|---|---|---|
| JP2001038160A JP3553022B2 (ja) | 2001-02-15 | 2001-02-15 | 隅木又は谷木の組立工法及びその接合金具 |
Applications Claiming Priority (1)
| Application Number | Priority Date | Filing Date | Title |
|---|---|---|---|
| JP2001038160A JP3553022B2 (ja) | 2001-02-15 | 2001-02-15 | 隅木又は谷木の組立工法及びその接合金具 |
Publications (2)
| Publication Number | Publication Date |
|---|---|
| JP2002242316A JP2002242316A (ja) | 2002-08-28 |
| JP3553022B2 true JP3553022B2 (ja) | 2004-08-11 |
Family
ID=18901192
Family Applications (1)
| Application Number | Title | Priority Date | Filing Date |
|---|---|---|---|
| JP2001038160A Expired - Fee Related JP3553022B2 (ja) | 2001-02-15 | 2001-02-15 | 隅木又は谷木の組立工法及びその接合金具 |
Country Status (1)
| Country | Link |
|---|---|
| JP (1) | JP3553022B2 (ja) |
Families Citing this family (2)
| Publication number | Priority date | Publication date | Assignee | Title |
|---|---|---|---|---|
| JP5554939B2 (ja) * | 2009-05-19 | 2014-07-23 | 義邦 大倉 | 連結金物 |
| JP7463897B2 (ja) | 2020-07-30 | 2024-04-09 | 積水ハウス株式会社 | 斜め梁接合金物および梁の接合構造 |
-
2001
- 2001-02-15 JP JP2001038160A patent/JP3553022B2/ja not_active Expired - Fee Related
Also Published As
| Publication number | Publication date |
|---|---|
| JP2002242316A (ja) | 2002-08-28 |
Similar Documents
| Publication | Publication Date | Title |
|---|---|---|
| US6799407B2 (en) | Connectors, tracks and system for smooth-faced metal framing | |
| US20090301026A1 (en) | Method and apparatus for connecting perpendicularly oriented structural building members | |
| JP3553022B2 (ja) | 隅木又は谷木の組立工法及びその接合金具 | |
| JP3093168B2 (ja) | スチールハウスの枠組用材 | |
| JP3670651B2 (ja) | 木造建築物の接合構造 | |
| JP4057797B2 (ja) | 角形鋼接合用の変形防止金物とフレームの組立て方法。 | |
| JP3698059B2 (ja) | 切妻屋根の小屋組構造 | |
| JP3403524B2 (ja) | 緊結金具及び屋根における部材接合構造 | |
| JP2852489B2 (ja) | 筒状部材の接続構造 | |
| JPH0334983Y2 (ja) | ||
| JP2001248258A (ja) | 鋼製及び木造住宅における垂木の接合金物 | |
| JPH111986A (ja) | 隅木、谷木等の斜材の固定金具 | |
| JP3806074B2 (ja) | 木造建築の小屋組部材の接合金具及び接合金具の接合方法 | |
| JPH09279747A (ja) | 木造建築物の屋根組用緊結金具 | |
| JP3474671B2 (ja) | フック金物およびその製造方法 | |
| JP2021147982A (ja) | 棟屋根ユニット | |
| JP3241876B2 (ja) | 隅木受け金物および隅木受け構造 | |
| JP3070759U (ja) | 接合金具 | |
| JP2883717B2 (ja) | 屋根パネル及びその施工法 | |
| JPH08120789A (ja) | 柱角金具 | |
| JP3024965U (ja) | 仮設パイプへ垂木を固定する金具 | |
| JP3668541B2 (ja) | 建材接続金具 | |
| AU2009101214A4 (en) | Connection Bracket and Method | |
| JPH0512521U (ja) | 折版屋根葺板の取付構造および天井板の支持構造 | |
| JPH0734121U (ja) | 折版屋根葺板の取付構造 |
Legal Events
| Date | Code | Title | Description |
|---|---|---|---|
| A521 | Written amendment |
Free format text: JAPANESE INTERMEDIATE CODE: A523 Effective date: 20040203 |
|
| TRDD | Decision of grant or rejection written | ||
| A01 | Written decision to grant a patent or to grant a registration (utility model) |
Free format text: JAPANESE INTERMEDIATE CODE: A01 Effective date: 20040420 |
|
| A61 | First payment of annual fees (during grant procedure) |
Free format text: JAPANESE INTERMEDIATE CODE: A61 Effective date: 20040427 |
|
| R150 | Certificate of patent or registration of utility model |
Free format text: JAPANESE INTERMEDIATE CODE: R150 |
|
| LAPS | Cancellation because of no payment of annual fees |