JP2020200375A - 活性線硬化型インクジェットインク、および画像形成方法 - Google Patents
活性線硬化型インクジェットインク、および画像形成方法 Download PDFInfo
- Publication number
- JP2020200375A JP2020200375A JP2019107091A JP2019107091A JP2020200375A JP 2020200375 A JP2020200375 A JP 2020200375A JP 2019107091 A JP2019107091 A JP 2019107091A JP 2019107091 A JP2019107091 A JP 2019107091A JP 2020200375 A JP2020200375 A JP 2020200375A
- Authority
- JP
- Japan
- Prior art keywords
- acrylate
- ink
- meth
- active ray
- allyloxymethyl
- Prior art date
- Legal status (The legal status is an assumption and is not a legal conclusion. Google has not performed a legal analysis and makes no representation as to the accuracy of the status listed.)
- Granted
Links
- 238000000034 method Methods 0.000 title claims description 28
- NIXOWILDQLNWCW-UHFFFAOYSA-M Acrylate Chemical compound [O-]C(=O)C=C NIXOWILDQLNWCW-UHFFFAOYSA-M 0.000 claims abstract description 128
- 150000001875 compounds Chemical class 0.000 claims abstract description 94
- 239000012463 white pigment Substances 0.000 claims abstract description 36
- IAYPIBMASNFSPL-UHFFFAOYSA-N Ethylene oxide Chemical compound C1CO1 IAYPIBMASNFSPL-UHFFFAOYSA-N 0.000 claims abstract description 24
- GOOHAUXETOMSMM-UHFFFAOYSA-N Propylene oxide Chemical compound CC1CO1 GOOHAUXETOMSMM-UHFFFAOYSA-N 0.000 claims abstract description 24
- GWEVSGVZZGPLCZ-UHFFFAOYSA-N Titan oxide Chemical group O=[Ti]=O GWEVSGVZZGPLCZ-UHFFFAOYSA-N 0.000 claims description 14
- OGIDPMRJRNCKJF-UHFFFAOYSA-N titanium oxide Inorganic materials [Ti]=O OGIDPMRJRNCKJF-UHFFFAOYSA-N 0.000 claims description 12
- 125000004432 carbon atom Chemical group C* 0.000 claims description 10
- 230000001678 irradiating effect Effects 0.000 claims description 8
- 230000004048 modification Effects 0.000 claims description 6
- 238000012986 modification Methods 0.000 claims description 6
- 125000001424 substituent group Chemical group 0.000 claims description 5
- 125000004435 hydrogen atom Chemical group [H]* 0.000 claims description 4
- 125000001183 hydrocarbyl group Chemical group 0.000 claims 1
- BAPJBEWLBFYGME-UHFFFAOYSA-N Methyl acrylate Chemical compound COC(=O)C=C BAPJBEWLBFYGME-UHFFFAOYSA-N 0.000 abstract description 6
- 125000000524 functional group Chemical group 0.000 abstract description 3
- 239000000976 ink Substances 0.000 description 196
- 238000012546 transfer Methods 0.000 description 74
- -1 methacryloyl Chemical group 0.000 description 47
- WYURNTSHIVDZCO-UHFFFAOYSA-N Tetrahydrofuran Chemical group C1CCOC1 WYURNTSHIVDZCO-UHFFFAOYSA-N 0.000 description 19
- 239000003349 gelling agent Substances 0.000 description 17
- 230000032258 transport Effects 0.000 description 16
- 239000013078 crystal Substances 0.000 description 13
- 150000001252 acrylic acid derivatives Chemical class 0.000 description 12
- NIXOWILDQLNWCW-UHFFFAOYSA-N acrylic acid group Chemical group C(C=C)(=O)O NIXOWILDQLNWCW-UHFFFAOYSA-N 0.000 description 12
- 239000000463 material Substances 0.000 description 12
- 150000002430 hydrocarbons Chemical group 0.000 description 11
- 238000006116 polymerization reaction Methods 0.000 description 10
- 239000001993 wax Substances 0.000 description 10
- 239000002270 dispersing agent Substances 0.000 description 9
- 239000010410 layer Substances 0.000 description 9
- 239000000049 pigment Substances 0.000 description 9
- 239000004094 surface-active agent Substances 0.000 description 9
- RTZKZFJDLAIYFH-UHFFFAOYSA-N Diethyl ether Chemical compound CCOCC RTZKZFJDLAIYFH-UHFFFAOYSA-N 0.000 description 8
- LYCAIKOWRPUZTN-UHFFFAOYSA-N Ethylene glycol Chemical compound OCCO LYCAIKOWRPUZTN-UHFFFAOYSA-N 0.000 description 8
- MCMNRKCIXSYSNV-UHFFFAOYSA-N Zirconium dioxide Chemical compound O=[Zr]=O MCMNRKCIXSYSNV-UHFFFAOYSA-N 0.000 description 8
- 125000003647 acryloyl group Chemical group O=C([*])C([H])=C([H])[H] 0.000 description 8
- 125000003118 aryl group Chemical group 0.000 description 8
- 239000003999 initiator Substances 0.000 description 8
- 239000003505 polymerization initiator Substances 0.000 description 8
- 239000002253 acid Substances 0.000 description 7
- 235000014113 dietary fatty acids Nutrition 0.000 description 7
- 229930195729 fatty acid Natural products 0.000 description 7
- 239000000194 fatty acid Substances 0.000 description 7
- 238000001879 gelation Methods 0.000 description 7
- 125000002496 methyl group Chemical group [H]C([H])([H])* 0.000 description 7
- 239000007870 radical polymerization initiator Substances 0.000 description 7
- 230000007704 transition Effects 0.000 description 7
- PEDCQBHIVMGVHV-UHFFFAOYSA-N Glycerine Chemical compound OCC(O)CO PEDCQBHIVMGVHV-UHFFFAOYSA-N 0.000 description 6
- 230000015572 biosynthetic process Effects 0.000 description 6
- 238000004140 cleaning Methods 0.000 description 6
- 238000010894 electron beam technology Methods 0.000 description 6
- 150000002148 esters Chemical class 0.000 description 6
- 150000004665 fatty acids Chemical class 0.000 description 6
- 238000010438 heat treatment Methods 0.000 description 6
- 239000000203 mixture Substances 0.000 description 6
- 239000004593 Epoxy Substances 0.000 description 5
- IISBACLAFKSPIT-UHFFFAOYSA-N bisphenol A Chemical compound C=1C=C(O)C=CC=1C(C)(C)C1=CC=C(O)C=C1 IISBACLAFKSPIT-UHFFFAOYSA-N 0.000 description 5
- 239000006185 dispersion Substances 0.000 description 5
- 229920001971 elastomer Polymers 0.000 description 5
- 230000002708 enhancing effect Effects 0.000 description 5
- 239000000499 gel Substances 0.000 description 5
- 239000003112 inhibitor Substances 0.000 description 5
- WXZMFSXDPGVJKK-UHFFFAOYSA-N pentaerythritol Chemical compound OCC(CO)(CO)CO WXZMFSXDPGVJKK-UHFFFAOYSA-N 0.000 description 5
- 229920001223 polyethylene glycol Polymers 0.000 description 5
- 229920000139 polyethylene terephthalate Polymers 0.000 description 5
- 239000005020 polyethylene terephthalate Substances 0.000 description 5
- 229920001721 polyimide Polymers 0.000 description 5
- 239000000126 substance Substances 0.000 description 5
- XEEYBQQBJWHFJM-UHFFFAOYSA-N Iron Chemical compound [Fe] XEEYBQQBJWHFJM-UHFFFAOYSA-N 0.000 description 4
- 239000002033 PVDF binder Substances 0.000 description 4
- 239000004698 Polyethylene Substances 0.000 description 4
- 239000002202 Polyethylene glycol Substances 0.000 description 4
- 239000004642 Polyimide Substances 0.000 description 4
- 239000004734 Polyphenylene sulfide Substances 0.000 description 4
- 239000004743 Polypropylene Substances 0.000 description 4
- ZJCCRDAZUWHFQH-UHFFFAOYSA-N Trimethylolpropane Chemical compound CCC(CO)(CO)CO ZJCCRDAZUWHFQH-UHFFFAOYSA-N 0.000 description 4
- DAKWPKUUDNSNPN-UHFFFAOYSA-N Trimethylolpropane triacrylate Chemical compound C=CC(=O)OCC(CC)(COC(=O)C=C)COC(=O)C=C DAKWPKUUDNSNPN-UHFFFAOYSA-N 0.000 description 4
- 125000005336 allyloxy group Chemical group 0.000 description 4
- 239000011324 bead Substances 0.000 description 4
- 230000001588 bifunctional effect Effects 0.000 description 4
- WERYXYBDKMZEQL-UHFFFAOYSA-N butane-1,4-diol Chemical compound OCCCCO WERYXYBDKMZEQL-UHFFFAOYSA-N 0.000 description 4
- 229920001577 copolymer Polymers 0.000 description 4
- VEZUQRBDRNJBJY-UHFFFAOYSA-N cyclohexanone oxime Chemical compound ON=C1CCCCC1 VEZUQRBDRNJBJY-UHFFFAOYSA-N 0.000 description 4
- 238000005516 engineering process Methods 0.000 description 4
- 238000011156 evaluation Methods 0.000 description 4
- 239000011521 glass Substances 0.000 description 4
- 239000007788 liquid Substances 0.000 description 4
- 229910052751 metal Inorganic materials 0.000 description 4
- 239000002184 metal Substances 0.000 description 4
- 239000002245 particle Substances 0.000 description 4
- 229920000573 polyethylene Polymers 0.000 description 4
- 229920000069 polyphenylene sulfide Polymers 0.000 description 4
- 229920001155 polypropylene Polymers 0.000 description 4
- 229920001343 polytetrafluoroethylene Polymers 0.000 description 4
- 239000004810 polytetrafluoroethylene Substances 0.000 description 4
- 229920002981 polyvinylidene fluoride Polymers 0.000 description 4
- 229920005989 resin Polymers 0.000 description 4
- 239000011347 resin Substances 0.000 description 4
- 229930195734 saturated hydrocarbon Natural products 0.000 description 4
- TXBCBTDQIULDIA-UHFFFAOYSA-N 2-[[3-hydroxy-2,2-bis(hydroxymethyl)propoxy]methyl]-2-(hydroxymethyl)propane-1,3-diol Chemical compound OCC(CO)(CO)COCC(CO)(CO)CO TXBCBTDQIULDIA-UHFFFAOYSA-N 0.000 description 3
- 125000003903 2-propenyl group Chemical group [H]C([*])([H])C([H])=C([H])[H] 0.000 description 3
- 229920000178 Acrylic resin Polymers 0.000 description 3
- 239000004925 Acrylic resin Substances 0.000 description 3
- UHOVQNZJYSORNB-UHFFFAOYSA-N Benzene Chemical compound C1=CC=CC=C1 UHOVQNZJYSORNB-UHFFFAOYSA-N 0.000 description 3
- 239000004813 Perfluoroalkoxy alkane Substances 0.000 description 3
- DNIAPMSPPWPWGF-UHFFFAOYSA-N Propylene glycol Chemical compound CC(O)CO DNIAPMSPPWPWGF-UHFFFAOYSA-N 0.000 description 3
- QYKIQEUNHZKYBP-UHFFFAOYSA-N Vinyl ether Chemical class C=COC=C QYKIQEUNHZKYBP-UHFFFAOYSA-N 0.000 description 3
- 125000000217 alkyl group Chemical group 0.000 description 3
- 125000002947 alkylene group Chemical group 0.000 description 3
- QVGXLLKOCUKJST-UHFFFAOYSA-N atomic oxygen Chemical compound [O] QVGXLLKOCUKJST-UHFFFAOYSA-N 0.000 description 3
- RWCCWEUUXYIKHB-UHFFFAOYSA-N benzophenone Chemical compound C=1C=CC=CC=1C(=O)C1=CC=CC=C1 RWCCWEUUXYIKHB-UHFFFAOYSA-N 0.000 description 3
- 239000012965 benzophenone Substances 0.000 description 3
- 125000002704 decyl group Chemical group [H]C([H])([H])C([H])([H])C([H])([H])C([H])([H])C([H])([H])C([H])([H])C([H])([H])C([H])([H])C([H])([H])C([H])([H])* 0.000 description 3
- 235000011187 glycerol Nutrition 0.000 description 3
- WGCNASOHLSPBMP-UHFFFAOYSA-N hydroxyacetaldehyde Natural products OCC=O WGCNASOHLSPBMP-UHFFFAOYSA-N 0.000 description 3
- 230000003993 interaction Effects 0.000 description 3
- 150000002576 ketones Chemical class 0.000 description 3
- 150000002739 metals Chemical class 0.000 description 3
- 239000000178 monomer Substances 0.000 description 3
- SLCVBVWXLSEKPL-UHFFFAOYSA-N neopentyl glycol Chemical compound OCC(C)(C)CO SLCVBVWXLSEKPL-UHFFFAOYSA-N 0.000 description 3
- 229910052760 oxygen Inorganic materials 0.000 description 3
- 239000001301 oxygen Substances 0.000 description 3
- 229920011301 perfluoro alkoxyl alkane Polymers 0.000 description 3
- 229920000515 polycarbonate Polymers 0.000 description 3
- 239000004417 polycarbonate Substances 0.000 description 3
- 229920000728 polyester Polymers 0.000 description 3
- 239000004800 polyvinyl chloride Substances 0.000 description 3
- 229920000915 polyvinyl chloride Polymers 0.000 description 3
- 238000002360 preparation method Methods 0.000 description 3
- 239000005060 rubber Substances 0.000 description 3
- 150000003839 salts Chemical class 0.000 description 3
- 229920002379 silicone rubber Polymers 0.000 description 3
- 239000004945 silicone rubber Substances 0.000 description 3
- 239000000243 solution Substances 0.000 description 3
- 229910001220 stainless steel Inorganic materials 0.000 description 3
- 239000010935 stainless steel Substances 0.000 description 3
- 239000000758 substrate Substances 0.000 description 3
- QJJDJWUCRAPCOL-UHFFFAOYSA-N 1-ethenoxyoctadecane Chemical compound CCCCCCCCCCCCCCCCCCOC=C QJJDJWUCRAPCOL-UHFFFAOYSA-N 0.000 description 2
- RPTDXRVCVLBVLO-UHFFFAOYSA-N 2-cyclopentyloxyethyl prop-2-enoate Chemical compound C=CC(=O)OCCOC1CCCC1 RPTDXRVCVLBVLO-UHFFFAOYSA-N 0.000 description 2
- CRBJBYGJVIBWIY-UHFFFAOYSA-N 2-isopropylphenol Chemical compound CC(C)C1=CC=CC=C1O CRBJBYGJVIBWIY-UHFFFAOYSA-N 0.000 description 2
- VVBLNCFGVYUYGU-UHFFFAOYSA-N 4,4'-Bis(dimethylamino)benzophenone Chemical compound C1=CC(N(C)C)=CC=C1C(=O)C1=CC=C(N(C)C)C=C1 VVBLNCFGVYUYGU-UHFFFAOYSA-N 0.000 description 2
- VTYYLEPIZMXCLO-UHFFFAOYSA-L Calcium carbonate Chemical compound [Ca+2].[O-]C([O-])=O VTYYLEPIZMXCLO-UHFFFAOYSA-L 0.000 description 2
- LFQSCWFLJHTTHZ-UHFFFAOYSA-N Ethanol Chemical compound CCO LFQSCWFLJHTTHZ-UHFFFAOYSA-N 0.000 description 2
- YCKRFDGAMUMZLT-UHFFFAOYSA-N Fluorine atom Chemical compound [F] YCKRFDGAMUMZLT-UHFFFAOYSA-N 0.000 description 2
- WSFSSNUMVMOOMR-UHFFFAOYSA-N Formaldehyde Chemical compound O=C WSFSSNUMVMOOMR-UHFFFAOYSA-N 0.000 description 2
- QIGBRXMKCJKVMJ-UHFFFAOYSA-N Hydroquinone Chemical compound OC1=CC=C(O)C=C1 QIGBRXMKCJKVMJ-UHFFFAOYSA-N 0.000 description 2
- IMNFDUFMRHMDMM-UHFFFAOYSA-N N-Heptane Chemical compound CCCCCCC IMNFDUFMRHMDMM-UHFFFAOYSA-N 0.000 description 2
- 229920000459 Nitrile rubber Polymers 0.000 description 2
- ISWSIDIOOBJBQZ-UHFFFAOYSA-N Phenol Chemical compound OC1=CC=CC=C1 ISWSIDIOOBJBQZ-UHFFFAOYSA-N 0.000 description 2
- 239000004696 Poly ether ether ketone Substances 0.000 description 2
- 239000004952 Polyamide Substances 0.000 description 2
- 239000004721 Polyphenylene oxide Substances 0.000 description 2
- 239000004793 Polystyrene Substances 0.000 description 2
- 239000004372 Polyvinyl alcohol Substances 0.000 description 2
- 244000028419 Styrax benzoin Species 0.000 description 2
- 235000000126 Styrax benzoin Nutrition 0.000 description 2
- 235000008411 Sumatra benzointree Nutrition 0.000 description 2
- XLOMVQKBTHCTTD-UHFFFAOYSA-N Zinc monoxide Chemical compound [Zn]=O XLOMVQKBTHCTTD-UHFFFAOYSA-N 0.000 description 2
- 239000002250 absorbent Substances 0.000 description 2
- 150000007513 acids Chemical class 0.000 description 2
- XECAHXYUAAWDEL-UHFFFAOYSA-N acrylonitrile butadiene styrene Chemical compound C=CC=C.C=CC#N.C=CC1=CC=CC=C1 XECAHXYUAAWDEL-UHFFFAOYSA-N 0.000 description 2
- 239000004676 acrylonitrile butadiene styrene Substances 0.000 description 2
- 229920000122 acrylonitrile butadiene styrene Polymers 0.000 description 2
- 125000002723 alicyclic group Chemical group 0.000 description 2
- 125000001931 aliphatic group Chemical group 0.000 description 2
- 230000005260 alpha ray Effects 0.000 description 2
- TZCXTZWJZNENPQ-UHFFFAOYSA-L barium sulfate Chemical compound [Ba+2].[O-]S([O-])(=O)=O TZCXTZWJZNENPQ-UHFFFAOYSA-L 0.000 description 2
- ISAOCJYIOMOJEB-UHFFFAOYSA-N benzoin Chemical compound C=1C=CC=CC=1C(O)C(=O)C1=CC=CC=C1 ISAOCJYIOMOJEB-UHFFFAOYSA-N 0.000 description 2
- 238000010504 bond cleavage reaction Methods 0.000 description 2
- YCIMNLLNPGFGHC-UHFFFAOYSA-N catechol Chemical compound OC1=CC=CC=C1O YCIMNLLNPGFGHC-UHFFFAOYSA-N 0.000 description 2
- 230000008859 change Effects 0.000 description 2
- 238000006243 chemical reaction Methods 0.000 description 2
- 210000000078 claw Anatomy 0.000 description 2
- 125000004122 cyclic group Chemical group 0.000 description 2
- 125000000753 cycloalkyl group Chemical group 0.000 description 2
- 125000000113 cyclohexyl group Chemical group [H]C1([H])C([H])([H])C([H])([H])C([H])(*)C([H])([H])C1([H])[H] 0.000 description 2
- 125000004386 diacrylate group Chemical group 0.000 description 2
- 239000000806 elastomer Substances 0.000 description 2
- 229920005558 epichlorohydrin rubber Polymers 0.000 description 2
- 239000003822 epoxy resin Substances 0.000 description 2
- FJKIXWOMBXYWOQ-UHFFFAOYSA-N ethenoxyethane Chemical compound CCOC=C FJKIXWOMBXYWOQ-UHFFFAOYSA-N 0.000 description 2
- 125000001033 ether group Chemical group 0.000 description 2
- 150000002170 ethers Chemical class 0.000 description 2
- 229910052731 fluorine Inorganic materials 0.000 description 2
- 239000011737 fluorine Substances 0.000 description 2
- 230000005251 gamma ray Effects 0.000 description 2
- 235000019382 gum benzoic Nutrition 0.000 description 2
- 125000005843 halogen group Chemical group 0.000 description 2
- LNEPOXFFQSENCJ-UHFFFAOYSA-N haloperidol Chemical compound C1CC(O)(C=2C=CC(Cl)=CC=2)CCN1CCCC(=O)C1=CC=C(F)C=C1 LNEPOXFFQSENCJ-UHFFFAOYSA-N 0.000 description 2
- 229910052739 hydrogen Inorganic materials 0.000 description 2
- 239000001257 hydrogen Substances 0.000 description 2
- 230000001965 increasing effect Effects 0.000 description 2
- 229910052742 iron Inorganic materials 0.000 description 2
- 239000011259 mixed solution Substances 0.000 description 2
- 125000001400 nonyl group Chemical group [H]C([*])([H])C([H])([H])C([H])([H])C([H])([H])C([H])([H])C([H])([H])C([H])([H])C([H])([H])C([H])([H])[H] 0.000 description 2
- 125000002347 octyl group Chemical group [H]C([*])([H])C([H])([H])C([H])([H])C([H])([H])C([H])([H])C([H])([H])C([H])([H])C([H])([H])[H] 0.000 description 2
- 150000002921 oxetanes Chemical class 0.000 description 2
- 239000003973 paint Substances 0.000 description 2
- 230000000704 physical effect Effects 0.000 description 2
- FSDNTQSJGHSJBG-UHFFFAOYSA-N piperidine-4-carbonitrile Chemical compound N#CC1CCNCC1 FSDNTQSJGHSJBG-UHFFFAOYSA-N 0.000 description 2
- 229920003023 plastic Polymers 0.000 description 2
- 239000004033 plastic Substances 0.000 description 2
- 229920002647 polyamide Polymers 0.000 description 2
- 229920000647 polyepoxide Polymers 0.000 description 2
- 229920000570 polyether Polymers 0.000 description 2
- 229920002530 polyetherether ketone Polymers 0.000 description 2
- 229920000642 polymer Polymers 0.000 description 2
- 230000000379 polymerizing effect Effects 0.000 description 2
- 239000004814 polyurethane Substances 0.000 description 2
- 229920002635 polyurethane Polymers 0.000 description 2
- 229920002451 polyvinyl alcohol Polymers 0.000 description 2
- WQGWDDDVZFFDIG-UHFFFAOYSA-N pyrogallol Chemical compound OC1=CC=CC(O)=C1O WQGWDDDVZFFDIG-UHFFFAOYSA-N 0.000 description 2
- 239000002904 solvent Substances 0.000 description 2
- YRHRIQCWCFGUEQ-UHFFFAOYSA-N thioxanthen-9-one Chemical compound C1=CC=C2C(=O)C3=CC=CC=C3SC2=C1 YRHRIQCWCFGUEQ-UHFFFAOYSA-N 0.000 description 2
- DTGKSKDOIYIVQL-WEDXCCLWSA-N (+)-borneol Chemical group C1C[C@@]2(C)[C@@H](O)C[C@@H]1C2(C)C DTGKSKDOIYIVQL-WEDXCCLWSA-N 0.000 description 1
- FMZUHGYZWYNSOA-VVBFYGJXSA-N (1r)-1-[(4r,4ar,8as)-2,6-diphenyl-4,4a,8,8a-tetrahydro-[1,3]dioxino[5,4-d][1,3]dioxin-4-yl]ethane-1,2-diol Chemical compound C([C@@H]1OC(O[C@@H]([C@@H]1O1)[C@H](O)CO)C=2C=CC=CC=2)OC1C1=CC=CC=C1 FMZUHGYZWYNSOA-VVBFYGJXSA-N 0.000 description 1
- SYOAEJBDXDTKGC-UHFFFAOYSA-N (2,3-dimethylphenyl) prop-2-enoate Chemical compound CC1=CC=CC(OC(=O)C=C)=C1C SYOAEJBDXDTKGC-UHFFFAOYSA-N 0.000 description 1
- MAOBFOXLCJIFLV-UHFFFAOYSA-N (2-aminophenyl)-phenylmethanone Chemical compound NC1=CC=CC=C1C(=O)C1=CC=CC=C1 MAOBFOXLCJIFLV-UHFFFAOYSA-N 0.000 description 1
- HJIAMFHSAAEUKR-UHFFFAOYSA-N (2-hydroxyphenyl)-phenylmethanone Chemical compound OC1=CC=CC=C1C(=O)C1=CC=CC=C1 HJIAMFHSAAEUKR-UHFFFAOYSA-N 0.000 description 1
- GCIHZDWTJCGMDK-UHFFFAOYSA-N (2-methylphenyl) prop-2-enoate Chemical compound CC1=CC=CC=C1OC(=O)C=C GCIHZDWTJCGMDK-UHFFFAOYSA-N 0.000 description 1
- ALMCKLJXRMOPIN-UHFFFAOYSA-N (3-benzyloxetan-3-yl)methanol Chemical compound C=1C=CC=CC=1CC1(CO)COC1 ALMCKLJXRMOPIN-UHFFFAOYSA-N 0.000 description 1
- BJYGGFGTOTUNJA-UHFFFAOYSA-N (3-butyloxetan-3-yl)methanol Chemical compound CCCCC1(CO)COC1 BJYGGFGTOTUNJA-UHFFFAOYSA-N 0.000 description 1
- UNMJLQGKEDTEKJ-UHFFFAOYSA-N (3-ethyloxetan-3-yl)methanol Chemical compound CCC1(CO)COC1 UNMJLQGKEDTEKJ-UHFFFAOYSA-N 0.000 description 1
- NLQMSBJFLQPLIJ-UHFFFAOYSA-N (3-methyloxetan-3-yl)methanol Chemical compound OCC1(C)COC1 NLQMSBJFLQPLIJ-UHFFFAOYSA-N 0.000 description 1
- MDFSDDCPPNQIFV-UHFFFAOYSA-N (3-phenyloxetan-3-yl)methanol Chemical compound C=1C=CC=CC=1C1(CO)COC1 MDFSDDCPPNQIFV-UHFFFAOYSA-N 0.000 description 1
- CUBVDBSVGQEYCB-UHFFFAOYSA-N (3-propyloxetan-3-yl)methanol Chemical compound CCCC1(CO)COC1 CUBVDBSVGQEYCB-UHFFFAOYSA-N 0.000 description 1
- KGGVGTQEGGOZRN-PLNGDYQASA-N (nz)-n-butylidenehydroxylamine Chemical compound CCC\C=N/O KGGVGTQEGGOZRN-PLNGDYQASA-N 0.000 description 1
- 0 *[N+]([N+]([N-])N(C=*)O)[O-] Chemical compound *[N+]([N+]([N-])N(C=*)O)[O-] 0.000 description 1
- PEIJYJCTDDBFEC-UHFFFAOYSA-N 1,1-bis(ethenoxy)butane Chemical class CCCC(OC=C)OC=C PEIJYJCTDDBFEC-UHFFFAOYSA-N 0.000 description 1
- GPHWXFINOWXMDN-UHFFFAOYSA-N 1,1-bis(ethenoxy)hexane Chemical class CCCCCC(OC=C)OC=C GPHWXFINOWXMDN-UHFFFAOYSA-N 0.000 description 1
- HIYIGPVBMDKPCR-UHFFFAOYSA-N 1,1-bis(ethenoxymethyl)cyclohexane Chemical class C=COCC1(COC=C)CCCCC1 HIYIGPVBMDKPCR-UHFFFAOYSA-N 0.000 description 1
- 125000006033 1,1-dimethyl-2-propenyl group Chemical group 0.000 description 1
- SKYXLDSRLNRAPS-UHFFFAOYSA-N 1,2,4-trifluoro-5-methoxybenzene Chemical compound COC1=CC(F)=C(F)C=C1F SKYXLDSRLNRAPS-UHFFFAOYSA-N 0.000 description 1
- CYIGRWUIQAVBFG-UHFFFAOYSA-N 1,2-bis(2-ethenoxyethoxy)ethane Chemical compound C=COCCOCCOCCOC=C CYIGRWUIQAVBFG-UHFFFAOYSA-N 0.000 description 1
- ZXHDVRATSGZISC-UHFFFAOYSA-N 1,2-bis(ethenoxy)ethane Chemical compound C=COCCOC=C ZXHDVRATSGZISC-UHFFFAOYSA-N 0.000 description 1
- LXSVCBDMOGLGFA-UHFFFAOYSA-N 1,2-bis(ethenoxy)propane Chemical compound C=COC(C)COC=C LXSVCBDMOGLGFA-UHFFFAOYSA-N 0.000 description 1
- MSAHTMIQULFMRG-UHFFFAOYSA-N 1,2-diphenyl-2-propan-2-yloxyethanone Chemical compound C=1C=CC=CC=1C(OC(C)C)C(=O)C1=CC=CC=C1 MSAHTMIQULFMRG-UHFFFAOYSA-N 0.000 description 1
- AZQWKYJCGOJGHM-UHFFFAOYSA-N 1,4-benzoquinone Chemical compound O=C1C=CC(=O)C=C1 AZQWKYJCGOJGHM-UHFFFAOYSA-N 0.000 description 1
- VNQXSTWCDUXYEZ-UHFFFAOYSA-N 1,7,7-trimethylbicyclo[2.2.1]heptane-2,3-dione Chemical compound C1CC2(C)C(=O)C(=O)C1C2(C)C VNQXSTWCDUXYEZ-UHFFFAOYSA-N 0.000 description 1
- ALVZNPYWJMLXKV-UHFFFAOYSA-N 1,9-Nonanediol Chemical compound OCCCCCCCCCO ALVZNPYWJMLXKV-UHFFFAOYSA-N 0.000 description 1
- NQUXRXBRYDZZDL-UHFFFAOYSA-N 1-(2-prop-2-enoyloxyethyl)cyclohexane-1,2-dicarboxylic acid Chemical compound OC(=O)C1CCCCC1(CCOC(=O)C=C)C(O)=O NQUXRXBRYDZZDL-UHFFFAOYSA-N 0.000 description 1
- SAMJGBVVQUEMGC-UHFFFAOYSA-N 1-ethenoxy-2-(2-ethenoxyethoxy)ethane Chemical compound C=COCCOCCOC=C SAMJGBVVQUEMGC-UHFFFAOYSA-N 0.000 description 1
- RQJCIXUNHZZFMB-UHFFFAOYSA-N 1-ethenoxy-2-(2-ethenoxypropoxy)propane Chemical compound C=COCC(C)OCC(C)OC=C RQJCIXUNHZZFMB-UHFFFAOYSA-N 0.000 description 1
- OZCMOJQQLBXBKI-UHFFFAOYSA-N 1-ethenoxy-2-methylpropane Chemical compound CC(C)COC=C OZCMOJQQLBXBKI-UHFFFAOYSA-N 0.000 description 1
- UZKWTJUDCOPSNM-UHFFFAOYSA-N 1-ethenoxybutane Chemical compound CCCCOC=C UZKWTJUDCOPSNM-UHFFFAOYSA-N 0.000 description 1
- LAYAKLSFVAPMEL-UHFFFAOYSA-N 1-ethenoxydodecane Chemical compound CCCCCCCCCCCCOC=C LAYAKLSFVAPMEL-UHFFFAOYSA-N 0.000 description 1
- OVGRCEFMXPHEBL-UHFFFAOYSA-N 1-ethenoxypropane Chemical compound CCCOC=C OVGRCEFMXPHEBL-UHFFFAOYSA-N 0.000 description 1
- SDRZFSPCVYEJTP-UHFFFAOYSA-N 1-ethenylcyclohexene Chemical compound C=CC1=CCCCC1 SDRZFSPCVYEJTP-UHFFFAOYSA-N 0.000 description 1
- SDXHBDVTZNMBEW-UHFFFAOYSA-N 1-ethoxy-2-(2-hydroxyethoxy)ethanol Chemical compound CCOC(O)COCCO SDXHBDVTZNMBEW-UHFFFAOYSA-N 0.000 description 1
- 239000012956 1-hydroxycyclohexylphenyl-ketone Substances 0.000 description 1
- OEYNWAWWSZUGDU-UHFFFAOYSA-N 1-methoxypropane-1,2-diol Chemical compound COC(O)C(C)O OEYNWAWWSZUGDU-UHFFFAOYSA-N 0.000 description 1
- YIKSHDNOAYSSPX-UHFFFAOYSA-N 1-propan-2-ylthioxanthen-9-one Chemical compound S1C2=CC=CC=C2C(=O)C2=C1C=CC=C2C(C)C YIKSHDNOAYSSPX-UHFFFAOYSA-N 0.000 description 1
- ULQISTXYYBZJSJ-UHFFFAOYSA-N 12-hydroxyoctadecanoic acid Chemical compound CCCCCCC(O)CCCCCCCCCCC(O)=O ULQISTXYYBZJSJ-UHFFFAOYSA-N 0.000 description 1
- PIZHFBODNLEQBL-UHFFFAOYSA-N 2,2-diethoxy-1-phenylethanone Chemical compound CCOC(OCC)C(=O)C1=CC=CC=C1 PIZHFBODNLEQBL-UHFFFAOYSA-N 0.000 description 1
- UXCIJKOCUAQMKD-UHFFFAOYSA-N 2,4-dichlorothioxanthen-9-one Chemical compound C1=CC=C2C(=O)C3=CC(Cl)=CC(Cl)=C3SC2=C1 UXCIJKOCUAQMKD-UHFFFAOYSA-N 0.000 description 1
- BTJPUDCSZVCXFQ-UHFFFAOYSA-N 2,4-diethylthioxanthen-9-one Chemical compound C1=CC=C2C(=O)C3=CC(CC)=CC(CC)=C3SC2=C1 BTJPUDCSZVCXFQ-UHFFFAOYSA-N 0.000 description 1
- LZHUBCULTHIFNO-UHFFFAOYSA-N 2,4-dihydroxy-1,5-bis[4-(2-hydroxyethoxy)phenyl]-2,4-dimethylpentan-3-one Chemical compound C=1C=C(OCCO)C=CC=1CC(C)(O)C(=O)C(O)(C)CC1=CC=C(OCCO)C=C1 LZHUBCULTHIFNO-UHFFFAOYSA-N 0.000 description 1
- LCHAFMWSFCONOO-UHFFFAOYSA-N 2,4-dimethylthioxanthen-9-one Chemical compound C1=CC=C2C(=O)C3=CC(C)=CC(C)=C3SC2=C1 LCHAFMWSFCONOO-UHFFFAOYSA-N 0.000 description 1
- ZZYASVWWDLJXIM-UHFFFAOYSA-N 2,5-di-tert-Butyl-1,4-benzoquinone Chemical compound CC(C)(C)C1=CC(=O)C(C(C)(C)C)=CC1=O ZZYASVWWDLJXIM-UHFFFAOYSA-N 0.000 description 1
- CQPQGICRNVRGAT-UHFFFAOYSA-N 2-(2-cyclohexyloxyethoxy)ethyl prop-2-enoate Chemical compound C=CC(=O)OCCOCCOC1CCCCC1 CQPQGICRNVRGAT-UHFFFAOYSA-N 0.000 description 1
- MPDWZNLODHVFDM-UHFFFAOYSA-N 2-(2-cyclopentyloxyethoxy)ethyl prop-2-enoate Chemical compound C=CC(=O)OCCOCCOC1CCCC1 MPDWZNLODHVFDM-UHFFFAOYSA-N 0.000 description 1
- WULAHPYSGCVQHM-UHFFFAOYSA-N 2-(2-ethenoxyethoxy)ethanol Chemical compound OCCOCCOC=C WULAHPYSGCVQHM-UHFFFAOYSA-N 0.000 description 1
- FTALTLPZDVFJSS-UHFFFAOYSA-N 2-(2-ethoxyethoxy)ethyl prop-2-enoate Chemical compound CCOCCOCCOC(=O)C=C FTALTLPZDVFJSS-UHFFFAOYSA-N 0.000 description 1
- YHYCMHWTYHPIQS-UHFFFAOYSA-N 2-(2-hydroxyethoxy)-1-methoxyethanol Chemical compound COC(O)COCCO YHYCMHWTYHPIQS-UHFFFAOYSA-N 0.000 description 1
- IEQWWMKDFZUMMU-UHFFFAOYSA-N 2-(2-prop-2-enoyloxyethyl)butanedioic acid Chemical compound OC(=O)CC(C(O)=O)CCOC(=O)C=C IEQWWMKDFZUMMU-UHFFFAOYSA-N 0.000 description 1
- NQIGSEBFOJIXSE-UHFFFAOYSA-N 2-(3-ethyloxetan-3-yl)ethanol Chemical compound OCCC1(CC)COC1 NQIGSEBFOJIXSE-UHFFFAOYSA-N 0.000 description 1
- NFMOAAFJCIYUQR-UHFFFAOYSA-N 2-(3-methyloxetan-3-yl)ethanol Chemical compound OCCC1(C)COC1 NFMOAAFJCIYUQR-UHFFFAOYSA-N 0.000 description 1
- DQNUHQJFEFLHJK-UHFFFAOYSA-N 2-(3-phenyloxetan-3-yl)ethanol Chemical compound C=1C=CC=CC=1C1(CCO)COC1 DQNUHQJFEFLHJK-UHFFFAOYSA-N 0.000 description 1
- NHOJHMXGDCDSHQ-UHFFFAOYSA-N 2-(3-propyloxetan-3-yl)ethanol Chemical compound CCCC1(CCO)COC1 NHOJHMXGDCDSHQ-UHFFFAOYSA-N 0.000 description 1
- KIHBGTRZFAVZRV-UHFFFAOYSA-N 2-Hydroxyoctadecanoic acid Natural products CCCCCCCCCCCCCCCCC(O)C(O)=O KIHBGTRZFAVZRV-UHFFFAOYSA-N 0.000 description 1
- SYEWHONLFGZGLK-UHFFFAOYSA-N 2-[1,3-bis(oxiran-2-ylmethoxy)propan-2-yloxymethyl]oxirane Chemical compound C1OC1COCC(OCC1OC1)COCC1CO1 SYEWHONLFGZGLK-UHFFFAOYSA-N 0.000 description 1
- HDPLHDGYGLENEI-UHFFFAOYSA-N 2-[1-(oxiran-2-ylmethoxy)propan-2-yloxymethyl]oxirane Chemical compound C1OC1COC(C)COCC1CO1 HDPLHDGYGLENEI-UHFFFAOYSA-N 0.000 description 1
- OADIZUFHUPTFAG-UHFFFAOYSA-N 2-[2-(2-ethylhexoxy)ethoxy]ethanol Chemical compound CCCCC(CC)COCCOCCO OADIZUFHUPTFAG-UHFFFAOYSA-N 0.000 description 1
- LCZVSXRMYJUNFX-UHFFFAOYSA-N 2-[2-(2-hydroxypropoxy)propoxy]propan-1-ol Chemical compound CC(O)COC(C)COC(C)CO LCZVSXRMYJUNFX-UHFFFAOYSA-N 0.000 description 1
- LJRSZGKUUZPHEB-UHFFFAOYSA-N 2-[2-(2-prop-2-enoyloxypropoxy)propoxy]propyl prop-2-enoate Chemical class C=CC(=O)OC(C)COC(C)COC(C)COC(=O)C=C LJRSZGKUUZPHEB-UHFFFAOYSA-N 0.000 description 1
- AOBIOSPNXBMOAT-UHFFFAOYSA-N 2-[2-(oxiran-2-ylmethoxy)ethoxymethyl]oxirane Chemical compound C1OC1COCCOCC1CO1 AOBIOSPNXBMOAT-UHFFFAOYSA-N 0.000 description 1
- WTYYGFLRBWMFRY-UHFFFAOYSA-N 2-[6-(oxiran-2-ylmethoxy)hexoxymethyl]oxirane Chemical compound C1OC1COCCCCCCOCC1CO1 WTYYGFLRBWMFRY-UHFFFAOYSA-N 0.000 description 1
- GNUGVECARVKIPH-UHFFFAOYSA-N 2-ethenoxypropane Chemical compound CC(C)OC=C GNUGVECARVKIPH-UHFFFAOYSA-N 0.000 description 1
- SJEBAWHUJDUKQK-UHFFFAOYSA-N 2-ethylanthraquinone Chemical compound C1=CC=C2C(=O)C3=CC(CC)=CC=C3C(=O)C2=C1 SJEBAWHUJDUKQK-UHFFFAOYSA-N 0.000 description 1
- XMLYCEVDHLAQEL-UHFFFAOYSA-N 2-hydroxy-2-methyl-1-phenylpropan-1-one Chemical compound CC(C)(O)C(=O)C1=CC=CC=C1 XMLYCEVDHLAQEL-UHFFFAOYSA-N 0.000 description 1
- 125000000954 2-hydroxyethyl group Chemical group [H]C([*])([H])C([H])([H])O[H] 0.000 description 1
- BQZJOQXSCSZQPS-UHFFFAOYSA-N 2-methoxy-1,2-diphenylethanone Chemical compound C=1C=CC=CC=1C(OC)C(=O)C1=CC=CC=C1 BQZJOQXSCSZQPS-UHFFFAOYSA-N 0.000 description 1
- HFCUBKYHMMPGBY-UHFFFAOYSA-N 2-methoxyethyl prop-2-enoate Chemical compound COCCOC(=O)C=C HFCUBKYHMMPGBY-UHFFFAOYSA-N 0.000 description 1
- YCRUEEQIQSEEJV-UHFFFAOYSA-N 2-methylbut-1-enyl prop-2-enoate Chemical compound CCC(C)=COC(=O)C=C YCRUEEQIQSEEJV-UHFFFAOYSA-N 0.000 description 1
- XFZUADAPXQIKAW-UHFFFAOYSA-N 2-methylbut-3-enyl prop-2-enoate Chemical compound C=CC(C)COC(=O)C=C XFZUADAPXQIKAW-UHFFFAOYSA-N 0.000 description 1
- QTWJRLJHJPIABL-UHFFFAOYSA-N 2-methylphenol;3-methylphenol;4-methylphenol Chemical compound CC1=CC=C(O)C=C1.CC1=CC=CC(O)=C1.CC1=CC=CC=C1O QTWJRLJHJPIABL-UHFFFAOYSA-N 0.000 description 1
- KTALPKYXQZGAEG-UHFFFAOYSA-N 2-propan-2-ylthioxanthen-9-one Chemical compound C1=CC=C2C(=O)C3=CC(C(C)C)=CC=C3SC2=C1 KTALPKYXQZGAEG-UHFFFAOYSA-N 0.000 description 1
- MFJDFPRQTMQVHI-UHFFFAOYSA-N 3,5-dioxabicyclo[5.2.2]undeca-1(9),7,10-triene-2,6-dione Chemical compound O=C1OCOC(=O)C2=CC=C1C=C2 MFJDFPRQTMQVHI-UHFFFAOYSA-N 0.000 description 1
- QISZCVLALJOROC-UHFFFAOYSA-N 3-(2-hydroxyethyl)-4-(2-prop-2-enoyloxyethyl)phthalic acid Chemical compound OCCC1=C(CCOC(=O)C=C)C=CC(C(O)=O)=C1C(O)=O QISZCVLALJOROC-UHFFFAOYSA-N 0.000 description 1
- GEXCDXLBNJCSAN-UHFFFAOYSA-N 3-(3-ethyloxetan-2-yl)propan-1-ol Chemical compound CCC1COC1CCCO GEXCDXLBNJCSAN-UHFFFAOYSA-N 0.000 description 1
- MSJAVUZYBRXTTD-UHFFFAOYSA-N 3-(3-methyloxetan-2-yl)propan-1-ol Chemical compound CC1COC1CCCO MSJAVUZYBRXTTD-UHFFFAOYSA-N 0.000 description 1
- FKZQFILBXJFRSV-UHFFFAOYSA-N 3-(3-phenyloxetan-2-yl)propan-1-ol Chemical compound OCCCC1OCC1C1=CC=CC=C1 FKZQFILBXJFRSV-UHFFFAOYSA-N 0.000 description 1
- ZXTOVNUMJPTDBD-UHFFFAOYSA-N 3-(3-propyloxetan-2-yl)propan-1-ol Chemical compound CCCC1COC1CCCO ZXTOVNUMJPTDBD-UHFFFAOYSA-N 0.000 description 1
- DSSAWHFZNWVJEC-UHFFFAOYSA-N 3-(ethenoxymethyl)heptane Chemical compound CCCCC(CC)COC=C DSSAWHFZNWVJEC-UHFFFAOYSA-N 0.000 description 1
- BIDWUUDRRVHZLQ-UHFFFAOYSA-N 3-ethyl-3-(2-ethylhexoxymethyl)oxetane Chemical compound CCCCC(CC)COCC1(CC)COC1 BIDWUUDRRVHZLQ-UHFFFAOYSA-N 0.000 description 1
- LMIOYAVXLAOXJI-UHFFFAOYSA-N 3-ethyl-3-[[4-[(3-ethyloxetan-3-yl)methoxymethyl]phenyl]methoxymethyl]oxetane Chemical compound C=1C=C(COCC2(CC)COC2)C=CC=1COCC1(CC)COC1 LMIOYAVXLAOXJI-UHFFFAOYSA-N 0.000 description 1
- RDFQSFOGKVZWKF-UHFFFAOYSA-N 3-hydroxy-2,2-dimethylpropanoic acid Chemical compound OCC(C)(C)C(O)=O RDFQSFOGKVZWKF-UHFFFAOYSA-N 0.000 description 1
- MECNWXGGNCJFQJ-UHFFFAOYSA-N 3-piperidin-1-ylpropane-1,2-diol Chemical compound OCC(O)CN1CCCCC1 MECNWXGGNCJFQJ-UHFFFAOYSA-N 0.000 description 1
- JIGUICYYOYEXFS-UHFFFAOYSA-N 3-tert-butylbenzene-1,2-diol Chemical compound CC(C)(C)C1=CC=CC(O)=C1O JIGUICYYOYEXFS-UHFFFAOYSA-N 0.000 description 1
- OKISUZLXOYGIFP-UHFFFAOYSA-N 4,4'-dichlorobenzophenone Chemical compound C1=CC(Cl)=CC=C1C(=O)C1=CC=C(Cl)C=C1 OKISUZLXOYGIFP-UHFFFAOYSA-N 0.000 description 1
- SEEPKEJMYHTJQW-UHFFFAOYSA-N 4-(3-methyloxetan-2-yl)butan-2-ol Chemical compound CC(O)CCC1OCC1C SEEPKEJMYHTJQW-UHFFFAOYSA-N 0.000 description 1
- HMBNQNDUEFFFNZ-UHFFFAOYSA-N 4-ethenoxybutan-1-ol Chemical compound OCCCCOC=C HMBNQNDUEFFFNZ-UHFFFAOYSA-N 0.000 description 1
- 125000004861 4-isopropyl phenyl group Chemical group [H]C1=C([H])C(=C([H])C([H])=C1*)C([H])(C([H])([H])[H])C([H])([H])[H] 0.000 description 1
- JTHZUSWLNCPZLX-UHFFFAOYSA-N 6-fluoro-3-methyl-2h-indazole Chemical compound FC1=CC=C2C(C)=NNC2=C1 JTHZUSWLNCPZLX-UHFFFAOYSA-N 0.000 description 1
- YXALYBMHAYZKAP-UHFFFAOYSA-N 7-oxabicyclo[4.1.0]heptan-4-ylmethyl 7-oxabicyclo[4.1.0]heptane-4-carboxylate Chemical compound C1CC2OC2CC1C(=O)OCC1CC2OC2CC1 YXALYBMHAYZKAP-UHFFFAOYSA-N 0.000 description 1
- ZXRULULEMFAFAS-UHFFFAOYSA-N 9,10-bis(2-ethylhexoxy)anthracene Chemical compound C1=CC=C2C(OCC(CC)CCCC)=C(C=CC=C3)C3=C(OCC(CC)CCCC)C2=C1 ZXRULULEMFAFAS-UHFFFAOYSA-N 0.000 description 1
- KSMGAOMUPSQGTB-UHFFFAOYSA-N 9,10-dibutoxyanthracene Chemical compound C1=CC=C2C(OCCCC)=C(C=CC=C3)C3=C(OCCCC)C2=C1 KSMGAOMUPSQGTB-UHFFFAOYSA-N 0.000 description 1
- GJNKQJAJXSUJBO-UHFFFAOYSA-N 9,10-diethoxyanthracene Chemical compound C1=CC=C2C(OCC)=C(C=CC=C3)C3=C(OCC)C2=C1 GJNKQJAJXSUJBO-UHFFFAOYSA-N 0.000 description 1
- LBQJFQVDEJMUTF-UHFFFAOYSA-N 9,10-dipropoxyanthracene Chemical compound C1=CC=C2C(OCCC)=C(C=CC=C3)C3=C(OCCC)C2=C1 LBQJFQVDEJMUTF-UHFFFAOYSA-N 0.000 description 1
- KWOLFJPFCHCOCG-UHFFFAOYSA-N Acetophenone Chemical compound CC(=O)C1=CC=CC=C1 KWOLFJPFCHCOCG-UHFFFAOYSA-N 0.000 description 1
- QGZKDVFQNNGYKY-UHFFFAOYSA-O Ammonium Chemical compound [NH4+] QGZKDVFQNNGYKY-UHFFFAOYSA-O 0.000 description 1
- 229910017008 AsF 6 Inorganic materials 0.000 description 1
- ADAHGVUHKDNLEB-UHFFFAOYSA-N Bis(2,3-epoxycyclopentyl)ether Chemical compound C1CC2OC2C1OC1CCC2OC21 ADAHGVUHKDNLEB-UHFFFAOYSA-N 0.000 description 1
- LSNNMFCWUKXFEE-UHFFFAOYSA-M Bisulfite Chemical compound OS([O-])=O LSNNMFCWUKXFEE-UHFFFAOYSA-M 0.000 description 1
- 229920002799 BoPET Polymers 0.000 description 1
- WKBOTKDWSSQWDR-UHFFFAOYSA-N Bromine atom Chemical compound [Br] WKBOTKDWSSQWDR-UHFFFAOYSA-N 0.000 description 1
- OKTJSMMVPCPJKN-UHFFFAOYSA-N Carbon Chemical group [C] OKTJSMMVPCPJKN-UHFFFAOYSA-N 0.000 description 1
- 229920000298 Cellophane Polymers 0.000 description 1
- ZAMOUSCENKQFHK-UHFFFAOYSA-N Chlorine atom Chemical compound [Cl] ZAMOUSCENKQFHK-UHFFFAOYSA-N 0.000 description 1
- LCGLNKUTAGEVQW-UHFFFAOYSA-N Dimethyl ether Chemical compound COC LCGLNKUTAGEVQW-UHFFFAOYSA-N 0.000 description 1
- 229920002943 EPDM rubber Polymers 0.000 description 1
- JIGUQPWFLRLWPJ-UHFFFAOYSA-N Ethyl acrylate Chemical compound CCOC(=O)C=C JIGUQPWFLRLWPJ-UHFFFAOYSA-N 0.000 description 1
- 229920000181 Ethylene propylene rubber Polymers 0.000 description 1
- 241000511976 Hoya Species 0.000 description 1
- UFHFLCQGNIYNRP-UHFFFAOYSA-N Hydrogen Chemical compound [H][H] UFHFLCQGNIYNRP-UHFFFAOYSA-N 0.000 description 1
- CERQOIWHTDAKMF-UHFFFAOYSA-M Methacrylate Chemical compound CC(=C)C([O-])=O CERQOIWHTDAKMF-UHFFFAOYSA-M 0.000 description 1
- BWPYBAJTDILQPY-UHFFFAOYSA-N Methoxyphenone Chemical compound C1=C(C)C(OC)=CC=C1C(=O)C1=CC=CC(C)=C1 BWPYBAJTDILQPY-UHFFFAOYSA-N 0.000 description 1
- NQSMEZJWJJVYOI-UHFFFAOYSA-N Methyl 2-benzoylbenzoate Chemical compound COC(=O)C1=CC=CC=C1C(=O)C1=CC=CC=C1 NQSMEZJWJJVYOI-UHFFFAOYSA-N 0.000 description 1
- 240000007594 Oryza sativa Species 0.000 description 1
- 235000007164 Oryza sativa Nutrition 0.000 description 1
- 229910019142 PO4 Inorganic materials 0.000 description 1
- 229920003171 Poly (ethylene oxide) Polymers 0.000 description 1
- 229920012266 Poly(ether sulfone) PES Polymers 0.000 description 1
- 229930182556 Polyacetal Natural products 0.000 description 1
- 239000005062 Polybutadiene Substances 0.000 description 1
- 229910018286 SbF 6 Inorganic materials 0.000 description 1
- KDYFGRWQOYBRFD-UHFFFAOYSA-N Succinic acid Natural products OC(=O)CCC(O)=O KDYFGRWQOYBRFD-UHFFFAOYSA-N 0.000 description 1
- 229930006000 Sucrose Natural products 0.000 description 1
- UCKMPCXJQFINFW-UHFFFAOYSA-N Sulphide Chemical compound [S-2] UCKMPCXJQFINFW-UHFFFAOYSA-N 0.000 description 1
- 239000004809 Teflon Substances 0.000 description 1
- 229920006362 Teflon® Polymers 0.000 description 1
- BGNXCDMCOKJUMV-UHFFFAOYSA-N Tert-Butylhydroquinone Chemical compound CC(C)(C)C1=CC(O)=CC=C1O BGNXCDMCOKJUMV-UHFFFAOYSA-N 0.000 description 1
- RTAQQCXQSZGOHL-UHFFFAOYSA-N Titanium Chemical compound [Ti] RTAQQCXQSZGOHL-UHFFFAOYSA-N 0.000 description 1
- MOOIXEMFUKBQLJ-UHFFFAOYSA-N [1-(ethenoxymethyl)cyclohexyl]methanol Chemical compound C=COCC1(CO)CCCCC1 MOOIXEMFUKBQLJ-UHFFFAOYSA-N 0.000 description 1
- 238000005299 abrasion Methods 0.000 description 1
- 230000002745 absorbent Effects 0.000 description 1
- 238000010521 absorption reaction Methods 0.000 description 1
- 229920006397 acrylic thermoplastic Polymers 0.000 description 1
- 239000012190 activator Substances 0.000 description 1
- 229910052782 aluminium Inorganic materials 0.000 description 1
- XAGFODPZIPBFFR-UHFFFAOYSA-N aluminium Chemical compound [Al] XAGFODPZIPBFFR-UHFFFAOYSA-N 0.000 description 1
- WNROFYMDJYEPJX-UHFFFAOYSA-K aluminium hydroxide Chemical compound [OH-].[OH-].[OH-].[Al+3] WNROFYMDJYEPJX-UHFFFAOYSA-K 0.000 description 1
- MKSISPKJEMTIGI-LWTKGLMZSA-K aluminum (Z)-oxido-oxidoimino-phenylazanium Chemical compound [Al+3].[O-]\N=[N+](/[O-])c1ccccc1.[O-]\N=[N+](/[O-])c1ccccc1.[O-]\N=[N+](/[O-])c1ccccc1 MKSISPKJEMTIGI-LWTKGLMZSA-K 0.000 description 1
- 150000001412 amines Chemical class 0.000 description 1
- 125000003277 amino group Chemical group 0.000 description 1
- 239000012164 animal wax Substances 0.000 description 1
- 125000000129 anionic group Chemical group 0.000 description 1
- 239000003945 anionic surfactant Substances 0.000 description 1
- LTGVWEPMIDGXKP-UHFFFAOYSA-N anthracen-1-yl prop-2-enoate Chemical compound C1=CC=C2C=C3C(OC(=O)C=C)=CC=CC3=CC2=C1 LTGVWEPMIDGXKP-UHFFFAOYSA-N 0.000 description 1
- 150000001454 anthracenes Chemical class 0.000 description 1
- 239000004760 aramid Substances 0.000 description 1
- 229920003235 aromatic polyamide Polymers 0.000 description 1
- LWGLGSPYKZTZBM-UHFFFAOYSA-N benzenecarbonothioylsulfanyl benzenecarbodithioate Chemical compound C=1C=CC=CC=1C(=S)SSC(=S)C1=CC=CC=C1 LWGLGSPYKZTZBM-UHFFFAOYSA-N 0.000 description 1
- 229960002130 benzoin Drugs 0.000 description 1
- 125000001797 benzyl group Chemical group [H]C1=C([H])C([H])=C(C([H])=C1[H])C([H])([H])* 0.000 description 1
- 239000004305 biphenyl Substances 0.000 description 1
- DJUWPHRCMMMSCV-UHFFFAOYSA-N bis(7-oxabicyclo[4.1.0]heptan-4-ylmethyl) hexanedioate Chemical compound C1CC2OC2CC1COC(=O)CCCCC(=O)OCC1CC2OC2CC1 DJUWPHRCMMMSCV-UHFFFAOYSA-N 0.000 description 1
- MQDJYUACMFCOFT-UHFFFAOYSA-N bis[2-(1-hydroxycyclohexyl)phenyl]methanone Chemical compound C=1C=CC=C(C(=O)C=2C(=CC=CC=2)C2(O)CCCCC2)C=1C1(O)CCCCC1 MQDJYUACMFCOFT-UHFFFAOYSA-N 0.000 description 1
- QDVNNDYBCWZVTI-UHFFFAOYSA-N bis[4-(ethylamino)phenyl]methanone Chemical compound C1=CC(NCC)=CC=C1C(=O)C1=CC=C(NCC)C=C1 QDVNNDYBCWZVTI-UHFFFAOYSA-N 0.000 description 1
- 229930006711 bornane-2,3-dione Natural products 0.000 description 1
- GDTBXPJZTBHREO-UHFFFAOYSA-N bromine Substances BrBr GDTBXPJZTBHREO-UHFFFAOYSA-N 0.000 description 1
- 229910052794 bromium Inorganic materials 0.000 description 1
- 125000006226 butoxyethyl group Chemical group 0.000 description 1
- 125000000484 butyl group Chemical group [H]C([*])([H])C([H])([H])C([H])([H])C([H])([H])[H] 0.000 description 1
- 229910000019 calcium carbonate Inorganic materials 0.000 description 1
- 125000003178 carboxy group Chemical group [H]OC(*)=O 0.000 description 1
- 150000001733 carboxylic acid esters Chemical class 0.000 description 1
- 239000004359 castor oil Substances 0.000 description 1
- 235000019438 castor oil Nutrition 0.000 description 1
- 125000002091 cationic group Chemical group 0.000 description 1
- 238000010538 cationic polymerization reaction Methods 0.000 description 1
- 239000001913 cellulose Substances 0.000 description 1
- 229920002678 cellulose Polymers 0.000 description 1
- 229920002301 cellulose acetate Polymers 0.000 description 1
- 229910052801 chlorine Inorganic materials 0.000 description 1
- 239000000460 chlorine Substances 0.000 description 1
- 239000011248 coating agent Substances 0.000 description 1
- 238000000576 coating method Methods 0.000 description 1
- 239000003086 colorant Substances 0.000 description 1
- 230000000052 comparative effect Effects 0.000 description 1
- 238000011437 continuous method Methods 0.000 description 1
- 238000001816 cooling Methods 0.000 description 1
- 229930003836 cresol Natural products 0.000 description 1
- 238000004132 cross linking Methods 0.000 description 1
- 150000004292 cyclic ethers Chemical group 0.000 description 1
- 125000001995 cyclobutyl group Chemical group [H]C1([H])C([H])([H])C([H])(*)C1([H])[H] 0.000 description 1
- 125000004210 cyclohexylmethyl group Chemical group [H]C([H])(*)C1([H])C([H])([H])C([H])([H])C([H])([H])C([H])([H])C1([H])[H] 0.000 description 1
- 125000001511 cyclopentyl group Chemical group [H]C1([H])C([H])([H])C([H])([H])C([H])(*)C1([H])[H] 0.000 description 1
- BTQLDZMOTPTCGG-UHFFFAOYSA-N cyclopentyl prop-2-enoate Chemical compound C=CC(=O)OC1CCCC1 BTQLDZMOTPTCGG-UHFFFAOYSA-N 0.000 description 1
- DYKQZKPEUOVBCV-UHFFFAOYSA-N cyclopentylmethyl prop-2-enoate Chemical compound C=CC(=O)OCC1CCCC1 DYKQZKPEUOVBCV-UHFFFAOYSA-N 0.000 description 1
- 125000001559 cyclopropyl group Chemical group [H]C1([H])C([H])([H])C1([H])* 0.000 description 1
- 238000006356 dehydrogenation reaction Methods 0.000 description 1
- 239000012954 diazonium Substances 0.000 description 1
- IJGRMHOSHXDMSA-UHFFFAOYSA-O diazynium Chemical compound [NH+]#N IJGRMHOSHXDMSA-UHFFFAOYSA-O 0.000 description 1
- 229940087101 dibenzylidene sorbitol Drugs 0.000 description 1
- GYZLOYUZLJXAJU-UHFFFAOYSA-N diglycidyl ether Chemical compound C1OC1COCC1CO1 GYZLOYUZLJXAJU-UHFFFAOYSA-N 0.000 description 1
- 239000000539 dimer Substances 0.000 description 1
- 125000005982 diphenylmethyl group Chemical group [H]C1=C([H])C([H])=C(C([H])=C1[H])C([H])(*)C1=C([H])C([H])=C([H])C([H])=C1[H] 0.000 description 1
- KGGOIDKBHYYNIC-UHFFFAOYSA-N ditert-butyl 4-[3,4-bis(tert-butylperoxycarbonyl)benzoyl]benzene-1,2-dicarboperoxoate Chemical compound C1=C(C(=O)OOC(C)(C)C)C(C(=O)OOC(C)(C)C)=CC=C1C(=O)C1=CC=C(C(=O)OOC(C)(C)C)C(C(=O)OOC(C)(C)C)=C1 KGGOIDKBHYYNIC-UHFFFAOYSA-N 0.000 description 1
- 125000003438 dodecyl group Chemical group [H]C([H])([H])C([H])([H])C([H])([H])C([H])([H])C([H])([H])C([H])([H])C([H])([H])C([H])([H])C([H])([H])C([H])([H])C([H])([H])C([H])([H])* 0.000 description 1
- 108010092028 endopolygalacturonase II Proteins 0.000 description 1
- 125000004185 ester group Chemical group 0.000 description 1
- 229940052303 ethers for general anesthesia Drugs 0.000 description 1
- ZWEDFBKLJILTMC-UHFFFAOYSA-N ethyl 4,4,4-trifluoro-3-hydroxybutanoate Chemical compound CCOC(=O)CC(O)C(F)(F)F ZWEDFBKLJILTMC-UHFFFAOYSA-N 0.000 description 1
- 125000001495 ethyl group Chemical group [H]C([H])([H])C([H])([H])* 0.000 description 1
- 229920001973 fluoroelastomer Polymers 0.000 description 1
- NVVZQXQBYZPMLJ-UHFFFAOYSA-N formaldehyde;naphthalene-1-sulfonic acid Chemical compound O=C.C1=CC=C2C(S(=O)(=O)O)=CC=CC2=C1 NVVZQXQBYZPMLJ-UHFFFAOYSA-N 0.000 description 1
- ZEMPKEQAKRGZGQ-XOQCFJPHSA-N glycerol triricinoleate Natural products CCCCCC[C@@H](O)CC=CCCCCCCCC(=O)OC[C@@H](COC(=O)CCCCCCCC=CC[C@@H](O)CCCCCC)OC(=O)CCCCCCCC=CC[C@H](O)CCCCCC ZEMPKEQAKRGZGQ-XOQCFJPHSA-N 0.000 description 1
- 230000005484 gravity Effects 0.000 description 1
- 150000004820 halides Chemical class 0.000 description 1
- KVILQFSLJDTWPU-UHFFFAOYSA-N heptadecyl prop-2-enoate Chemical compound CCCCCCCCCCCCCCCCCOC(=O)C=C KVILQFSLJDTWPU-UHFFFAOYSA-N 0.000 description 1
- 125000003187 heptyl group Chemical group [H]C([*])([H])C([H])([H])C([H])([H])C([H])([H])C([H])([H])C([H])([H])C([H])([H])[H] 0.000 description 1
- XXMIOPMDWAUFGU-UHFFFAOYSA-N hexane-1,6-diol Chemical compound OCCCCCCO XXMIOPMDWAUFGU-UHFFFAOYSA-N 0.000 description 1
- 125000004051 hexyl group Chemical group [H]C([H])([H])C([H])([H])C([H])([H])C([H])([H])C([H])([H])C([H])([H])* 0.000 description 1
- LNMQRPPRQDGUDR-UHFFFAOYSA-N hexyl prop-2-enoate Chemical compound CCCCCCOC(=O)C=C LNMQRPPRQDGUDR-UHFFFAOYSA-N 0.000 description 1
- 125000002887 hydroxy group Chemical group [H]O* 0.000 description 1
- NGYRYRBDIPYKTL-UHFFFAOYSA-N icosyl prop-2-enoate Chemical compound CCCCCCCCCCCCCCCCCCCCOC(=O)C=C NGYRYRBDIPYKTL-UHFFFAOYSA-N 0.000 description 1
- 238000002347 injection Methods 0.000 description 1
- 239000007924 injection Substances 0.000 description 1
- 239000001023 inorganic pigment Substances 0.000 description 1
- 230000010354 integration Effects 0.000 description 1
- 230000009545 invasion Effects 0.000 description 1
- MGFYSGNNHQQTJW-UHFFFAOYSA-N iodonium Chemical compound [IH2+] MGFYSGNNHQQTJW-UHFFFAOYSA-N 0.000 description 1
- 229920000554 ionomer Polymers 0.000 description 1
- 125000001972 isopentyl group Chemical group [H]C([H])([H])C([H])(C([H])([H])[H])C([H])([H])C([H])([H])* 0.000 description 1
- 125000000555 isopropenyl group Chemical group [H]\C([H])=C(\*)C([H])([H])[H] 0.000 description 1
- 125000001449 isopropyl group Chemical group [H]C([H])([H])C([H])(*)C([H])([H])[H] 0.000 description 1
- 125000000468 ketone group Chemical group 0.000 description 1
- PBOSTUDLECTMNL-UHFFFAOYSA-N lauryl acrylate Chemical compound CCCCCCCCCCCCOC(=O)C=C PBOSTUDLECTMNL-UHFFFAOYSA-N 0.000 description 1
- 125000005645 linoleyl group Chemical group 0.000 description 1
- 238000002844 melting Methods 0.000 description 1
- 230000008018 melting Effects 0.000 description 1
- 239000012528 membrane Substances 0.000 description 1
- 229910001507 metal halide Inorganic materials 0.000 description 1
- 150000005309 metal halides Chemical class 0.000 description 1
- 239000012184 mineral wax Substances 0.000 description 1
- 238000002156 mixing Methods 0.000 description 1
- PULCKIYKBGOTTG-UHFFFAOYSA-N n-(2,4-dimethylpentan-3-ylidene)hydroxylamine Chemical compound CC(C)C(=NO)C(C)C PULCKIYKBGOTTG-UHFFFAOYSA-N 0.000 description 1
- 125000004108 n-butyl group Chemical group [H]C([H])([H])C([H])([H])C([H])([H])C([H])([H])* 0.000 description 1
- NLRKCXQQSUWLCH-UHFFFAOYSA-N nitrosobenzene Chemical compound O=NC1=CC=CC=C1 NLRKCXQQSUWLCH-UHFFFAOYSA-N 0.000 description 1
- 239000002736 nonionic surfactant Substances 0.000 description 1
- 229920003986 novolac Polymers 0.000 description 1
- 229920006284 nylon film Polymers 0.000 description 1
- UPHWVVKYDQHTCF-UHFFFAOYSA-N octadecylazanium;acetate Chemical compound CC(O)=O.CCCCCCCCCCCCCCCCCCN UPHWVVKYDQHTCF-UHFFFAOYSA-N 0.000 description 1
- ANISOHQJBAQUQP-UHFFFAOYSA-N octyl prop-2-enoate Chemical compound CCCCCCCCOC(=O)C=C ANISOHQJBAQUQP-UHFFFAOYSA-N 0.000 description 1
- 125000001117 oleyl group Chemical group [H]C([*])([H])C([H])([H])C([H])([H])C([H])([H])C([H])([H])C([H])([H])C([H])([H])C([H])([H])/C([H])=C([H])\C([H])([H])C([H])([H])C([H])([H])C([H])([H])C([H])([H])C([H])([H])C([H])([H])C([H])([H])[H] 0.000 description 1
- FGWRVVZMNXRWDQ-UHFFFAOYSA-N oxan-2-yl prop-2-enoate Chemical compound C=CC(=O)OC1CCCCO1 FGWRVVZMNXRWDQ-UHFFFAOYSA-N 0.000 description 1
- RPQRDASANLAFCM-UHFFFAOYSA-N oxiran-2-ylmethyl prop-2-enoate Chemical compound C=CC(=O)OCC1CO1 RPQRDASANLAFCM-UHFFFAOYSA-N 0.000 description 1
- FEUIEHHLVZUGPB-UHFFFAOYSA-N oxolan-2-yl prop-2-enoate Chemical compound C=CC(=O)OC1CCCO1 FEUIEHHLVZUGPB-UHFFFAOYSA-N 0.000 description 1
- SOQBVABWOPYFQZ-UHFFFAOYSA-N oxygen(2-);titanium(4+) Chemical class [O-2].[O-2].[Ti+4] SOQBVABWOPYFQZ-UHFFFAOYSA-N 0.000 description 1
- NWVVVBRKAWDGAB-UHFFFAOYSA-N p-methoxyphenol Chemical compound COC1=CC=C(O)C=C1 NWVVVBRKAWDGAB-UHFFFAOYSA-N 0.000 description 1
- 125000000913 palmityl group Chemical group [H]C([*])([H])C([H])([H])C([H])([H])C([H])([H])C([H])([H])C([H])([H])C([H])([H])C([H])([H])C([H])([H])C([H])([H])C([H])([H])C([H])([H])C([H])([H])C([H])([H])C([H])([H])C([H])([H])[H] 0.000 description 1
- 239000012188 paraffin wax Substances 0.000 description 1
- GOZDOXXUTWHSKU-UHFFFAOYSA-N pentadecyl prop-2-enoate Chemical compound CCCCCCCCCCCCCCCOC(=O)C=C GOZDOXXUTWHSKU-UHFFFAOYSA-N 0.000 description 1
- 125000001147 pentyl group Chemical group C(CCCC)* 0.000 description 1
- PNJWIWWMYCMZRO-UHFFFAOYSA-N pent‐4‐en‐2‐one Natural products CC(=O)CC=C PNJWIWWMYCMZRO-UHFFFAOYSA-N 0.000 description 1
- 239000012169 petroleum derived wax Substances 0.000 description 1
- 235000019381 petroleum wax Nutrition 0.000 description 1
- 125000001997 phenyl group Chemical group [H]C1=C([H])C([H])=C(*)C([H])=C1[H] 0.000 description 1
- LYXOWKPVTCPORE-UHFFFAOYSA-N phenyl-(4-phenylphenyl)methanone Chemical compound C=1C=C(C=2C=CC=CC=2)C=CC=1C(=O)C1=CC=CC=C1 LYXOWKPVTCPORE-UHFFFAOYSA-N 0.000 description 1
- 239000010452 phosphate Substances 0.000 description 1
- XYFCBTPGUUZFHI-UHFFFAOYSA-O phosphonium Chemical compound [PH4+] XYFCBTPGUUZFHI-UHFFFAOYSA-O 0.000 description 1
- OXNIZHLAWKMVMX-UHFFFAOYSA-N picric acid Chemical compound OC1=C([N+]([O-])=O)C=C([N+]([O-])=O)C=C1[N+]([O-])=O OXNIZHLAWKMVMX-UHFFFAOYSA-N 0.000 description 1
- 239000012165 plant wax Substances 0.000 description 1
- 239000002985 plastic film Substances 0.000 description 1
- 229920006255 plastic film Polymers 0.000 description 1
- 229920001643 poly(ether ketone) Polymers 0.000 description 1
- 229920003229 poly(methyl methacrylate) Polymers 0.000 description 1
- 229920002492 poly(sulfone) Polymers 0.000 description 1
- 229920000058 polyacrylate Polymers 0.000 description 1
- 229920002312 polyamide-imide Polymers 0.000 description 1
- 229920002857 polybutadiene Polymers 0.000 description 1
- 229920006289 polycarbonate film Polymers 0.000 description 1
- 239000011112 polyethylene naphthalate Substances 0.000 description 1
- 229920005862 polyol Polymers 0.000 description 1
- 150000003077 polyols Chemical class 0.000 description 1
- 229920006324 polyoxymethylene Polymers 0.000 description 1
- 229920001451 polypropylene glycol Polymers 0.000 description 1
- 229920001296 polysiloxane Polymers 0.000 description 1
- 229920002223 polystyrene Polymers 0.000 description 1
- 238000003825 pressing Methods 0.000 description 1
- IXRIKXJQFYIWSW-UHFFFAOYSA-N propan-1-one Chemical compound CC[C+]=O IXRIKXJQFYIWSW-UHFFFAOYSA-N 0.000 description 1
- LYBIZMNPXTXVMV-UHFFFAOYSA-N propan-2-yl prop-2-enoate Chemical compound CC(C)OC(=O)C=C LYBIZMNPXTXVMV-UHFFFAOYSA-N 0.000 description 1
- 125000001436 propyl group Chemical group [H]C([*])([H])C([H])([H])C([H])([H])[H] 0.000 description 1
- PNXMTCDJUBJHQJ-UHFFFAOYSA-N propyl prop-2-enoate Chemical compound CCCOC(=O)C=C PNXMTCDJUBJHQJ-UHFFFAOYSA-N 0.000 description 1
- 229940079877 pyrogallol Drugs 0.000 description 1
- 239000003507 refrigerant Substances 0.000 description 1
- GHMLBKRAJCXXBS-UHFFFAOYSA-N resorcinol Chemical compound OC1=CC=CC(O)=C1 GHMLBKRAJCXXBS-UHFFFAOYSA-N 0.000 description 1
- 229960001755 resorcinol Drugs 0.000 description 1
- 230000004044 response Effects 0.000 description 1
- 235000009566 rice Nutrition 0.000 description 1
- RSVDRWTUCMTKBV-UHFFFAOYSA-N sbb057044 Chemical compound C12CC=CC2C2CC(OCCOC(=O)C=C)C1C2 RSVDRWTUCMTKBV-UHFFFAOYSA-N 0.000 description 1
- 125000002914 sec-butyl group Chemical group [H]C([H])([H])C([H])([H])C([H])(*)C([H])([H])[H] 0.000 description 1
- 230000001953 sensory effect Effects 0.000 description 1
- 229920002050 silicone resin Polymers 0.000 description 1
- 239000007787 solid Substances 0.000 description 1
- 238000003892 spreading Methods 0.000 description 1
- 230000007480 spreading Effects 0.000 description 1
- 125000004079 stearyl group Chemical group [H]C([*])([H])C([H])([H])C([H])([H])C([H])([H])C([H])([H])C([H])([H])C([H])([H])C([H])([H])C([H])([H])C([H])([H])C([H])([H])C([H])([H])C([H])([H])C([H])([H])C([H])([H])C([H])([H])C([H])([H])C([H])([H])[H] 0.000 description 1
- 238000003860 storage Methods 0.000 description 1
- 238000005728 strengthening Methods 0.000 description 1
- 239000005720 sucrose Substances 0.000 description 1
- 150000005846 sugar alcohols Polymers 0.000 description 1
- 150000003871 sulfonates Chemical class 0.000 description 1
- 150000003460 sulfonic acids Chemical class 0.000 description 1
- RWSOTUBLDIXVET-UHFFFAOYSA-O sulfonium Chemical compound [SH3+] RWSOTUBLDIXVET-UHFFFAOYSA-O 0.000 description 1
- 239000002344 surface layer Substances 0.000 description 1
- MUTNCGKQJGXKEM-UHFFFAOYSA-N tamibarotene Chemical compound C=1C=C2C(C)(C)CCC(C)(C)C2=CC=1NC(=O)C1=CC=C(C(O)=O)C=C1 MUTNCGKQJGXKEM-UHFFFAOYSA-N 0.000 description 1
- KKEYFWRCBNTPAC-UHFFFAOYSA-L terephthalate(2-) Chemical compound [O-]C(=O)C1=CC=C(C([O-])=O)C=C1 KKEYFWRCBNTPAC-UHFFFAOYSA-L 0.000 description 1
- ISXSCDLOGDJUNJ-UHFFFAOYSA-N tert-butyl prop-2-enoate Chemical compound CC(C)(C)OC(=O)C=C ISXSCDLOGDJUNJ-UHFFFAOYSA-N 0.000 description 1
- 238000012360 testing method Methods 0.000 description 1
- XZHNPVKXBNDGJD-UHFFFAOYSA-N tetradecyl prop-2-enoate Chemical compound CCCCCCCCCCCCCCOC(=O)C=C XZHNPVKXBNDGJD-UHFFFAOYSA-N 0.000 description 1
- UWHCKJMYHZGTIT-UHFFFAOYSA-N tetraethylene glycol Chemical compound OCCOCCOCCOCCO UWHCKJMYHZGTIT-UHFFFAOYSA-N 0.000 description 1
- XOALFFJGWSCQEO-UHFFFAOYSA-N tridecyl prop-2-enoate Chemical compound CCCCCCCCCCCCCOC(=O)C=C XOALFFJGWSCQEO-UHFFFAOYSA-N 0.000 description 1
- ZIBGPFATKBEMQZ-UHFFFAOYSA-N triethylene glycol Chemical compound OCCOCCOCCO ZIBGPFATKBEMQZ-UHFFFAOYSA-N 0.000 description 1
- 125000002221 trityl group Chemical group [H]C1=C([H])C([H])=C([H])C([H])=C1C([*])(C1=C(C(=C(C(=C1[H])[H])[H])[H])[H])C1=C([H])C([H])=C([H])C([H])=C1[H] 0.000 description 1
- 125000002948 undecyl group Chemical group [H]C([*])([H])C([H])([H])C([H])([H])C([H])([H])C([H])([H])C([H])([H])C([H])([H])C([H])([H])C([H])([H])C([H])([H])C([H])([H])[H] 0.000 description 1
- 235000021122 unsaturated fatty acids Nutrition 0.000 description 1
- 229960000834 vinyl ether Drugs 0.000 description 1
- XLYOFNOQVPJJNP-UHFFFAOYSA-N water Substances O XLYOFNOQVPJJNP-UHFFFAOYSA-N 0.000 description 1
- 238000009736 wetting Methods 0.000 description 1
- 239000011787 zinc oxide Substances 0.000 description 1
Images
Landscapes
- Ink Jet (AREA)
- Ink Jet Recording Methods And Recording Media Thereof (AREA)
- Inks, Pencil-Leads, Or Crayons (AREA)
Abstract
Description
本発明の実施形態に係るインクは、活性線硬化性化合物を含む。活性線硬化性化合物とは、活性線の照射により重合または架橋する化合物である。活性線の例には、電子線、紫外線、α線、γ線およびエックス線などが含まれる。上記活性線のうち、紫外線および電子線が好ましい。
本発明の実施形態に係るインクは、下記一般式(1)で表される化合物を含む。
本発明の実施形態に係るインクは、エチレンオキサイド(EO)変性部位を有する3官能以上の(メタ)アクリレート、または、プロピレンオキサイド(PO)変性部位を有する3官能以上の(メタ)アクリレート(変性多官能(メタ)アクリレ―ト)を含む。
本発明の実施形態に係るインクは、その他の活性線硬化性化合物を含んでもよい。その他の活性線硬化性化合物は、活性線の照射により架橋または重合する化合物であれば特に制限されない。
本発明の実施形態に係るインクは、白色顔料を含む。本発明の実施形態に係るインクは、白色顔料を、インクの全質量に対して5質量%以上30質量%以下の量で含むことが好ましく、5質量%以上20質量%以下の量で含むことがより好ましく、5質量%以上15質量%以下の量でさらに好ましい。
本発明の実施形態に係るインクは、分散剤を含んでもよい。
本発明の実施形態に係るインクは、重合開始剤を含んでもよい。
本発明の実施形態に係るインクは、増感剤を含んでもよい。
本発明の実施形態に係るインクは、重合禁止剤を含んでもよい。
本発明の実施形態に係るインクは、界面活性剤を含んでもよい。
本発明の実施形態に係るインクは、ゲル化剤を含んでもよい。
本発明の実施形態に係るインクは、インクジェットヘッドからの射出性をより高める観点からは、ゲル化剤を含まないインクであるとき、40℃における粘度が3mPa・s以上20mPa・s以下であることが好ましい。また、ゲル化剤を含むインクであるとき、80℃における粘度が3mPa・s以上20mPa・s以下であることが好ましい。
(第1の画像形成方法)
本発明の実施形態に係る第1の画像形成方法は、前述の活性線硬化型インクジェットインクの液滴をインクジェットヘッドのノズルから吐出して、記録媒体の表面に着弾させる工程(第1の工程)と、着弾した液滴に活性線を照射して、液滴を硬化させる工程(第2の工程)と、を有する。
第1の工程では、活性線硬化型インクジェットインクの液滴をインクジェットヘッドのノズルから吐出して、記録媒体の表面に着弾させる。
第2の工程では、記録媒体の表面に着弾した液滴に活性線を照射して、液滴を硬化させる。
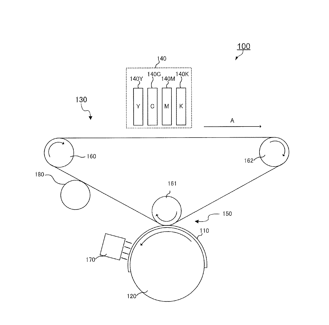
本発明の実施形態に係る第2の画像形成方法は、前述の活性線硬化型インクジェットインクの液滴をインクジェットヘッドのノズルから吐出して、中間転写体に付着させる工程(第1工程)と、中間転写体に付着させた液滴を、記録媒体に転写させる工程と(第2工程)、記録媒体に転写させた液滴に活性線を照射して、液滴を硬化させる工程(第3工程)と、を有する。
第1の工程では、活性線硬化型インクジェットインクの液滴をインクジェットヘッドのノズルから吐出して、中間転写体に付着させる。インクは、上述した活性線硬化型インクジェットインクである。中間転写体にインクを付着させる工程に用いる装置は、上記の第1画像形成方法の装置と同様とすることができる。中間転写体は、インクジェット法による画像形成に用いられる公知の中間転写体であればよい。
第2の工程では、中間転写体に付着させた液滴を、記録媒体に転写させる。本工程では、例えば、上記中間転写体の活性線硬化型インクが付着した面と、記録媒体の画像を形成すべき面とを接触させ、中間転写体側から記録媒体側へ押圧すればよい。
第3の工程では、上記記録媒体に転写させた液滴に活性線を照射して、上記液滴を硬化させる。
本発明の画像形成装置は、上述したインクジェット用の活性線硬化型インクを用いて画像を形成する、画像形成装置である。具体的には、本発明の画像形成装置は、インクジェットヘッドから、40〜120℃に加熱されたインクジェット用の活性線硬化型インクを吐出する、インク吐出部と、吐出されたインクジェット用の活性線硬化型インクを着弾させる記録媒体を搬送して、その表面温度が60℃以下である記録媒体または中間転写体の表面に上記インクを着弾させる、搬送路と、前記着弾したインクジェット用の活性線硬化型インクに活性線を照射する照射部と、を含む、画像形成装置である。
[活性線硬化性化合物]
インクジェットインクに含まれる活性線硬化性化合物は以下のものを用いた。
・2−(アリルオキシメチル)アクリル酸メチル
・トリメチロールプロパン3PO変性トリアクリレート(3PO TMPTA)
・トリメチロールプロパン3EO変性トリアクリレート(3EO TMPTA)
・トリメチロールプロパン9EO変性トリアクリレート(9EO TMPTA)
・ポリエチレングリコール(300)ジアクリレート(6EO PEGDA、EO変性部位数:6)
・トリプロピレングリコール3PO変性ジアクリレート(3PO TPGDA、PO変性部位数:3)
・ジオキサングリコールジアクリレート(DOGDA)
・トリメチロールプロパントリアクリレート(TMPTA)
・ポリエステルアクリレートオリゴマー(CN2270)
インクジェットインクに含まれる重合開始剤は以下のものを用いた。
・フェニル−ビス(2,4,6−トリメチルベンゾイル)ホスフィンオキシド(Irgacure 819、チバスペシャリティーケミカルズ社)
・イソプロピルチオキサントン(Speedcure ITX、LAMBSON社)
インクジェットインクに含まれる重合禁止剤は以下のものを用いた。
・IrgastabUV10(チバ・ジャパン社製)
インクジェットインクに含まれる顔料は以下のものを用いた。
(白色顔料)
・酸化チタン(R32、堺化学工業社製)
(マゼンタ顔料)
・V19/PR202混晶顔料 Ink JET magenta E7B LV3958(クラリアント社製)
インクジェットインクに含まれる分散剤は以下のものを用いた。
・Solsperse 28000(Lubrizol社製)
インクジェットインクに含まれる界面活性剤として、以下のものを用いた。
・TSF−4452(MOMENTIVE社製)
[顔料分散液の調製]
(白色顔料分散液)
上記分散剤を24質量部、溶媒として活性線硬化性化合物であるジプロピレングリコールジアクリレートを28質量部、ステンレスビーカーに入れ、これを65℃のホットプレート上で加熱しながら1時間加熱攪拌した。混合液を室温まで冷却し、さらに、上記白色顔料を48質量部加えた。この溶液を、直径0.5mmのジルコニアビーズ200gと共にガラス瓶に入れて密栓し、ペイントシェーカーにて5時間分散処理した。その後、ジルコニアビーズを除去し、分散液を得た。
(マゼンタ顔料分散液)
上記分散剤を8質量部、溶媒として活性線硬化性化合物であるジプロピレングリコールジアクリレートを76質量部、ステンレスビーカーに入れ、これを65℃のホットプレート上で加熱しながら1時間加熱攪拌した。混合液を室温まで冷却し、さらに、上記マゼンタ顔料を16質量部加えた。この溶液を、直径0.5mmのジルコニアビーズ200gと共にガラス瓶に入れて密栓し、ペイントシェーカーにて5時間分散処理した。その後、ジルコニアビーズを除去し、分散液を得た。
上記の各成分を下記の表1および表2の組成にしたがって混合し、80℃に加熱して攪拌した。加熱下において、ADVANTEC社製テフロン(登録商標)3μmメンブランフィルターで得られた溶液の濾過を行い、インク1〜インク17を得た。なお、各成分の量について、下記の表1および表2中の数値は質量%である。
インク1〜インク17を、それぞれ、ピエゾ型インクジェットノズルを備えたインクジェット記録ヘッドを有するシングルパスのインクジェット記録装置に装填した。インク供給系は、インクタンク、インク流路、インクジェット記録ヘッド直前のサブインクタンク、フィルター付き配管、ピエゾヘッドからなり、インクジェットヘッドの温度は80℃に設定した。
インク1〜インク17のそれぞれのインクを、1滴の液滴量が3.0plとなる吐出条件で、液滴速度約6m/sで射出させて、1200dpi×1200dpiの解像度で記録した。画像形成は、23℃、55%RHの環境下で行った。記録媒体としてPODグロスコート(王子製紙社製)を用い、上記の記録装置および画像形成条件で画像を形成した。形成した画像について、日本電色PG−1Mハンディ型光沢計PG−IIを用い、20°光沢、60°光沢を測定し、20°光沢/60°光沢の比を算出した。光沢比を以下のように評価した。
◎ 0.8以上
○ 0.6以上0.8未満
△ 0.3以上0.6未満
× 0.3未満
なお、○以上を合格とした。
記録媒体として蒸着紙(アルブライトFXF190、平和紙業社製)を用い、上記の記録装置および画像形成条件で、インク1〜インク17のそれぞれのインクにより、9g/m2の付量で画像を形成した。画像形成後、「JIS規格 K5701−16.2.3 耐摩擦性試験」に記載された方法に準じて、2cm2となる大きさに切り取った印刷用コート紙(OK金藤 米坪量104.7g/m2 王子製紙社製)を載せて、800gの荷重をかけて擦り合わせた後に、印刷用コート紙への色移りの程度を目視し、さらに画像の表面をさわって以下のように評価した。
◎ 色移りがなく、表面のべたつきもない。
○ わずかに色移りがあるが、表面のべたつきはない。
△ わずかに色移りがあり、やや表面のべたつきがある。
× 色移りがあり、さらに表面のべたつきがある。
なお、△以上を合格とした。
110 記録媒体
120 搬送路
130 中間転写体
140 中間画像形成部
140Y インクジェットヘッド
140C インクジェットヘッド
140M インクジェットヘッド
140K インクジェットヘッド
150 転写部
160 支持ローラ
161 支持ローラ
162 支持ローラ
170 照射部
180 クリーニング部
Claims (5)
- 前記一般式(1)で表される化合物を、前記活性線硬化型インクジェットインクの全質量に対して20質量%以上含む、請求項1に記載の活性線硬化型インクジェットインク。
- 前記エチレンオキサイド(EO)変性部位を有する3官能以上の(メタ)アクリレート、または、前記プロピレンオキサイド(PO)変性部位を有する3官能以上の(メタ)アクリレートを、前記活性線硬化型インクジェットインクの全質量に対して30質量%以上含む、請求項1または2に記載の活性線硬化型インクジェットインク。
- 前記白色顔料は酸化チタンである、請求項1〜3のいずれか一項に記載の活性線硬化型インクジェットインク。
- 請求項1〜4のいずれか1項に記載の活性線硬化型インクジェットインクの液滴をインクジェットヘッドのノズルから吐出して、記録媒体の表面に着弾させる工程と、
前記着弾した液滴に活性線を照射して、前記液滴を硬化させる工程と、
を有する、画像形成方法。
Priority Applications (1)
| Application Number | Priority Date | Filing Date | Title |
|---|---|---|---|
| JP2019107091A JP7310330B2 (ja) | 2019-06-07 | 2019-06-07 | 活性線硬化型インクジェットインク、および画像形成方法 |
Applications Claiming Priority (1)
| Application Number | Priority Date | Filing Date | Title |
|---|---|---|---|
| JP2019107091A JP7310330B2 (ja) | 2019-06-07 | 2019-06-07 | 活性線硬化型インクジェットインク、および画像形成方法 |
Publications (2)
| Publication Number | Publication Date |
|---|---|
| JP2020200375A true JP2020200375A (ja) | 2020-12-17 |
| JP7310330B2 JP7310330B2 (ja) | 2023-07-19 |
Family
ID=73743816
Family Applications (1)
| Application Number | Title | Priority Date | Filing Date |
|---|---|---|---|
| JP2019107091A Active JP7310330B2 (ja) | 2019-06-07 | 2019-06-07 | 活性線硬化型インクジェットインク、および画像形成方法 |
Country Status (1)
| Country | Link |
|---|---|
| JP (1) | JP7310330B2 (ja) |
Citations (3)
| Publication number | Priority date | Publication date | Assignee | Title |
|---|---|---|---|---|
| JP2013091788A (ja) * | 2012-10-10 | 2013-05-16 | Nippon Shokubai Co Ltd | インクジェット用硬化性組成物 |
| WO2018051732A1 (ja) * | 2016-09-15 | 2018-03-22 | Jnc株式会社 | インク組成物およびこれを用いた有機電界発光素子 |
| JP2018131535A (ja) * | 2017-02-15 | 2018-08-23 | ゼネラル株式会社 | 光硬化性インクジェットインク |
-
2019
- 2019-06-07 JP JP2019107091A patent/JP7310330B2/ja active Active
Patent Citations (3)
| Publication number | Priority date | Publication date | Assignee | Title |
|---|---|---|---|---|
| JP2013091788A (ja) * | 2012-10-10 | 2013-05-16 | Nippon Shokubai Co Ltd | インクジェット用硬化性組成物 |
| WO2018051732A1 (ja) * | 2016-09-15 | 2018-03-22 | Jnc株式会社 | インク組成物およびこれを用いた有機電界発光素子 |
| JP2018131535A (ja) * | 2017-02-15 | 2018-08-23 | ゼネラル株式会社 | 光硬化性インクジェットインク |
Also Published As
| Publication number | Publication date |
|---|---|
| JP7310330B2 (ja) | 2023-07-19 |
Similar Documents
| Publication | Publication Date | Title |
|---|---|---|
| KR102291737B1 (ko) | 치수 변화 제어 및 저 경화 에너지를 위한 고차분지된 잉크 조성물 | |
| JP5880244B2 (ja) | 画像形成方法 | |
| KR20170075931A (ko) | 밀착성이 우수한 철강 소재용 잉크조성물, 이를 이용한 프린트 강판 제조 방법 및 이에 따라 제조된 프린트 강판 | |
| JP6950257B2 (ja) | 活性光線硬化型インクジェットインク | |
| US11879065B2 (en) | Actinic radiation curable ink and image forming method | |
| JP6015274B2 (ja) | 活性エネルギー線硬化性インク、材料セット、インクカートリッジ、インクジェット記録方法、及びインクジェット記録装置 | |
| JP2019130715A (ja) | 画像形成方法および画像形成装置 | |
| JP6479326B2 (ja) | 光硬化性インクジェットインク及び画像形成方法 | |
| JP2020200375A (ja) | 活性線硬化型インクジェットインク、および画像形成方法 | |
| JP2020139109A (ja) | インクジェット用の紫外線硬化型インクおよび画像形成方法 | |
| JP2021004307A (ja) | 活性線硬化型インクジェットインク、および画像形成方法 | |
| JP2021075012A (ja) | 中間転写体、当該中間転写体を用いる画像形成方法および画像形成装置 | |
| JP6991705B2 (ja) | 画像 | |
| JP2020023135A (ja) | 転写体、インクジェット画像形成装置、及びインクジェット画像形成方法 | |
| JP6365272B2 (ja) | 画像形成方法 | |
| WO2022085183A1 (ja) | 記録方法及び印刷物の作製方法 | |
| JP2022075173A (ja) | 活性線硬化型インク、画像形成方法および印刷物 | |
| JP7452327B2 (ja) | 画像形成方法および画像形成装置 | |
| JP7247677B2 (ja) | インクジェット用の紫外線硬化型インクおよび画像形成方法 | |
| JP2021030558A (ja) | 画像形成方法および画像形成装置 | |
| JP7095406B2 (ja) | インクジェット記録方法及び基材とインクのセット | |
| JP2019112593A (ja) | 活性光線硬化型インクジェットインクの製造方法および画像形成方法 | |
| US20210079249A1 (en) | Precoat liquid, image forming method using the precoat liquid, and image forming apparatus using the precoat liquid | |
| JPWO2016088703A1 (ja) | プライマー、インクセットおよび画像形成方法 | |
| JP2025041294A (ja) | インクジェットインクおよび画像形成方法 |
Legal Events
| Date | Code | Title | Description |
|---|---|---|---|
| A621 | Written request for application examination |
Free format text: JAPANESE INTERMEDIATE CODE: A621 Effective date: 20220517 |
|
| A977 | Report on retrieval |
Free format text: JAPANESE INTERMEDIATE CODE: A971007 Effective date: 20221221 |
|
| A131 | Notification of reasons for refusal |
Free format text: JAPANESE INTERMEDIATE CODE: A131 Effective date: 20230117 |
|
| A521 | Request for written amendment filed |
Free format text: JAPANESE INTERMEDIATE CODE: A523 Effective date: 20230309 |
|
| TRDD | Decision of grant or rejection written | ||
| A01 | Written decision to grant a patent or to grant a registration (utility model) |
Free format text: JAPANESE INTERMEDIATE CODE: A01 Effective date: 20230606 |
|
| A61 | First payment of annual fees (during grant procedure) |
Free format text: JAPANESE INTERMEDIATE CODE: A61 Effective date: 20230619 |
|
| R150 | Certificate of patent or registration of utility model |
Ref document number: 7310330 Country of ref document: JP Free format text: JAPANESE INTERMEDIATE CODE: R150 |
