JP2017501034A - 測定プローブの針を洗浄するための装置 - Google Patents

測定プローブの針を洗浄するための装置 Download PDF

Info

Publication number
JP2017501034A
JP2017501034A JP2016552398A JP2016552398A JP2017501034A JP 2017501034 A JP2017501034 A JP 2017501034A JP 2016552398 A JP2016552398 A JP 2016552398A JP 2016552398 A JP2016552398 A JP 2016552398A JP 2017501034 A JP2017501034 A JP 2017501034A
Authority
JP
Japan
Prior art keywords
cleaning
needle
cleaning chamber
chamber
needles
Prior art date
Legal status (The legal status is an assumption and is not a legal conclusion. Google has not performed a legal analysis and makes no representation as to the accuracy of the status listed.)
Granted
Application number
JP2016552398A
Other languages
English (en)
Other versions
JP6505731B2 (ja
JP2017501034A5 (ja
Inventor
スホプマン,ヘルハルドゥス・ヘンドリクス・アルベルトゥス
Current Assignee (The listed assignees may be inaccurate. Google has not performed a legal analysis and makes no representation or warranty as to the accuracy of the list.)
FGJ Lammertink Beheer BV
Original Assignee
FGJ Lammertink Beheer BV
Priority date (The priority date is an assumption and is not a legal conclusion. Google has not performed a legal analysis and makes no representation as to the accuracy of the date listed.)
Filing date
Publication date
Application filed by FGJ Lammertink Beheer BV filed Critical FGJ Lammertink Beheer BV
Publication of JP2017501034A publication Critical patent/JP2017501034A/ja
Publication of JP2017501034A5 publication Critical patent/JP2017501034A5/ja
Application granted granted Critical
Publication of JP6505731B2 publication Critical patent/JP6505731B2/ja
Active legal-status Critical Current
Anticipated expiration legal-status Critical

Links

Images

Classifications

    • BPERFORMING OPERATIONS; TRANSPORTING
    • B08CLEANING
    • B08BCLEANING IN GENERAL; PREVENTION OF FOULING IN GENERAL
    • B08B3/00Cleaning by methods involving the use or presence of liquid or steam
    • B08B3/02Cleaning by the force of jets or sprays
    • GPHYSICS
    • G01MEASURING; TESTING
    • G01BMEASURING LENGTH, THICKNESS OR SIMILAR LINEAR DIMENSIONS; MEASURING ANGLES; MEASURING AREAS; MEASURING IRREGULARITIES OF SURFACES OR CONTOURS
    • G01B5/00Measuring arrangements characterised by the use of mechanical techniques
    • G01B5/004Measuring arrangements characterised by the use of mechanical techniques for measuring coordinates of points
    • G01B5/008Measuring arrangements characterised by the use of mechanical techniques for measuring coordinates of points using coordinate measuring machines
    • BPERFORMING OPERATIONS; TRANSPORTING
    • B08CLEANING
    • B08BCLEANING IN GENERAL; PREVENTION OF FOULING IN GENERAL
    • B08B3/00Cleaning by methods involving the use or presence of liquid or steam
    • B08B3/02Cleaning by the force of jets or sprays
    • B08B3/022Cleaning travelling work
    • BPERFORMING OPERATIONS; TRANSPORTING
    • B08CLEANING
    • B08BCLEANING IN GENERAL; PREVENTION OF FOULING IN GENERAL
    • B08B3/00Cleaning by methods involving the use or presence of liquid or steam
    • B08B3/02Cleaning by the force of jets or sprays
    • B08B3/024Cleaning by means of spray elements moving over the surface to be cleaned
    • BPERFORMING OPERATIONS; TRANSPORTING
    • B08CLEANING
    • B08BCLEANING IN GENERAL; PREVENTION OF FOULING IN GENERAL
    • B08B5/00Cleaning by methods involving the use of air flow or gas flow
    • B08B5/02Cleaning by the force of jets, e.g. blowing-out cavities
    • BPERFORMING OPERATIONS; TRANSPORTING
    • B08CLEANING
    • B08BCLEANING IN GENERAL; PREVENTION OF FOULING IN GENERAL
    • B08B5/00Cleaning by methods involving the use of air flow or gas flow
    • B08B5/02Cleaning by the force of jets, e.g. blowing-out cavities
    • B08B5/023Cleaning travelling work
    • GPHYSICS
    • G01MEASURING; TESTING
    • G01BMEASURING LENGTH, THICKNESS OR SIMILAR LINEAR DIMENSIONS; MEASURING ANGLES; MEASURING AREAS; MEASURING IRREGULARITIES OF SURFACES OR CONTOURS
    • G01B21/00Measuring arrangements or details thereof, where the measuring technique is not covered by the other groups of this subclass, unspecified or not relevant
    • G01B21/02Measuring arrangements or details thereof, where the measuring technique is not covered by the other groups of this subclass, unspecified or not relevant for measuring length, width, or thickness
    • G01B21/04Measuring arrangements or details thereof, where the measuring technique is not covered by the other groups of this subclass, unspecified or not relevant for measuring length, width, or thickness by measuring coordinates of points
    • G01B21/047Accessories, e.g. for positioning, for tool-setting, for measuring probes
    • GPHYSICS
    • G01MEASURING; TESTING
    • G01BMEASURING LENGTH, THICKNESS OR SIMILAR LINEAR DIMENSIONS; MEASURING ANGLES; MEASURING AREAS; MEASURING IRREGULARITIES OF SURFACES OR CONTOURS
    • G01B5/00Measuring arrangements characterised by the use of mechanical techniques
    • G01B5/004Measuring arrangements characterised by the use of mechanical techniques for measuring coordinates of points
    • G01B5/008Measuring arrangements characterised by the use of mechanical techniques for measuring coordinates of points using coordinate measuring machines
    • G01B5/012Contact-making feeler heads therefor
    • GPHYSICS
    • G01MEASURING; TESTING
    • G01NINVESTIGATING OR ANALYSING MATERIALS BY DETERMINING THEIR CHEMICAL OR PHYSICAL PROPERTIES
    • G01N35/00Automatic analysis not limited to methods or materials provided for in any single one of groups G01N1/00 - G01N33/00; Handling materials therefor
    • G01N35/10Devices for transferring samples or any liquids to, in, or from, the analysis apparatus, e.g. suction devices, injection devices
    • G01N35/1004Cleaning sample transfer devices

Landscapes

  • Physics & Mathematics (AREA)
  • General Physics & Mathematics (AREA)
  • A Measuring Device Byusing Mechanical Method (AREA)
  • Cleaning In General (AREA)
  • Length Measuring Devices With Unspecified Measuring Means (AREA)

Abstract

本発明は、測定プローブ(2)の針(1)を洗浄するための装置に関し、上記装置は、洗浄処理中に上記針(1)を収容するための洗浄チャンバ(4)を備え、上記洗浄チャンバ(4)は、上記針(1)を上記洗浄チャンバ(4)に導入し、かつ上記洗浄チャンバ(4)から取出すための開口部(5)を備え、さらに、上記針(1)を洗浄しかつ/または乾燥させるために、洗浄剤、たとえば洗浄液もしくはエアロゾル、および/または乾燥剤、たとえば空気を上記洗浄チャンバ(4)に供給するための供給手段(7)を備える。本発明はさらに、そのような装置と測定機とのアセンブリに関する。

Description

本発明は、測定プローブの針を洗浄するための装置に関する。
測定対象について測定機が用いられる。該測定機は、針を有する測定プローブを備える。測定装置は、任意の種類の測定装置、たとえば3D測定装置であり得る。特に上記測定装置は、加工機の器具を測定するための加工機の一部であり得る。測定プローブの針が汚染された場合、たとえばほこりまたは他の粒子がそれに付着した場合、測定が正確に行われない場合がある。
本発明の目的は、測定プローブの針を洗浄するための装置を提供することである。特に、本発明の目的は、測定処理中に上記針を洗浄するための装置を提供することである。
この目的は、序文に係る装置によって実現され、上記装置は、洗浄処理中に上記針を収容するための洗浄チャンバを備え、上記洗浄チャンバは、上記針を上記洗浄チャンバに導入しかつ上記洗浄チャンバから取出すための開口部を含み、さらに、上記針を洗浄しかつ/または乾燥させるために、洗浄剤、たとえば洗浄液もしくはエアロゾル、および/または乾燥剤、たとえば空気を上記洗浄チャンバに供給するための供給手段を備える。
本発明に係る上記装置は、上記針が上記開口部を介して導入され得る洗浄チャンバを設ける。上記洗浄チャンバに上記針を導入した後、好ましくは第1に、上記針を洗浄するために洗浄剤が上記洗浄チャンバに供給され、好ましくは第2に、上記針を乾燥させるために乾燥剤が上記洗浄チャンバに供給される。上記針を洗浄しかつ/または乾燥させた後で、上記開口部を介して上記洗浄チャンバから針を取出してもよく、測定処理が継続されるかまたは開始されてもよい。
本発明に係る装置の一実施形態において、上記供給手段は、上記洗浄剤および/または上記乾燥剤を上記洗浄チャンバに供給するために上記洗浄チャンバに注ぐ少なくとも1つの供給開口部またはノズルを含む。
供給開口部またはノズルの利点は、上記洗浄剤および/または上記乾燥剤が針の方向に噴霧されるかまたは吹き付けられ得ることである。
本発明に係る装置の好ましい実施形態において、上記供給手段は、少なくとも3つの上記供給開口部またはノズルを含む。
複数の供給開口部またはノズル、特に3つ以上の供給開口部またはノズルの利点は、上記針の外面全体が洗浄されかつ/または乾燥され得るように、上記洗浄剤および/または上記乾燥剤が洗浄チャンバ内の異なる場所から上記針の方向に噴霧されるかまたは吹き付けられ得るということである。なお、針が複数の方向から噴霧されるかまたは吹き付けられるように、上記供給手段は、任意の数の供給開口部またはノズル、たとえば3個、4個、5個、6個、7個、8個、9個、10個、またはさらに多くの供給開口部またはノズルを備え得る。
好ましくは、上記供給開口部またはノズルは、実質的な等しい角距離で離間され、上記洗浄剤および/または上記乾燥剤を共通の場所に供給するように配置され、上記針は、洗浄および/または乾燥中には上記共通の場所に位置し得る。
針は非常に繊細な測定器具である。洗浄剤および/または乾燥剤を針に供給することにより、上記洗浄剤および/または上記乾燥剤によって影響された正しくない測定データを針に表示させる場合があり、該測定データはしたがって、針の洗浄前後で測定されている対象について表していない。上記針が上記共通の場所に保持され、上記等しく離間された供給開口部またはノズルから上記洗浄剤および/または上記乾燥剤を受取ると、上記針が洗浄剤および/または乾燥剤によって影響されることがないように、かつ正しくない測定データを示さないように、洗浄剤および/または乾燥剤の異なる流れが共通の場所において互いに打消し合うかまたは平衡状態となる。本発明に係る装置のそのような実施形態は、測定処理に影響を及ぼすことがないため、針の洗浄中に測定処理が停止される必要がないという利点を有する。
上記複数の供給開口部またはノズルは、上記洗浄チャンバの長手方向に見て同じ高さまたは位置に配置されることが好ましい。
本発明に係る装置の別の実施形態において、上記ノズルの上記供給開口部または排出開口部は、4mmの最大直径、好ましくは1mmの最大直径、より好ましくは0.5mmの最大直径、さらに好ましくはおよそ0.2mmの直径を有する。
上記ノズルの、そのように比較的小さな供給開口部または排出開口部は、洗浄剤および/または乾燥剤が針の方向に比較的高圧で噴霧されるかまたは吹き付けられるという利点をもたらす。
なお、上記ノズルの供給開口部または排出開口部の直径は、上記最大範囲内にある任意の寸法を有し得る。
本発明に係る装置のさらに別の実施形態において、上記装置は本体を備え、上記本体は、上記洗浄チャンバを取囲み、それによって上記本体と上記洗浄チャンバとの間に空間を規定し、上記本体は、上記洗浄剤および/または上記乾燥剤を上記空間に供給するための入口開口部を含み、上記供給開口部またはノズルは、上記空間を上記チャンバの内空間に接続する。
そのような配置では、供給開口部またはノズルの数とは無関係に、入口開口部を1つだけ設ければよい。洗浄剤および/または乾燥剤の圧力は、これによりすべての供給開口部またはノズルについて等しい。特に、等しく離間された供給開口部またはノズルを備える実施形態と組合わせると、これは、洗浄および/または乾燥中に針に影響を及ぼさないという効果を支持し得る。
本発明に係る装置のさらに別の実施形態において、上記装置は、好ましくは上記測定プローブの複数の針の形状に従って、異なる位置に配置された複数の上記洗浄チャンバを備え、各チャンバは、上記複数の針のうち1つの上記針を上記洗浄チャンバに導入し、かつ上記洗浄チャンバから取出すための上記開口部を含む。
上記複数の針のうちそれぞれの針を上記洗浄チャンバに導入し、かつ上記洗浄チャンバから取出すための上記開口部を各々が含む複数の洗浄チャンバを設けることによって、たとえば複雑な形状に配置された複数の針を有するプローブを洗浄することが可能である。
上記複数の洗浄チャンバは、1つの本体および複数の本体に設けられ得る。複数の本体の本体は、たとえば上記測定プローブの複数の針の形状に従って、異なる位置および/または角度に配置され得る。
本発明に係る装置のさらに別の実施形態において、針を外端に保持するペン状体を収容するための、上記洗浄チャンバから延在する少なくとも1つの凹部が設けられる。
本発明に係る装置のさらに別の実施形態において、上記は、上記針または上記複数の針を導入し、かつ取出すために上記開口部または上記複数の開口部を閉鎖するための手段を備える。
針または複数の針が上記洗浄チャンバに存在しない時、上記開口部は好ましくは閉鎖され得る。装置のこの実施形態は、上記針または複数の針が加工機の一部である測定機の一部である場合に特に有利である。処理中に、削りくず、ほこりなどの(ごみ)粒子が形成され得、他の場合には上記洗浄チャンバの上記開口部に入り込み得るが、上記閉鎖手段によって開口部に入り込むことが妨げられる。
本発明に係る装置のさらに別の実施形態において、上記装置は、上記洗浄剤および/または上記乾燥剤の圧力を調整するための圧力調整器と、特に、洗浄剤粒子のエアロゾルを空気中で生成するために上記洗浄剤を投入するための投入システムと、上記圧力調整器および/または上記投入システムおよび/または上記供給手段を制御するための制御ユニットとのうち少なくとも1つを備える。
実際には、上記制御ユニットは、上記洗浄チャンバに上記洗浄剤および/または上記乾燥剤を供給するための期間と、上記圧力調整器の圧力と、洗浄剤および/または乾燥剤の供給される量とのうち少なくとも1つを設定するように配置される。
本発明に係る装置のさらに別の実施形態において、上記装置は、上記針または上記複数の針の存在を検出するための検出器を備え、上記制御ユニットは、上記針または上記複数の針の存在の検出に従って、上記圧力調整器および/または上記投入システムおよび/または上記供給手段を制御するように配置される。
そのような実施形態において、洗浄剤および/または乾燥剤が浪費されないように、上記針または複数の針の存在を検出した後でのみ洗浄および/または乾燥が行われ得る。
本発明に係る装置のさらに別の実施形態において、上記圧力調整器は、上記圧力が0.5バール〜6バールの間、たとえば2〜4バールの間、たとえば2.5バール〜3バールの間であるように上記圧力を調節する。
本発明は、請求項1〜13のうちいずれか1項に係る装置と測定機とのアセンブリにも関する。
測定機は、任意の種類の測定装置、たとえば3D測定装置であり得る。特に、上記測定装置は、加工機の測定器具のための加工機の一部であり得る。特に、上記測定機は、針または複数の針を含む測定プローブを含む。
本発明に係るアセンブリの一実施形態において、上記アセンブリは、上記洗浄チャンバおよび上記針または複数の針を互いに関して変位させるための手段を備える。
針または複数の針は、上記洗浄チャンバへの挿入および上記洗浄チャンバからの取出しのため、かつ/または洗浄中に特定の方向に前後に上記針もしくは複数の針を特定の方向に前後に変位させるように変位され得る。代替的に、上記洗浄チャンバが同じ理由で変位されてもよい。別の実施形態において、上記洗浄チャンバは、上記針または複数の針の形状または寸法に従って変位され得る。
測定処理中に洗浄が行われ得、上記測定処理が影響されることも停止される必要もないように、上記針または複数の針が洗浄中に影響されないことが好ましい。代替的に、上記測定機は、上記針または複数の針の洗浄中に測定データの測定または記録を一時的に停止するように配置される。
本発明はさらに、請求項14、15または16に記載のアセンブリに関し、好ましくは上記測定プローブの複数の針の形状に従って異なる位置に配置された複数の上記洗浄チャンバを備え、各チャンバは、上記複数の針のうち1つの上記針を上記洗浄チャンバに導入し、かつ上記洗浄チャンバから取出すための上記開口部を含む。
本発明は、図面に例示される図を参照してより詳細に説明される。
本発明に係る装置の第1の実施形態および針を示す斜視図である。 本発明に係る装置の第1の実施形態および針を示す縦断面図である。 本発明に係る装置の第1の実施形態および針を示す、供給開口部の高さにおける斜視図である。 図1の装置に洗浄剤および/または乾燥剤を供給するフローチャートである。 閉鎖手段を備える本発明に係る装置の第2の実施形態の斜視図であり、第1の閉位置にある閉鎖手段を示す図である。 閉鎖手段を備える本発明に係る装置の第2の実施形態の斜視図であり、第2の開位置にある閉鎖手段を示す図である。 本発明に係る装置の第3の実施形態の斜視図である。 本発明に係る装置の第4の実施形態および複数の針の斜視図である。 本発明に係る装置の第5の実施形態の斜視図であり、組立てられた装置を示す図である。 本発明に係る装置の第5の実施形態の斜視図であり、組立てられた装置を示す図である。 本発明に係る装置の第5の実施形態の斜視図であり、本体および洗浄チャンバを示す図である。 本発明に係る装置の第5の実施形態の斜視図であり、本体および洗浄チャンバを示す図である。 本発明に係る装置の第6の実施形態の斜視図である。 本発明に係る装置の第7の実施形態の斜視図である。 本発明に係る装置の第8の実施形態の斜視図である。
図において、同じ要素は同じ参照符号によって示される。
図1A〜図1Cは、測定機(図示せず)の測定プローブ2の針1を洗浄するための装置を示す。上記装置は、洗浄処理中に上記針1を収容するための洗浄チャンバ4を有する本体3を含む。洗浄チャンバ4は、上記針1を上記洗浄チャンバ3に導入し、かつ上記洗浄チャンバ3から取出すための開口部5を備える。
本体3と洗浄チャンバ4との間には空間6が規定される。上記空間6に洗浄剤および/または乾燥剤を供給するための入口開口部7が上記空間6に接続される。上記洗浄剤は、洗浄液、洗浄ガス、または、洗浄液の小滴がガス、たとえば空気に含まれている洗浄エアロゾルなどの任意の好適な洗浄剤であり得る。上記乾燥剤は、任意の好適な乾燥剤、たとえば乾燥ガス、特に空気であり得る。上記洗浄チャンバ4に洗浄剤および/または乾燥剤を供給するために、8個の上記供給開口部8が上記空間6を上記洗浄チャンバ4の内空間に接続する。8個の供給開口部8は、実質的な等しい角距離aで離間される。aは8個の供給開口部8では45°であり、上記洗浄剤および/または上記乾燥剤を共通の場所9に供給するように配置される。共通の場所9には、洗浄および/または乾燥中に上記針1が位置し得る。図1A〜図1Cの装置の洗浄チャンバ4は円筒状である。洗浄剤および/または乾燥剤を径方向に供給するように供給開口部8が配置されるように、供給開口部8は上記円筒壁に接線的に配置され、上記針1は、供給開口部8の高さにおいて洗浄チャンバ4の中央に保持される。出願人は、8個の等しく分散された供給開口部8が径方向に噴霧するかまたは吹付け、針1が中央に保持された構成では、上記洗浄剤および/または乾燥剤によって針1が影響されず、測定処理が洗浄中に停止される必要がないことを見出した。
任意に、洗浄および/または乾燥中に、針1のすべての部分を洗浄剤および/または乾燥剤に露出させるために、上記針1が方向10に前後移動され得る。代替的に、上記洗浄チャンバ4が方向10に前後移動されてもよい。方向10は、洗浄チャンバ4の長手方向と平行である。
図1Bに示されるように、供給開口部8の直径は洗浄チャンバ4の方向に減少し、それによって洗浄剤および/または乾燥剤の圧力および/または速度が増大する。洗浄チャンバ8の入口における供給開口部8の直径は、図1A〜図1Bの例では0.2mmであり、これは、針1に影響を及ぼすことなく洗浄剤および/または乾燥剤を針1に向けるために好適な圧力および/または速度をもたらすことが判明している。なお、任意の好適な直径が選択され得る。
図1Aに示されるように、上記装置は上記針1の存在を検出するための検出器11を備える。上記針1を検出すると、洗浄処理が始められ得る。
本体3および検出器11は両方ともベース12に装着される。ベース12は、テーブルまたは他の支持物上に水平に配置されてもよいし、支持物に垂直に取付けられてもよい。
図2は、上記洗浄剤および/または上記乾燥剤を図1の装置に供給するフローチャートを示す。ガス、たとえば空気は、ガスの圧力を調整するための圧力調整器21に管20などを介して提供される。ガスの圧力は、たとえば0.5バール〜6バールの間、たとえば2〜4バールの間、たとえば2.5バール〜3バールの間に設定される。圧力下でのガスが次いで流量調節計23に供給され、流量調節計23は、管24などに、または管26などにガスを向ける。管24は、ディスペンサ25に接続する。ディスペンサ25において、洗浄液粒子が上記ガスに含まれるように、洗浄剤が上記ガスに投入される。洗浄液粒子を含む上記ガスは、次いで空間6に、かつそれによって管27および管28を介して洗浄チャンバに供給される。管26は、ガスが上記乾燥剤として空間6および洗浄チャンバ4に供給され得るように、管28に直接接続する。上記圧力調整器21と、ディスペンサ25に投入される液体の量と、針1を洗浄するためにまずディスペンサ25を介して、次いで洗浄後に針1を乾燥させるために直接管26および28を介して、空間6にガスを提供するための期間を制御するための流量調節計23とを制御するための制御ユニットが設けられる。たとえば、まず針1は数秒間洗浄され、次いで針1は数秒間乾燥される。上記期間は好適に選択されてもよく、これに限定されない。
図3Aおよび図3Bは、本発明に係る装置の第2の実施形態の斜視図である。第2の実施形態に係る上記装置は、バルブ30が開口部5を閉鎖する図3Aに示されるような第1の閉位置と、バルブ30が開口部5を閉鎖しない図3Bに示されるような第2の開位置との間で変位可能な閉鎖バルブ30を装置が備える点でのみ第1の実施形態に係る装置とは異なる。バルブ30は、開口部5を閉鎖し、それによって外部の環境から洗浄チャンバ4を保護するため、特に、開口部5を介してその中に入り込むほこりおよび他の粒子から洗浄チャンバ4を保護するためにその第1の位置に常に保持されてもよく、針1を洗浄するために針1が洗浄チャンバ4に導入され得るように開口部5を解放するためにその第2の位置に一時的に変位されてもよい。洗浄後、バルブ30はその第1の位置に戻される。
図3Aおよび図3Bに示されるバルブ30は、第1の位置と第2の位置との間で回転する。任意の好適なやり方で、たとえばバルブを並進して変位させることによって、バルブが変位され得ることは当業者にとって明らかであろう。バルブの代わりに、任意の好適な閉鎖手段が設けられ得る。上記閉鎖手段またはバルブ30と上記開口部5との間に任意にシーリングが設けられ得る。
なお、図1A〜図1Cに示されるような装置の第1の実施形態に対する図3Aおよび図3Bに示されるような装置の第2の実施形態の相違点のみがここで説明される。図3Aおよび図3Bに係る装置のさらなる説明について、図1A〜図1Cの説明を参照する。
図4は、本発明に係る装置の第3の実施形態の斜視図である。第3の実施形態に係る上記装置は、洗浄チャンバ4および開口部5が丸形断面の代わりに六角形の断面を有する点でのみ第1の実施形態に係る装置とは異なる。合計6つの供給開口部が設けられる(図示せず)ように、洗浄チャンバ4の6つの壁セクションの各々に供給開口部が配置される。供給開口部は、好ましくは、洗浄チャンバ4の長手方向に同じ高さに、つまり開口部5から同じ長手距離に配置され、好ましくは、供給開口部が等しい角距離αで離間されるように、洗浄チャンバ4および壁セクションの横断方向に見た各壁セクションの中央に各々が配置されることが好ましく、αは60°である。供給開口部は、上記洗浄剤および/または上記乾燥剤を共通の場所に供給するように配置される。共通の場所は、開口部5および洗浄チャンバ4の中心長手軸である。
なお、六角形の断面の代わりに、好適な各多角形断面が選択されてもよい。供給開口部は、各壁セクションに、または壁セクションの一部に設けられてもよい。
さらに、図1A〜図1Cに示される装置の第1の実施形態に対する図4に示される装置の第3の実施形態の相違点のみをここで説明する。図4に係る装置のさらなる説明については、図1A〜図1Cの説明を参照する。
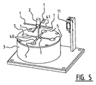
図5は、本発明に係る装置の第4の実施形態の斜視図である。第4の実施形態に係る上記装置は、異なる種類の測定プローブ2の5本の針1を受取るために5つの開口部5を備える点でのみ第1の実施形態に係る装置とは異なる。開口部5は針1の形状に従って1つの本体3の上側面に配置され、凹部40を介して相互に接続され、ペン状要素41によって外端に保持される5本の針1が好ましくは同時に針1を洗浄するためにそれぞれの洗浄チャンバ4に同時に導入され得る。各開口部5は、洗浄チャンバ4への入り口を提供し、各洗浄チャンバ4は、洗浄剤および/または乾燥剤を供給するための1つ以上の供給開口部を備え得る。複数の供給開口部が各洗浄チャンバ4に設けられる場合、各洗浄チャンバ4の供給開口部は等しい角距離で離間され得、洗浄剤および/または乾燥剤を径方向に供給するために接線的に配置され得る。
なお、たとえば測定プローブ2の針1の形状に従って、開口部5を有する任意の好適な数の洗浄チャンバ4が設けられ得る。
さらに、1つの本体4に設けられる複数の洗浄チャンバ4は、凹部40を介して相互に接続され、したがって1つの洗浄チャンバ4とも見なされ得る。
さらに、図1A〜図1Cに示される装置の第1の実施形態に対する図5に示される装置の第4の実施形態の相違点のみをここで説明する。図5に係る装置のさらなる説明については、図1A〜図1Cの説明を参照する。
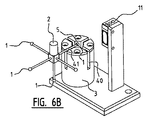
図6A〜図6Dは、本発明に係る装置の第5の実施形態の斜視図である。第5の実施形態に係る上記装置は、本体3の上側面の中央開口部5から本体3の外側の円筒状の周縁に延在する4つの凹部40が設けられる点で第1の実施形態に係る装置と異なる。開口部5は、1回につき測定プローブ2の5本の針1のうちの1本を受取るために1つの中央洗浄チャンバ4への入り口を提供する。中央の下側の針1が本体3の上側面の開口部5に導入される場合、他の4本の針1は、4つの周方向の凹部40を介して本体3の外方に延在する。凹部40は、それらの外端(図6A参照)において針1を保持するプローブ2のペン状要素41を収容する。同じ平面内に配置される他の4本の針1の各々は、針1を有するプローブ2を回転させる必要なしに、それぞれの凹部40を介して開口部5に導入され得る(図6B参照)。
図6Cおよび図6Dは、分解された状態で本体3および洗浄チャンバ4を構成する2つの要素を示す。図6Dは、外周の一部上で凹部40を取囲む密封体50を各凹部40が備えることを示す。密封体50は、図6Aの組立てられた状態において本体3の内壁および直立の環状突起51に対して配置されることによって、図6Cおよび図6Dに示される空間6を封止する。
なお、図1A〜図1Cに示される装置の第1の実施形態に対する図6A〜図6Dに示される装置の第5の実施形態の相違点のみをここで説明する。図6A〜図6Dに係る装置のさらなる説明については、図1A〜図1Cの説明を参照する。
図7は、本発明に係る装置の第6の実施形態の斜視図である。第6の実施形態に係る上記装置は、各々が洗浄チャンバ4および開口部5を備える5つの本体3を備える点で第1の実施形態に係る装置とは異なる。図7の実施形態は、図5および図6のプローブ2の針1を洗浄するのにも好適である。中央の下側の針1が、中央に配置された本体3の洗浄チャンバ4に導入される。図1A〜図1Cに示されたものと同じ、洗浄チャンバ4を有する本体3である。同じ平面内に配置される他の4本の針1は、図5および図6に示されるペン状要素41を収容するために開口部5および凹部40を介して中央に配置された本体3の周りに位置するそれぞれの本体3のそれぞれの洗浄チャンバ4に導入される。各々が凹部40を備える本体3は、図6A〜図6Dに示される本体3と大体同様であるが、凹部40が1つしか備えていないという相違点を有する。本体3のさらなる説明については、図6A〜図6Dの説明を参照する。本体3は、各凹部30が針1の形状に従って中央に配置された本体3に向けられるように配置される。
なお、図1A〜図1Cに示される装置の第1の実施形態に対する図7に示される装置の第6の実施形態の相違点のみをここで説明する。図7に係る装置のさらなる説明については、図1A〜図1Cの説明を参照する。
図8は、本発明に係る装置の第7の実施形態の斜視図である。第7の実施形態に係る上記装置は、4つの外側本体3および中央に配置された本体3の各々間の距離が調整可能であるように、中央に配置された本体3に関して4つの外側本体3が変位可能である点で第6の実施形態に係る装置とは異なる。4つの外側本体3は案内レール60上に配置され、その長さに沿って変位可能である。4つの外側本体3および中央に配置された本体3の各々間の距離を調整することによって、針1を有する特定のプローブ2の寸法に装置を適合させることが可能である。
なお、図7に示された装置の第6の実施形態に対する図8に示される装置の第7の実施形態の相違点のみをここで説明する。図8に係る装置のさらなる説明については、図7の説明を参照する。
図9は、本発明に係る装置の第8の実施形態の斜視図である。第8の実施形態に係る上記装置は、各々が洗浄チャンバ4および開口部5を有する2つの本体3を備える点で第1の実施形態に係る装置とは異なる。本体3は、図1A〜図1Cに示されるものと各々同様である。第1の本体3および検出器11がベース12a上に配置される。該構成は、図1Aに示される構成と大体同様である。第2の本体3はベース12b上に配置され、ベース12bは、取付け手段70によって90°の角度でベース12aに取付けられている。図5および図6の針1を有するプローブ2は、1つの平面のみにおいて針1を回転させることによって図9に係る装置で洗浄され得る。下側の中央針1は、ベース12aまたは12b上に位置する本体3の洗浄チャンバ4内で洗浄され得、他の4本の針1は他方のベース12bまたは12a上に位置する本体3の洗浄チャンバ4内で洗浄され得る。
なお、図1A〜図1Cに示される装置の第1の実施形態に対する図9に示される装置の第8の実施形態の相違点のみをここで説明する。図9に係る装置のさらなる説明については、図1A〜図1Cの説明を参照する。
本発明は図面に示される変形に制限されず、添付の請求の範囲内にある他の好ましい実施形態も対象とする。

Claims (17)

  1. 測定プローブの針を洗浄するための測定プローブ針洗浄装置であって、前記装置は、
    洗浄処理中に前記針を収容するための洗浄チャンバを備え、前記洗浄チャンバは、前記針を前記洗浄チャンバに導入しかつ前記洗浄チャンバから取出すための開口部を含み、さらに、
    前記針を洗浄しかつ/または乾燥させるために、洗浄剤、たとえば洗浄液もしくはエアロゾル、および/または乾燥剤、たとえば空気を前記洗浄チャンバに供給するための供給手段を備える、装置。
  2. 前記供給手段は、前記洗浄剤および/または前記乾燥剤を前記洗浄チャンバに供給するために前記洗浄チャンバに注ぐ少なくとも1つの供給開口部またはノズルを含む、請求項1に記載の装置。
  3. 前記供給手段は、少なくとも3つの前記供給開口部またはノズルを含む、請求項2に記載の装置。
  4. 前記供給開口部またはノズルは、実質的な等しい角距離で離間され、前記洗浄剤および/または前記乾燥剤を共通の場所に供給するように配置され、前記針は、洗浄および/または乾燥中には前記共通の場所に位置し得る、請求項3に記載の装置。
  5. 前記ノズルの前記供給開口部または排出開口部は、4mmの最大直径、好ましくは1mmの最大直径、より好ましくは0.5mmの最大直径、さらに好ましくはおよそ0.2mmの直径を有する、先行する請求項2から4のうちいずれか1項に係る装置。
  6. 本体を備え、前記本体は、前記洗浄チャンバを取囲み、それによって前記本体と前記洗浄チャンバとの間に空間を規定し、前記本体は、前記洗浄剤および/または前記乾燥剤を前記空間に供給するための入口開口部を含み、前記供給開口部またはノズルは、前記空間を前記チャンバの内空間に接続する、先行する請求項2から5のうちいずれか1項に係る装置。
  7. 好ましくは前記測定プローブの複数の針の形状に従って、異なる位置に配置された複数の前記洗浄チャンバを備え、各チャンバは、前記複数の針のうち1つの前記針を前記洗浄チャンバに導入し、かつ前記洗浄チャンバから取出すための前記開口部を含む、先行する請求項のうちいずれか1項に係る装置。
  8. 針を外端に保持するペン状体を収容するための、前記洗浄チャンバから延在する少なくとも1つの凹部を備える、先行する請求項のうちいずれか1項に係る装置。
  9. 前記針または前記複数の針を導入し、かつ取出すために前記開口部または前記複数の開口部を閉鎖するための手段を備える、先行する請求項のうちいずれか1項に係る装置。
  10. 前記洗浄剤および/または前記乾燥剤の圧力を調整するための圧力調整器と、
    特に、洗浄剤粒子のエアロゾルを空気中で生成するために前記洗浄剤を投入するための投入システムと、
    前記圧力調整器および/または前記投入システムおよび/または前記供給手段を制御するための制御ユニットとのうち少なくとも1つを備える、先行する請求項のうちいずれか1項に係る装置。
  11. 前記制御ユニットは、
    前記洗浄チャンバに前記洗浄剤および/または前記乾燥剤を供給するための期間と、
    前記圧力調整器の圧力と、
    洗浄剤および/または乾燥剤の供給される量と、のうち少なくとも1つを設定するように配置される、請求項10に記載の装置。
  12. 前記針または前記複数の針の存在を検出するための検出器を備え、前記制御ユニットは、前記針または前記複数の針の存在の検出に従って、前記圧力調整器および/または前記投入システムおよび/または前記供給手段を制御するように配置される、請求項10または11に記載の装置。
  13. 前記圧力調整器は、前記圧力が0.5バール〜6バールの間、たとえば2〜4バールの間、たとえば2.5バール〜3バールの間であるように前記圧力を調節する、請求項10、11または12に記載の装置。
  14. 先行する請求項1〜13のうちいずれか1項に係る測定プローブ針洗浄装置と測定機とのアセンブリであって、前記測定機は、針または複数の針を含む測定プローブを含む、アセンブリ。
  15. 前記洗浄チャンバおよび前記針または複数の針を互いに関して変位させるための手段を備える、請求項14に記載のアセンブリ。
  16. 前記測定機は、前記針または複数の針の洗浄中に測定データの測定または記録を一時的に停止するように配置される、請求項14または15に記載のアセンブリ。
  17. 好ましくは前記測定プローブの複数の針の形状に従って異なる位置に配置された複数の前記洗浄チャンバを備え、各チャンバは、前記複数の針のうち1つの前記針を前記洗浄チャンバに導入し、かつ前記洗浄チャンバから取出すための前記開口部を含む、請求項14、15または16に記載のアセンブリ。
JP2016552398A 2013-10-31 2014-10-29 測定プローブの針を洗浄するための装置 Active JP6505731B2 (ja)

Applications Claiming Priority (3)

Application Number Priority Date Filing Date Title
NL2011710 2013-10-31
NL2011710A NL2011710C2 (en) 2013-10-31 2013-10-31 Device for cleaning a stylus of a measuring probe.
PCT/NL2014/050749 WO2015065183A1 (en) 2013-10-31 2014-10-29 Device for cleaning a stylus of a measuring probe

Publications (3)

Publication Number Publication Date
JP2017501034A true JP2017501034A (ja) 2017-01-12
JP2017501034A5 JP2017501034A5 (ja) 2017-09-28
JP6505731B2 JP6505731B2 (ja) 2019-04-24

Family

ID=50031466

Family Applications (1)

Application Number Title Priority Date Filing Date
JP2016552398A Active JP6505731B2 (ja) 2013-10-31 2014-10-29 測定プローブの針を洗浄するための装置

Country Status (10)

Country Link
US (1) US10232411B2 (ja)
EP (1) EP3062938B1 (ja)
JP (1) JP6505731B2 (ja)
CN (2) CN105792950B (ja)
BR (1) BR112016009520B1 (ja)
ES (1) ES2935195T3 (ja)
MX (1) MX2016005435A (ja)
NL (1) NL2011710C2 (ja)
PL (1) PL3062938T3 (ja)
WO (1) WO2015065183A1 (ja)

Families Citing this family (15)

* Cited by examiner, † Cited by third party
Publication number Priority date Publication date Assignee Title
CN108700610B (zh) * 2016-02-24 2022-09-27 株式会社日立高新技术 自动分析装置及清洗方法
GB2550549B (en) 2016-05-09 2019-05-08 Markes International Ltd A sampling apparatus
GB2550548A (en) * 2016-05-09 2017-11-29 Markes International Ltd A sampling apparatus
WO2017197025A1 (en) 2016-05-11 2017-11-16 Siemens Healthcare Diagnostics Inc. Probe wash station for analytical instrumentation
CN107030061B (zh) * 2017-04-06 2019-07-23 武汉华星光电技术有限公司 探针清洗装置及探针清洗方法
CN108931415B (zh) * 2017-05-23 2021-02-19 北京诚智光辉科技有限公司 带有清洗机构的细胞制片染色一体机
CN108508061A (zh) * 2018-03-09 2018-09-07 上海宝钢工业技术服务有限公司 钢板在线力学性能检测系统及方法
CN109622482B (zh) * 2018-11-13 2021-10-01 迪瑞医疗科技股份有限公司 生化分析仪的探针清洗槽、生化分析仪及探针清洗方法
DE102019212768B3 (de) * 2019-08-26 2020-11-05 Carl Zeiss Industrielle Messtechnik Gmbh Tasterreinigung bei Koordinatenmessgeräten
AU2021265270A1 (en) * 2020-05-01 2022-11-03 Agilent Technologies, Inc. Pipette tip washing devices and methods
CN114472252B (zh) * 2020-11-28 2023-03-24 法特迪精密科技(苏州)有限公司 测试探针清洁方法的探针固定方法
CN113061835A (zh) * 2021-03-24 2021-07-02 鑫光热处理工业(昆山)有限公司 一种热处理炉内氮势监控装置
CN112845230B (zh) * 2021-04-23 2022-02-08 南京摆渡人网络信息技术有限公司 一种农业大棚监控装置
CN113189165B (zh) * 2021-06-03 2024-03-01 南京普来森仪器有限公司 一种利用电化学原理测量铝酸钠成分的装置
CN118491916B (zh) * 2024-07-19 2024-09-17 泰州市成兴环境检测技术有限公司 一种土壤检测仪辅助清洁装置及其使用方法

Citations (13)

* Cited by examiner, † Cited by third party
Publication number Priority date Publication date Assignee Title
JPS62242858A (ja) * 1986-04-15 1987-10-23 Nippon Tectron Co Ltd プロ−ブの洗浄装置
JPH04323824A (ja) * 1991-04-23 1992-11-13 Tokyo Electron Ltd 処理装置
JPH0843009A (ja) * 1994-07-27 1996-02-16 Ishikawajima Harima Heavy Ind Co Ltd 構造物の3次元計測装置
JP2003181388A (ja) * 2001-10-09 2003-07-02 Asahi Denka Kogyo Kk 洗浄装置、該装置を使用した洗浄方法
JP2004325117A (ja) * 2003-04-22 2004-11-18 Olympus Corp 液体分注装置および分注ヘッドの洗浄方法
JP2005012197A (ja) * 2003-05-26 2005-01-13 Sumitomo Heavy Ind Ltd エアロゾル洗浄方法及び装置
JP2006090945A (ja) * 2004-09-27 2006-04-06 Olympus Corp 形状測定機
JP2007078435A (ja) * 2005-09-13 2007-03-29 Canon Inc 形状測定方法および形状測定装置
JP2009042067A (ja) * 2007-08-09 2009-02-26 Hitachi High-Technologies Corp 自動分析装置
JP2010133727A (ja) * 2008-12-02 2010-06-17 Beckman Coulter Inc 洗浄機構、洗浄方法及び分析装置
US20110283847A1 (en) * 2008-12-10 2011-11-24 Leo Schreiber Diameter Measurement in Turning Machines
JP2013511721A (ja) * 2009-11-20 2013-04-04 シーメンス・ヘルスケア・ダイアグノスティックス・インコーポレイテッド 臨床用分析器試料プローブのすすぎ・乾燥に適応させた装置、システム及び方法
JP2013134142A (ja) * 2011-12-26 2013-07-08 Hitachi High-Technologies Corp 自動分析装置

Family Cites Families (15)

* Cited by examiner, † Cited by third party
Publication number Priority date Publication date Assignee Title
JPS55140155A (en) * 1979-04-19 1980-11-01 Olympus Optical Co Ltd Distribution device
US5603342A (en) * 1995-06-29 1997-02-18 Coulter Corporation Apparatus for cleaning a fluid sample probe
DE19610607A1 (de) * 1996-03-18 1997-09-25 Boehringer Mannheim Gmbh Vorrichtung zur Reinigung von Pipettiernadeln oder Rührern
KR20080095310A (ko) * 2001-11-02 2008-10-28 어플라이드 머티어리얼스, 인코포레이티드 미세 전자 소자의 세정 방법
DE10207499A1 (de) * 2002-02-22 2003-09-25 Evotec Ag Verfahren zum Reinigen von Fluidabgabeeinrichtungen und Reinigungsvorrichtung
JP2005241442A (ja) * 2004-02-26 2005-09-08 Olympus Corp 洗浄装置、洗浄装置を用いた分析装置及び洗浄方法
CN2796866Y (zh) * 2005-06-17 2006-07-19 张礼明 一种压力式汽雾清洗装置
US20080099057A1 (en) * 2006-10-27 2008-05-01 Dade Behring Inc. Method and Device for Cleaning a Liquid Aspiration and Dispense Probe
WO2009111343A1 (en) * 2008-02-29 2009-09-11 Beckman Coulter, Inc. Apparatus and method for cleaning a liquid handling probe
WO2011053756A1 (en) * 2009-10-30 2011-05-05 Douglas Machine Inc. Apparatus and methods for cleaning reagent dispensing tips of a screening unit
JP5686744B2 (ja) * 2010-01-13 2015-03-18 株式会社日立ハイテクノロジーズ 自動分析装置
WO2011093347A1 (ja) * 2010-01-29 2011-08-04 株式会社日立ハイテクノロジーズ 自動分析装置
CN202366900U (zh) * 2011-12-16 2012-08-08 长春迪瑞医疗科技股份有限公司 全自动尿液分析仪清洗池
CN202527417U (zh) * 2012-03-22 2012-11-14 北京京东方光电科技有限公司 一种非接触式清洗装置
CN202700869U (zh) * 2012-06-30 2013-01-30 长春迪瑞医疗科技股份有限公司 探针清洗机构

Patent Citations (13)

* Cited by examiner, † Cited by third party
Publication number Priority date Publication date Assignee Title
JPS62242858A (ja) * 1986-04-15 1987-10-23 Nippon Tectron Co Ltd プロ−ブの洗浄装置
JPH04323824A (ja) * 1991-04-23 1992-11-13 Tokyo Electron Ltd 処理装置
JPH0843009A (ja) * 1994-07-27 1996-02-16 Ishikawajima Harima Heavy Ind Co Ltd 構造物の3次元計測装置
JP2003181388A (ja) * 2001-10-09 2003-07-02 Asahi Denka Kogyo Kk 洗浄装置、該装置を使用した洗浄方法
JP2004325117A (ja) * 2003-04-22 2004-11-18 Olympus Corp 液体分注装置および分注ヘッドの洗浄方法
JP2005012197A (ja) * 2003-05-26 2005-01-13 Sumitomo Heavy Ind Ltd エアロゾル洗浄方法及び装置
JP2006090945A (ja) * 2004-09-27 2006-04-06 Olympus Corp 形状測定機
JP2007078435A (ja) * 2005-09-13 2007-03-29 Canon Inc 形状測定方法および形状測定装置
JP2009042067A (ja) * 2007-08-09 2009-02-26 Hitachi High-Technologies Corp 自動分析装置
JP2010133727A (ja) * 2008-12-02 2010-06-17 Beckman Coulter Inc 洗浄機構、洗浄方法及び分析装置
US20110283847A1 (en) * 2008-12-10 2011-11-24 Leo Schreiber Diameter Measurement in Turning Machines
JP2013511721A (ja) * 2009-11-20 2013-04-04 シーメンス・ヘルスケア・ダイアグノスティックス・インコーポレイテッド 臨床用分析器試料プローブのすすぎ・乾燥に適応させた装置、システム及び方法
JP2013134142A (ja) * 2011-12-26 2013-07-08 Hitachi High-Technologies Corp 自動分析装置

Also Published As

Publication number Publication date
CN109092770A (zh) 2018-12-28
JP6505731B2 (ja) 2019-04-24
PL3062938T3 (pl) 2023-02-20
EP3062938A1 (en) 2016-09-07
NL2011710C2 (en) 2015-05-04
US10232411B2 (en) 2019-03-19
BR112016009520B1 (pt) 2021-05-18
WO2015065183A1 (en) 2015-05-07
MX2016005435A (es) 2016-09-07
US20160263626A1 (en) 2016-09-15
EP3062938B1 (en) 2022-12-07
CN105792950A (zh) 2016-07-20
ES2935195T3 (es) 2023-03-02
CN105792950B (zh) 2019-05-21

Similar Documents

Publication Publication Date Title
JP6505731B2 (ja) 測定プローブの針を洗浄するための装置
US8671872B2 (en) Production coater with exchangeable drums
CN104428658B (zh) 一种用于喷洒着色渗透检验产品到部件的装置
JP6236342B2 (ja) 管状器具洗浄用ホルダ及び管状器具洗浄用ホルダを洗浄槽内に収容した洗浄装置
US20120312341A1 (en) Apparatus for monitoring the rotation of the spraying arms of a multi-rack trolley of a cleaning machine
ES2717189T3 (es) Supervisión de sistema de eyección de líquido
JP2013255493A (ja) たばこ加工産業のストランド製造機械で製造されたストランドおよび/またはストランド部分を測定するための測定モジュールおよび測定装置と、このような測定モジュールもしくは測定装置を備えたストランド製造機械
JP6391408B2 (ja) 粉粒体処理装置用サンプリング装置
CN105268709B (zh) 用于具有封盖的药剂容器的抓握装置和清洁装置
JP2014518742A (ja) 滅菌工程または洗浄工程を検査するための検査試料保持デバイス
JP5792928B2 (ja) 工具洗浄方法および装置
RU2681061C2 (ru) Крепежное устройство для эндоскопического контрольного устройства и способ его применения
CN105880050A (zh) 狭缝喷嘴
KR101244223B1 (ko) 약품 공급장치
CN103284324B (zh) 非接触旋转式圆柱形制品直径测量装置的除、防尘装置
IT201600078037A1 (it) Macchina per il riempimento di flaconi, cartucce, siringhe e simili
TWI546240B (zh) Electronic component sorting device
JP5196182B2 (ja) 洗浄機のノズル狙い位置調整装置およびその方法
JP6786974B2 (ja) 液体試料容器保持機構
CN104330540A (zh) 一种水质监测系统
JP2008516206A (ja) ドライヤおよびドライヤを制御する方法
KR101642050B1 (ko) 용접부 내식성 시험장치
CN104179058B (zh) 扫描架除雾装置
KR20210030004A (ko) 실리카겔 공급장치 및 이를 포함한 병마개 제조장치
CN209362529U (zh) 原子吸收分光光度计的试验存放盘

Legal Events

Date Code Title Description
A521 Request for written amendment filed

Free format text: JAPANESE INTERMEDIATE CODE: A523

Effective date: 20170814

A621 Written request for application examination

Free format text: JAPANESE INTERMEDIATE CODE: A621

Effective date: 20170814

A977 Report on retrieval

Free format text: JAPANESE INTERMEDIATE CODE: A971007

Effective date: 20180516

A131 Notification of reasons for refusal

Free format text: JAPANESE INTERMEDIATE CODE: A131

Effective date: 20180605

A521 Request for written amendment filed

Free format text: JAPANESE INTERMEDIATE CODE: A523

Effective date: 20180905

TRDD Decision of grant or rejection written
A01 Written decision to grant a patent or to grant a registration (utility model)

Free format text: JAPANESE INTERMEDIATE CODE: A01

Effective date: 20190305

A61 First payment of annual fees (during grant procedure)

Free format text: JAPANESE INTERMEDIATE CODE: A61

Effective date: 20190327

R150 Certificate of patent or registration of utility model

Ref document number: 6505731

Country of ref document: JP

Free format text: JAPANESE INTERMEDIATE CODE: R150

R250 Receipt of annual fees

Free format text: JAPANESE INTERMEDIATE CODE: R250

R250 Receipt of annual fees

Free format text: JAPANESE INTERMEDIATE CODE: R250

R250 Receipt of annual fees

Free format text: JAPANESE INTERMEDIATE CODE: R250

R250 Receipt of annual fees

Free format text: JAPANESE INTERMEDIATE CODE: R250