JP2017013169A - 搬送ロボット - Google Patents

搬送ロボット Download PDF

Info

Publication number
JP2017013169A
JP2017013169A JP2015131428A JP2015131428A JP2017013169A JP 2017013169 A JP2017013169 A JP 2017013169A JP 2015131428 A JP2015131428 A JP 2015131428A JP 2015131428 A JP2015131428 A JP 2015131428A JP 2017013169 A JP2017013169 A JP 2017013169A
Authority
JP
Japan
Prior art keywords
holding member
connection device
robot
workpiece holding
workpiece
Prior art date
Legal status (The legal status is an assumption and is not a legal conclusion. Google has not performed a legal analysis and makes no representation as to the accuracy of the status listed.)
Pending
Application number
JP2015131428A
Other languages
English (en)
Inventor
部 雅 幸 掃
Masayuki Kamon
部 雅 幸 掃
Current Assignee (The listed assignees may be inaccurate. Google has not performed a legal analysis and makes no representation or warranty as to the accuracy of the list.)
Kawasaki Heavy Industries Ltd
Original Assignee
Kawasaki Heavy Industries Ltd
Priority date (The priority date is an assumption and is not a legal conclusion. Google has not performed a legal analysis and makes no representation as to the accuracy of the date listed.)
Filing date
Publication date
Application filed by Kawasaki Heavy Industries Ltd filed Critical Kawasaki Heavy Industries Ltd
Priority to JP2015131428A priority Critical patent/JP2017013169A/ja
Publication of JP2017013169A publication Critical patent/JP2017013169A/ja
Pending legal-status Critical Current

Links

Images

Landscapes

  • Manipulator (AREA)

Abstract

【課題】人とロボットとの協調作業において、ロボットの複雑な制御を必要とせずに、その安全性を確保できる搬送ロボットを提供すること。
【解決手段】搬送ロボット1は、ワーク保持部材8をロボットアーム3に接続する接続装置6であって、その本体部に関してワーク保持部材8を傾動可能に支持する支持手段を有する、接続装置6と、接続装置6の本体部に関してワーク保持部材8を所定姿勢に維持する姿勢維持装置12と、接続装置6の本体部に関してワーク保持部材8が傾動したことを検出する検出手段17と、接続装置6の本体部に関してワーク保持部材8が傾動したことを検出手段17によって検出した場合にロボットアーム3に安全動作を行わせるロボット制御装置4と、を備える。
【選択図】図1

Description

本発明は、ロボットアームを動作させてワークを搬送するための搬送ロボットに関する。
近年、人とロボットとの協調作業を想定したロボットの開発が積極的に進められており、ロボットとの協調作業に際して人の安全を確保するために様々な方策が検討されている。
そのような方策の一つとして、ロボットに人が接近したことをセンサで検知して、その検知結果に基づいてロボットの動作を制御する技術が提案されている(特許文献1)。
また、ロボットアームの表面にセンサを取り付けて、人や障害物がロボットアーム表面に接近したことをセンサで検知したら、ロボットの動作を停止させる技術が提案されている(特許文献2)。
特開2008−302496号公報 特表2013−545625号公報
しかしながら、人の接近をセンサで検知する方式の従来の技術は、誤検出を防ぐためにセンサを適切な位置に配置する必要があり、また、検出信号に基づいてロボットアームの各軸の剛性を弱める複雑な制御(コンプライアンス制御)が必要となるという問題がある。
また、ワークの搬送作業を行う搬送ロボットにおいては、人との接触が懸念される部位はロボットアームのみではなく、ロボットで搬送中のワークとの接触にも対応する必要がある。
しかしながら、ロボットアームの表面にセンサを設ける従来の技術では、ロボットで搬送中のワークと人との接触を検知することができないという問題があった。
本発明は、上述した従来の技術の問題点に鑑みてなされたものであって、人とロボットとの協調作業において、ロボットの複雑な制御を必要とせずに、その安全性を確保することができる搬送ロボットを提供することを目的とする。
上記課題を解決するために、本発明の第1の態様は、ワークを搬送するための搬送ロボットであって、ロボットアームと、前記ワークを保持するためのワーク保持部材と、前記ワーク保持部材を前記ロボットアームに接続するための接続装置であって、前記接続装置の本体部に関して前記ワーク保持部材を傾動可能に支持するための支持手段を有する、接続装置と、前記接続装置の前記本体部に関して前記ワーク保持部材を所定の姿勢に維持するための姿勢維持装置と、前記接続装置の前記本体部に関して前記ワーク保持部材が傾動したことを検出するための検出手段と、前記ロボットアームを制御するためのロボット制御装置であって、前記接続装置の前記本体部に関して前記ワーク保持部材が傾動したことを前記検出手段によって検出した場合に前記ロボットアームに安全動作を行わせる、ロボット制御装置と、を備えたことを特徴とする。
本発明の第2の態様は、第1の態様において、前記接続装置の前記支持手段は、前記本体部から突出し、前記ワーク保持部材に先端が固定された軸部と、前記本体部に対して前記軸部を傾動可能に支持するための軸部支持部と、を有する、ことを特徴とする。
本発明の第3の態様は、第2の態様において、前記接続装置は、前記軸部を解放可能に固定して傾動不能とするためのロック機構を有する、ことを特徴とする。
本発明の第4の態様は、第3の態様において、人の接近を検出するための人感センサをさらに有し、前記ロボット制御装置は、前記人感センサからの人の接近に関する検出信号に基づいて、前記接続装置の前記ロック機構をロック状態から非ロック状態に切り替える、ことを特徴とする。
本発明の第5の態様は、第1乃至第4のいずれかの態様において、前記姿勢維持手段は、前記ワーク保持部材または前記ワーク保持部材に取り付けられた他の部材を押圧して前記ワーク保持部材を前記所定の姿勢に維持するための押圧手段を有する、ことを特徴とする。
本発明の第6の態様は、第5の態様において、前記押圧手段は、重力の作用によって傾動しようとする前記ワーク保持部材を支持して前記所定の姿勢に維持するように構成されている、ことを特徴とする。
本発明の第7の態様は、第5または第6の態様において、前記押圧手段は、押圧用シリンダ部材を有し、前記押圧用シリンダ部材は、前記ワーク保持部材または前記ワーク保持部材に取り付けられた他の部材に先端が当接されるピストン部と、前記ピストン部を駆動するためのシリンダ本体部と、を有する、ことを特徴とする。
本発明の第8の態様は、第1乃至第7のいずれかの態様において、前記検出手段は、前記接続装置の近傍に設けられた検出用シリンダ部材を有し、前記検出用シリンダ部材は、前記ワーク保持部材または前記ワーク保持部材に取り付けられた他の部材に先端が当接されるピストン部と、前記ピストン部を駆動するためのシリンダ本体部と、前記シリンダ本体部に関する前記ピストン部の位置を検出するための位置検出センサと、を有する、ことを特徴とする。
本発明の第9の態様は、第8の態様において、前記検出用シリンダ部材は、前記ワーク保持部材の傾動動作の方向に関わらず前記傾動動作を検出するために、前記接続装置の周囲に複数設けられている、ことを特徴とする。
本発明の第10の態様は、第1乃至第9のいずれかの態様において、前記ロボットアームの先端に設けられたフローティングユニットをさらに有し、前記接続装置は、前記フローティングユニットを介して前記ロボットアームに装着されており、前記フローティングユニットは、少なくとも、前記ロボットアームに関する前記接続装置の水平方向への移動を可能とする、ことを特徴とする。
本発明の第11の態様は、第10の態様において、前記フローティングユニットは、前記ロボットアームに関する前記接続装置の水平方向への移動を可能にすると共に、前記接続装置を上方に向けて弾発的に支持して前記接続装置の上下方向への移動を可能とする、ことを特徴とする。
上記特徴を備えた本発明によれば、人とロボットとの協調作業において、ロボットの複雑な制御を必要とせずに、その安全性を確保することができる搬送ロボットを提供することができる。
本発明の一実施形態による搬送ロボットの概略構成を示した図。 図1に示した搬送ロボットの主要部の概略構成を拡大して示した側面図。 図2に示した搬送ロボットの主要部の正面図。 図1に示した搬送ロボットの接続装置の動作を説明するための図。 図1に示した搬送ロボットの接続装置の動作を説明するための他の図。 図1に示した搬送ロボットの接続装置の動作を説明するための他の図。 図1に示した搬送ロボットに作業員や障害物が接触した状態を説明するための図。 図1に示した搬送ロボットに作業員や障害物が接触した状態を説明するための他の図。 図1に示した搬送ロボットに作業員や障害物が接触したときの検出手段の動作を説明するための図。 図1に示した搬送ロボットに作業員や障害物が接触したときの検出手段の動作を説明するための他の図。 図1に示した搬送ロボットに作業員や障害物が接触したときの検出手段の動作を説明するための拡大図。 図1に示した搬送ロボットに作業員や障害物が接触したときの検出手段の動作を説明するための他の拡大図。 図1に示した搬送ロボットに作業員や障害物が接触してロボット制御装置により安全動作が実施されたときの状態を説明するための図。 本発明の他の実施形態による搬送ロボットの概略構成を示した図。 図14に示した搬送ロボットにおけるワーク搬送動作を説明するための図。 図14に示した搬送ロボットにおけるワーク搬送動作を説明するための他の図。 図14に示した搬送ロボットにおけるワーク搬送動作を説明するための他の図。
以下、本発明の一実施形態による搬送ロボットについて、図面を参照して説明する。本実施形態による搬送ロボット1は、人とロボットとの協調作業に際して、人の安全を確保する機能を備えたものである。
図1に示したように、本実施形態による搬送ロボット1は、ロボット基台2と、ロボット基台2に基端部が接続されたロボットアーム3と、ロボットアーム3の動作を制御するロボット制御装置4と、を備えており、これにより六軸多関節型ロボットが構成されている。
なお、本発明の適用対象となるロボットは、六軸多関節型ロボットに限られず、ロボットアームを備えた各種のロボットに本発明を適用することができる。
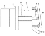
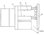
ロボットアーム3の先端(第6軸)にはベース部材5が取り付けられており、このベース部材5には、図2および図3に示したように、接続装置6の本体部7が取り付けられている。図1に示したように、接続装置6およびベース部材5を介して、ワークWを保持するためのワーク保持部材8がロボットアーム3に接続されている。
図4乃至図6に示したように、接続装置6は、本体部7と、本体部7から突出し、ワーク保持部材8に先端が固定された軸部9と、本体部7に対して軸部9を傾動可能に支持するための球状軸受(軸部支持部)10と、球状軸受10の回転動作を解放可能に固定することにより、軸部9を解放可能に固定して傾動不能とするためのロック機構11と、を有する。
球状軸受10は、接続装置6の本体部7に関してワーク保持部材8を傾動可能に支持するための支持手段を構成している。
ベース部材5には、さらに、接続装置6の本体部7に関してワーク保持部材8を所定の姿勢に解放可能に維持するための姿勢維持装置12が設けられている。姿勢維持装置12は、ワーク保持部材8を、図1に示したワーク取付け姿勢(所定の姿勢)に維持するためのものである。具体的には、ワーク取付け姿勢におけるベース部材5の前面下部に、左右一対の押圧用エアシリンダ13が取り付けられており、これら左右一対の押圧用エアエアシリンダ13から成る押圧手段が、姿勢維持手段12を構成している。
押圧用エアシリンダ13は、ワーク保持部材8の背面に取り付けられた被押圧板14に先端が当接されるピストン部15と、ピストン部15を駆動するためのシリンダ本体部16と、を有する。押圧用エアシリンダ13から成る押圧手段は、被押圧板14を押圧して、ワーク保持部材8をワーク取付け姿勢(所定の姿勢)に維持する。具体的には、押圧用エアシリンダ13から成る押圧手段は、重力の作用によって傾動しようとするワーク保持部材8を支持してワーク取付け姿勢に維持するように構成されている。
なお、本発明の姿勢維持手段を構成する押圧手段は、上述したエアシリンダに限定されるものではなく、電動シリンダや油圧シリンダでも良いし、必ずしもシリンダ部材に限定されるものでもない。
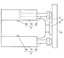
図2および図3に示したように、本実施形態による搬送ロボット1は、接続装置6の本体部7に関してワーク保持部材8が傾動したことを検出するための検出手段を有し、この検出手段は、接続装置6の周囲に設けられた4つの検出用エアシリンダ17から成る。
検出用エアシリンダ17は、ワーク保持部材8の背面に取り付けられた被押圧板14に先端が当接されるピストン部18と、ピストン部18を駆動するためのシリンダ本体部19と、シリンダ本体部19に関するピストン部18の位置を検出するための位置検出センサ20と、を有する。位置検出センサ20の検出信号は、ロボット制御装置4に伝送される。
また、図1に示したように本実施形態による搬送ロボット1は、人の接近を検出するための人感センサ21を有する。この人感センサ21は、ロボット本体に人が接近したことを検出し、その検出信号はロボット制御装置4に伝送される。
次に、本実施形態による搬送ロボットの作用について図面を参照して説明する。
図1に示したように、ワーク保持部材8がワークWを保持した状態で、ロボット制御装置4によってロボットアーム3を駆動して、ワークWを所定の位置へ搬送する。
このとき、押圧用エアシリンダ13には圧縮空気が供給されており、そのピストン部15の先端が、ワーク保持部材8の背面の被押圧板14に当接されている。これにより、重力の作用によって傾動しようとするワーク保持部材8が支持されて、図1に示したワーク取付け姿勢に維持される。ここで、押圧用エアシリンダ13による押圧力は、重力の作用により傾動方向に作用する力と、ほぼ釣り合うように設定されいる。
また、接続装置6のロック機構11はロック状態とされており、これにより、ワーク保持部材8をワーク取付け姿勢に維持するための剛性が高められている。その結果、ワーク搬送時のロボットアーム3の動作速度を増大させることができる。
また、検出用エアシリンダ17には圧縮空気が供給されており、そのピストン部18の先端が、ワーク保持部材8の背面の被押圧板14に当接されている。ここで、ワーク保持部材8の姿勢維持は押圧用エアシリンダ13によって確保されているので、4つの検出用エアシリンダ17においては、重力によるワーク保持部材の傾動方向の力が作用せず、均等の押圧力が付与されている。
そして、搬送ロボット1によるワーク搬送作業中にロボット本体に人が接近すると、人感センサ21がこれを検出して、その検出信号がロボット制御装置4に伝送される。
人感センサ21からの検出信号を受信したロボット制御装置4は、接続装置6のロック機構11を操作して、そのロック状態(図4)を非ロック状態(図5、図6)に切り替えると共に、ロボットアーム3によるワーク搬送動作の速度を低下させる(安全動作の予備動作)。
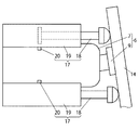
この状態においてワーク搬送動作を行っている最中に、図7に示したように人Pや障害物がワークW(またはワーク保持部材)に接触すると、図8に示したようにワーク保持部材8が傾動する。これにより、ワーク保持部材8の背面の被押圧板14は、図9に示した直立状態から、図10に示した傾斜状態へと変位する。
被押圧板14が直立状態から傾斜状態へと変位することにより、4つの検出用エアシリンダ17のうちの少なくとも1つ(本例では下段の左右2つの検出用エアシリンダ)において、そのピストン部18が押し込まれる。これにより、ピストン部18が、図11に示した突出位置から図12に示した引込み位置へと移動し、このピストン部18の変位が、シリンダ本体部19に設けた位置検出センサ20によって検出される。
なお、4つの検出用エアシリンダ17が接続装置6の周囲に等角度(90度)間隔で配置されているので、ワーク保持部材8の傾動動作の方向に関わらず、その傾動動作を確実に検出することができる。
ロボット制御装置4は、位置検出センサ20からの検出信号を受信すると、ロボットアーム3に安全動作を行わせる。この安全動作の内容は、例えば、ロボットアーム3の動作を停止させること、ロボットアーム3の動作速度を低下させること、検出信号受信時よりも前の時点における位置へロボットアーム3を移動させること、或いはこれらの動作の組み合わせである。
また、その他の安全動作として、ロボット制御装置4は、位置検出センサ20からの検出信号に応じて、押圧用エアシリンダ13を操作して、その押圧力を解除する。これにより、姿勢維持装置12によるワーク保持部材8の姿勢維持機能が無効とされ、ワーク保持部材8を接続装置6の本体部7に関して傾動可能な状態となる。また、検出用エアシリンダ17を操作して、その押圧力を解除するようにしても良い。
押圧用エアシリンダ13や検出用エアシリンダ17の押圧力を解除することにより、ワーク保持部材8をその取付け姿勢に維持するための剛性が低下するので、ワークWやワーク保持部材8に接触した人や障害物に対してロボットアーム3から作用する力を緩和することができる。
上記の通り安全動作が行われた後、当該作業現場における安全状態の確保が確認されたら、ロボット制御装置4によって押圧用エアシリンダ13および検出用エアシリンダ17を操作して、それらの押圧力を復帰させる。これにより、図13に示したように重力の作用によって傾斜していたワーク保持部材8が、押圧用エアシリンダ13のピストン部15によって押圧されて、図1に示したワーク取付け姿勢(直立状態)へと復帰される。
以上述べたように本実施形態による搬送ロボット1によれば、ワーク搬送時のワーク保持部材8の姿勢を、押圧用エアシリンダ13から成る姿勢維持装置12によって維持すると共に、検出用エアシリンダ17からなる簡単な構成を有する検出手段によってワーク保持部材8の傾動動作を検出するようにしたので、従来のようなロボットの複雑な制御を必要とせずに、人とロボットとの協調作業の安全性を確保することができる。
次に、本発明の他の実施形態による搬送ロボットについて、図14乃至図17を参照して説明する。なお、上述した実施形態と同一の部材には同一の符号を付して説明を省略する。
図14に示したように、本実施形態による搬送ロボット30は、ロボットアーム3の先端に設けられたフローティングユニット31を有する。図1に示した実施形態においては、ロボットアーム3の先端に接続装置6を直接的に取り付けるようにしたが、図14に示した本実施形態においては、接続装置6は、フローティングユニット31を介してロボットアーム3に装着されている。
フローティングユニット31は、ロボットアーム3に関する接続装置6の水平方向への移動を可能にする水平移動機構32と、接続装置6を上方に向けて弾発的に支持して接続装置6の上下方向への移動を可能とする垂直移動機構33とを有する。
垂直移動機構33は、ロボットアーム3の先端(第6軸)に取り付けられた固定部34と、この固定部34に基端部が回転自在に接続された平行リンク35と、平行リンク35の先端部に回転自在に接続された昇降可動部36と、を有する。平行リンク35は、弾発手段(図示を省略)によって、昇降可動部36を上方に移動させる方向に付勢されている。
水平移動機構32は、垂直移動機構33の昇降稼働部36に水平方向にスライド自在に設けられた水平移動部材37を有する。水平移動部材37の先端に、接続装置6が設けられたベース部材5が取り付けられている。
ワーク保持装置8、ワークW等に作用する重力により平行リンク35に加えられる下向きの力は、弾発手段による弾発力によって相殺される。
図14に示した搬送ロボット30によってワークWを所定の位置に搬送して、そこに取り付ける際には、ロボット制御装置4によってロボットアーム3を駆動して、図15に示したようにワークWをその取付け対象物Oの近傍に搬送する。
この状態から、図16に示したように、作業員が手作業にて、ワークWを取付け対象物Oに対して上下方向の位置合わせを行い、また、図17に示したように、水平方向の位置合わせを行う。このとき、ワークW等の重量は、フローティングユニット31の弾発手段によって支持されているので、作業員への負荷を大幅に軽減することができる。
このように本実施形態による搬送ロボット30は、ワーク搬送作業の最終段階において作業員による手作業が行われることを想定したものであり、作業員の安全確保が重要であるところ、上述したように、ワーク搬送時のワーク保持部材8の姿勢を姿勢維持装置12によって維持すると共に、検出用エアシリンダ17からなる簡単な構成を有する検出手段によってワーク保持部材8の傾動動作を検出するようにしたので、従来の技術のようなロボットの複雑な制御を必要とせずに、人とロボットとの協調作業の安全性を確保することができる。
1、30 搬送ロボット
2 ロボット基台
3 ロボットアーム
4 ロボット制御装置
5 ベース部材
6 接続装置
7 接続装置の本体部
8 ワーク保持部材
9 接続装置の軸部
10 接続装置の球状軸受
11 接続装置のロック機構
12 姿勢維持装置
13 押圧用エアシリンダ(押圧手段)
14 被押圧板
15 押圧用エアシリンダのピストン部
16 押圧用エアシリンダのシリンダ本体部
17 検出用エアシリンダ(検出手段)
18 検出用エアシリンダのピストン部
19 検出用エアシリンダのシリンダ本体部
20 検出用エアシリンダの位置検出センサ
21 人感センサ
31 フローティングユニット
32 フローティングユニットの水平移動機構
33 フローティングユニットの垂直移動機構
34 垂直移動機構の固定部
35 垂直移動機構の平行リンク
36 垂直移動機構の昇降稼働部
O ワークの取付け対象物
W ワーク

Claims (11)

  1. ワークを搬送するための搬送ロボットであって、
    ロボットアームと、
    前記ワークを保持するためのワーク保持部材と、
    前記ワーク保持部材を前記ロボットアームに接続するための接続装置であって、前記接続装置の本体部に関して前記ワーク保持部材を傾動可能に支持するための支持手段を有する、接続装置と、
    前記接続装置の前記本体部に関して前記ワーク保持部材を所定の姿勢に維持するための姿勢維持装置と、
    前記接続装置の前記本体部に関して前記ワーク保持部材が傾動したことを検出するための検出手段と、
    前記ロボットアームを制御するためのロボット制御装置であって、前記接続装置の前記本体部に関して前記ワーク保持部材が傾動したことを前記検出手段によって検出した場合に前記ロボットアームに安全動作を行わせる、ロボット制御装置と、を備えた搬送ロボット。
  2. 前記接続装置の前記支持手段は、前記本体部から突出し、前記ワーク保持部材に先端が固定された軸部と、前記本体部に対して前記軸部を傾動可能に支持するための軸部支持部と、を有する、請求項1記載の搬送ロボット。
  3. 前記接続装置は、前記軸部を解放可能に固定して傾動不能とするためのロック機構を有する、請求項2記載の搬送ロボット。
  4. 人の接近を検出するための人感センサをさらに有し、
    前記ロボット制御装置は、前記人感センサからの人の接近に関する検出信号に基づいて、前記接続装置の前記ロック機構をロック状態から非ロック状態に切り替える、請求項3記載の搬送ロボット。
  5. 前記姿勢維持手段は、前記ワーク保持部材または前記ワーク保持部材に取り付けられた他の部材を押圧して前記ワーク保持部材を前記所定の姿勢に維持するための押圧手段を有する、請求項1乃至4のいずれか一項に記載の搬送ロボット。
  6. 前記押圧手段は、重力の作用によって傾動しようとする前記ワーク保持部材を支持して前記所定の姿勢に維持するように構成されている、請求項5記載の搬送ロボット。
  7. 前記押圧手段は、押圧用シリンダ部材を有し、
    前記押圧用シリンダ部材は、前記ワーク保持部材または前記ワーク保持部材に取り付けられた他の部材に先端が当接されるピストン部と、前記ピストン部を駆動するためのシリンダ本体部と、を有する、請求項5または6に記載の搬送ロボット。
  8. 前記検出手段は、前記接続装置の近傍に設けられた検出用シリンダ部材を有し、
    前記検出用シリンダ部材は、前記ワーク保持部材または前記ワーク保持部材に取り付けられた他の部材に先端が当接されるピストン部と、前記ピストン部を駆動するためのシリンダ本体部と、前記シリンダ本体部に関する前記ピストン部の位置を検出するための位置検出センサと、を有する、請求項1乃至7のいずれか一項に記載の搬送ロボット。
  9. 前記検出用シリンダ部材は、前記ワーク保持部材の傾動動作の方向に関わらず前記傾動動作を検出するために、前記接続装置の周囲に複数設けられている、請求項8記載の搬送ロボット。
  10. 前記ロボットアームの先端に設けられたフローティングユニットをさらに有し、
    前記接続装置は、前記フローティングユニットを介して前記ロボットアームに装着されており、
    前記フローティングユニットは、少なくとも、前記ロボットアームに関する前記接続装置の水平方向への移動を可能とする、請求項1乃至9のいずれか一項に記載の搬送ロボット。
  11. 前記フローティングユニットは、前記ロボットアームに関する前記接続装置の水平方向への移動を可能にすると共に、前記接続装置を上方に向けて弾発的に支持して前記接続装置の上下方向への移動を可能とする、請求項10記載の搬送ロボット。
JP2015131428A 2015-06-30 2015-06-30 搬送ロボット Pending JP2017013169A (ja)

Priority Applications (1)

Application Number Priority Date Filing Date Title
JP2015131428A JP2017013169A (ja) 2015-06-30 2015-06-30 搬送ロボット

Applications Claiming Priority (1)

Application Number Priority Date Filing Date Title
JP2015131428A JP2017013169A (ja) 2015-06-30 2015-06-30 搬送ロボット

Publications (1)

Publication Number Publication Date
JP2017013169A true JP2017013169A (ja) 2017-01-19

Family

ID=57828658

Family Applications (1)

Application Number Title Priority Date Filing Date
JP2015131428A Pending JP2017013169A (ja) 2015-06-30 2015-06-30 搬送ロボット

Country Status (1)

Country Link
JP (1) JP2017013169A (ja)

Cited By (3)

* Cited by examiner, † Cited by third party
Publication number Priority date Publication date Assignee Title
JP2019042871A (ja) * 2017-09-01 2019-03-22 川崎重工業株式会社 ロボットシステム
CN119589364A (zh) * 2024-12-28 2025-03-11 安徽隆威汽车零部件有限公司 一种橡胶缓冲块压装设备
WO2025115866A1 (ja) * 2023-12-01 2025-06-05 Smc株式会社 コンプライアンスユニット

Citations (4)

* Cited by examiner, † Cited by third party
Publication number Priority date Publication date Assignee Title
JPS6071592U (ja) * 1983-10-24 1985-05-20 株式会社小松製作所 ロボツト装置
JPH0423283U (ja) * 1990-06-15 1992-02-26
JP2006142416A (ja) * 2004-11-17 2006-06-08 Honda Motor Co Ltd フローティング・ロック装置
JP2015000470A (ja) * 2013-06-18 2015-01-05 トヨタ自動車株式会社 ロボット制御装置及びロボット制御方法

Patent Citations (4)

* Cited by examiner, † Cited by third party
Publication number Priority date Publication date Assignee Title
JPS6071592U (ja) * 1983-10-24 1985-05-20 株式会社小松製作所 ロボツト装置
JPH0423283U (ja) * 1990-06-15 1992-02-26
JP2006142416A (ja) * 2004-11-17 2006-06-08 Honda Motor Co Ltd フローティング・ロック装置
JP2015000470A (ja) * 2013-06-18 2015-01-05 トヨタ自動車株式会社 ロボット制御装置及びロボット制御方法

Cited By (4)

* Cited by examiner, † Cited by third party
Publication number Priority date Publication date Assignee Title
JP2019042871A (ja) * 2017-09-01 2019-03-22 川崎重工業株式会社 ロボットシステム
JP7011910B2 (ja) 2017-09-01 2022-01-27 川崎重工業株式会社 ロボットシステム
WO2025115866A1 (ja) * 2023-12-01 2025-06-05 Smc株式会社 コンプライアンスユニット
CN119589364A (zh) * 2024-12-28 2025-03-11 安徽隆威汽车零部件有限公司 一种橡胶缓冲块压装设备

Similar Documents

Publication Publication Date Title
US10471603B2 (en) System for conveying workpiece having external force monitoring function
JP4508263B2 (ja) パワーアシスト装置およびその制御方法
JP5480246B2 (ja) 作業装置及び作業方法
CN101518901B (zh) 动力辅助设备及其控制方法
US9359176B2 (en) Movement device configured for moving a payload
JP2017013169A (ja) 搬送ロボット
JP2012056044A (ja) ロボット及びその制御方法
CN109311642A (zh) 移动式起重机
CN105082124A (zh) 一种汽车座椅骨架移载助力系统翻转抓具
JP2010241518A (ja) 荷役機械及び荷役機械の制御方法
EP2263838B1 (en) Clamp device and transfer robot
CN107428012A (zh) 机械手、机械手的控制方法、工件的安装方法以及工件的搬运方法
JP2012110992A (ja) 荷搬送アームおよび荷搬送アームを備えた荷搬送ロボット
JP6445114B2 (ja) 外力監視機能を有するワーク搬送方法システム
KR101262690B1 (ko) 다리식 이동 로봇의 제어방법
JP2012086310A (ja) 荷搬送ロボット
JP2023125580A (ja) 搬送システム
KR102248155B1 (ko) 포트홀에 대한 전복방지가 가능한 고소작업장치
JP5131113B2 (ja) 移乗装置及び移乗方法
JP2012086311A (ja) 荷搬送ロボット
JP4669801B2 (ja) 無慣性タイプの荷重取扱装置
KR100898568B1 (ko) 레일 이동 로봇 및 이를 구비하는 레일 이동 로봇 시스템
JP6357392B2 (ja) 鋼板移送装置
WO2019007448A1 (en) METHOD FOR HEAVY LOAD HANDLING AND DEVICE FOR HEAVY LOAD HANDLING
CN223813103U (zh) 取出系统

Legal Events

Date Code Title Description
A621 Written request for application examination

Free format text: JAPANESE INTERMEDIATE CODE: A621

Effective date: 20180629

A977 Report on retrieval

Free format text: JAPANESE INTERMEDIATE CODE: A971007

Effective date: 20190625

A131 Notification of reasons for refusal

Free format text: JAPANESE INTERMEDIATE CODE: A131

Effective date: 20190702

A601 Written request for extension of time

Free format text: JAPANESE INTERMEDIATE CODE: A601

Effective date: 20190902

A02 Decision of refusal

Free format text: JAPANESE INTERMEDIATE CODE: A02

Effective date: 20200106