JP2016108398A - 部材 - Google Patents

部材 Download PDF

Info

Publication number
JP2016108398A
JP2016108398A JP2014245346A JP2014245346A JP2016108398A JP 2016108398 A JP2016108398 A JP 2016108398A JP 2014245346 A JP2014245346 A JP 2014245346A JP 2014245346 A JP2014245346 A JP 2014245346A JP 2016108398 A JP2016108398 A JP 2016108398A
Authority
JP
Japan
Prior art keywords
metal
carbon fiber
composite member
heat
fiber
Prior art date
Legal status (The legal status is an assumption and is not a legal conclusion. Google has not performed a legal analysis and makes no representation as to the accuracy of the status listed.)
Granted
Application number
JP2014245346A
Other languages
English (en)
Other versions
JP6550230B2 (ja
JP2016108398A5 (ja
Inventor
信幸 神原
Nobuyuki Kamihara
信幸 神原
阿部 俊夫
Toshio Abe
俊夫 阿部
Current Assignee (The listed assignees may be inaccurate. Google has not performed a legal analysis and makes no representation or warranty as to the accuracy of the list.)
Mitsubishi Heavy Industries Ltd
Original Assignee
Mitsubishi Heavy Industries Ltd
Priority date (The priority date is an assumption and is not a legal conclusion. Google has not performed a legal analysis and makes no representation as to the accuracy of the date listed.)
Filing date
Publication date
Application filed by Mitsubishi Heavy Industries Ltd filed Critical Mitsubishi Heavy Industries Ltd
Priority to JP2014245346A priority Critical patent/JP6550230B2/ja
Priority to US15/531,606 priority patent/US20180281983A1/en
Priority to EP15864708.1A priority patent/EP3214112B1/en
Priority to PCT/JP2015/080002 priority patent/WO2016088470A1/ja
Publication of JP2016108398A publication Critical patent/JP2016108398A/ja
Publication of JP2016108398A5 publication Critical patent/JP2016108398A5/ja
Application granted granted Critical
Publication of JP6550230B2 publication Critical patent/JP6550230B2/ja
Active legal-status Critical Current
Anticipated expiration legal-status Critical

Links

Images

Classifications

    • FMECHANICAL ENGINEERING; LIGHTING; HEATING; WEAPONS; BLASTING
    • F28HEAT EXCHANGE IN GENERAL
    • F28FDETAILS OF HEAT-EXCHANGE AND HEAT-TRANSFER APPARATUS, OF GENERAL APPLICATION
    • F28F21/00Constructions of heat-exchange apparatus characterised by the selection of particular materials
    • F28F21/06Constructions of heat-exchange apparatus characterised by the selection of particular materials of plastics material
    • F28F21/067Details
    • BPERFORMING OPERATIONS; TRANSPORTING
    • B32LAYERED PRODUCTS
    • B32BLAYERED PRODUCTS, i.e. PRODUCTS BUILT-UP OF STRATA OF FLAT OR NON-FLAT, e.g. CELLULAR OR HONEYCOMB, FORM
    • B32B5/00Layered products characterised by the non- homogeneity or physical structure, i.e. comprising a fibrous, filamentary, particulate or foam layer; Layered products characterised by having a layer differing constitutionally or physically in different parts
    • B32B5/02Layered products characterised by the non- homogeneity or physical structure, i.e. comprising a fibrous, filamentary, particulate or foam layer; Layered products characterised by having a layer differing constitutionally or physically in different parts characterised by structural features of a fibrous or filamentary layer
    • B32B5/12Layered products characterised by the non- homogeneity or physical structure, i.e. comprising a fibrous, filamentary, particulate or foam layer; Layered products characterised by having a layer differing constitutionally or physically in different parts characterised by structural features of a fibrous or filamentary layer characterised by the relative arrangement of fibres or filaments of different layers, e.g. the fibres or filaments being parallel or perpendicular to each other
    • BPERFORMING OPERATIONS; TRANSPORTING
    • B32LAYERED PRODUCTS
    • B32BLAYERED PRODUCTS, i.e. PRODUCTS BUILT-UP OF STRATA OF FLAT OR NON-FLAT, e.g. CELLULAR OR HONEYCOMB, FORM
    • B32B5/00Layered products characterised by the non- homogeneity or physical structure, i.e. comprising a fibrous, filamentary, particulate or foam layer; Layered products characterised by having a layer differing constitutionally or physically in different parts
    • B32B5/22Layered products characterised by the non- homogeneity or physical structure, i.e. comprising a fibrous, filamentary, particulate or foam layer; Layered products characterised by having a layer differing constitutionally or physically in different parts characterised by the presence of two or more layers which are next to each other and are fibrous, filamentary, formed of particles or foamed
    • B32B5/24Layered products characterised by the non- homogeneity or physical structure, i.e. comprising a fibrous, filamentary, particulate or foam layer; Layered products characterised by having a layer differing constitutionally or physically in different parts characterised by the presence of two or more layers which are next to each other and are fibrous, filamentary, formed of particles or foamed one layer being a fibrous or filamentary layer
    • B32B5/26Layered products characterised by the non- homogeneity or physical structure, i.e. comprising a fibrous, filamentary, particulate or foam layer; Layered products characterised by having a layer differing constitutionally or physically in different parts characterised by the presence of two or more layers which are next to each other and are fibrous, filamentary, formed of particles or foamed one layer being a fibrous or filamentary layer another layer next to it also being fibrous or filamentary
    • BPERFORMING OPERATIONS; TRANSPORTING
    • B64AIRCRAFT; AVIATION; COSMONAUTICS
    • B64CAEROPLANES; HELICOPTERS
    • B64C1/00Fuselages; Constructional features common to fuselages, wings, stabilising surfaces or the like
    • CCHEMISTRY; METALLURGY
    • C08ORGANIC MACROMOLECULAR COMPOUNDS; THEIR PREPARATION OR CHEMICAL WORKING-UP; COMPOSITIONS BASED THEREON
    • C08JWORKING-UP; GENERAL PROCESSES OF COMPOUNDING; AFTER-TREATMENT NOT COVERED BY SUBCLASSES C08B, C08C, C08F, C08G or C08H
    • C08J5/00Manufacture of articles or shaped materials containing macromolecular substances
    • C08J5/04Reinforcing macromolecular compounds with loose or coherent fibrous material
    • C08J5/0405Reinforcing macromolecular compounds with loose or coherent fibrous material with inorganic fibres
    • C08J5/042Reinforcing macromolecular compounds with loose or coherent fibrous material with inorganic fibres with carbon fibres
    • CCHEMISTRY; METALLURGY
    • C08ORGANIC MACROMOLECULAR COMPOUNDS; THEIR PREPARATION OR CHEMICAL WORKING-UP; COMPOSITIONS BASED THEREON
    • C08JWORKING-UP; GENERAL PROCESSES OF COMPOUNDING; AFTER-TREATMENT NOT COVERED BY SUBCLASSES C08B, C08C, C08F, C08G or C08H
    • C08J5/00Manufacture of articles or shaped materials containing macromolecular substances
    • C08J5/04Reinforcing macromolecular compounds with loose or coherent fibrous material
    • C08J5/047Reinforcing macromolecular compounds with loose or coherent fibrous material with mixed fibrous material
    • CCHEMISTRY; METALLURGY
    • C08ORGANIC MACROMOLECULAR COMPOUNDS; THEIR PREPARATION OR CHEMICAL WORKING-UP; COMPOSITIONS BASED THEREON
    • C08JWORKING-UP; GENERAL PROCESSES OF COMPOUNDING; AFTER-TREATMENT NOT COVERED BY SUBCLASSES C08B, C08C, C08F, C08G or C08H
    • C08J5/00Manufacture of articles or shaped materials containing macromolecular substances
    • C08J5/04Reinforcing macromolecular compounds with loose or coherent fibrous material
    • C08J5/06Reinforcing macromolecular compounds with loose or coherent fibrous material using pretreated fibrous materials
    • CCHEMISTRY; METALLURGY
    • C09DYES; PAINTS; POLISHES; NATURAL RESINS; ADHESIVES; COMPOSITIONS NOT OTHERWISE PROVIDED FOR; APPLICATIONS OF MATERIALS NOT OTHERWISE PROVIDED FOR
    • C09KMATERIALS FOR MISCELLANEOUS APPLICATIONS, NOT PROVIDED FOR ELSEWHERE
    • C09K5/00Heat-transfer, heat-exchange or heat-storage materials, e.g. refrigerants; Materials for the production of heat or cold by chemical reactions other than by combustion
    • C09K5/08Materials not undergoing a change of physical state when used
    • C09K5/14Solid materials, e.g. powdery or granular
    • BPERFORMING OPERATIONS; TRANSPORTING
    • B32LAYERED PRODUCTS
    • B32BLAYERED PRODUCTS, i.e. PRODUCTS BUILT-UP OF STRATA OF FLAT OR NON-FLAT, e.g. CELLULAR OR HONEYCOMB, FORM
    • B32B2262/00Composition or structural features of fibres which form a fibrous or filamentary layer or are present as additives
    • B32B2262/10Inorganic fibres
    • B32B2262/106Carbon fibres, e.g. graphite fibres
    • BPERFORMING OPERATIONS; TRANSPORTING
    • B32LAYERED PRODUCTS
    • B32BLAYERED PRODUCTS, i.e. PRODUCTS BUILT-UP OF STRATA OF FLAT OR NON-FLAT, e.g. CELLULAR OR HONEYCOMB, FORM
    • B32B2605/00Vehicles
    • B32B2605/18Aircraft
    • BPERFORMING OPERATIONS; TRANSPORTING
    • B64AIRCRAFT; AVIATION; COSMONAUTICS
    • B64CAEROPLANES; HELICOPTERS
    • B64C1/00Fuselages; Constructional features common to fuselages, wings, stabilising surfaces or the like
    • B64C1/40Sound or heat insulation, e.g. using insulation blankets
    • BPERFORMING OPERATIONS; TRANSPORTING
    • B64AIRCRAFT; AVIATION; COSMONAUTICS
    • B64CAEROPLANES; HELICOPTERS
    • B64C1/00Fuselages; Constructional features common to fuselages, wings, stabilising surfaces or the like
    • B64C2001/0054Fuselage structures substantially made from particular materials
    • B64C2001/0072Fuselage structures substantially made from particular materials from composite materials
    • CCHEMISTRY; METALLURGY
    • C08ORGANIC MACROMOLECULAR COMPOUNDS; THEIR PREPARATION OR CHEMICAL WORKING-UP; COMPOSITIONS BASED THEREON
    • C08JWORKING-UP; GENERAL PROCESSES OF COMPOUNDING; AFTER-TREATMENT NOT COVERED BY SUBCLASSES C08B, C08C, C08F, C08G or C08H
    • C08J2363/00Characterised by the use of epoxy resins; Derivatives of epoxy resins
    • FMECHANICAL ENGINEERING; LIGHTING; HEATING; WEAPONS; BLASTING
    • F28HEAT EXCHANGE IN GENERAL
    • F28FDETAILS OF HEAT-EXCHANGE AND HEAT-TRANSFER APPARATUS, OF GENERAL APPLICATION
    • F28F13/00Arrangements for modifying heat-transfer, e.g. increasing, decreasing
    • F28F2013/001Particular heat conductive materials, e.g. superconductive elements
    • FMECHANICAL ENGINEERING; LIGHTING; HEATING; WEAPONS; BLASTING
    • F28HEAT EXCHANGE IN GENERAL
    • F28FDETAILS OF HEAT-EXCHANGE AND HEAT-TRANSFER APPARATUS, OF GENERAL APPLICATION
    • F28F2255/00Heat exchanger elements made of materials having special features or resulting from particular manufacturing processes
    • F28F2255/06Heat exchanger elements made of materials having special features or resulting from particular manufacturing processes composite, e.g. polymers with fillers or fibres
    • YGENERAL TAGGING OF NEW TECHNOLOGICAL DEVELOPMENTS; GENERAL TAGGING OF CROSS-SECTIONAL TECHNOLOGIES SPANNING OVER SEVERAL SECTIONS OF THE IPC; TECHNICAL SUBJECTS COVERED BY FORMER USPC CROSS-REFERENCE ART COLLECTIONS [XRACs] AND DIGESTS
    • Y02TECHNOLOGIES OR APPLICATIONS FOR MITIGATION OR ADAPTATION AGAINST CLIMATE CHANGE
    • Y02TCLIMATE CHANGE MITIGATION TECHNOLOGIES RELATED TO TRANSPORTATION
    • Y02T50/00Aeronautics or air transport
    • Y02T50/40Weight reduction

Landscapes

  • Chemical & Material Sciences (AREA)
  • Engineering & Computer Science (AREA)
  • Materials Engineering (AREA)
  • Organic Chemistry (AREA)
  • Chemical Kinetics & Catalysis (AREA)
  • Polymers & Plastics (AREA)
  • Medicinal Chemistry (AREA)
  • Health & Medical Sciences (AREA)
  • Manufacturing & Machinery (AREA)
  • Thermal Sciences (AREA)
  • Mechanical Engineering (AREA)
  • Physics & Mathematics (AREA)
  • Aviation & Aerospace Engineering (AREA)
  • Inorganic Chemistry (AREA)
  • Combustion & Propulsion (AREA)
  • General Engineering & Computer Science (AREA)
  • Moulding By Coating Moulds (AREA)
  • Laminated Bodies (AREA)
  • Reinforced Plastic Materials (AREA)

Abstract

【課題】航空機の発熱部で発生した熱を効率良く放出できる部材を提供する。【解決手段】部材は、金属コート炭素繊維及びピッチ系炭素繊維の一方又は両方を含む熱伝導性炭素繊維で強化されたプラスチックを有する第1複合部材を備え、繊維方向に関して熱伝導性炭素繊維の一端部が発熱部に配置され、熱伝導性炭素繊維の他端部が放熱部に配置される。【選択図】図2

Description

本発明は、航空機又は人工衛星などに使用される部材に関する。
航空機は、電子機器、バッテリ、及びエンジンのような発熱部を有する。発熱部で発生した熱は、熱流路材と呼ばれる部材を介して放出(排熱)される。従来、航空機の熱流路材として、金属シート又はジャンパー線が用いられている。人工衛星において使用される紙製のハニカムコアを有する熱流制御体の一例が特許文献1に開示されている。
実開平05−086799号公報
近年において、航空機の部材の材料は、金属から複合材に遷移している。また、航空機の高度化に伴い、電子機器の使用が増大している。すなわち、近年においては、発熱部の発熱量が増大しているのに対し、航空機の部材の熱伝導率は低下している。そのため、発熱部で発生した熱を効率良く放出できる技術の案出が要望される。
本発明の態様は、航空機又は人工衛星などの発熱部で発生した熱を効率良く放出できる部材を提供することを目的とする。
本発明の第1の態様に従えば、金属コート炭素繊維及びピッチ系炭素繊維の一方又は両方を含む熱伝導性炭素繊維で強化されたプラスチックを有する第1複合部材を備え、繊維方向に関して前記熱伝導性炭素繊維の一端部が発熱部に配置され、前記熱伝導性炭素繊維の他端部が放熱部に配置される部材が提供される。
本発明の第1の態様によれば、第1複合部材が金属コート炭素繊維及びピッチ系炭素繊維の一方又は両方を含む熱伝導性炭素繊維で強化された炭素繊維強化プラスチックを含み、その熱伝導性炭素繊維の一端部が発熱部に配置され、他端部が放熱部に配置される。そのため、発熱部で発生した熱は、熱伝導性炭素繊維を伝わって、効率良く放熱部に放出される。また、第1複合部材は、航空機又は人工衛星などの強度部材として使用可能である。そのため、金属シート又はジャンパー線のような専用の熱流路材を別途設けなくても、発熱部の熱を放熱部に放出することができる。そのため、重量の増大を抑制しつつ、発熱部で発生した熱が、効率良く放熱部に放出される。また、熱伝導性炭素繊維とプラスチックとは一緒に成型されるので、ロバスト性が向上する。
本発明の第2の態様に従えば、金属コート炭素繊維及びピッチ系炭素繊維の一方又は両方を含む熱伝導性炭素繊維で強化されたプラスチックを有する第1複合部材を備え、繊維方向に関して前記熱伝導性炭素繊維の中央部が発熱部に配置され、前記熱伝導性炭素繊維の一端部及び他端部が放熱部に配置される部材が提供される。
本発明の第2の態様によれば、熱伝導性炭素繊維の中央部が発熱部に配置され、一端部及び他端部が放熱部に配置されるので、発熱部で発生した熱は、熱伝導性炭素繊維を伝わって、効率良く放熱部に放出される。そのため、重量の増大を抑制しつつ、発熱部で発生した熱が、効率良く放熱部に放出される。また、熱伝導性炭素繊維とプラスチックとは一緒に成型されるので、ロバスト性が向上する。
本発明の第1の態様又は第2の態様において、前記第1複合部材は、前記繊維方向と交差する並列方向に配置された複数の前記熱伝導性炭素繊維を含むプリプレグシートを前記繊維方向及び前記並列方向と交差する積層方向に複数積層した積層体を含み、前記繊維方向に関する熱伝導率は、前記並列方向に関する熱伝導率及び前記積層方向に関する熱伝導率よりも大きくてもよい。
これにより、熱伝導率に異方性が付与されるので、発熱部で発生した熱が、並列方向及び積層方向に伝わることが抑制され、放熱部に効率良く放出される。
本発明の第1の態様及び第2の態様において、前記第1複合部材は板状部材であり、前記第1複合部材の表面及び裏面の一方又は両方に配置され、炭素繊維で強化されたプラスチックを含む第2複合部材を備え、前記熱伝導性炭素繊維の一端部及び他端部のそれぞれは露出してもよい。
これにより、第1複合部材が第2複合部材で支持され、強度が維持される。熱伝導性炭素繊維の一端部及び他端部のそれぞれは、第2複合部材で覆われずに露出するので、発熱部で発生した熱は、放熱部から効率良く放出される。
本発明の第1の態様及び第2の態様において、前記発熱部は、前記航空機の電子機器を含み、前記放熱部は、前記航空機の燃料タンクを含んでもよい。
これにより、電子機器の発熱量が増大しても、電子機器で発生した熱は、燃料タンクに効率良く放出される。
本発明の態様によれば、発熱部で発生した熱を効率良く放出できる部材が提供される。
図1は、第1実施形態に係る航空機の一例を示す図である。 図2は、第1実施形態に係る複合部材の一例を模式的に示す斜視図である。 図3は、第1実施形態に係る複合部材の製造方法の一例を模式的に示す図である。 図4は、第1実施形態に係る部材の一例を示す断面図である。 図5は、第2実施形態に係る部材の一例を示す断面図である。 図6は、第3実施形態に係る航空機の主翼の一例を示す平面図である。 図7は、第3実施形態に係るシアタイの一例を概略的に示す図である。 図8は、第3実施形態に係るシアタイの一例を示す断面図である。
以下、本発明に係る実施形態について図面を参照しながら説明するが、本発明はこれに限定されない。以下で説明する各実施形態の構成要素は、適宜組み合わせることができる。また、一部の構成要素を用いない場合もある。
<第1実施形態>
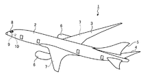
第1実施形態について説明する。図1は、本実施形態に係る航空機1の一例を示す図である。図1に示すように、航空機1は、胴体2と、主翼3と、水平尾翼4と、垂直尾翼5と、エンジン6と、燃料タンク7と、コックピット8と、電子機器9と、バッテリ10と、を備えている。
胴体2、主翼3、水平尾翼4、及び垂直尾翼5の少なくとも一部は、複合材で形成されている。複合材は、炭素繊維で強化されたプラスチックである炭素繊維強化プラスチック(carbon fiber reinforced plastic:CFRP)を含む。なお、複合材が、ガラス繊維で強化されたプラスチックであるガラス繊維強化プラスチック(glass fiber reinforced plastic:GFRP)を含んでもよい。
なお、胴体2、主翼3、水平尾翼4、及び垂直尾翼5の少なくとも一部が、アルミニウム合金(ジュラルミン)のような金属で形成されてもよい。
本実施形態において、航空機1の部材の少なくとも一部は、金属コート炭素繊維(MC)で強化されたプラスチックである金属コート炭素繊維強化プラスチックを有する。金属コート炭素繊維で強化されたプラスチックは、MC−CFRP、とも呼ばれる。金属コート炭素繊維は、熱伝導性を有する熱伝導性炭素繊維である。
図2は、本実施形態に係る金属コート炭素繊維強化プラスチックを含む複合部材11の一例を模式的に示す斜視図である。図2に示すように、複合部材11は、金属コート炭素繊維12で強化されたプラスチック13である金属コート炭素繊維強化プラスチック14を有する。金属コート炭素繊維12は、炭素繊維15と、炭素繊維15に被覆された金属16とを有する。
複合部材11は、複数の金属コート炭素繊維12を有する。金属コート炭素繊維12は、第1の方向に長い。複数の金属コート炭素繊維12が、第1の方向と直交する第2の方向に並列に並べられる。また、複数の金属コート炭素繊維12が、第1の方向及び第2の方向と直交する第3の方向に配置される。
以下の説明においては、金属コート炭素繊維12の長手方向(第1の方向)を適宜、繊維方向、と称する。また、以下の説明においては、複数の金属コート炭素繊維12が並べられる方向(第2の方向)を適宜、並列方向、と称する。また、以下の説明においては、複数の金属コート炭素繊維12が配置される方向(第3の方向)を適宜、積層方向、と称する。
複数の金属コート炭素繊維12は、並列方向及び積層方向のそれぞれに関して、間隔をあけて配置される。複数の金属コート炭素繊維12の間に、プラスチック13が配置される。本実施形態において、プラスチック13は、エポキシ樹脂を含む。
金属コート炭素繊維12の炭素繊維15の直径は、例えば、5μm以上10μm以下である。炭素繊維15の表面に金属16が被覆されている。金属16の熱伝導率は、炭素繊維15の熱伝導率よりも高い。プラスチック13の熱伝導率は、金属16の熱伝導率及び炭素繊維15の熱伝導率よりも低い。すなわち、プラスチック13の熱伝導率は、金属コート炭素繊維12の熱伝導率よりも低い。
本実施形態において、金属16は、ニッケルである。金属コート炭素繊維12は、ニッケルコート炭素繊維である。なお、金属16は、金、銀、及び銅の少なくとも一つでもよい。
図3は、本実施形態に係る複合部材11の製造方法の一例を模式的に示す図である。図3の(ステップA)に示すように、金属コート炭素繊維12が製造される。金属コート炭素繊維12は、直径が5μmから10μm程度の炭素繊維15に金属16を被覆することによって製造される。本実施形態においては、金属16として、ニッケルが被覆される。なお、金属16として、金、銀、及び銅の少なくとも一つが被覆されてもよい。
図3の(ステップB)に示すように、複数の金属コート炭素繊維12が並列方向に並べられ、エポキシ樹脂のようなブラスチック13で固められる。複数の金属コート炭素繊維12は、撚らずに、引き揃えられた状態で、プラスチック13で固められる。
並列方向は、繊維方向に配置された複数の金属コート炭素繊維12が並べられる方向である。繊維方向と並列方向とは直交する。
プラスチック13と、並列方向に配置されプラスチック13で固められた複数の金属コート炭素繊維12とを含むシート状の部材は、プリプレグシート17、と呼ばれる。
図3の(ステップC)に示すように、製造された複数のプリプレグシート17が積層方向に積層される。
積層方向は、プリプレグシート17が複数積層される方向である。積層方向は、繊維方向及び並列方向と直交する。
プリプレグシート17の積層体は、オートクレーブと呼ばれる加熱加圧装置で、高温高圧下で加熱処理される。これにより、複数のプリプレグシート17の積層体である複合部材11が製造される。
なお、本実施形態においては、複数のプリプレグシート17の金属コート炭素繊維12が全て同一方向に配置される、所謂、一方向積層であることとした。第1のプリプレグシート17の金属コート繊維12が第1の方向に配置され、第1のプリプレグシート17に重なる第2のプリプレグシート17の金属コート繊維12が第1のプリプレグシート17の第1の方向と交差する第2の方向に配置される、所謂、クロスプライ積層でもよい。
図4は、本実施形態に係る航空機1用の部材(熱流路材)20の一例を示す断面図である。本実施形態において、部材20は、複合部材11と、複合部材11に接続される複合部材21と、を含む。部材20は、胴体2、主翼3、水平尾翼4、及び垂直尾翼5の少なくとも一部に使用される。
例えば、金属コート炭素繊維12を含むプリプレグシートと、金属が被覆されていない炭素繊維を含むプリブレクシートとが積層され、その積層体がオートクレーブで加熱加圧処理されることによって、部材20が製造されてもよい。
図4に示すように、繊維方向に関して金属コート炭素繊維12の一端部12Aが航空機1の発熱部に配置される。繊維方向に関して金属コート炭素繊維12の他端部12Bが航空機1の放熱部に配置される。
航空機1の発熱部は、例えば、航空機1の電子機器9、バッテリ10、及びエンジン6の少なくとも一つを含む。また、発熱部は、電子機器9の筐体を含む。航空機1の放熱部は、例えば、航空機1の燃料タンク7を含む。なお、航空機1の放熱部が、航空機1の外部空間(胴体2の外面に面する空間)でもよい。
複合部材11は、板状部材である。図4に示す例では、複合部材11の表面及び裏面のそれぞれに、複合部材21が配置される。複合部材21は、炭素繊維で強化されたプラスチックを含む炭素繊維強化プラスチックを有する。
複合部材21の炭素繊維強化プラスチックの炭素繊維には、金属が被覆されていない。繊維方向に関する複合部材21の熱伝導率は、繊維方向に関する複合部材11の熱伝導率よりも低い。並列方向に関する複合部材21の熱伝導率は、繊維方向に関する複合部材11の熱伝導率よりも低い。積層方向に関する複合部材21の熱伝導率は、繊維方向に関する複合部材11の熱伝導率よりも低い。
なお、並列方向に関する複合部材21の熱伝導率は、並列方向に関する複合部材11の熱伝導率と等しくてもよいし、並列方向に関する複合部材11よりも低くてもよい。積層方向に関する複合部材21の熱伝導率は、積層方向に関する複合部材11の熱伝導率と等しくてもよいし、積層方向に関する複合部材11よりも低くてもよい。
金属コート炭素繊維12の一端部12A及び他端部12Bのそれぞれに、複合部材21は配置されない。金属コート炭素繊維12の一端部12A及び他端部12Bのそれぞれは、露出する。金属コート炭素繊維12の一端部12Aは、発熱部と接触する。なお、金属コート炭素繊維12の一端部12Aは、発熱部と間隙を介して対向してもよい。金属コート炭素繊維12の他端部12Bは、放熱部と接触する。金属コート炭素繊維12の他端部12Bは、放熱部と間隙を介して対向してもよい。
なお、複合部材21は、複合部材11の表面に配置され、複合部材11の裏面に配置されなくてもよい。複合部材21は、複合部材11の裏面に配置され、複合部材11の表面に配置されなくてもよい。複合部材21は、複合部材11の表面及び裏面の両方に配置されなくてもよい。
部材20の繊維方向に金属コート炭素繊維12が配置されている。部材20の並列方向及び積層方向のそれぞれにおいて、複数の金属コート炭素繊維12の間にプラスチック13が配置されている。繊維方向に関する部材20の熱伝導率は、並列方向に関する部材20の熱伝導率及び積層方向に関する部材20の熱伝導率よりも大きい。
発熱部の熱は、一端部12Aより金属コート炭素繊維12に吸収される。金属コート炭素繊維12に吸収された熱は、その金属コート炭素繊維12を伝わって、他端部12Bより放出(排熱)される。
並列方向に関する部材20の熱伝導率及び積層方向に関する部材20の熱伝導率は、繊維方向に関する部材20の熱伝導率よりも小さい。したがって、金属コート炭素繊維12の熱は、専ら、繊維方向に移動する。金属コート炭素繊維12の熱が並列方向及び積層方向に伝達することは抑制される。
また、本実施形態においては、積層方向に関して複合部材11の表面及び裏面のそれぞれに複合部材21が配置される。繊維方向、並列方向、及び積層方向のそれぞれの複合部材21の熱伝達率は、繊維方向に関する複合部材11の熱伝達率よりも小さい。そのため、金属コート炭素繊維12の熱が、複合部材21の表面から放出されることが抑制される。
以上説明したように、本実施形態によれば、複合部材11が金属コート炭素繊維12で強化された金属コート炭素繊維強化プラスチック14を含み、その金属コート炭素繊維12の一端部12Aが航空機1の発熱部に配置され、金属コート炭素繊維12の他端部12Bが航空機1の放熱部に配置される。金属コート炭素繊維12の金属16は、高い熱伝導率を有する。そのため、発熱部で発生した熱は、金属コート炭素繊維12を伝わって、効率良く放熱部に放出される。
また、複合部材11は、航空機1の強度部材として使用可能である。そのため、従来のような、金属シート又はジャンパー線のような専用の熱流路材を別途設けなくても、発熱部の熱を放熱部に放出できる。そのため、航空機1の重量の増大を抑制しつつ、航空機1の発熱部で発生した熱は、効率良く放熱部に放出される。
本実施形態においては、複合部材11は、繊維方向と交差する並列方向に配置された複数の金属コート炭素繊維12を含むプリプレグシート17を、繊維方向及び並列方向と交差する積層方向に複数積層した積層体を含む。繊維方向に関する部材20の熱伝導率は、並列方向に関する部材20の熱伝導率及び積層方向に関する部材の熱伝導率よりも大きい。これにより、熱伝導率に異方性が付与され、発熱部で発生した熱が、並列方向及び積層方向に伝わることが抑制され、放熱部に効率良く放出される。例えば、部材20の並列方向及び積層方向の少なくとも一方に、加熱したくない部材又は機器が存在する場合、熱伝達率に異方性を持つ部材20によって、その部材又は機器に熱が伝達されることが抑制される。
本実施形態においては、複合部材11は板状部材であり、部材20は、複合部材11の表面及び裏面の一方又は両方に配置された炭素繊維強化プラスチックを含む複合部材21を備える。これにより、複合部材11が複合部材21で支持され、強度が維持される。また、複合部材21の熱伝導率は、繊維方向に関する複合部材11の熱伝導率よりも小さい。そのため、部材20の並列方向及び積層方向の少なくとも一方に、加熱したくない部材又は機器が存在する場合、複合部材21によって、その部材又は機器に熱が伝達されることが抑制される。
また、本実施形態においては、金属コート炭素繊維12の一端部12A及び他端部12Bのそれぞれは、複合部材21などによって覆われてなく、露出する。一端部12Aが露出しているので、発熱部で発生した熱は、一端部12Aを介して、金属コート炭素繊維12の金属16に効率良く吸収される。他端部12Bが露出しているので、発熱部で発生し、金属コート炭素繊維12の金属16を移動した熱は、他端部12Bを介して、放熱部に効率良く放出される。このように、本実施形態においては、金属コート炭素繊維12の一端部12A及び他端部12Bのそれぞれは露出しているので、発熱部で発生した熱は、放熱部から効率良く放出される。
本実施形態においては、航空機1の発熱部は、航空機1の電子機器9を含む。航空機1の放熱部は、航空機1の燃料タンク7を含む。これにより、航空機1の高度化により、電子機器9の使用が増大し、電子機器9の発熱量が増大しても、電子機器9で発生した熱は、燃料タンク7に効率良く放出される。
<第2実施形態>
第2実施形態について説明する。以下の説明において、上述の実施形態と同一又は同等の構成部分については同一の符号を付し、その説明を簡略又は省略する。
図5は、部材20の使用方法の一例を示す断面図である。図5に示すように、航空機1の発熱部が、部材20のうち、一端部12Aと他端部12Bとの間の中央部に配置されてもよい。すなわち、繊維方向に関して金属コート炭素繊維12の中央部が発熱部に配置され、金属コート炭素繊維12の一端部12A及び他端部12Bが放熱部に配置されてもよい。本実施形態においては、一端部12A及び他端部12Bのそれぞれが、航空機1の放熱部に配置される。発熱部で発生した熱は、一端部12A及び他端部12Bのそれぞれから放出される。また、金属コート炭素繊維12の一端部12A及び他端部12Bのそれぞれが露出することにより、発熱部で発生した熱は、放熱部から効率良く放出される。
<第3実施形態>
第3実施形態について説明する。以下の説明において、上述の実施形態と同一又は同等の構成部分については同一の符号を付し、その説明を簡略又は省略する。
図6は、航空機1の主翼3の平面図を示す。リブライン29の少なくとも一部に、後述するシアタイ(構造材)31が配置される。
図7は、外板30とシアタイ31との位置関係を概略的に示す図である。シアタイ31は、ストリンガ、リブ等と外板30とを結合する部材である。本実施形態において、シアタイ31は、炭素繊維強化プラスチックを含む複合部材21と、金属コート炭素繊維強化プラスチック14を含む複合部材11とによって形成される。
外板30とシアタイ31とは、ファスナ51によって固定される。ファスナ51の先端にカラー(ナット)37が結合されることによって、外板30とシアタイ31とが固定される。カラー37とシアタイ31との間には、ワッシャ41及びスペーサ42が配置される。
カラー37、ワッシャ41、及びスペーサ42は、キャップ44によって覆われる。キャップ44は、シアタイ31に密着するように配置される。
外板30は、炭素繊維強化プラスチック層32と、ガラス繊維強化プラスチック層34と、銅ペイント層39と、を含む。
図8は、本実施形態に係るシアタイ31の一例を示す断面図である。シアタイ31は、炭素繊維強化プラスチックを含む複合部材21と、金属コート炭素繊維強化プラスチック14を含む複合部材11とによって形成される。複合部材11は、複合部材21によって挟まれる。複合部材11は、シアタイ31の一部に設けられる。図8において、シアタイ31の下端部に、複合部材11の金属コート炭素繊維12の一端部12Aが配置される。シアタイ31の左側の上端部に、複合部材11の金属コート炭素繊維12の他端部12Bが配置される。図8に示す例では、シアタイ31の右側の上端部は、複合部材21によって形成される。
シアタイ31の下端部に、航空機1の発熱部が配置される。シアタイ31の左側の上端部に、航空機1の放熱部が配置される。
なお、シアタイ31の右側の上端部に、複合部材11の金属コート炭素繊維12の他端部12Bが配置され、航空機1の放熱部が配置されてもよい。なお、シアタイ31の右側の上端部及び左側の上端部の両方に、複合部材11の金属コート炭素繊維12の他端部12Bが配置され、航空機1の放熱部が配置されてもよい。なお、シアタイ31の右側の上端部及び左側の上端部の一方又は両方に、複合部材11の金属コート炭素繊維12の一端部12Aが配置され、航空機1の発熱部が配置されてもよい。シアタイ31の下端部に、複合部材11の金属コート炭素繊維12の他端部12Bが配置され、航空機1の放熱部が配置されてもよい。
以上説明したように、複合部材11及び複合部材21が曲げられていてもよいし、任意の形状(3次元形状)に加工されてもよい。
なお、上述の各実施形態において、金属コート炭素繊維12に代えて、又は金属コート炭素繊維12とともに、ピッチ系炭素繊維が配置されてもよい。ピッチ系炭素繊維は、少なくともPAN炭素繊維よりも高い熱伝導率を有する熱伝導性炭素繊維である。
なお、上述の各実施形態においては、部材20が航空機1の構造部材に使用される例について説明した。部材20は、人工衛星の構造部材に使用されてもよい。
なお、上述の各実施形態においては、繊維方向と並列方向と積層方向とは、互いに直交することとした。繊維方向と並列方向とが、例えば80度以上100度以下の角度で交差してもよい。繊維方向と積層方向とが、例えば80度以上100度以下の角度で交差してもよい。並列方向と積層方向とが、例えば80度以上100度以下の角度で交差してもよい。
1 航空機
2 胴体
3 主翼
4 水平尾翼
5 垂直尾翼
6 エンジン
7 燃料タンク
8 コックピット
9 電子機器
10 バッテリ
11 複合部材
12 金属コート炭素繊維
12A 一端部
12B 他端部
13 プラスチック
14 金属コート炭素繊維強化プラスチック
15 炭素繊維
16 金属
17 プリプレグシート
20 部材
21 複合部材
29 リブライン
30 外板
31 シアタイ
32 炭素繊維強化プラスチック層
34 ガラス繊維強化プラスチック層
37 カラー
39 銅ペイント層
41 ワッシャ
42 スペーサ
44 キャップ
51 ファスナ

Claims (5)

  1. 金属コート炭素繊維及びピッチ系炭素繊維の一方又は両方を含む熱伝導性炭素繊維で強化されたプラスチックを有する第1複合部材を備え、
    繊維方向に関して前記熱伝導性炭素繊維の一端部が発熱部に配置され、前記熱伝導性炭素繊維の他端部が放熱部に配置される部材。
  2. 金属コート炭素繊維及びピッチ系炭素繊維の一方又は両方を含む熱伝導性炭素繊維で強化されたプラスチックを有する第1複合部材を備え、
    繊維方向に関して前記熱伝導性炭素繊維の中央部が発熱部に配置され、前記熱伝導性炭素繊維の一端部及び他端部が放熱部に配置される部材。
  3. 前記第1複合部材は、前記繊維方向と交差する並列方向に配置された複数の前記熱伝導性炭素繊維を含むプリプレグシートを前記繊維方向及び前記並列方向と交差する積層方向に複数積層した積層体を含み、
    前記繊維方向に関する熱伝導率は、前記並列方向に関する熱伝導率及び前記積層方向に関する熱伝導率よりも大きい請求項1又は請求項2に記載の部材。
  4. 前記第1複合部材は板状部材であり、
    前記第1複合部材の表面及び裏面の一方又は両方に配置され、炭素繊維で強化されたプラスチックを含む第2複合部材を備え、
    前記熱伝導性炭素繊維の一端部及び他端部のそれぞれは露出する請求項1から請求項3のいずれか一項に記載の部材。
  5. 前記発熱部は、前記航空機の電子機器を含み、前記放熱部は、前記航空機の燃料タンクを含む請求項1から請求項4のいずれか一項に記載の部材。
JP2014245346A 2014-12-03 2014-12-03 部材 Active JP6550230B2 (ja)

Priority Applications (4)

Application Number Priority Date Filing Date Title
JP2014245346A JP6550230B2 (ja) 2014-12-03 2014-12-03 部材
US15/531,606 US20180281983A1 (en) 2014-12-03 2015-10-23 Member
EP15864708.1A EP3214112B1 (en) 2014-12-03 2015-10-23 Heat passage member
PCT/JP2015/080002 WO2016088470A1 (ja) 2014-12-03 2015-10-23 部材

Applications Claiming Priority (1)

Application Number Priority Date Filing Date Title
JP2014245346A JP6550230B2 (ja) 2014-12-03 2014-12-03 部材

Publications (3)

Publication Number Publication Date
JP2016108398A true JP2016108398A (ja) 2016-06-20
JP2016108398A5 JP2016108398A5 (ja) 2017-11-30
JP6550230B2 JP6550230B2 (ja) 2019-07-24

Family

ID=56091426

Family Applications (1)

Application Number Title Priority Date Filing Date
JP2014245346A Active JP6550230B2 (ja) 2014-12-03 2014-12-03 部材

Country Status (4)

Country Link
US (1) US20180281983A1 (ja)
EP (1) EP3214112B1 (ja)
JP (1) JP6550230B2 (ja)
WO (1) WO2016088470A1 (ja)

Cited By (3)

* Cited by examiner, † Cited by third party
Publication number Priority date Publication date Assignee Title
JP2020062768A (ja) * 2018-10-15 2020-04-23 有限会社ヒロセ金型 炭素繊維強化樹脂成形品の製造方法、及び炭素繊維強化樹脂成形品
JP2021017647A (ja) * 2019-07-18 2021-02-15 ハミルトン・サンドストランド・コーポレイションHamilton Sundstrand Corporation 構成要素を形成する方法、プレート及びフレーム熱交換器を形成する方法および熱交換プレート
WO2021201165A1 (ja) * 2020-04-03 2021-10-07 日本製鉄株式会社 蓄電デバイス構造体及び蓄電デバイス構造体の放熱方法

Families Citing this family (3)

* Cited by examiner, † Cited by third party
Publication number Priority date Publication date Assignee Title
US10723437B2 (en) * 2017-05-30 2020-07-28 The Boeing Company System for structurally integrated thermal management for thin wing aircraft control surface actuators
EA202191198A1 (ru) 2018-11-01 2021-09-14 Этомос Ньюклиар Энд Спейс Корпорейшн Система ребер радиатора, выполненных из углеродного волокна
CN114474557B (zh) * 2021-12-31 2023-11-10 富联裕展科技(深圳)有限公司 金属塑胶结合件及其形成方法、电子产品壳体

Citations (10)

* Cited by examiner, † Cited by third party
Publication number Priority date Publication date Assignee Title
JP2001073255A (ja) * 1999-08-31 2001-03-21 Fujikura Rubber Ltd 放熱シート
US20030116678A1 (en) * 2001-12-21 2003-06-26 Gardner Slade H. Aircraft structures having improved through-thickness thermal conductivity
JP2004528717A (ja) * 2001-04-30 2004-09-16 サーモ コムポジット、エルエルシー 熱管理材料、デバイスおよび方法
JP2005213459A (ja) * 2004-01-30 2005-08-11 Nippon Steel Corp 高熱伝導材料
JP2006513390A (ja) * 2002-12-19 2006-04-20 スリーエム イノベイティブ プロパティズ カンパニー 可撓性吸熱器
WO2006112487A1 (ja) * 2005-04-18 2006-10-26 Teijin Limited ピッチ系炭素繊維、マットおよびそれらを含む樹脂成形体
JP2008138968A (ja) * 2006-12-04 2008-06-19 Honda Motor Co Ltd 熱交換器の製造方法及び熱交換器
JP2010229238A (ja) * 2009-03-26 2010-10-14 Mitsubishi Plastics Inc 炭素繊維強化樹脂シート及びそのロール巻回体
JP2011046967A (ja) * 2010-12-07 2011-03-10 Mitsubishi Engineering Plastics Corp 熱伝導性ポリカーボネート系樹脂組成物および成形体
JP2011100959A (ja) * 2009-10-05 2011-05-19 Sumitomo Electric Ind Ltd フレキシブル基板、フレキシブル基板モジュール及びそれらの製造方法

Family Cites Families (1)

* Cited by examiner, † Cited by third party
Publication number Priority date Publication date Assignee Title
JP5352893B2 (ja) * 2008-04-14 2013-11-27 東洋炭素株式会社 炭素繊維炭素複合成形体及び炭素繊維強化炭素複合体材料並びにその製造方法

Patent Citations (10)

* Cited by examiner, † Cited by third party
Publication number Priority date Publication date Assignee Title
JP2001073255A (ja) * 1999-08-31 2001-03-21 Fujikura Rubber Ltd 放熱シート
JP2004528717A (ja) * 2001-04-30 2004-09-16 サーモ コムポジット、エルエルシー 熱管理材料、デバイスおよび方法
US20030116678A1 (en) * 2001-12-21 2003-06-26 Gardner Slade H. Aircraft structures having improved through-thickness thermal conductivity
JP2006513390A (ja) * 2002-12-19 2006-04-20 スリーエム イノベイティブ プロパティズ カンパニー 可撓性吸熱器
JP2005213459A (ja) * 2004-01-30 2005-08-11 Nippon Steel Corp 高熱伝導材料
WO2006112487A1 (ja) * 2005-04-18 2006-10-26 Teijin Limited ピッチ系炭素繊維、マットおよびそれらを含む樹脂成形体
JP2008138968A (ja) * 2006-12-04 2008-06-19 Honda Motor Co Ltd 熱交換器の製造方法及び熱交換器
JP2010229238A (ja) * 2009-03-26 2010-10-14 Mitsubishi Plastics Inc 炭素繊維強化樹脂シート及びそのロール巻回体
JP2011100959A (ja) * 2009-10-05 2011-05-19 Sumitomo Electric Ind Ltd フレキシブル基板、フレキシブル基板モジュール及びそれらの製造方法
JP2011046967A (ja) * 2010-12-07 2011-03-10 Mitsubishi Engineering Plastics Corp 熱伝導性ポリカーボネート系樹脂組成物および成形体

Cited By (7)

* Cited by examiner, † Cited by third party
Publication number Priority date Publication date Assignee Title
JP2020062768A (ja) * 2018-10-15 2020-04-23 有限会社ヒロセ金型 炭素繊維強化樹脂成形品の製造方法、及び炭素繊維強化樹脂成形品
JP7149577B2 (ja) 2018-10-15 2022-10-07 有限会社ヒロセ金型 炭素繊維強化樹脂成形品の製造方法、及び炭素繊維強化樹脂成形品
JP2021017647A (ja) * 2019-07-18 2021-02-15 ハミルトン・サンドストランド・コーポレイションHamilton Sundstrand Corporation 構成要素を形成する方法、プレート及びフレーム熱交換器を形成する方法および熱交換プレート
JP7319904B2 (ja) 2019-07-18 2023-08-02 ハミルトン・サンドストランド・コーポレイション 構成要素を形成する方法、プレート及びフレーム熱交換器を形成する方法および熱交換プレート
WO2021201165A1 (ja) * 2020-04-03 2021-10-07 日本製鉄株式会社 蓄電デバイス構造体及び蓄電デバイス構造体の放熱方法
JPWO2021201165A1 (ja) * 2020-04-03 2021-10-07
JP7430248B2 (ja) 2020-04-03 2024-02-09 日本製鉄株式会社 蓄電デバイス構造体及び蓄電デバイス構造体の放熱方法

Also Published As

Publication number Publication date
US20180281983A1 (en) 2018-10-04
JP6550230B2 (ja) 2019-07-24
EP3214112B1 (en) 2021-04-14
EP3214112A1 (en) 2017-09-06
WO2016088470A1 (ja) 2016-06-09
EP3214112A4 (en) 2017-11-22

Similar Documents

Publication Publication Date Title
JP6550230B2 (ja) 部材
CN103338929B (zh) 包含粘弹性夹层的多功能复合材料
EP3339013B1 (en) Heated floor panels with thermally conductive and electrically insulating fabric
JP6571000B2 (ja) 熱伝導性複合材及びその製造方法
US11338933B2 (en) Acoustic honeycomb panel with integrated electrical heater
US9776386B2 (en) Manufacturing method of partially cured composite components
US10807326B2 (en) Method of making complex carbon nanotube sheets
JP6238168B2 (ja) 複合材構造
JP2016108398A5 (ja)
EP3339178B1 (en) Electrically conductive resin matrix for cnt heater
CN206602672U (zh) 飞机电防冰除冰电加热结构
US9974209B1 (en) Heat sink and method
JP6719867B2 (ja) 複雑繊維強化複合構造体を硬化させるためのシステム及び方法
JP2013028166A (ja) 熱防御複合材の製造方法
US6612523B2 (en) Aircraft structures having improved through-thickness thermal conductivity
CN110654526A (zh) 一种高温高热部位均温化方法及均温化结构
CN202944564U (zh) 一种用于腹鳍与控制舱体的连接结构
EP3135475B1 (en) Composite material structure
JP2010023240A (ja) 熱防御複合材の製造方法
JP6547982B2 (ja) チョップドテープ繊維強化熱可塑性樹脂シート材及びその製造方法
JP2015030108A (ja) 炭素繊維プリフォームの製造装置および炭素繊維プリフォームの製造方法
KR102827548B1 (ko) 기계적 체결과 전기적 연결이 동시에 가능한 단일 체결 구조를 가지는 구조용 배터리 및 이의 제조방법
US9072184B2 (en) Carbon fiber spacecraft panel with integral metallic foil power return
EP3152045B1 (en) Method for making a composite structure utilizing thermal properties of forming elements
CN205906198U (zh) 一种飞机夹芯复合材料球面框结构

Legal Events

Date Code Title Description
A521 Request for written amendment filed

Free format text: JAPANESE INTERMEDIATE CODE: A523

Effective date: 20171016

A621 Written request for application examination

Free format text: JAPANESE INTERMEDIATE CODE: A621

Effective date: 20171016

A131 Notification of reasons for refusal

Free format text: JAPANESE INTERMEDIATE CODE: A131

Effective date: 20181204

A521 Request for written amendment filed

Free format text: JAPANESE INTERMEDIATE CODE: A523

Effective date: 20190115

TRDD Decision of grant or rejection written
A01 Written decision to grant a patent or to grant a registration (utility model)

Free format text: JAPANESE INTERMEDIATE CODE: A01

Effective date: 20190604

A61 First payment of annual fees (during grant procedure)

Free format text: JAPANESE INTERMEDIATE CODE: A61

Effective date: 20190701

R150 Certificate of patent or registration of utility model

Ref document number: 6550230

Country of ref document: JP

Free format text: JAPANESE INTERMEDIATE CODE: R150