JP2015225701A - プレスフィット端子 - Google Patents

プレスフィット端子 Download PDF

Info

Publication number
JP2015225701A
JP2015225701A JP2014107936A JP2014107936A JP2015225701A JP 2015225701 A JP2015225701 A JP 2015225701A JP 2014107936 A JP2014107936 A JP 2014107936A JP 2014107936 A JP2014107936 A JP 2014107936A JP 2015225701 A JP2015225701 A JP 2015225701A
Authority
JP
Japan
Prior art keywords
hole
press
fit terminal
insertion guide
rigidity
Prior art date
Legal status (The legal status is an assumption and is not a legal conclusion. Google has not performed a legal analysis and makes no representation as to the accuracy of the status listed.)
Pending
Application number
JP2014107936A
Other languages
English (en)
Inventor
拓哉 山中
Takuya Yamanaka
拓哉 山中
茂樹 島田
Shigeki Shimada
茂樹 島田
Current Assignee (The listed assignees may be inaccurate. Google has not performed a legal analysis and makes no representation or warranty as to the accuracy of the list.)
Sumitomo Wiring Systems Ltd
AutoNetworks Technologies Ltd
Sumitomo Electric Industries Ltd
Original Assignee
Sumitomo Wiring Systems Ltd
AutoNetworks Technologies Ltd
Sumitomo Electric Industries Ltd
Priority date (The priority date is an assumption and is not a legal conclusion. Google has not performed a legal analysis and makes no representation as to the accuracy of the date listed.)
Filing date
Publication date
Application filed by Sumitomo Wiring Systems Ltd, AutoNetworks Technologies Ltd, Sumitomo Electric Industries Ltd filed Critical Sumitomo Wiring Systems Ltd
Priority to JP2014107936A priority Critical patent/JP2015225701A/ja
Publication of JP2015225701A publication Critical patent/JP2015225701A/ja
Pending legal-status Critical Current

Links

Images

Landscapes

  • Coupling Device And Connection With Printed Circuit (AREA)

Abstract

【課題】小型化しても十分な保持力が得られるプレスフィット端子を提供する。
【解決手段】回路基板に設けられたスルーホール内に貫通され、スルーホールの内壁に対して弾性的に接触することによりスルーホール内に設けられた導電膜と導通接続されるプレスフィット端子であって、先端側に位置する挿入案内部と、挿入案内部の反対側に位置する基部と、挿入案内部および基部の間に位置して両者を連結するとともに、外向きに張り出してスルーホールの内壁に対して弾性的に接触する一対の架橋部と、を備え、一対の架橋部のうち基部側の剛性が、挿入案内部側の剛性よりも低く設定されている。
【選択図】図1

Description

本明細書に開示される技術は、プレスフィット端子に関する。
従来、電子機器に組み込まれる配線基板120のスルーホール121に圧入され、導電回路と半田付けを行うことなく導通接続されるとともに、配線基板120に機械的に接触固定されるプレスフィット端子100が知られている(図7参照)。
プレスフィット端子100は、タブ状端子の幅方向の中央部にスリット部107を設けるとともに、スリット部107を挟んで互いに対向する一対の梁部材102のうち、最も外幅が大きい接触部104の外縁部間の幅をスルーホール121の内径よりも大きく設定し、梁部材102をスリット部107内に撓ませながらスルーホール121内に圧入することにより、スルーホール121内の導電膜と弾性的に接触させて、導通接続させるようになっている(図8参照)。
このようなプレスフィット端子100は、振動等の外力により配線基板120から離脱しないように、配線基板120に対して一定以上の保持力を確保することが重要である。
特開2004−127610号公報 WO2008/038331号公報
ところで、車載用の電子機器は更なる小型化が要望されており、プレスフィット端子も、従来よりも小径のスルーホールに対応すべく、小型化が求められている。しかし、上述した従来のプレスフィット端子100を単に小型化すると、小型プレスフィット端子およびスルーホール間の接触荷重が低下し、それに伴って保持力が低下する傾向がある。
すなわち、従来のプレスフィット端子100はある程度の板厚を有していたため、配線基板120のスルーホール121に挿入された際に、一定以上の接触荷重を得ることが可能であった。しかし、従来型を単に小型化したプレスフィット端子では、端子の板厚が薄くなるため、弾性力が低下し、接触荷重が低下する。
そこで、一定以上の接触荷重を確保するために、例えば図9に示すように、スルーホール21の径に対する架橋部112の幅W0の割合を従来型より大きく、すなわち、架橋部112の幅W0を広くして、架橋部112の剛性を高くすることが考えられる。
しかしそのようにすると、図10および図11に示すように、プレスフィット端子110のスルーホール21への圧入時に、架橋部112の先端側が強い力を受けて絞られるように大きく変形する一方、逆に後方側は充分に撓み難くなり、その結果、架橋部112とスルーホール21との接触位置P1が、スルーホール21の中央部P0より後方側へと移動してしまう虞がある。
このような、プレスフィット端子110のスルーホール21への圧入時の変形による接触位置の移動は、スルーホール21の径が小さくなる程、発生し易い。また、このように接触位置に移動が生じた場合、保持力特性は、接触位置がプレスフィット端子110の後方側へずれる分、引き抜き距離が短くなってしまうため、低下する。すなわち、少し引き抜かれただけで保持力が急減し、プレスフィット端子110が回路基板20から離脱してしまう懸念がある。
本明細書に開示される技術は、小型化しても十分な保持力が得られるプレスフィット端子を提供することを目的とするものである。
本明細書に開示される技術は、回路基板に設けられたスルーホール内に貫通され、前記スルーホールの内壁に対して弾性的に接触することにより前記スルーホール内に設けられた導電膜と導通接続されるプレスフィット端子であって、先端側に位置する挿入案内部と、該挿入案内部の反対側に位置する基部と、前記挿入案内部および前記基部の間に位置して両者を連結するとともに、外向きに張り出して前記スルーホールの内壁に対して弾性的に接触する一対の架橋部と、を備え、前記一対の架橋部のうち前記基部側の剛性が、前記挿入案内部側の剛性よりも低く設定されていることを特徴とする。
上記構成によれば、一対の架橋部のうち基部側の剛性が挿入案内部側の剛性よりも低く設定されているので、基部側が撓み易くなり、もって、プレスフィット端子をスルーホールに圧入した際に、スルーホールとプレスフィット端子との接触位置がスルーホールの中央部から基部側へ移動しないようになる。これにより、十分な保持力が得られる。
上記構成の具体的態様の一例として、一対の架橋部を、先端側から後方側に向けて外向きに傾斜する第1変形部と、後方側から先端側に向けて外向きに傾斜する第2変形部と、を備える略山形に張り出す構成とし、第2変形部の剛性を第1変形部の剛性よりも低く設定してもよい。
また、第1変形部および第2変形部の間に、挿入案内部の軸方向に沿って延びる接触部を設ける構成としてもよい。このような構成とすると、架橋部とスルーホールとの接触面積が広くなるので、より確実に導通接続が行われる。
また、第2変形部の剛性を第1変形部の剛性よりも低く設定する具体的態様としては、第2変形部の幅を第1変形部の幅よりも小さく設定したり、第2変形部の長さを、第1変形部の長さよりも長く設定したりすることが好ましい。
さらに、一対の架橋部間に位置する孔部を、挿入案内部よりも基部側に偏って配することにより、一対の架橋部のうち基部側の剛性を挿入案内部側の剛性よりも低く設定することができる。
本明細書に開示される技術によれば、小型化しても十分な保持力特性を有するプレスフィット端子が得られる。
実施形態1のプレスフィット端子を回路基板のスルーホール内に挿入する過程を示す平断面図 プレスフィット端子を回路基板のスルーホール内に挿入する過程を示す平断面図 プレスフィット端子を回路基板のスルーホール内に挿入した状態を示す平断面図 保持力特性を示すグラフ 実施形態2のプレスフィット端子の平面図 実施形態3のプレスフィット端子の平面図 従来の大型のプレスフィット端子を配線基板のスルーホール内に挿入する過程を示す平断面図 従来の大型のプレスフィット端子を配線基板のスルーホール内に挿入した状態を示す平面図 仮想的な技術に係る小型のプレスフィット端子を回路基板のスルーホール内に挿入する過程を示す平断面図 仮想的な技術に係る小型のプレスフィット端子を回路基板のスルーホール内に挿入する過程を示す平断面図 仮想的な技術に係る小型のプレスフィット端子を回路基板のスルーホール内に挿入した状態を示す平断面図
<実施形態1>
実施形態1を図1ないし図4によって説明する。
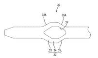
プレスフィット端子10は、回路基板20のスルーホール21に圧入されるものであって、銅合金等の導電性に優れた金属板材をプレス加工することにより、細長いタブ状に形成されている。
プレスフィット端子10は、図1に示すように、一端側が回路基板20のスルーホール21へ案内するための先細の挿入案内部11とされ、他方側は他の端子等と接続される図示しない接続部に繋がる基部16とされている。挿入案内部11と基部16との間には、両者を連結する一対の架橋部12が設けられている。これらの挿入案内部11、一対の架橋部12、および基部16は、全て同等の板厚とされている。以下、スルーホール21への挿入方向を前方、その反対方向を後方として説明する。
一対の架橋部12の外側の縁部は、それぞれ外側に向けて略山形に張り出しており、前方側の傾斜部が第1変形部13、後方側の傾斜部が第2変形部15とされている。第1変形部13および第2変形部15の間には、プレスフィット端子10(挿入案内部11)の軸方向、すなわち、前後方向に沿って延びる接触部14が設けられている。
一の第1変形部13の外側の縁部である第1外縁部13Aと、この一の第1変形部13と接触部14を介して隣り合う第2変形部15の外側の縁部である第2外縁部15Aとは、架橋部12をプレスフィット端子10の軸と直交する中心線C1で二つに折り曲げた場合に、ぴったり折り重なるように、線対象の関係とされている。すなわち、一の架橋部12の外側の縁部(第1外縁部13Aおよび第2外縁部15A)は、図1において、左右線対称の傾斜状とされている。
なお、接触部14の外側の縁部は、第3外縁部14Aとよぶこととする。
また一対の架橋部12は、プレスフィット端子10をその軸に沿った中心線C2で二つに折り曲げた場合に、ぴったり折り重なるように線対称の関係とされている。すなわち、一対の架橋部12は、図1において、上下線対称の形状とされている。
一対の架橋部12の間は、略菱形状の孔部17とされている。孔部17の内側の縁部は、図1に示すように、一対の架橋部12の第1外縁部13A、第3外縁部14A、および、第2外縁部15Aとそれぞれ平行に設けた第1内縁部13B、第3内縁部14B、第2内縁部15Bとされている。
本実施形態においては、第1変形部13および第2変形部15の各幅が、異なるように設定されている。より詳細には、図1に示すように、第1外縁部13Aから第1内縁部13Bまでの距離(幅W1)と、第2外縁部15Aから第2内縁部15Bまでの距離(幅W2)W2とは、異なるように設定されており、W1>W2とされている。すなわち、第2変形部15の剛性が、第1変形部13の剛性よりも低くなるように設定されている。
このような形状は、例えば、図9に示すような、本実施形態のプレスフィット端子10と等しい外形を有し、かつ、架橋部112全体が同幅W0とされた形状のプレスフィット端子110の孔部117を、プレスフィット端子110の軸方向に沿って後方側に移動した状態とすることにより、形成することができる(図1参照)。
このように形成された本実施形態のプレスフィット端子10の第1変形部13の幅W1は、図9に示すプレスフィット端子110の第1変形部113の幅W0よりも大きくなる(W1>W0)。また、第2変形部15の幅W2は、図9に示すプレスフィット端子110の第2変形部115の幅W0よりも小さくなる(W2<W0)。
また、このように形成された本実施形態のプレスフィット端子10において、孔部17の前端は、第1外縁部13Aの前端より後方側に配されるとともに、孔部17の後端は、第2外縁部15Aの後端より後方側に配されている。
次に、本実施形態のプレスフィット端子10の作用について説明する。プレスフィット端子10を回路基板20のスルーホール21内に挿入案内部11側から挿入すると、まず、一対の架橋部12のうち第1変形部13の第1外縁部13Aがスルーホール21の開口縁部22に突き当たる。プレスフィット端子10をスルーホール21内にさらに挿入すると、スルーホール21の開口縁部22に第1外縁部13Aが押圧されることより、第1変形部13が孔部17内に徐々に撓みながらスルーホール21内に進入する(図2参照)。
そして、一対の架橋部12の接触部14の先端縁がスルーホール21の開口縁部22を通り過ぎると、接触部14の第3外縁部14Aがスルーホール21の内壁に押し付けられた状態となる。さらに、接触部14の後端縁がスルーホール21の開口縁部22を通り過ぎるまで押し込むことにより、スルーホール21内の導電膜とプレスフィット端子10(接触部14)とが導通接続される。(図3参照)。
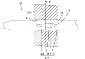
ところで、例えば図9に示すような、本実施形態のプレスフィット端子10と外形が等しく、架橋部112全体が、適度な接触荷重が得られる同幅W0に設定されたプレスフィット端子110においては、スルーホール21へ圧入する際、図10および図11に示すように、先に挿入される第1変形部113が先に孔部117内に撓み、その後、接触部114が孔部117内に撓んだ後、第1変形部113と同等の剛性を有する第2変形部115は孔部117内にうまく撓むことができないという問題が生じる。
すなわち、架橋部112の幅W0がスルーホール21の孔径に対してある程度以上大きく設定された場合には、架橋部112全体が均等に撓むのではなく、先に挿入される第1変形部113に大きな力がかかって過剰に変形され、逆に、後方側に配された第2変形部115は容易に撓むことができなくなる。その結果、図11に示すように、プレスフィット端子110とスルーホール21との接触位置P1が、本来の接触位置P0(スルーホール21の中央)よりも、スルーホール21の挿入側の開口縁部22側(後方側)に移動する。
このように、接触位置Pが移動した場合のプレスフィット端子110の保持力特性は、接触位置Pが移動した分、短い距離の移動(引き抜き)でプレスフィット端子110の接触荷重が失われて抜けが発生するため、図4に示すように、接触位置が移動しない場合(図4の実線)と比較して大きく低下してしまう(図4の破線)。
このような問題に対し、本実施形態のプレスフィット端子10によれば、第2変形部15の幅W2を第1変形部13の幅W1と比較して小さく設定する(W1>W2)ことにより、第2変形部15の剛性を第1変形部13の剛性より低く設定し、容易に撓むことが可能な構成とされている。
すなわち、第1変形部13において幅W1を大きくして剛性を高くすることにより接触荷重を十分に確保しながらも、第2変形部15において幅W2を小さくして剛性を低くすることにより撓み易くし、接触位置P2がスルーホール21の挿入側の開口縁部22側(後方側)に移動することを抑制した。もって、高い保持力特性を得ることができる。
<実施形態2>
実施形態2について図5を参照して説明する。以下、実施形態1と同じ部位については同じ用語を用い、詳細な説明を省略する。
本実施形態のプレスフィット端子30は、図9に示すような、架橋部112全体が同幅W0に設定されたプレスフィット端子110の第2変形部115の幅を単に細くすることにより、第2変形部35の剛性を第1変形部33の剛性よりも低くする構成としたものである。
このプレスフィット端子30において、孔部37の前端は、第1外縁部33Aの前端とほぼ同じ位置に配されるとともに、孔部37の後端は、第2外縁部35Aの後端とほぼ同じ位置かやや後方側に配される(図5参照)ところが、上記実施形態1のプレスフィット端子10と異なる。
本実施形態のプレスフィット端子30においても、第2変形部35の剛性は第1変形部33の剛性よりも低く設定されているから、第2変形部35が撓み易くなっており、接触位置Pがスルーホール21の挿入側の開口縁部22側(後方側)に移動することが抑制される。もって、高い保持力特性を得ることができる。
<実施形態3>
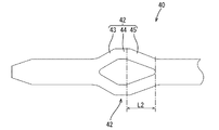
実施形態3について図6を参照して説明する。以下、実施形態1と同じ部位については同じ用語を用い、詳細な説明を省略する。
本実施形態のプレスフィット端子40は、図9に示すような、架橋部112全体が同幅W0に設定されたプレスフィット端子110の第2変形部115の、前後方向の長さL1を長くすることにより、第2変形部45の剛性を第1変形部43の剛性よりも低くする構成としたものである。すなわち、第2変形部45の前後方向の長さをL2とすると、L1<L2とされている。なお、本実施形態のプレスフィット端子40の第2変形部15の前後方向の長さは、図9に示すプレスフィット端子110の第1変形部113の前後方向の長さL1と同等である。
本実施形態のプレスフィット端子40においても、第2変形部45の剛性は第1変形部43の剛性よりも低くされているから、第2変形部45が撓み易くなっており、接触位置Pがスルーホール21の挿入側の開口縁部22側(後方)に移動することが抑制される。もって、高い保持力特性を得ることができる。
<他の実施形態>
本明細書に記載される技術は、上記記述及び図面によって説明した実施形態に限定されるものではなく、例えば次のような実施形態も技術的範囲に含まれる。
(1)上記実施形態では、一対の架橋部12,32,42が、第1変形部13,33,43、接触部14,34,44、および、第2変形部15,35,45、を備えた略山形の構成を示したが、例えば、接触部を備えない略山形の構成としてもよい。そのような構成とした場合には、プレスフィット端子とスルーホールとは、線接触するようになる。
(2)一対の架橋部は、略山形ではなく、例えば円弧状等、他の形態とすることもできる。
(3)一対の架橋部の剛性は、上記実施形態に限らず、例えば、挿入案内部から基部側へ向けて連続的に幅を小さくすることにより、基部側の方を低くする等の構成とすることもできる。
10,30,40,110…プレスフィット端子
11…挿入案内部
12,32,42,112…架橋部
13,33,43,113…第1変形部
14,34,44,114…接触部
15,35,45,115…第2変形部
16…基部
17,37…孔部
20…回路基板
21…スルーホール
22…開口縁部
C1,C2…中心線
L1,L2…長さ
W0,W1,W2…幅
P0,P1,P2……接触位置

Claims (6)

  1. 回路基板に設けられたスルーホール内に貫通され、前記スルーホールの内壁に対して弾性的に接触することにより前記スルーホール内に設けられた導電膜と導通接続されるプレスフィット端子であって、
    先端側に位置する挿入案内部と、該挿入案内部の反対側に位置する基部と、
    前記挿入案内部および前記基部の間に位置して両者を連結するとともに、外向きに張り出して前記スルーホールの内壁に対して弾性的に接触する一対の架橋部と、を備え、
    前記一対の架橋部のうち前記基部側の剛性が、前記挿入案内部側の剛性よりも低く設定されているプレスフィット端子。
  2. 前記一対の架橋部は略山形に張り出しており、先端側から後方側に向けて外向きに傾斜する第1変形部と、後方側から先端側に向けて外向きに傾斜する第2変形部と、を備え、
    前記第2変形部の剛性が前記第1変形部の剛性よりも低く設定されている請求項1に記載のプレスフィット端子。
  3. 前記第1変形部および前記第2変形部の間に、前記挿入案内部の軸方向に沿って延びる接触部が設けられている請求項2に記載のプレスフィット端子。
  4. 前記第2変形部の幅が前記第1変形部の幅よりも小さく設定されている請求項2または請求項3に記載のプレスフィット端子。
  5. 前記第2変形部の長さが、前記第1変形部の長さよりも長く設定されている請求項2ないし請求項4のいずれか一項に記載のプレスフィット端子。
  6. 前記一対の架橋部間に位置する孔部を備え、この孔部が前記挿入案内部よりも前記基部側に偏って配されている請求項1ないし請求項5のいずれか一項に記載のプレスフィット端子。
JP2014107936A 2014-05-26 2014-05-26 プレスフィット端子 Pending JP2015225701A (ja)

Priority Applications (1)

Application Number Priority Date Filing Date Title
JP2014107936A JP2015225701A (ja) 2014-05-26 2014-05-26 プレスフィット端子

Applications Claiming Priority (1)

Application Number Priority Date Filing Date Title
JP2014107936A JP2015225701A (ja) 2014-05-26 2014-05-26 プレスフィット端子

Publications (1)

Publication Number Publication Date
JP2015225701A true JP2015225701A (ja) 2015-12-14

Family

ID=54842333

Family Applications (1)

Application Number Title Priority Date Filing Date
JP2014107936A Pending JP2015225701A (ja) 2014-05-26 2014-05-26 プレスフィット端子

Country Status (1)

Country Link
JP (1) JP2015225701A (ja)

Cited By (5)

* Cited by examiner, † Cited by third party
Publication number Priority date Publication date Assignee Title
CN108429027A (zh) * 2017-02-14 2018-08-21 矢崎总业株式会社 压配合端子
JP2020126725A (ja) * 2019-02-01 2020-08-20 矢崎総業株式会社 プレスフィット端子、及び、端子付き基板
JP2020129614A (ja) * 2019-02-08 2020-08-27 矢崎総業株式会社 回路基板と端子との接続構造、及び、端子
WO2022074916A1 (ja) * 2020-10-07 2022-04-14 株式会社オートネットワーク技術研究所 プレスフィット端子及びコネクタ装置
JP2022183630A (ja) * 2021-05-31 2022-12-13 住鉱テック株式会社 プレスフィット端子

Citations (5)

* Cited by examiner, † Cited by third party
Publication number Priority date Publication date Assignee Title
JP2007012279A (ja) * 2005-06-28 2007-01-18 Auto Network Gijutsu Kenkyusho:Kk プレスフィット端子
WO2008038331A1 (en) * 2006-09-25 2008-04-03 Autonetworks Technologies, Ltd. Press fit terminal
JP2009218455A (ja) * 2008-03-12 2009-09-24 Hitachi Ltd 電子機器および車載モジュール
US20110159743A1 (en) * 2009-12-30 2011-06-30 Johnescu Douglas M Eye-of-the-needle mounting terminal
EP2615696A1 (fr) * 2012-01-12 2013-07-17 Loupot Contact pour emmanchement en force

Patent Citations (5)

* Cited by examiner, † Cited by third party
Publication number Priority date Publication date Assignee Title
JP2007012279A (ja) * 2005-06-28 2007-01-18 Auto Network Gijutsu Kenkyusho:Kk プレスフィット端子
WO2008038331A1 (en) * 2006-09-25 2008-04-03 Autonetworks Technologies, Ltd. Press fit terminal
JP2009218455A (ja) * 2008-03-12 2009-09-24 Hitachi Ltd 電子機器および車載モジュール
US20110159743A1 (en) * 2009-12-30 2011-06-30 Johnescu Douglas M Eye-of-the-needle mounting terminal
EP2615696A1 (fr) * 2012-01-12 2013-07-17 Loupot Contact pour emmanchement en force

Cited By (14)

* Cited by examiner, † Cited by third party
Publication number Priority date Publication date Assignee Title
US10476186B2 (en) 2017-02-14 2019-11-12 Yazaki Corporation Press fit terminal
CN108429027A (zh) * 2017-02-14 2018-08-21 矢崎总业株式会社 压配合端子
JP7260314B2 (ja) 2019-02-01 2023-04-18 矢崎総業株式会社 プレスフィット端子、及び、端子付き基板
JP2020126725A (ja) * 2019-02-01 2020-08-20 矢崎総業株式会社 プレスフィット端子、及び、端子付き基板
JP7260314B6 (ja) 2019-02-01 2023-05-10 矢崎総業株式会社 プレスフィット端子、及び、端子付き基板
JP2020129614A (ja) * 2019-02-08 2020-08-27 矢崎総業株式会社 回路基板と端子との接続構造、及び、端子
JP7338982B2 (ja) 2019-02-08 2023-09-05 矢崎総業株式会社 回路基板と端子との接続構造
CN116529960A (zh) * 2020-10-07 2023-08-01 株式会社自动网络技术研究所 压配合端子及连接器装置
JP2022061666A (ja) * 2020-10-07 2022-04-19 株式会社オートネットワーク技術研究所 プレスフィット端子及びコネクタ装置
WO2022074916A1 (ja) * 2020-10-07 2022-04-14 株式会社オートネットワーク技術研究所 プレスフィット端子及びコネクタ装置
JP7413967B2 (ja) 2020-10-07 2024-01-16 株式会社オートネットワーク技術研究所 プレスフィット端子及びコネクタ装置
US12482963B2 (en) 2020-10-07 2025-11-25 Autonetworks Technologies, Ltd. Press-fit terminal and connector device
JP2022183630A (ja) * 2021-05-31 2022-12-13 住鉱テック株式会社 プレスフィット端子
JP7799161B2 (ja) 2021-05-31 2026-01-15 ミネベアコネクト株式会社 プレスフィット端子

Similar Documents

Publication Publication Date Title
JP4575494B2 (ja) 圧入ピン
JP5568677B1 (ja) 電気コネクタ
US7048594B2 (en) Terminal
JP5531974B2 (ja) コネクタ及び端子整列部材
JP2016091767A (ja) コネクタ
JP2015225701A (ja) プレスフィット端子
JP2005310626A (ja) 基板接続用板端子
JP6631591B2 (ja) プレスフィット端子及びその製造方法
JP2014110214A (ja) 雌端子
JP2015082434A (ja) コネクタ端子
JP2017216078A (ja) プレスフィット端子
JP6144235B2 (ja) コネクタ端子及び電気コネクタ
JP2018107079A (ja) 端子台
JP2005235410A (ja) 基板接続用端子
JP6299703B2 (ja) 雌端子
US20160120024A1 (en) Linear Conductor Connection Terminal
US9350101B2 (en) Male blade electrical connector
JP6085709B2 (ja) 雌端子構造
JP2017010921A (ja) 基板間コネクタ
WO2016167095A1 (ja) プレスフィット端子及び基板用コネクタ
JP2016173898A (ja) コネクタ、メスターミナル
JP3192828U (ja) 電気コネクタ
JP2019003761A (ja) プレスフィット端子及びそれを使用したコネクタ
JP6155820B2 (ja) プレスフィット用コネクタ端子
JP2013118102A (ja) 雌端子構造

Legal Events

Date Code Title Description
A621 Written request for application examination

Free format text: JAPANESE INTERMEDIATE CODE: A621

Effective date: 20161125

A977 Report on retrieval

Free format text: JAPANESE INTERMEDIATE CODE: A971007

Effective date: 20170808

A131 Notification of reasons for refusal

Free format text: JAPANESE INTERMEDIATE CODE: A131

Effective date: 20170829

A521 Request for written amendment filed

Free format text: JAPANESE INTERMEDIATE CODE: A523

Effective date: 20171020

A131 Notification of reasons for refusal

Free format text: JAPANESE INTERMEDIATE CODE: A131

Effective date: 20171031

A02 Decision of refusal

Free format text: JAPANESE INTERMEDIATE CODE: A02

Effective date: 20180424