JP2015217841A - 警光灯制御システムおよび警光灯制御システムを含む車両、警光灯制御システムのプログラム - Google Patents

警光灯制御システムおよび警光灯制御システムを含む車両、警光灯制御システムのプログラム Download PDF

Info

Publication number
JP2015217841A
JP2015217841A JP2014103468A JP2014103468A JP2015217841A JP 2015217841 A JP2015217841 A JP 2015217841A JP 2014103468 A JP2014103468 A JP 2014103468A JP 2014103468 A JP2014103468 A JP 2014103468A JP 2015217841 A JP2015217841 A JP 2015217841A
Authority
JP
Japan
Prior art keywords
warning light
control system
display
unit
pattern
Prior art date
Legal status (The legal status is an assumption and is not a legal conclusion. Google has not performed a legal analysis and makes no representation as to the accuracy of the status listed.)
Granted
Application number
JP2014103468A
Other languages
English (en)
Other versions
JP5979449B2 (ja
Inventor
博文 仲埜
Hirobumi Nakano
博文 仲埜
Current Assignee (The listed assignees may be inaccurate. Google has not performed a legal analysis and makes no representation or warranty as to the accuracy of the list.)
Patlite Corp
Original Assignee
Patlite Corp
Priority date (The priority date is an assumption and is not a legal conclusion. Google has not performed a legal analysis and makes no representation as to the accuracy of the date listed.)
Filing date
Publication date
Application filed by Patlite Corp filed Critical Patlite Corp
Priority to JP2014103468A priority Critical patent/JP5979449B2/ja
Publication of JP2015217841A publication Critical patent/JP2015217841A/ja
Application granted granted Critical
Publication of JP5979449B2 publication Critical patent/JP5979449B2/ja
Active legal-status Critical Current
Anticipated expiration legal-status Critical

Links

Images

Landscapes

  • Lighting Device Outwards From Vehicle And Optical Signal (AREA)

Abstract

【課題】警光灯の状態を容易に認識することができる警光灯制御システムおよび警光灯制御システムを含む車両、警光灯制御システムのプログラムを提供することである。
【解決手段】本発明に係る警光灯制御システム100は、CPU210が、ユーザによるサイレンアンプ200の操作に基づいた操作信号に応じ、RAM241、EEPROM242から選定された警光灯500の点灯パターンを用いて警光灯500を点灯制御する。また、CPU210は、データテーブルに基づいて消防車900の車内のサイレンアンプ200の複数のLED231の表示パターンを制御する。
【選択図】図4

Description

本発明は、主に警光灯制御システムおよび警光灯制御システムを含む車両、警光灯制御システムのプログラムに関する。
従来から、パトロールカーのような緊急用車両等においては、基台上に複数個の回転灯を配置するとともに、この回転灯を赤色などの着色透光材料で構成したグローブで覆い、回転灯から発生してグローブで着色された警告光を周囲に散光するようにした警光灯制御システムが用いられている。この警光灯制御システムについては、種々の開発が行なわれている。
例えば、特許文献1(特開2006−123813号公報)には、従来の警光灯システムの持っている点滅変化パターンが単調であり十分な注意を喚起できないという課題を解決する警光灯システムについて開示されている。
特許文献1記載の警光灯システムにおいては、スピーカ及び複数個の発光ユニットが基台に配置されてなる警光灯と、警光灯の各発光ユニットを独立して点灯制御することのできる制御装置とを備え、制御装置は、警光灯に対して、所定周期で発光ユニットを点滅させる点滅信号を送り出すとともに、スピーカに対して周波数が周期的に変化するサイレン信号を送り出すものであり、発光ユニットを点滅させる周期は、サイレン信号の周波数の変化周期と同期がとられているものである。
また、特許文献2(特開2013−56086号公報)には、車両から離れた作業者または複数台の緊急車両を統括する現場監督者などが、車両の状態を把握し易い、ライト制御システムおよび車両について開示されている。
特許文献2記載のライト制御システムにおいては、車両に搭載することが可能なライト制御システムであって、車両の外面に設置される少なくとも1つのライトと、車両の状態を測定するためのセンサと、センサからの車両の状態に応じて、少なくとも1つのライトの点灯方法を変更するためのプロセッサとを備えたものである。
特開2006−123813号公報 特開2013−56086号公報
以上のように、特許文献1または特許文献2に記載された装置は、記載された効果を奏する。
しかしながら、警光灯システムを制御する警光灯制御システムにおいては、次の課題も残されている。例えば、警光灯制御システムにおいて警光灯の点灯状態を、運転手などの乗員が認識することは、困難である。
本発明の目的は、警光灯の点灯状態を容易に車内から認識することができる警光灯制御システムおよび警光灯制御システムを含む車両、警光灯制御システムのプログラムを提供することである。
(1)
一局面に従う警光灯制御システムは、複数の発光部が配設された警光灯を制御する、警光灯制御システムであって、ユーザの操作に基づいて、複数の操作信号を出力する操作部と、車内において複数の表示を行うことが可能な表示部と、警光灯の点灯パターンおよび表示部の表示パターンを、操作部の操作信号にそれぞれ対応付けたデータテーブルを記憶する記憶部と、制御部と、を含み、制御部は、操作部からの操作信号とデータテーブルとによって対応付けられた警光灯の点灯パターンを用いて警光灯を制御するとともに、当該操作信号とデータテーブルとによって対応付けられた表示部の表示パターンを用いて表示部を制御するものである。
本発明にかかる警光灯制御システムは、制御部が、ユーザによる操作部の操作に基づいた操作信号に応じ、記憶部から選定された警光灯の点灯パターンを用いて警光灯を点灯制御する。また、制御部は、データテーブルに基づいて車内の表示部の表示パターンを制御する。
この場合、制御部は、警光灯を制御するとともに、データテーブルに基づいて、警光灯の点灯制御を示す表示パターンを車内の表示部に示すことができる。
したがって、車内の表示部を確認することで、警光灯の点灯制御の内容を認識することができる。例えば、ユーザは、車内に居ながら、実際の警光灯の点灯状態を認識することができる。
(2)
第2の発明にかかる警光灯制御システムは、一局面の発明にかかる警光灯制御システムにおいて、表示部は、操作部と一体に形成されてもよい。
この場合、表示部は、操作部と一体に形成されているので、ユーザは、操作を行うとともに、容易に実際の警光灯の点灯状態を認識することができる。
(3)
第3の発明にかかる警光灯制御システムは、一局面または第2の発明にかかる警光灯制御システムにおいて、表示部は、操作部の一機能表示と兼用されてもよい。
この場合、表示部を新たに別途設ける場合と異なり、兼用させることができるので、省スペース化を図ることができる。
(4)
第4の発明にかかる警光灯制御システムは、一局面または第2、第3の発明にかかる警光灯制御システムにおいて、データテーブルは、警光灯の点灯パターンと類似する点灯パターンを表示部の表示パターンとして記録されてもよい。
なお、類似とは、警光灯の点灯部分と、表示部の点灯部分との数が異なる場合でも、警光灯と表示部との点灯パターンが同じことを意味する。例えば、警光灯の一方向から点灯状態、消灯状態を繰り返す場合に、表示部の一方向から点灯状態、消灯状態を繰り返す。
この場合、警光灯の点灯パターンと類似する点灯パターンを表示部の表示パターンとして記録するため、ユーザは、実際の警光灯の点灯状態を容易に認識することができる。
(5)
第5の発明にかかる警光灯制御システムは、一局面または第2から第4の発明にかかる警光灯制御システムにおいて、方向指示器の出力を検知する検知部をさらに含み、制御部は、検知部の検知結果に応じて、警光灯の点灯パターンを方向指示器用の点灯パターンに変化させるとともに、警光灯の点灯パターンに応じて、表示部の表示パターンを方向指示器用の表示パターンに変化させてもよい。
この場合、方向指示器の出力を検知する検知部をさらに含む。そして、制御部は、方向指示器の出力がある場合に、警光灯の点灯パターンを方向指示器用の点灯パターンに変化させることができる。例えば、警光灯が複数の点灯部を有する場合、左折するときに右から左へ連続して点滅させたり、右折するときに左から右へ連続して点滅させたりしてもよい。
さらに、検知部の検知結果に応じて、表示部の表示パターンを方向指示器用の表示パターン、すなわち、警光灯と類似するパターンに変化させてもよい。例えば、警光灯が複数の点灯部を有する場合、表示部の表示を左折するときに右から左へ連続して点滅させたり、右折するときに左から右へ連続して点滅させたりしてもよい。
(6)
第6の発明にかかる警光灯制御システムは、一局面から第5の発明にかかる警光灯制御システムにおいて、データテーブルは、表示部の明暗データ、表示部の点滅消灯データまたは表示部の点灯消灯データを含んでもよい。
この場合、データテーブルは、表示部の明暗データ、表示部の点滅消灯データまたは表示部の点灯消灯データを含むので、ユーザは、容易に表示部の表示を認識することができる。
ここで、表示部の明暗データは、表示部の一部の輝度を上昇または下降させるデータであり、表示部の点滅消灯データは、表示部の一部を複数回オンまたは複数回オフさせるデータであり、表示部の点灯消灯データは、表示部の一部をオンオフさせるデータである。
(7)
第7の発明にかかる警光灯制御システムは、第5の発明にかかる警光灯制御システムにおいて、表示部は、複数の発光素子を有し、表示部の発光素子および警光灯の発光部は、車両に取りつけられた状態において、少なくともそれぞれ左右方向に沿って配列する部分を有し、制御部は、検知部の検知結果に基づき、方向指示器が指示する向きが左であると判定したことを条件として、複数の発光素子の右側から左側へ順次点灯または明度を増加する表示パターンによって表示部を制御するとともに、複数の発光部が右側から左側へ順次点灯または明度を増加する発光パターンによって警光灯を制御する左側制御と、方向指示器が指示する向きが右であると判定したことを条件として、複数の発光素子が左側から右側へ順次点灯または明度を増加する表示パターンによって表示部を制御するとともに、複数の発光部が左側から右側へ順次点灯または明度を増加する発光パターンによって警光灯を制御する右側制御とを含んでもよい。
この場合、制御部は、左側制御および右側制御を含むので、車両が右左折する際に、警光灯の点灯状態を、車内において容易に確認することができる。
(8)
第8の発明にかかる警光灯制御システムは、一局面から第7の発明にかかる警光灯制御システムにおいて、警光灯は、散光式警光灯であってもよい。
この場合、ユーザは、散光式警光灯の点灯制御を容易に認識することができる。
(9)
他の局面にかかる警光灯制御システムを含む車両は、請求項1乃至8のいずれか1項に記載の警光灯制御システムと、複数の発光部が配設された警光灯と、を有するものである。
この場合、制御部は、警光灯を点灯制御するとともに、データテーブルに基づいて、警光灯の点灯制御を示す表示パターンを車内の表示部に示すことができる。
したがって、車内の表示部を確認することで、警光灯の点灯制御の内容を認識することができる。例えば、ユーザは、車内に居ながら、実際の警光灯の点灯状態を認識することができる。
また、表示部は、液晶、プラズマディスプレイ、発光ダイオード、7セグメント、エレクトロルミネッセンスの少なくともいずれかを含んでもよい。
(10)
さらに他の局面に従う警光灯制御システムのプログラムは、複数の発光部が配設された警光灯を制御する、警光灯制御システムのプログラムであって、ユーザの操作に基づいて、複数の操作信号を出力する操作ステップと、車内において複数の表示を行うことが可能な表示ステップと、警光灯の点灯パターンおよび表示ステップの表示パターンを、操作ステップの操作信号にそれぞれ対応付けたデータテーブルを記憶する記憶ステップと、制御ステップと、を含み、制御ステップは、操作ステップからの操作信号とデータテーブルとによって対応付けられた警光灯の点灯パターンを用いて警光灯を制御するとともに、当該操作信号とデータテーブルとによって対応付けられた表示ステップの表示パターンを用いて表示ステップを制御するものである。
本発明にかかる警光灯制御システムのプログラムは、制御ステップが、ユーザによる操作ステップの操作に基づいた操作信号に応じ、記憶ステップから選定された警光灯の点灯パターンを用いて警光灯を点灯制御する。また、制御ステップは、データテーブルに基づいて車内の表示ステップの表示パターンを制御する。
この場合、制御ステップは、警光灯を制御するとともに、データテーブルに基づいて、警光灯の点灯制御を示す表示パターンを車内の表示ステップに示すことができる。
したがって、車内の表示ステップを確認することで、警光灯の点灯制御の内容を認識することができる。例えば、ユーザは、車内に居ながら、実際の警光灯の点灯状態を認識することができる。
本発明に係る警光灯制御システムを含む消防車の概要を説明するための模式的側面図である。 本発明に係る警光灯制御システムの主要部分の一例を示す模式図である。 サイレンアンプの一例を示す模式図である。 警光灯制御システムの選定モードの一例を示す模式図である。 警光灯制御システムの選定モードの移行状態を示す模式図である。 パトロールモードにおける警光灯の動作状態の一例を示す模式図である。 パトロールモードにおけるサイレンアンプの複数のLEDの動作状態の一例を示す模式図である。 緊急モードにおける警光灯の動作状態の一例を示す模式図である。 緊急モードにおけるサイレンアンプの複数のLEDの動作状態の一例を示す模式図である。 高警告モードAにおける警光灯の動作状態の一例を示す模式図である。 高警告モードAにおけるサイレンアンプの複数のLEDの動作状態の一例を示す模式図である。 高警告モードBにおける警光灯の動作状態の一例を示す模式図である。 高警告モードBにおけるサイレンアンプの複数のLEDの動作状態の一例を示す模式図である。 右折モードにおける警光灯の動作状態の一例を示す模式図である。 右折モードにおけるサイレンアンプの複数のLEDの動作状態の一例を示す模式図である。 左折モードにおける警光灯の動作状態の一例を示す模式図である。 左折モードにおけるサイレンアンプの複数のLEDの動作状態の一例を示す模式図である。 サイレンアンプの複数のLEDの他の例を示す模式図である。
以下、本発明に係る実施の形態について図面を用いて説明する。以下の説明では、同一の部品には同一の符号を付してある。それらの名称および機能も同じである。したがって、それらについての詳細な説明は繰り返さない。
本実施の形態においては、「車両」として、消防自動車(以下、単に消防車と呼ぶ。)に適用した場合について説明し、「警光灯」として散光式警光灯に適用した場合について説明する(以下、単に散光式警光灯を警光灯と呼ぶ。)。
ただし、「車両」は、パトロールカー、他の緊急車両、道路維持作業車、トラック、フォークリフト、建設機械などの他の車両であってもよい。
(実施の形態)
図1は、本発明に係る警光灯制御システム100を含む消防車900の概要を説明するための模式的側面図であり、図2は、本発明に係る警光灯制御システム100の主要部分の一例を示す模式図である。
まず、図1に示すように、消防車900の運転席に警光灯制御システム100のコントローラとなるサイレンアンプ200が設けられる。また、消防車900の屋根部分に、警光灯制御システム100に付随する警光灯500が設けられる。さらに、消防車900の前後左右に、警光灯制御システム100に付随するウィンカー610が配設される。
図1および図2に示すように、警光灯制御システム100は、サイレンアンプ200および外部スイッチ550を含む。
外部スイッチ550は、警光灯500に接続される。
警光灯制御システム100におけるサイレンアンプ200は、CPU(中央演算処理装置)210、サイレン制御回路220、LED(発光ダイオード)制御回路230、複数のLED(発光ダイオード)231、RAM(ランダムアクセスメモリ)241、EEPROM(不揮発性メモリ)242、警光灯制御回路250、信号入力回路260、および操作パネル270を主に含む。
CPU210は、サイレン制御回路220、LED制御回路230、RAM241、EEPROM242、警光灯制御回路250、信号入力回路260と接続される。
警光灯制御回路250は、警光灯500と接続され、サイレン制御回路220は、サイレンユニット530と接続され、信号入力回路260は、ウィンカー610および操作パネル270と接続される。その結果、CPU210は、ウィンカー610の動作情報を認識することができる。
LED制御回路230は、複数のLED231と接続される。
また、CPU210は、外部スイッチ550からの入力、操作パネル270からの入力、およびウィンカー610の動作情報に基づいて、サイレン制御回路220、LED制御回路230、警光灯制御回路250等の制御を行う。
その結果、サイレン制御回路220によりサイレンユニット530を介してサイレンが吹鳴され、LED制御回路230により複数のLED231の点灯消灯および明暗点灯が制御され、警光灯制御回路250により警光灯500の点灯(回転点灯、2回点灯)が制御される。
なお、本実施の形態においては、2回点灯を例示するが、それに限定されず、3回、4回等、他の任意の回数点灯させてもよく、点灯時間を任意に変更してもよい。
次に、図3は、サイレンアンプ200の一例を示す模式図である。図3に示すように、サイレンアンプ200は、操作パネル270、セグメント表示部271および複数のLED231を含む。
本実施の形態にかかる複数のLED231は、サイレンアンプ200の状態を明示する機能を基本的に有し、例えば、マイク、補助、音声、CH(チャンネル)、電源、交差点スイッチ、渋滞スイッチ、警光灯スイッチ、サイレンスイッチ等の各種の状態を示すものである。
例えば、LED231のうち左端のLEDが点灯中の場合は、サイレンアンプ200がマイクの拡声音量を調整する状態にあることを意味し、その状態でサイレンアンプ200のジョグダイヤルを回せば、マイクの拡声音量を調整することができる状態にあることを意味する。
また、他のLED231は、例えば、外部機器から入力される補助入力の音量を調整する状態、外部に出力する音声チャネルを設定する状態等を意味する。つまり、点灯するLED231によって、サイレンアンプ200のジョグダイヤルによって設定される対象が変化する。
また、後述するLED231の表示は、後述する『パトロールモード』、『緊急モード』、『高警告モードA』、『高警告モードB』、『右折モード』、『左折モード』のいずれかで表示されている時にマイク音量を調整するため、ジョグダイヤルを操作すると、上述のモードが解除され、音量の機能の設定表示に変わる構造を採用している。なお、マイク・補助・音声・CH以外の操作スイッチについては、他のスイッチ部(図示省略)でオンオフを表示している。
また、図3の操作パネル270は、図面に符号を付していないが、音声再生スイッチ、モニタ、警光灯スイッチ、サイレン吹鳴スイッチ、テストスイッチ、SDカードスロット、吹鳴スイッチ、手動スイッチ、吹鳴音量スイッチ、ジョグダイヤル、電源スイッチ、マイク入力端子、音声入り切りスイッチ等を含む。
操作パネル270を操作することにより、各動作が制御され、各機能が稼動または停止される。
(選定モード)
次に、図4は、警光灯制御システム100の選定モードの一例を示す模式図であり、図5は、警光灯制御システム100の選定モードの移行状態を示す模式図である。
図4に示すように、警光灯制御システム100では、サイレンアンプ200および/または外部スイッチ550の操作により、『パトロールモード』、『緊急モード』、『高警告モードA』、『高警告モードB』、『右折モード』、『左折モード』の6種類から選定される。
なお、これらの各種モードを含むデータテーブル700は、図2に示したRAM(ランダムアクセスメモリ)241、EEPROM(不揮発性メモリ)242の少なくとも一方に記録される。EEPROM242として、一般的にフラッシュメモリが使用される。
また、6種類を例示して説明するが、これに限定されず、その他の数の任意の種類で設定されてもよい。
図5に示すように、初期状態から警光灯スイッチが押下操作された場合、警光灯制御システム100のサイレンアンプ200は、緊急モード(ステップS1)に移行する。
次いで、緊急モード(ステップS1)において、外部スイッチ550がオン操作された場合、警光灯制御システム100のサイレンアンプ200は、パトロールモード(ステップS2)に移行する。
また、パトロールモード(ステップS2)において、外部スイッチ550がオフ操作された場合、警光灯制御システム100のサイレンアンプ200は、緊急モード(ステップS1)に移行する。
また、緊急モード(ステップS1)において、左折信号がオンされた場合、警光灯制御システム100のサイレンアンプ200は、左折モード(ステップS5)に移行し、左折信号がオフされた場合、直前の状態に移行する(ステップS7)。この場合、緊急モード(ステップS1)に移行する。
ここで、左折信号がオンされるとは、ウィンカー610が出力された状態を認識する場合を意味する。すなわち、消防車900が左折のためのウィンカー610が操作された状態である。右折信号がオンされると言う場合も、左折が右折に変更される以外は、同じである。
また、本実施の形態において、右折信号または左折信号がオフされた場合とは、ウィンカー610がOFFしてから1msec以上2sec以下の時間が経過した場合に右折信号または左折信号がオフされたと判定している。
また、緊急モード(ステップS1)において、右折信号がオンされた場合、警光灯制御システム100のサイレンアンプ200は、右折モード(ステップS6)に移行し、右折信号がオフされた場合、直前の状態に移行する(ステップS7)。この場合、緊急モード(ステップS1)に移行する。
続いて、パトロールモード(ステップS2)において、左折信号がオンされた場合、警光灯制御システム100のサイレンアンプ200は、左折モード(ステップS5)に移行し、左折信号がオフされた場合、直前の状態に移行する(ステップS7)。この場合、パトロールモード(ステップS2)に移行する。
また、パトロールモード(ステップS2)において、右折信号がオンされた場合、警光灯制御システム100のサイレンアンプ200は、右折モード(ステップS6)に移行し、右折信号がオフされた場合、直前の状態に移行する(ステップS7)。この場合、パトロールモード(ステップS2)に移行する。
また、緊急モード(ステップS1)において、警告スイッチAが押下操作された場合、警告灯システム100のサイレンアンプ200は、高警告モードA(ステップS3)に移行し、10秒経過した場合、緊急モード(ステップS1)に移行する。
同様に、緊急モード(ステップS1)において、警告スイッチBが押下操作された場合、警光灯制御システム100のサイレンアンプ200は、高警告モードB(ステップS4)に移行し、10秒経過した場合、緊急モード(ステップS1)に移行する。
高警告モードA(ステップS3)において、左折信号がオンされた場合、警光灯制御システム100のサイレンアンプ200は、左折モード(ステップS5)に移行し、左折信号がオフされた場合、直前の状態に移行する(ステップS7)。この場合、高警告モードA(ステップS3)に移行する。
同じく、高警告モードA(ステップS3)において、右折信号がオンされた場合、警光灯制御システム100のサイレンアンプ200は、右折モード(ステップS6)に移行し、右折信号がオフされた場合、直前の状態に移行する(ステップS7)。この場合、高警告モードA(ステップS3)に移行する。
また、高警告モードB(ステップS4)において、左折信号がオンされた場合、警光灯制御システム100のサイレンアンプ200は、左折モード(ステップS5)に移行し、左折信号がオフされた場合、直前の状態に移行する(ステップS7)。この場合、高警告モードB(ステップS4)に移行する。
同じく、高警告モードB(ステップS4)において、右折信号がオンされた場合、警光灯制御システム100のサイレンアンプ200は、右折モード(ステップS6)に移行し、右折信号がオフされた場合、直前の状態に移行する(ステップS7)。この場合、高警告モードB(ステップS4)に移行する。
なお、右折モードおよび左折モードが解除され、高警告モードAまたは高警告モードBへの移行から10秒以上経過している場合、高警告モードAまたは高警告モードBへ戻らずに、緊急モードへ移行する。
つまり、10秒のカウントは、高警告モードAまたは高警告モードBから右折モードおよび左折モードへ移行した後も継続してもよい。
以下、図2に示したRAM(ランダムアクセスメモリ)241、EEPROM(不揮発性メモリ)242のいずれかに予め記録された選定モードの具体例について説明する。
(パトロールモード)
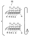
図6は、パトロールモードにおける警光灯500の動作状態の一例を示す模式図であり、図7は、パトロールモードにおけるサイレンアンプ200の複数のLED231の動作状態の一例を示す模式図である。
まず、警光灯制御システム100のサイレンアンプ200において『パトロールモード』が選定された場合、図4に示すように、警光灯500は、パターン1で点灯される。この場合、図6に示すように、警光灯500の内部が、矢印Rの方向に回転しつつ、明るさが周期的に変化する。
具体的には、警光灯500の内部のLED等の発光部のそれぞれが明暗を繰り返す。さらに、警光灯500の内部の反射鏡等を回転させることにより、矢印Rの方向に光を周囲に放光させることができる。
また、『パトロールモード』において、サイレンは、『オフ』であり、サイレンアンプ200の複数のLED231は、『パターンA』で表示される。
ここで、図7に示すように、サイレンアンプ200の複数のLED231の『パターンA』は、明るさが周期的に変化する。
すなわち、サイレンアンプ200の複数のLED231の明るさが周期的に変化する。なお、複数のLED231の明るさは、明暗を繰り返すのではなく、オンオフを繰り返してもよい。
(緊急モード)
次に、図8は、緊急モードにおける警光灯500の動作状態の一例を示す模式図であり、図9は、緊急モードにおけるサイレンアンプ200の複数のLED231の動作状態の一例を示す模式図である。
『緊急モード』が選定された場合、図4に示すように、警光灯500がパターン2で点灯される。
この場合、警光灯500は、ユニット毎に、点滅される。例えば、図8に示すように、両端部のユニットが2回点滅(フラッシュ)FLし、点滅し終えたユニットに隣接するユニットが、2回点滅FLし、最後に点滅FLし終えたユニットにさらに隣接するユニットが、2回点滅FLする。そして、当該点滅が繰り返される。
さらに、『緊急モード』において、サイレンは、『パターン1』の通常サイレンが吹鳴され、サイレンアンプ200の複数のLED231は、『パターンB』で表示される。
この場合、サイレンアンプ200の複数のLED231においては、図9に示すように、複数のLED231が2回点滅(フラッシュ)し、点滅し終えたLED231に隣接するLED231が2回点滅し、点滅し終えたLED231にさらに隣接するLED231が2回点滅する。同様に、LED231も点滅を繰り返す。
(高警告モードA)
次いで、図10は、高警告モードAにおける警光灯500の動作状態の一例を示す模式図であり、図11は、高警告モードAにおけるサイレンアンプ200の複数のLED231の動作状態の一例を示す模式図である。
ここで、高警告モードAとは、渋滞を通過する際に、選択されるモードを意味する。
『高警告モードA』が選定された場合、図4に示すように、警光灯500がパターン3で点灯される。この場合、図10に示すように、警光灯500は、内側ユニットから外側ユニットに向けて順次点灯を繰り返す。なお、パターン2の場合と異なり、2回点滅(フラッシュ)FLは行われない。
さらに、『高警告モードA』において、サイレンは、『パターン2』の通常サイレンよりも警告度の高い音が吹鳴され、サイレンアンプ200の複数のLED231は、『パターンC』で表示される。
この場合、サイレンアンプ200の複数のLED231においては、図11に示すように、複数のLED231が内側から外側に向かって順次点灯を繰り返す。
(高警告モードB)
次いで、図12は、高警告モードBにおける警光灯500の動作状態の一例を示す模式図であり、図13は、高警告モードBにおけるサイレンアンプ200の複数のLED231の動作状態の一例を示す模式図である。
ここで、高警告モードBとは、交差点へ侵入する際に選択されるモードを意味する。
『高警告モードB』が選定された場合、図4に示すように、警光灯500がパターン4で点灯される。この場合、図12に示すように、警光灯500は、ユニット全体が同時に2回点滅(フラッシュ)FLを繰り返す。
さらに、『高警告モードB』において、サイレンは、『パターン3』の通常サイレンおよび高警告サイレンAよりも警告度の高い音が吹鳴され、サイレンアンプ200の複数のLED231は、『パターンD』で表示される。
この場合、サイレンアンプ200の複数のLED231においては、図13に示すように、複数のLED231が同時に2回点滅(フラッシュ)を繰り返す。
(右折モード)
次いで、図14は、右折モードにおける警光灯500の動作状態の一例を示す模式図であり、図15は、右折モードにおけるサイレンアンプ200の複数のLED231の動作状態の一例を示す模式図である。
『右折モード』が選定された場合、図4に示すように、警光灯500がパターン5で点灯される。この場合、図14に示すように、警光灯500は、消防車900の後方から前方に向いて視認した状態で、左側から右側に順に点滅を繰り返す。すなわち、右折する方向へ、警光灯500が指し示すように点滅する。
さらに、『右折モード』において、サイレンは、『直前のモード』で吹鳴され、サイレンアンプ200の複数のLED231は、『パターンE』で表示される。
この場合、サイレンアンプ200の複数のLED231においては、図15に示すように、複数のLED231が左側から右側に順に点滅を繰り返す。
(左折モード)
次いで、図16は、左折モードにおける警光灯500の動作状態の一例を示す模式図であり、図17は、左折モードにおけるサイレンアンプ200の複数のLED231の動作状態の一例を示す模式図である。
『左折モード』が選定された場合、図4に示すように、警光灯500がパターン6で点灯される。この場合、図16に示すように、警光灯500は、消防車900の後方から前方に向いて視認した状態で、右側から左側に順に点滅を繰り返す。すなわち、左折する方向へ、警光灯500が指し示すように点滅する。
さらに、『左折モード』において、サイレンは、『直前のモード』で吹鳴され、サイレンアンプ200の複数のLED231は、『パターンF』で表示される。
この場合、サイレンアンプ200の複数のLED231においては、図17に示すように、複数のLED231が右側から左側に順に点滅を繰り返す。
次いで、図18は、サイレンアンプ200の複数のLED231の他の例を示す模式図である。
図18に示すように、複数のLED231は、例えば、運転席のインジケータ800内に設けられてもよい。なお、上記の実施の形態においては、運転席のインジケータ800について説明したが、これに限定されず、ハンドル部分、ボンネット部分など、消防車900の内部の任意の部分であってもよい。
以上のように、本発明にかかる警光灯制御システム100においては、警光灯500を点灯制御するとともに、データテーブル700に基づいて、警光灯500の点灯制御を示す表示パターンを消防車900内の複数のLED231に示すことができ、ユーザは、消防車900内に居ながら、実際の警光灯500の点灯状態を認識することができる。
また、サイレンアンプ200の複数のLED231を利用することにより、表示部を新たに設ける場合と異なり、省スペース化を図ることができる。
すなわち、本発明の実施の形態の複数のLED231は、警光灯500の状態を示す機能と、『パトロールモード』、『緊急モード』、『高警告モードA』、『高警告モードB』、『右折モード』、『左折モード』のいずれかを表示する表示機能とを兼ね備えているので、省スペース化を図ることができる。
さらに、右左折時においても、ウィンカー610、信号入力回路260からの信号に応じて、右左折それぞれの警光灯500の点灯と連動してサイレンアンプ200の複数のLED231に表示させることができる。
その結果、車外に出て警光灯500の稼動状況を確認することなく、車内にいながら警光灯500の稼動状況を確認することができる。
なお、上記の例においては、各種モードにより警光灯500の点灯消灯、または複数のLED231の点灯消灯および明暗点灯について説明したが、上記の例に限定されず、警光灯500および複数のLED231の両者が連動していることが好ましく、点灯動作は、任意に変更することができることは、いうまでもない。
なお、本実施の形態においては、各モードがそれぞれ異なるモードとして設定しているが、これらのうち複数個、例えば、パトロールモードおよび緊急モードは、サイレンアンプ200の複数のLED231において同じ表示であってもよい。
本発明においては、警光灯500が『警光灯、散光式警光灯』に相当し、サイレンアンプ200が『操作部』に相当し、複数のLED231が『表示部、一機能表示』に相当し、パターン1からパターン6が『警光灯の点灯パターン』に相当し、パターンAからパターンFが『表示部の表示パターン』に相当し、図4のデータテーブル700が『データテーブル』に相当し、RAM241、EEPROM242が『記憶部』に相当し、CPU210が『制御部』に相当し、警光灯制御システム100が『警光灯制御システム』に相当し、図5のフローが『警光灯制御システムのプログラム』に相当し、ステップS5が『左側制御』に相当し、ステップS6が『右側制御』に相当し、ウィンカー610が『方向指示器』に相当し、消防車900が『車両』に相当する。
なお、本発明の『表示部』は、必ずしも本実施の形態で例示したような複数のLED231として実現される必要はない。例えば、サイレンアンプ200には、操作パネル270側に露出された表示画面が設けられていてもよい。そして、CPU210は、例えば、マイク、補助、音声、CH(チャンネル)、電源、交差点スイッチ、渋滞スイッチ、警光灯スイッチ、サイレンスイッチ等の各種のオンオフを示す情報を、表示画面に表示させてもよい。
また、CPU210は、警光灯500の点灯パターンを示すため、警光灯500またはそのユニットが点灯している状態を示すアイコンまたは図形の動画を表示画面に表示させてもよい。ここで、表示画面が本発明の『表示部』に相当する。また、表示画面に表示されるアイコンまたは図形の動画が『表示部の表示パターン』に相当する。
本発明の好ましい実施の形態は上記の通りであるが、本発明はそれだけに制限されない。本発明の精神と範囲から逸脱することのない様々な実施形態が他になされることは理解されよう。さらに、本実施形態において、本発明の構成による作用および効果を述べているが、これら作用および効果は、一例であり、本発明を限定するものではない。
100 警光灯制御システム
200 サイレンアンプ
210 CPU
231 複数のLED
241 RAM
242 EEPROM
500 警光灯
610 ウィンカー
900 消防車

Claims (10)

  1. 複数の発光部が配設された警光灯を制御する、警光灯制御システムであって、
    ユーザの操作に基づいて、複数の操作信号を出力する操作部と、
    車内において複数の表示を行うことが可能な表示部と、
    前記警光灯の点灯パターンおよび前記表示部の表示パターンを、前記操作部の操作信号にそれぞれ対応付けたデータテーブルを記憶する記憶部と、
    制御部と、を含み、
    前記制御部は、前記操作部からの操作信号と前記データテーブルとによって対応付けられた前記警光灯の点灯パターンを用いて前記警光灯を制御するとともに、当該操作信号と前記データテーブルとによって対応付けられた前記表示部の表示パターンを用いて前記表示部を制御する、警光灯制御システム。
  2. 前記表示部は、前記操作部と一体に形成された、請求項1記載の警光灯制御システム。
  3. 前記表示部は、前記操作部の一機能表示と兼用された、請求項1または2記載の警光灯制御システム。
  4. 前記データテーブルは、前記警光灯の点灯パターンと類似する点灯パターンを前記表示部の表示パターンとして記録された、請求項1から3のいずれか1項に記載の警光灯制御システム。
  5. 方向指示器の出力を検知する検知部をさらに含み、
    前記制御部は、前記検知部の検知結果に応じて、前記警光灯の点灯パターンを前記方向指示器用の点灯パターンに変化させるとともに、前記警光灯の点灯パターンに応じて、前記表示部の表示パターンを方向指示器用の表示パターンに変化させる、請求項1から4のいずれか1項に記載の警光灯制御システム。
  6. 前記データテーブルは、前記表示部の明暗データ、前記表示部の点滅消灯データまたは前記表示部の点灯消灯データを含む、請求項1から5のいずれか1項に記載の警光灯制御システム。
  7. 前記表示部は、複数の発光素子を有し、
    前記表示部の前記発光素子および前記警光灯の前記発光部は、車両に取りつけられた状態において、少なくともそれぞれ左右方向に沿って配列する部分を有し、
    前記制御部は、前記検知部の検知結果に基づき、前記方向指示器が指示する向きが左であると判定したことを条件として、前記複数の発光素子の右側から左側へ順次点灯または明度を増加する表示パターンによって前記表示部を制御するとともに、複数の前記発光部が右側から左側へ順次点灯または明度を増加する発光パターンによって前記警光灯を制御する左側制御と、
    前記方向指示器が指示する向きが右であると判定したことを条件として、前記複数の発光素子が左側から右側へ順次点灯または明度を増加する表示パターンによって前記表示部を制御するとともに、前記複数の発光部が左側から右側へ順次点灯または明度を増加する発光パターンによって前記警光灯を制御する右側制御とを含む、請求項5に記載の警光灯制御システム。
  8. 前記警光灯は、散光式警光灯である、請求項1から7のいずれか1項に記載の警光灯制御システム。
  9. 請求項1乃至8のいずれか1項に記載の警光灯制御システムと、
    複数の発光部が配設された警光灯と、を含む車両。
  10. 複数の発光部が配設された警光灯を制御する、警光灯制御システムのプログラムであって、
    ユーザの操作に基づいて、複数の操作信号を出力する操作ステップと、
    車内において複数の表示を行うことが可能な表示ステップと、
    前記警光灯の点灯パターンおよび前記表示ステップの表示パターンを、前記操作ステップの操作信号にそれぞれ対応付けたデータテーブルを記憶する記憶ステップと、
    制御ステップと、を含み、
    前記制御ステップは、前記操作ステップからの操作信号と前記データテーブルとによって対応付けられた前記警光灯の点灯パターンを用いて前記警光灯を制御するとともに、当該操作信号と前記データテーブルとによって対応付けられた前記表示ステップの表示パターンを用いて前記表示ステップを制御する、警光灯制御システムのプログラム。
JP2014103468A 2014-05-19 2014-05-19 警光灯制御システムおよび警光灯制御システムを含む車両、警光灯制御システムのプログラム Active JP5979449B2 (ja)

Priority Applications (1)

Application Number Priority Date Filing Date Title
JP2014103468A JP5979449B2 (ja) 2014-05-19 2014-05-19 警光灯制御システムおよび警光灯制御システムを含む車両、警光灯制御システムのプログラム

Applications Claiming Priority (1)

Application Number Priority Date Filing Date Title
JP2014103468A JP5979449B2 (ja) 2014-05-19 2014-05-19 警光灯制御システムおよび警光灯制御システムを含む車両、警光灯制御システムのプログラム

Publications (2)

Publication Number Publication Date
JP2015217841A true JP2015217841A (ja) 2015-12-07
JP5979449B2 JP5979449B2 (ja) 2016-08-24

Family

ID=54777592

Family Applications (1)

Application Number Title Priority Date Filing Date
JP2014103468A Active JP5979449B2 (ja) 2014-05-19 2014-05-19 警光灯制御システムおよび警光灯制御システムを含む車両、警光灯制御システムのプログラム

Country Status (1)

Country Link
JP (1) JP5979449B2 (ja)

Cited By (4)

* Cited by examiner, † Cited by third party
Publication number Priority date Publication date Assignee Title
JP2019089473A (ja) * 2017-11-15 2019-06-13 株式会社トヨタカスタマイジング&ディベロップメント 緊急車両の報知装置
JP2019206225A (ja) * 2018-05-28 2019-12-05 株式会社大阪サイレン製作所 警光灯制御システム
JP2021070921A (ja) * 2019-10-29 2021-05-06 酒井重工業株式会社 建設車両の警報装置
JP2023124698A (ja) * 2022-02-25 2023-09-06 株式会社パトライト 散光式警光灯システムおよびそれを備える車両

Citations (4)

* Cited by examiner, † Cited by third party
Publication number Priority date Publication date Assignee Title
JPS57151445A (en) * 1981-03-11 1982-09-18 Matsushita Electric Ind Co Ltd Indicator of operation for automobile, etc.
JPS6439587U (ja) * 1987-08-28 1989-03-09
JP2006123813A (ja) * 2004-10-29 2006-05-18 Patoraito:Kk 警光灯システム
JP2008085476A (ja) * 2006-09-26 2008-04-10 Patoraito:Kk 警報音発生装置

Patent Citations (4)

* Cited by examiner, † Cited by third party
Publication number Priority date Publication date Assignee Title
JPS57151445A (en) * 1981-03-11 1982-09-18 Matsushita Electric Ind Co Ltd Indicator of operation for automobile, etc.
JPS6439587U (ja) * 1987-08-28 1989-03-09
JP2006123813A (ja) * 2004-10-29 2006-05-18 Patoraito:Kk 警光灯システム
JP2008085476A (ja) * 2006-09-26 2008-04-10 Patoraito:Kk 警報音発生装置

Cited By (6)

* Cited by examiner, † Cited by third party
Publication number Priority date Publication date Assignee Title
JP2019089473A (ja) * 2017-11-15 2019-06-13 株式会社トヨタカスタマイジング&ディベロップメント 緊急車両の報知装置
JP2019206225A (ja) * 2018-05-28 2019-12-05 株式会社大阪サイレン製作所 警光灯制御システム
JP2021070921A (ja) * 2019-10-29 2021-05-06 酒井重工業株式会社 建設車両の警報装置
JP7274399B2 (ja) 2019-10-29 2023-05-16 酒井重工業株式会社 建設車両の警報装置
JP2023124698A (ja) * 2022-02-25 2023-09-06 株式会社パトライト 散光式警光灯システムおよびそれを備える車両
JP7488841B2 (ja) 2022-02-25 2024-05-22 株式会社パトライト 散光式警光灯システムおよびそれを備える車両

Also Published As

Publication number Publication date
JP5979449B2 (ja) 2016-08-24

Similar Documents

Publication Publication Date Title
JP7011901B2 (ja) 制御装置及び点灯システム
JP7217243B2 (ja) 自動運転表示システムおよび車両用コミュニケーションシステム
US8588997B2 (en) Devices and methods for controlling vehicle lights
JP5979449B2 (ja) 警光灯制御システムおよび警光灯制御システムを含む車両、警光灯制御システムのプログラム
JP2015202700A (ja) 報知装置
US9789822B2 (en) Mirror controller unit for emergency vehicle warning devices
JP5968389B2 (ja) ボタン選択トレース光インジケータ
JP5256266B2 (ja) 複合型警報器
JP2005297618A (ja) 車両用計器パネルの多重報知装置
KR101091829B1 (ko) 가변식 브레이크등
JP2016124503A (ja) 車両用方向指示装置
JP5777021B2 (ja) ライト制御システムおよび車両
JP6502700B2 (ja) 車内照明装置
JP2005331493A (ja) 車両用表示装置
KR20180080922A (ko) 점등과 점멸을 동시에 표시하는 교통 신호등
JP4820064B2 (ja) 複合型警報器
JP4786877B2 (ja) 警報器
KR101616110B1 (ko) 차량의 클러스터 제어 장치 및 방법
JP3201214U (ja) 車両
JP5062124B2 (ja) 車両用表示装置
JP2011000942A (ja) 車両用状態表示装置
JP2004090810A (ja) 車両用表示ユニット
JP2009226963A (ja) 乗物用調光システム
KR100839490B1 (ko) 문자 디스플레이가 가능한 긴급차량용 경광등
JP2003191771A (ja) 車両用計器装置

Legal Events

Date Code Title Description
A977 Report on retrieval

Free format text: JAPANESE INTERMEDIATE CODE: A971007

Effective date: 20160114

A131 Notification of reasons for refusal

Free format text: JAPANESE INTERMEDIATE CODE: A131

Effective date: 20160128

A521 Request for written amendment filed

Free format text: JAPANESE INTERMEDIATE CODE: A523

Effective date: 20160323

TRDD Decision of grant or rejection written
A01 Written decision to grant a patent or to grant a registration (utility model)

Free format text: JAPANESE INTERMEDIATE CODE: A01

Effective date: 20160630

A61 First payment of annual fees (during grant procedure)

Free format text: JAPANESE INTERMEDIATE CODE: A61

Effective date: 20160713

R150 Certificate of patent or registration of utility model

Ref document number: 5979449

Country of ref document: JP

Free format text: JAPANESE INTERMEDIATE CODE: R150

R250 Receipt of annual fees

Free format text: JAPANESE INTERMEDIATE CODE: R250

R250 Receipt of annual fees

Free format text: JAPANESE INTERMEDIATE CODE: R250

R250 Receipt of annual fees

Free format text: JAPANESE INTERMEDIATE CODE: R250

R250 Receipt of annual fees

Free format text: JAPANESE INTERMEDIATE CODE: R250

R250 Receipt of annual fees

Free format text: JAPANESE INTERMEDIATE CODE: R250

R250 Receipt of annual fees

Free format text: JAPANESE INTERMEDIATE CODE: R250

R250 Receipt of annual fees

Free format text: JAPANESE INTERMEDIATE CODE: R250