JP2015202808A - 乳母車 - Google Patents

乳母車 Download PDF

Info

Publication number
JP2015202808A
JP2015202808A JP2014083658A JP2014083658A JP2015202808A JP 2015202808 A JP2015202808 A JP 2015202808A JP 2014083658 A JP2014083658 A JP 2014083658A JP 2014083658 A JP2014083658 A JP 2014083658A JP 2015202808 A JP2015202808 A JP 2015202808A
Authority
JP
Japan
Prior art keywords
pair
brake
baby carriage
casters
members
Prior art date
Legal status (The legal status is an assumption and is not a legal conclusion. Google has not performed a legal analysis and makes no representation as to the accuracy of the status listed.)
Granted
Application number
JP2014083658A
Other languages
English (en)
Other versions
JP6445249B2 (ja
Inventor
中山 寛
Hiroshi Nakayama
寛 中山
満哉 益子
Mitsuya Masuko
満哉 益子
Current Assignee (The listed assignees may be inaccurate. Google has not performed a legal analysis and makes no representation or warranty as to the accuracy of the list.)
Newell Brands Japan GK
Original Assignee
Aprica Childrens Products Inc
Priority date (The priority date is an assumption and is not a legal conclusion. Google has not performed a legal analysis and makes no representation as to the accuracy of the date listed.)
Filing date
Publication date
Application filed by Aprica Childrens Products Inc filed Critical Aprica Childrens Products Inc
Priority to JP2014083658A priority Critical patent/JP6445249B2/ja
Publication of JP2015202808A publication Critical patent/JP2015202808A/ja
Application granted granted Critical
Publication of JP6445249B2 publication Critical patent/JP6445249B2/ja
Active legal-status Critical Current
Anticipated expiration legal-status Critical

Links

Images

Landscapes

  • Carriages For Children, Sleds, And Other Hand-Operated Vehicles (AREA)

Abstract

【課題】幅方向に並ぶ一対のキャスタの車輪に、同時にブレーキをかけることのできる乳母車を提供する。
【解決手段】乳母車(1)は、幅方向に並ぶ一対のキャスタ(30a,30b)と、一対のブレーキ部材(60a,60b)と、連結部材(70)と、操作部材(50)とを備える。一対のブレーキ部材(60a,60b)は、一対のキャスタ(30a,30b)それぞれの車輪(31)の回転を停止するために設けられ、車輪(31)と係合する係合位置と、車輪(31)と係合しない非係合位置との間を変位する。連結部材(70)は、一対のキャスタそれぞれの旋回軸線(La,Lb)を通り、一対のブレーキ部材(60a,60b)に両端が連結されている。操作部材(50)は、一対のブレーキ部材(60a,60b)の係合位置と非係合位置とに対応して、連結部材(70)の位置を変位させる。
【選択図】図4

Description

本発明は、乳母車に関し、特に、幅方向に並んで配置された少なくとも一対のキャスタを備えた乳母車に関する。
両対面式の乳母車、すなわち背面押しおよび対面押しの両状態に切替え可能な乳母車は、前脚および後脚の双方に、旋回自在なキャスタを備えている。これに対し、背面押し状態のみが可能な乳母車は、一般的に、前輪側にのみキャスタを備えている。
背面押し状態のみが可能な乳母車においては、一対の旋回しない後輪間にブレーキ用の1つの操作部材を設けることで、一対の後輪に同時にブレーキをかけることができる。一方、両対面式の乳母車においては、前脚側または後脚側に位置する一対のキャスタそれぞれに、ブレーキ用の操作部材を独立して設けることが一般的である。
キャスタの分野においては、以下に示すように、キャスタの旋回は可能としたままで、車輪にブレーキをかける技術が提案されている。
特開平11−240305号公報(特許文献1)には、キャスタの旋回軸内に伝達部材を通し、伝達部材を上下移動させることで車輪を回転自在状態または回転不可状態とすることが開示されている。特開平8−192602号公報(特許文献2)には、旋回キャスタの車輪のみを制動させるために、旋回軸内に、旋回軸に干渉されることなく自由に上下動できるシャフトを設けることが開示されている。特開平7−32807号公報(特許文献3)には、支軸の軸心に貫通させたブレーキ操作部材の下端を、スプリング付勢により車輪に制動力を常時与えるようにしたブレーキシューの回動端に連結することが開示されている。
特開平11−240305号公報 特開平8−192602号公報 特開平7−32807号公報
従来の両対面式の乳母車のように、ブレーキ用の操作部材が左右のキャスタに独立して設けられる場合、ユーザは、乳母車を停止するために2つの操作部材を個別に操作しなければならない。そのため、乳母車のブレーキ操作は、ユーザにとって負担となっていた。
また、上述のように、キャスタの旋回は可能としたままで車輪にブレーキをかけることのできるキャスタが従来から提案されているものの、幅方向に並ぶ一対のキャスタの車輪に、同時にブレーキをかける技術は存在しない。
本発明は、上記のような課題を解決するためになされたものであって、その目的は、幅方向に並ぶ一対のキャスタの車輪に、同時にブレーキをかけることのできる乳母車を提供することである。
この発明のある局面に従う乳母車は、本体フレームと、一対のキャスタと、一対のブレーキ部材と、連結部材と、操作部材とを備える。本体フレームは、幅方向に互いに離れて配置される一対の脚部を含む。一対のキャスタは、一対の脚部の下端にそれぞれ設けられている。一対のブレーキ部材は、一対のキャスタそれぞれの車輪の回転を停止するために設けられ、車輪と係合する係合位置と、車輪と係合しない非係合位置との間を変位する。連結部材は、一対のキャスタそれぞれの旋回軸線を通り、一対のブレーキ部材に両端が連結されている。操作部材は、一対のブレーキ部材の係合位置と非係合位置とに対応して、連結部材の位置を変位させる。
好ましくは、連結部材は、ワイヤである。
好ましくは、各キャスタは、脚部の下端に固定され、旋回軸線に沿って延びる固定部を含む。この場合、乳母車は、各キャスタの固定部内に設けられ、ワイヤの一端、および、ブレーキ部材の上端部が連結された中継部材をさらに備えることが望ましい。
また、ブレーキ部材の上端部は、中継部材に対し、旋回軸線を中心として回転可能に連結されていることが望ましい。
好ましくは、乳母車は、各キャスタの固定部内に設けられ、ブレーキ部材を非係合位置に向かわせる方向に、中継部材を付勢するための弾性部材をさらに備えることが望ましい。
好ましくは、操作部材は、ワイヤに固定され、一対のブレーキ部材を係合位置に向かわせる方向と非係合位置に向かわせる方向とに移動させるために変位する一対の変位部材と、一対の変位部材を変位させるために、ユーザにより操作されるユーザ操作部とを含む。
ワイヤは、一対のブレーキ部材のうちの一方のブレーキ部材に一端が連結された第1のワイヤと、一対のブレーキ部材のうちの他方のブレーキ部材に一端が連結された第2のワイヤとを含んでいてもよい。この場合、一対の変位部材は、第1および第2のワイヤの他端にそれぞれ固定されることが望ましい。
本体フレームは、一対の脚部を連結する横架部材をさらに含んでもよい。この場合、操作部材は、横架部材に設けられてもよい。
好ましくは、一対のキャスタそれぞれの車輪のスポーク部に、少なくとも1つの被係合部が設けられ、各ブレーキ部材は、スポーク部の被係合部に係合する係合部を有する。
スポーク部のうちのハブは、車輪の回転軸心を中心とするリング部を有していてもよい。この場合、リング部の内周面に沿って、複数の被係合部が設けられていることが望ましい。
好ましくは、当該乳母車は、背面押し状態および対面押し状態の両状態に切替可能である。この場合、一対の脚部は、背面押し状態において前方に位置する一対の前脚、および、後方に位置する一対の後脚のうちのいずれかであればよい。
本発明によれば、幅方向に並ぶ一対のキャスタの車輪に、同時にブレーキをかけることができる。
本発明の実施の形態に係る乳母車の概略構造を、背面押し状態にて示す側面図である。 本発明の実施の形態に係る乳母車の概略構造を、対面押し状態にて示す側面図である。 本発明の実施の形態において、走行可能状態における乳母車を模式的に示す背面図である。 本発明の実施の形態において、ブレーキ状態における乳母車を模式的に示す背面図である。 本発明の実施の形態において、走行可能状態におけるブレーキ部材周辺の構造を模式的に示す断面図である。 本発明の実施の形態において、ブレーキ状態におけるブレーキ部材周辺の構造を模式的に示す断面図である。 本発明の実施の形態において、走行可能状態における車輪のスポーク部とブレーキ部材との位置関係を模式的に示す断面図である。 本発明の実施の形態において、ブレーキ状態における車輪のスポーク部とブレーキ部材との位置関係を模式的に示す断面図である。 図3に示すIX−IX線に沿って切断した場合の操作部材を示す断面図である。 本発明の実施の形態における操作部材の変位部材を示す斜視図である。 本発明の実施の形態において、走行可能状態における操作部材の内部構造を示す横断面図である。 本発明の実施の形態において、ブレーキ状態における操作部材の内部構造を示す横断面図である。 本発明の実施の形態において、操作部材の変位部材の位置を、ブレーキ部材と車輪とが係合状態となる位置に維持させるための原理を概念的に示す図である。
本発明の実施の形態について図面を参照しながら詳細に説明する。なお、図中同一または相当部分には同一符号を付してその説明は繰返さない。
<乳母車の概略構造について>
はじめに、図1および図2を参照して、本実施の形態に係る乳母車の概略構造について説明する。乳母車1は、いわゆる両対面式であり、背面押し状態および対面押し状態の両状態に切替え可能である。図1には、背面押し状態における乳母車1が示され、図2には、対面押し状態における乳母車1が示されている。図1の矢印A1および図2の矢印A2は、ともに、乳母車1の進行方向を示している。なお、乳母車1は、図1に示される背面押し状態が基本形であるものとする。
乳母車1は、フレーム部10と、2対のキャスタ20,30と、一対の押棒40とを備えている。フレーム部10は、一対の前脚11と、一対の後脚12と、一対の座部支持部材13と、一対の背もたれ部支持部材14と、一対の前脚11を連結する横架部材(図示せず)と、一対の後脚12を連結する横架部材15(図3等)とを含んでいる。
一対の前脚11は、背面押し状態において前方に位置し、対面押し状態において後方に位置する。一対の前脚11は、幅方向に互いに離れて配置される一対の脚部である。一対の後脚12は、背面押し状態において後方に位置し、対面押し状態において前方に位置する。一対の後脚12もまた、幅方向に互いに離れて配置される一対の脚部である。なお、「幅方向」とは、左右方向と同義であり、進行方向に直交する方向を表わす。
一対のキャスタ20は、一対の前脚11の下端にそれぞれ設けられる。つまり、一対のキャスタ20は、背面押し状態における進行方向前方位置において、幅方向に並んで配置されている。各キャスタ20は、車輪(前輪)21を有している。
一対のキャスタ30は、一対の後脚12の下端にそれぞれ設けられる。つまり、一対のキャスタ30は、背面押し状態における進行方向後方位置において、幅方向に並んで配置されている。各キャスタ30は、車輪(後輪)31を有している。
乳母車1は、背面押し状態および対面押し状態のいずれにおいても、進行方向後方に位置するキャスタの旋回を不可とするための旋回ロック機構(図示せず)を有している。つまり、背面押し状態の場合、後脚12側のキャスタ30の旋回がロックされ、対面押し状態の場合、前脚11側のキャスタ20の旋回がロックされる。なお、この旋回ロック機構としては、公知の構成が採用されてもよい。
一対の押棒40は、上下方向に延び、枢軸41を介してフレーム部10に取り付けられている。一対の押棒40の上端部同士は、ハンドル部42によって連結されている。押棒40は、この枢軸41を中心として前後方向に回動可能であり、図1に示す背面押し位置と、図2に示す対面押し位置とに切替えられる。
上述のように、両対面式の乳母車1は、前脚11側および後脚12側の双方に、キャスタ20,30が1対ずつ設けられている。一般的な両対面式の乳母車では、たとえば後脚側のキャスタごとに、ブレーキ用の操作部材が設けられる。これに対し、本実施の形態に係る乳母車1は、一対のキャスタのブレーキ用に、単一の操作部材50を備えている。このような乳母車1のブレーキ機構について、以下に説明する。
<ブレーキ機構について>
図3,図4を参照して、まず、乳母車1のブレーキ機構の概要について説明する。図3には、走行可能状態において、背面側(図1の矢印III方向)から見た乳母車1が模式的に示されている。図4には、ブレーキ状態において、背面側から見た乳母車1が模式的に示されている。なお、以下の説明では、走行可能状態を、フリー状態という。
乳母車1は、ブレーキ機構として、操作部材50に加え、主に、一対のブレーキ部材60a,60bと、連結部材70とをさらに備えている。ブレーキ部材60a,60bは、たとえば後脚12側の一対のキャスタ30にそれぞれ設けられている。以下の説明において、後脚12およびキャスタ30について左右を区別する必要がある場合には、背面側から見て左側のものを、後脚12aおよびキャスタ30aといい、背面側から見て右側のものを、後脚12bおよびキャスタ30bという。
各ブレーキ部材60a,60bは、車輪31と係合する係合位置と、車輪31と係合しない非係合位置との間を変位する。ブレーキ部材60a,60bが係合位置に位置する場合、車輪31は回転不可とされ、ブレーキ部材60a,60bが非係合位置に位置する場合、車輪31は回転可能とされる。
連結部材70は、キャスタ30a,30bそれぞれの旋回軸線La,Lbを通り、ブレーキ部材60a,60bに両端が連結されている。連結部材70の両端は、一対の中継部材80a,80bを介して、ブレーキ部材60a,60bの上端部にそれぞれ連結されていることが望ましい。中継部材80a,80bについては後述する。
本実施の形態では、連結部材70は、2本のワイヤ70a,70bにより構成されている。ワイヤ70aは、キャスタ30aの旋回軸線Laを通り、一方のブレーキ部材60aに一端が(間接的に)連結される。ワイヤ70bは、キャスタ30bの旋回軸線Lbを通り、他方のブレーキ部材60bに一端が(間接的に)連結される。ワイヤ70a,70bの他端は、操作部材50に連結される。なお、連結部材70は、1本のワイヤで構成されてもよい。
操作部材50は、ブレーキ部材60a,60bの係合位置および非係合位置に対応して、連結部材70、すなわちワイヤ70a,70bの位置を変位させる。操作部材50は、たとえば横架部材15に設けられている。
次に、ブレーキ部材60a,60b周辺の構造例、および、操作部材50周辺の構造例について、詳細について説明する。
(ブレーキ部材周辺の構造例について)
まず、図5および図6をさらに参照して、ブレーキ部材60a,60b周辺の構造例について、詳細に説明する。図5は、フリー状態におけるブレーキ部材60a周辺の構造を模式的に示す断面図である。図6は、ブレーキ状態におけるブレーキ部材60a周辺の構造を模式的に示す断面図である。なお、ここでは、代表的に、背面から見てたとえば左側に位置するブレーキ部材60a周辺の構造例についてのみ説明するが、乳母車1は、典型的には左右対称に形成されているため、右側に位置するブレーキ部材60b周辺の構造も同様である。
ブレーキ部材60aが係合する車輪31は、キャスタ30aに含まれている。キャスタ30aは、車輪31に加え、後脚12aの下端に固定された固定部32と、固定部32に旋回可能に連結された旋回部33とを含む。固定部32は、キャスタ30aの旋回軸線Laに沿って延びている。旋回部33は、車輪31を保持する一対の車輪保持部材330を有している。車輪31には、ハブ311を有するスポーク部310が含まれる。
キャスタ30aの固定部32内には、上述の中継部材80aと、弾性部材の一例であるスプリング81とが設けられている。一対の中継部材80a,80b、および、一対のスプリング81も、ブレーキ機構に含まれる。
中継部材80aには、ワイヤ70aの一端、および、ブレーキ部材60aの上端部が連結されている。中継部材80aは、固定部32内を上下方向にのみ移動する。ワイヤ70aの一端は、中継部材80aに固定されている。これに対し、ブレーキ部材60aの上端部は、中継部材80aに対し、旋回軸線Laを中心として回転可能に連結されている。つまり、中継部材80aは、ブレーキ部材60aの上端部を回転可能に保持している。
スプリング81は、ブレーキ部材60aを非係合位置に向かわせる方向に、中継部材80aを付勢している。本実施の形態では、非係合位置は係合位置よりも相対的に低い位置にあるため、スプリング81は、中継部材80aを下方に付勢している。
ブレーキ部材60aは、キャスタ30aの旋回部33に対して上下方向に移動するが、回転方向については、旋回部33と一体的に回転する。図3〜図6に示されるように、ブレーキ部材60aは、上下方向に延びるロッド部61と、ロッド部61の上端部に設けられた被保持部62と、ロッド部61の下端部に設けられた係合部63とを有する。
ブレーキ部材60aのロッド部61は、フリー状態およびブレーキ状態のいずれにおいても、車輪31に対して非当接となるような形状を有している。具体的には、ブレーキ部材60aのロッド部61は、第1〜第3ロッド611〜613によって構成されている。第1ロッド611は、被保持部62に連結され、旋回軸線Laに沿って延びている。第2ロッド612は、係合部63に連結され、車輪31とは非当接状態で車輪31の側面に沿って延びている。第3ロッド613は、車輪31とは非当接状態で車輪31の上方に位置し、第1ロッド611と第2ロッド612とを連結している。
ブレーキ部材60aの被保持部62は、その中心が旋回軸線La上に位置するように、中継部材80aに保持されている。被保持部62は、たとえば中継部材80aの内部に配置されている。なお、中継部材80aは、被保持部62の中心が旋回軸線La上に位置するように被保持部62を保持できればよく、図示されるような構造に限定されない。
ブレーキ部材60aの係合部63は、車輪31のスポーク部310に設けられた少なくとも1つの被係合部34に係合される。被係合部34については、図7および図8を参照して説明する。図7は、フリー状態における車輪31のスポーク部310とブレーキ部材60aとの位置関係を模式的に示す断面図である。図8は、ブレーキ状態における車輪31のスポーク部310とブレーキ部材60aとの位置関係を模式的に示す断面図である。
本実施の形態では、複数の被係合部34が、スポーク部310のうちのハブ311に設けられている。ハブ311は、車輪31の回転軸心を中心とするリング部312を有している。この場合、多数の被係合部34が、リング部312の内周面に沿って、近接して設けられていることが望ましい。
ブレーキ部材60aの係合部63は、ロッド部61(第2ロッド612)の下端から、車輪31の回転軸心に沿って、車輪31の幅方向中心部側へ延びている。フリー状態において、係合部63は、図7に示されるように、リング部312の内周面よりも回転軸心側に位置する。具体的には、ハブ311の車軸保持部313と、リング部312との間の環状空間に位置する。一方、ブレーキ状態において、係合部63は、図8に示されるように、被係合部34に嵌まり込む。これにより、キャスタ30aの車輪31の回転がロックされる。
(操作部材周辺の構造例について)
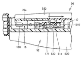
次に、図9をさらに参照して、操作部材50周辺の構造例について、詳細に説明する。図9は、図3に示すIX−IX線に沿って切断した場合の操作部材50を示す断面図である。
図3、図4および図9に示されるように、操作部材50は、一対の変位部材51a,51bと、ユーザ操作部52とを含む。変位部材51a,51bは、ワイヤ70a,70bの他端にそれぞれ固定される。
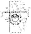
ユーザ操作部52は、乳母車1の状態をブレーキ状態とフリー状態とのいずれかに切り替えるために、ユーザにより操作される。典型的には、ユーザ操作部52は、第1および第2の姿勢をとり得る操作レバー部521を有している。本実施の形態では、操作レバー部521は、平板状に形成されている。操作レバー部521は、断面略U字形状のレバー保持部522に連結されており、レバー保持部522によって横架部材15に回動可能に連結されている。
操作レバー部521が第1の姿勢をとっている場合、乳母車1はフリー状態であり、操作レバー部521が第2の姿勢をとっている場合、乳母車1はブレーキ状態である。第1の姿勢の操作レバー部521は、たとえば、図3に示されるように、横架部材15上において略水平に配置されている。第2の姿勢の操作レバー部521は、たとえば、図4に示されるように、横架部材15の後方側において、第1の姿勢から略90度傾いた状態で配置されている。なお、図9では、第1の姿勢が実線で示され、第2の姿勢が想像線で示されている。
操作レバー部521は、第1の姿勢において横架部材15よりも後方へ張り出す張出部523を有している。そのため、ユーザは、乳母車1にブレーキをかける際に、張出部523の上面を、足などで押し下げることで、操作レバー部521の姿勢を第2の姿勢に変化させることができる。逆に、ブレーキ状態を解除する際には、ユーザは、張出部523の裏面を、足などで押し上げることで、操作レバー部521の姿勢を第1の姿勢に変化させることができる。
変位部材51a,51bについては、さらに図10を用いて説明する。図10は、操作部材50の変位部材51a,51bを示す斜視図である。図10には、ユーザ操作部52のうち操作レバー部521を取り除いた状態が示されている。
変位部材51a,51bは、一対のブレーキ部材60a,60bを係合位置に向かわせる方向と非係合位置に向かわせる方向とに移動させるために変位する。本実施の形態では、一対の変位部材51a,51bは、ユーザ操作部52と係合することによって変位する。具体的には、操作レバー部521が第1の姿勢をとっている場合、互いに離れた位置(以下「離間位置」という)に配置され、操作レバー部521が第2の姿勢をとっている場合、互いに近接した位置(以下「近接位置」という)に配置される。
図10に示されるように、変位部材51a,51bは、横架部材15上に固定された案内部材17によって、幅方向の移動が案内される。図10では、変位部材51a,51bが離間位置に配置されている。案内部材17は、幅方向に延びる溝部171を有している。溝部171は、変位部材51a,51bのレールとして機能する。また、溝部171の両端部に、ワイヤ70a,70bが挿通される一対の通路部172を有している。
案内部材17の溝部171には、弾性部材の一例であるスプリング54が設けられている。スプリング54は、変位部材51a,51bを互いに遠ざける方向に付勢する。つまり、スプリング54は、ブレーキ部材60a,60bを、非係合位置に向かわせる方向に付勢している。なお、図10に示されるように、溝部171のうちのスプリング54が位置する部分の上方は、覆い部173によって覆われていてもよい。
なお、本実施の形態では、一続きの溝部171内に、2つの変位部材51a,51bと、1つのスプリング54とを設けることとした。しかしながら、案内部材17の幅方向中央位置で区画された溝部ごとに、1つの変位部材と1つのスプリングとを設けてもよい。
変位部材51a,51bは、各々、上方に突出する円筒状または円柱状の突出部510と、ワイヤ70a,70bの他端に取り付けられた留具(図示せず)が嵌入される凹部511とを有している。なお、ワイヤ70a,70bは、それぞれ、後脚12a,12bに設けられた開口16(図5,図6)に挿通されて、横架部材15内に引き込まれている。また、横架部材15の上面に設けられた一対の開口150から横架部材15上に引き出されている。
ここで、図11および図12をさらに用いて、変位部材51a,51bを変位させるための操作部材50の構造例について説明する。図11は、フリー状態における操作部材50の内部構造を部分的に示す横断面図である。図12は、ブレーキ状態における操作部材50の内部構造を部分的に示す横断面図である。なお、これらの図において、スプリング54の図示は省略している。
操作部材50は、操作レバー部521の裏面に設けられた一対の当接部53をさらに含む。各当接部53は、突出部510の側面に当接する案内面530を有している。当接部53の案内面530は、操作レバー部521の回動に伴い、変位部材51a,51bを幅方向にスライド移動させることのできる形状となっている。
操作レバー部521が第1の姿勢から第2の姿勢に回動された場合に、一対の変位部材51a,51bは、案内面530により突出部510が押されることによって、近接位置に向けて移動させられる。この場合、変位部材51a,51bに固定されたワイヤ70a,70bの他端側が、幅方向中央側に引っ張られる。そうすると、ワイヤ70a,70bの一端側は、キャスタ30a,30bの旋回軸線La,Lbに沿って引き上げられるため、ブレーキ部材60a,60bも引き上げられる。その結果、ブレーキ部材60a,60bと車輪31とが係合状態とされる。
ここで、ブレーキ部材60a,60bと車輪31とを係合状態に維持するためには、操作レバー部521が一旦第2の姿勢に変位されると、変位部材51a,51bを近接位置にて維持させておく必要がある。そのため、本実施の形態では、たとえば案内面530上に、思案点531(図13)が設けられている。変位部材51a,51bを近接位置にて維持するための原理については、図13を用いて概念的に説明する。なお、ここでは、代表的に、一方の変位部材51aに着目して説明する。
思案点531は、(背面押し状態において)案内面530の前端部側に設けられている。操作レバー部521が第1の姿勢に位置する場合、すなわちフリー状態においては、図13(A)に示されるように、案内面530の後端部側が、変位部材51aの突出部510に当接している。この場合、案内面530の思案点531は、突出部510から相対的に遠い位置にある。
乳母車1をブレーキ状態とするために、操作レバー部521が回動操作されると、案内面530は、相対的に後方側へ移動する。これにより、変位部材51aは、溝部171上を幅方向に移動して、近接位置へ近づく。操作レバー部521の回動途中では、図13(B)に示されるように、案内面530の中央部が、変位部材51aの突出部510に当接している。
操作レバー部521がさらに回動操作され、案内面530が、相対的にさらに後方へ移動されると、変位部材51aの突出部510は、溝部171上を幅方向に移動しながら思案点531を乗り越える。そうすると、図13(C)に示されるように、突出部510は、思案点531よりも前方位置において、案内面530と当接する。このときの変位部材51aの位置が、近接位置である。
スプリング54は、変位部材51aを離間位置に向けて付勢しているが、図13(C)の状態のとき、突出部510は思案点531に引っ掛かっている。そのため、ユーザが操作レバー部521に力を加えなくても、変位部材51aは、近接位置にて保持される。
これに対し、ブレーキ状態を解除するためには、ユーザは、突出部510が思案点531を反対方向(後方側)に乗り越えるように、操作レバー部521を蹴り上げる操作をすればよい。スプリング54の付勢力によって、変位部材51aは容易に離間位置に戻されるからである。
上述のような乳母車1によれば、単一の操作部材50のみで、キャスタ30a,30bの向きに関わらず、車輪31に同時に(一度に)ブレーキをかけることができる。その結果、乳母車1のブレーキ操作に対するユーザの負担を、軽減することができる。
より具体的には、乳母車1は、両対面式であるため、図2に示す対面押し状態では、キャスタ30a,30bは旋回自在である。しかし、本実施の形態では、操作部材50に連結されたワイヤ70a,70bを、キャスタ30a,30bの旋回軸線La,Lbに沿って上下させることで、キャスタ30a,30bの旋回は可能としたままで、車輪31の回転を停止(ロック)することができる。
また、本実施の形態では、ワイヤ70a,70bの一端とブレーキ部材60a,60bの上端部(被保持部62)とは、直接、連結されず、中継部材80a,80bを介して連結されている。中継部材80a,80bは、ブレーキ部材60a,60bを、旋回軸線La,Lbを中心として回転可能に保持している。そのため、ブレーキ部材60a,60bの回転、すなわちキャスタ30a,30bの旋回が、ワイヤ70a,70bに伝達されないため、ワイヤ70a,70bのねじれを防止することができる。
また、本実施の形態では、ブレーキ部材60a,60bは、車輪31のスポーク部310と係合することで、車輪31の回転をロックする。そのため、車輪31のタイヤ部の摩耗を防止することもできる。
また、本実施の形態では、多数の被係合部34が、各車輪31のハブ311のリング部312の内周面に沿って、近接して設けられている。そのため、操作部材50が第2の姿勢に向けて操作されると、回転軸心を中心とする車輪31の回転位置に関わらず、上方に位置する被係合部34に、ブレーキ部材60a,60bの係合部63を即座に係合させることができる。
なお、本実施の形態では、操作部材50は、ワイヤ70a,70bの他端にそれぞれ固定される一対の変位部材51a,51bを含むこととしたが、連結部材70が1本のワイヤで構成されるような場合には、単一の変位部材のみがワイヤの中央部に固定されてもよい。
また、本実施の形態では、ブレーキ部材60a,60bは、後脚12側のキャスタ30に設けられることとしたが、前脚11側のキャスタ20に設けられてもよい。この場合には、操作部材50は、前脚11側の横架部材(図示せず)に設けられてもよい。
あるいは、ブレーキ部材60a,60bを、キャスタ20,30の両方に設けてもよい。この場合も、左右それぞれにおいて、たとえば、前脚11および後脚12内を通るワイヤと横架部材15内を通るワイヤとを連結させることで、単一の操作部材50によって、一度に全ての車輪21,31にブレーキをかけることもできる。
なお、本実施の形態では、両対面式の乳母車1を例に説明したが、上述のブレーキ機構は、背面押し状態または対面押し状態のいずれか一方のみが可能な乳母車など、向きが固定された乳母車のキャスタに対しても適用することができる。
また、上述のブレーキ機構は、双輪構造を有するキャスタに対しても適用することができる。
今回開示された実施の形態はすべての点で例示であって制限的なものではないと考えられるべきである。本発明の範囲は上記した説明ではなくて特許請求の範囲によって示され、特許請求の範囲と均等の意味および範囲内でのすべての変更が含まれることが意図される。
1 乳母車、10 フレーム部、11 前脚、12,12a,12b 後脚、13 座部支持部材、14 背もたれ部支持部材、15 横架部材、16,150 開口、17 案内部材、20,30,30a,30b キャスタ、21,31 車輪、32 固定部、33 旋回部、34 被係合部、40 押棒、41 枢軸、42 ハンドル部、50 操作部材、51a,51b 変位部材、52 ユーザ操作部、53 当接部、54,81 スプリング、60a,60b ブレーキ部材、61 ロッド部、62 被保持部、63 係合部、70 連結部材、70a,70b ワイヤ、80a,80b 中継部材、171 溝部、172 通路部、310 スポーク部、311 ハブ、312 リング部、313 車軸保持部、330 車輪保持部材、510 突出部、511 凹部、521 操作レバー部、522 レバー保持部、523 張出部、530 案内面、531 思案点、611 第1ロッド、612 第2ロッド、613 第3ロッド。

Claims (11)

  1. 幅方向に互いに離れて配置される一対の脚部を含む本体フレームと、
    前記一対の脚部の下端にそれぞれ設けられた一対のキャスタと、
    前記一対のキャスタそれぞれの車輪の回転を停止するために設けられ、前記車輪と係合する係合位置と、前記車輪と係合しない非係合位置との間を変位する一対のブレーキ部材と、
    前記一対のキャスタそれぞれの旋回軸線を通り、前記一対のブレーキ部材に両端が連結された連結部材と、
    前記一対のブレーキ部材の前記係合位置と前記非係合位置とに対応して、前記連結部材の位置を変位させるための操作部材とを備える、乳母車。
  2. 前記連結部材は、ワイヤである、請求項1に記載の乳母車。
  3. 前記各キャスタは、前記脚部の下端に固定され、前記旋回軸線に沿って延びる固定部を含み、
    当該乳母車は、前記各キャスタの固定部内に設けられ、前記ワイヤの一端、および、前記ブレーキ部材の上端部が連結された中継部材をさらに備える、請求項2に記載の乳母車。
  4. 前記ブレーキ部材の上端部は、前記中継部材に対し、前記旋回軸線を中心として回転可能に連結されている、請求項3に記載の乳母車。
  5. 前記各キャスタの固定部内に設けられ、前記ブレーキ部材を前記非係合位置に向かわせる方向に、前記中継部材を付勢するための弾性部材をさらに備える、請求項3または4に記載の乳母車。
  6. 前記操作部材は、
    前記ワイヤに固定され、前記一対のブレーキ部材を前記係合位置に向かわせる方向と前記非係合位置に向かわせる方向とに移動させるために変位する一対の変位部材と、
    前記一対の変位部材を変位させるために、ユーザにより操作されるユーザ操作部とを含む、請求項2〜5のいずれかに記載の乳母車。
  7. 前記ワイヤは、前記一対のブレーキ部材のうちの一方のブレーキ部材に一端が連結された第1のワイヤと、前記一対のブレーキ部材のうちの他方のブレーキ部材に一端が連結された第2のワイヤとを含み、
    前記一対の変位部材は、前記第1および第2のワイヤの他端にそれぞれ固定される、請求項6に記載の乳母車。
  8. 前記本体フレームは、前記一対の脚部を連結する横架部材をさらに含み、
    前記操作部材は、前記横架部材に設けられる、請求項1〜7のいずれかに記載の乳母車。
  9. 前記一対のキャスタそれぞれの車輪のスポーク部に、少なくとも1つの被係合部が設けられ、
    前記各ブレーキ部材は、前記スポーク部の前記被係合部に係合する係合部を有する、請求項1〜8のいずれかに記載の乳母車。
  10. 前記スポーク部のうちのハブは、前記車輪の回転軸心を中心とするリング部を有し、
    前記リング部の内周面に沿って、複数の前記被係合部が設けられている、請求項9に記載の乳母車。
  11. 当該乳母車は、背面押し状態および対面押し状態の両状態に切替可能であり、
    前記一対の脚部は、背面押し状態において前方に位置する一対の前脚、および、後方に位置する一対の後脚のうちのいずれかである、請求項1〜10のいずれかに記載の乳母車。
JP2014083658A 2014-04-15 2014-04-15 乳母車 Active JP6445249B2 (ja)

Priority Applications (1)

Application Number Priority Date Filing Date Title
JP2014083658A JP6445249B2 (ja) 2014-04-15 2014-04-15 乳母車

Applications Claiming Priority (1)

Application Number Priority Date Filing Date Title
JP2014083658A JP6445249B2 (ja) 2014-04-15 2014-04-15 乳母車

Publications (2)

Publication Number Publication Date
JP2015202808A true JP2015202808A (ja) 2015-11-16
JP6445249B2 JP6445249B2 (ja) 2018-12-26

Family

ID=54596518

Family Applications (1)

Application Number Title Priority Date Filing Date
JP2014083658A Active JP6445249B2 (ja) 2014-04-15 2014-04-15 乳母車

Country Status (1)

Country Link
JP (1) JP6445249B2 (ja)

Cited By (2)

* Cited by examiner, † Cited by third party
Publication number Priority date Publication date Assignee Title
JP2017100496A (ja) * 2015-11-30 2017-06-08 株式会社リッチェル 手押車
CN114379639A (zh) * 2020-10-22 2022-04-22 明门瑞士股份有限公司 轮组刹车机构及婴儿车

Families Citing this family (1)

* Cited by examiner, † Cited by third party
Publication number Priority date Publication date Assignee Title
CN110509976B (zh) * 2019-09-18 2024-04-05 宁波市海曙诺博儿童用品有限公司 一种婴儿手推车

Citations (16)

* Cited by examiner, † Cited by third party
Publication number Priority date Publication date Assignee Title
JPS59154451U (ja) * 1983-04-01 1984-10-17 アップリカ葛西株式会社 車輪停止装置
JPS60240566A (ja) * 1984-05-11 1985-11-29 アップリカ葛西株式会社 車輪停止装置
JPS6121667U (ja) * 1984-07-13 1986-02-07 象印ベビ−株式会社 ベビ−カの車輪の首振り動作用、ブレ−キ動作用等の牽引ワイヤ集合装置
JPS61135858A (ja) * 1984-12-06 1986-06-23 アップリカ葛西株式会社 車輪停止装置
JPS6240070U (ja) * 1985-08-30 1987-03-10
JPH02102868A (ja) * 1988-08-29 1990-04-16 Ampafrance Sa 乳母車用車輪固定装置
JPH078149U (ja) * 1993-07-20 1995-02-03 大和産業株式会社 買い物用カート
JPH1148704A (ja) * 1997-08-08 1999-02-23 Futaba Kinzoku Kogyo Kk 制動機構を有するキャスター
JPH11286202A (ja) * 1998-04-02 1999-10-19 Nansin Co Ltd ロック機構を備えた双輪キャスタ
JP2005014894A (ja) * 2003-06-06 2005-01-20 Aprica Kassai Inc 車輪同時ブレーキ機構、キャスタ回転防止機構および乳母車
JP2007313278A (ja) * 2006-04-27 2007-12-06 Zojirushi Baby Kk 歩行補助車
JP2008179312A (ja) * 2007-01-26 2008-08-07 Masayasu Naga キャスタ及びそれを利用した椅子
JP2009132372A (ja) * 2007-11-30 2009-06-18 Jane Sa 乳母車用ブレーキ装置
JP3180150U (ja) * 2012-09-24 2012-12-06 陳首卯 ロッドブレーキ式キャスターロック構造
JP2013043597A (ja) * 2011-08-25 2013-03-04 Combi Corp ベビーカー用の車輪保持機構およびベビーカー
JP2015013607A (ja) * 2013-07-05 2015-01-22 コンビ株式会社 キャスター及び乳母車

Patent Citations (16)

* Cited by examiner, † Cited by third party
Publication number Priority date Publication date Assignee Title
JPS59154451U (ja) * 1983-04-01 1984-10-17 アップリカ葛西株式会社 車輪停止装置
JPS60240566A (ja) * 1984-05-11 1985-11-29 アップリカ葛西株式会社 車輪停止装置
JPS6121667U (ja) * 1984-07-13 1986-02-07 象印ベビ−株式会社 ベビ−カの車輪の首振り動作用、ブレ−キ動作用等の牽引ワイヤ集合装置
JPS61135858A (ja) * 1984-12-06 1986-06-23 アップリカ葛西株式会社 車輪停止装置
JPS6240070U (ja) * 1985-08-30 1987-03-10
JPH02102868A (ja) * 1988-08-29 1990-04-16 Ampafrance Sa 乳母車用車輪固定装置
JPH078149U (ja) * 1993-07-20 1995-02-03 大和産業株式会社 買い物用カート
JPH1148704A (ja) * 1997-08-08 1999-02-23 Futaba Kinzoku Kogyo Kk 制動機構を有するキャスター
JPH11286202A (ja) * 1998-04-02 1999-10-19 Nansin Co Ltd ロック機構を備えた双輪キャスタ
JP2005014894A (ja) * 2003-06-06 2005-01-20 Aprica Kassai Inc 車輪同時ブレーキ機構、キャスタ回転防止機構および乳母車
JP2007313278A (ja) * 2006-04-27 2007-12-06 Zojirushi Baby Kk 歩行補助車
JP2008179312A (ja) * 2007-01-26 2008-08-07 Masayasu Naga キャスタ及びそれを利用した椅子
JP2009132372A (ja) * 2007-11-30 2009-06-18 Jane Sa 乳母車用ブレーキ装置
JP2013043597A (ja) * 2011-08-25 2013-03-04 Combi Corp ベビーカー用の車輪保持機構およびベビーカー
JP3180150U (ja) * 2012-09-24 2012-12-06 陳首卯 ロッドブレーキ式キャスターロック構造
JP2015013607A (ja) * 2013-07-05 2015-01-22 コンビ株式会社 キャスター及び乳母車

Cited By (6)

* Cited by examiner, † Cited by third party
Publication number Priority date Publication date Assignee Title
JP2017100496A (ja) * 2015-11-30 2017-06-08 株式会社リッチェル 手押車
CN114379639A (zh) * 2020-10-22 2022-04-22 明门瑞士股份有限公司 轮组刹车机构及婴儿车
JP2023548806A (ja) * 2020-10-22 2023-11-21 ワンダーランド スイツァーランド アーゲー ホイールセットブレーキ機構およびベビー運搬車
JP7553711B2 (ja) 2020-10-22 2024-09-18 ワンダーランド スイツァーランド アーゲー ホイールセットブレーキ機構およびベビー運搬車
JP2024174936A (ja) * 2020-10-22 2024-12-17 ワンダーランド スイツァーランド アーゲー ホイールセットブレーキ機構およびベビー運搬車
US12570349B2 (en) 2020-10-22 2026-03-10 Wonderland Switzerland Ag Wheel set brake mechanism and baby transport

Also Published As

Publication number Publication date
JP6445249B2 (ja) 2018-12-26

Similar Documents

Publication Publication Date Title
JP6239283B2 (ja) キャスター及び乳母車
JP4994926B2 (ja) ベビーカー
CN101573265B (zh) 婴儿车
TW201300266A (zh) 嬰兒車
JP6445249B2 (ja) 乳母車
TWI659879B (zh) Baby carriage
JP6886840B2 (ja) 乳母車
JP6850134B2 (ja) 手押し車
CN102275610A (zh) 童车
KR101658802B1 (ko) 접이식 적재기구 및 이를 이용한 전동 캐리어
TWI508882B (zh) Convertible seat and type of two-seat baby carriage
JP5798890B2 (ja) ベビーカー用の制動機構、ベビーカー用の車輪保持機構、および、ベビーカー
JP6531045B2 (ja) 操作装置及び手押し移動体
JP3218610U (ja) 方向切換ハンドルにより前輪、後輪の転舵機能を制御するベビーカー
CN108327773B (zh) 双轮及包括双轮的婴儿车
JP6126478B2 (ja) 乳母車
JP2013249001A (ja) ストッパー付き双輪キャスター
JP5215953B2 (ja) 台車の制動構造
TWI531502B (zh) 協同動作操作機構
JP4012453B2 (ja) 手押し車のブレーキ装置
JP2556788Y2 (ja) キャスタ
JP6578166B2 (ja) 作業車両
CN104176106A (zh) 推车及刹车装置
HK1131595B (en) Stroller

Legal Events

Date Code Title Description
A621 Written request for application examination

Free format text: JAPANESE INTERMEDIATE CODE: A621

Effective date: 20170314

A977 Report on retrieval

Free format text: JAPANESE INTERMEDIATE CODE: A971007

Effective date: 20171220

A131 Notification of reasons for refusal

Free format text: JAPANESE INTERMEDIATE CODE: A131

Effective date: 20180206

A521 Request for written amendment filed

Free format text: JAPANESE INTERMEDIATE CODE: A523

Effective date: 20180320

A131 Notification of reasons for refusal

Free format text: JAPANESE INTERMEDIATE CODE: A131

Effective date: 20180828

A521 Request for written amendment filed

Free format text: JAPANESE INTERMEDIATE CODE: A523

Effective date: 20181010

TRDD Decision of grant or rejection written
A01 Written decision to grant a patent or to grant a registration (utility model)

Free format text: JAPANESE INTERMEDIATE CODE: A01

Effective date: 20181106

A61 First payment of annual fees (during grant procedure)

Free format text: JAPANESE INTERMEDIATE CODE: A61

Effective date: 20181129

R150 Certificate of patent or registration of utility model

Ref document number: 6445249

Country of ref document: JP

Free format text: JAPANESE INTERMEDIATE CODE: R150

S531 Written request for registration of change of domicile

Free format text: JAPANESE INTERMEDIATE CODE: R313531

S533 Written request for registration of change of name

Free format text: JAPANESE INTERMEDIATE CODE: R313533

R350 Written notification of registration of transfer

Free format text: JAPANESE INTERMEDIATE CODE: R350

R250 Receipt of annual fees

Free format text: JAPANESE INTERMEDIATE CODE: R250

R250 Receipt of annual fees

Free format text: JAPANESE INTERMEDIATE CODE: R250

R250 Receipt of annual fees

Free format text: JAPANESE INTERMEDIATE CODE: R250

R250 Receipt of annual fees

Free format text: JAPANESE INTERMEDIATE CODE: R250

R250 Receipt of annual fees

Free format text: JAPANESE INTERMEDIATE CODE: R250