JP2015114222A - 試料吸引装置 - Google Patents

試料吸引装置 Download PDF

Info

Publication number
JP2015114222A
JP2015114222A JP2013256840A JP2013256840A JP2015114222A JP 2015114222 A JP2015114222 A JP 2015114222A JP 2013256840 A JP2013256840 A JP 2013256840A JP 2013256840 A JP2013256840 A JP 2013256840A JP 2015114222 A JP2015114222 A JP 2015114222A
Authority
JP
Japan
Prior art keywords
sample container
needle
sample
lid
mounting means
Prior art date
Legal status (The legal status is an assumption and is not a legal conclusion. Google has not performed a legal analysis and makes no representation as to the accuracy of the status listed.)
Granted
Application number
JP2013256840A
Other languages
English (en)
Other versions
JP6318595B2 (ja
Inventor
太二 片山
Taiji Katayama
太二 片山
一成 福川
Kazunari Fukukawa
一成 福川
Current Assignee (The listed assignees may be inaccurate. Google has not performed a legal analysis and makes no representation or warranty as to the accuracy of the list.)
Tosoh Corp
Original Assignee
Tosoh Corp
Priority date (The priority date is an assumption and is not a legal conclusion. Google has not performed a legal analysis and makes no representation as to the accuracy of the date listed.)
Filing date
Publication date
Application filed by Tosoh Corp filed Critical Tosoh Corp
Priority to JP2013256840A priority Critical patent/JP6318595B2/ja
Publication of JP2015114222A publication Critical patent/JP2015114222A/ja
Application granted granted Critical
Publication of JP6318595B2 publication Critical patent/JP6318595B2/ja
Active legal-status Critical Current
Anticipated expiration legal-status Critical

Links

Images

Landscapes

  • Automatic Analysis And Handling Materials Therefor (AREA)

Abstract

【課題】蓋を装着した試料容器に収容した試料をニードルを用いて吸引する試料吸引装置において、試料吸引を終えたニードルを引き上げる際、試料容器載置手段からの当該試料容器の持ち上がりを防止可能な装置を提供する。
【解決手段】開口部に蓋22を装着した試料容器20を載置可能な試料容器載置手段30と、試料容器の開口部に装着した蓋を貫通し試料を吸引可能な試料容器載置手段の上方で垂直方向下向きに設けたニードル11と、試料容器載置手段および/またはニードルを水平方向に移動可能な手段50と、試料容器載置手段および/またはニードルを垂直方向に移動可能な手段40と、を備え、ニードルが試料容器の開口部に装着した蓋を貫通した状態で、試料容器載置手段および/またはニードルを水平方向に移動可能な手段により、試料容器載置手段および/またはニードルを水平方向に移動させる。
【選択図】図5

Description

本発明は液体クロマトグラフやフローインジェクション分析装置などの自動分析装置に備える、試料容器に収容された液体試料をニードルを用いて吸引する試料吸引装置に関する。
試料吸引装置においては、試料容器に収容した液体試料や溶媒が蒸発したり、試料容器周辺の水分が液体試料に入り込んで薄まることを防ぐために、多くの場合、試料容器の開口部に蓋を装着する。試料吸引装置には、蓋を装着した試料容器に収容された液体試料を吸引する際、前記蓋を外してニードルを挿入する方式と、前記蓋を貫通してニードルを挿入する方式がある。前者の方式の場合、蓋を外すために複雑な機構が必要になるため、液体クロマトグラフなどの自動分析装置では、後者の方式を採用する場合が多い。後者の方式を採用する場合、セプタムなど一定の厚みと弾性力がある貫通可能な材質からなる蓋や、予め十字状に切れ込みが入った柔らかい材質からなる蓋や、ニードルが容易に貫通可能な薄い膜からなる蓋を試料容器に装着する。
試料容器に装着した蓋をニードルで貫通することで、試料容器に収容された試料を吸引する際、ニードルが容易に貫通可能な薄いアルミ箔や樹脂フィルムといった膜からなる蓋を用いると、ニードルの外壁に粘稠性の液体試料が付着することがある。その場合、試料吸引を終えたニードルを試料容器から離す(ニードルを引き上げる)際、ニードルに付着した液体試料が薄い膜からなる蓋に引っ掛かり、ニードルとともに試料容器が試料容器戴置手段から持ち上がるおそれがある。また、ニードルを繰返し試料容器に出し入れすると、試料容器に収容した試料が冷えて固化したり、溶媒の蒸発により不揮発成分が析出してニードルの一部が太くなることで、薄い膜からなる蓋に引っ掛かりやすくなり、試料容器戴置手段から試料容器が持ち上がるおそれがある。特に自動分析装置のうち、高分子試料の分子量を分析するためのサイズ排除クロマトグラフでは、高分子試料を溶媒で溶解したものを分析試料(液体試料)とするため、溶媒が蒸発すると粘性が上がったり、溶解した高分子試料の固形物が析出するおそれがあり、また温度が低下すると溶媒が固化するおそれもある。
さらにニードルと試料容器に装着した蓋との密着性が強いと、試料容器に収容された試料を吸引することで、試料容器内部の圧力が低下し、一定量以上の試料を吸引しにくくなるおそれもある。
さらにまた、ニードルの根元に固定され試料容器の開口部(または装着した蓋)と接触可能なつば部と、当該接触を検知可能な接触センサとを、試料吸引装置に設けた場合は、
ニードルを試料容器に挿入した時に生じた蓋の破れた部分がつば部と当該ニードルとの隙間に入り込んで挟まれた場合や、
試料容器の天面または試料容器に装着した蓋が前記つば部と密着した状態になったり、当該蓋と当該つば部とが、当該蓋に付着したまたは析出した試料を介して付着した場合や、
試料容器の天面または試料容器に装着した蓋が前記つば部と密着した状態で試料の吸引を行なうことで、前記試料容器と前記つば部との間の空間が負圧になり、当該試料容器が当該つば部に押し付けられた状態となる場合、
は試料容器が試料容器戴置手段から持ち上がるおそれがある。
試料容器が試料容器戴置手段から持ち上がるのを防止するには、通常、試料容器載置手段の試料容器載置部の側面に板バネを設け、摩擦力により当該載置部に載置した試料容器の持ち上がりを防止する方法や、試料容器の外壁面や開口部を上部から押さえつける手段を試料容器載置手段にさらに設ける方法が用いられている。しかしながら、前者の方法は、狭い箇所に板バネを設けることが困難であり、また板バネの経時的劣化の問題もあった。後者の方法も、追加の機構が必要になり、コストが上昇する問題があった。
そこで本発明が解決しようとする課題は、試料容器載置手段に載置した、蓋を装着した試料容器に収容した試料をニードルを用いて吸引する試料吸引装置において、試料吸引を終えたニードルを試料容器から離す(ニードルを引き上げる)際、新たな機構を追加することなく、試料容器載置手段からの当該試料容器の持ち上がりを防止可能な装置を提供することにある。
上記課題を鑑みてなされた本発明は、以下の態様を包含する。
すなわち本発明の第一の態様は、
開口部に蓋を装着した、試料を収容した試料容器を載置可能な試料容器載置手段と、
前記試料容器の開口部に装着した蓋を貫通し、前記試料容器に収容した試料を吸引可能な、試料容器載置手段の上方で垂直方向下向きに設けたニードルと、
試料容器載置手段および/またはニードルを水平方向に移動可能な手段と、
試料容器載置手段および/またはニードルを垂直方向に移動可能な手段と、
を備えた試料吸引装置であって、
前記ニードルが試料容器の開口部に装着した蓋を貫通した状態で、試料容器載置手段および/またはニードルを水平方向に移動可能な手段により、試料容器載置手段および/またはニードルを水平方向に移動させる、前記試料吸引装置である。
また本発明の第二の態様は、
試料容器載置手段が、開口部に蓋を装着した試料容器をその開口部が垂直方向に突出するよう載置可能な手段であり、かつ
試料容器の開口部に装着した蓋と接触可能なつば部をニードルの根元に固定した状態でさらに設けた、前記第一の態様に記載の試料吸引装置である。
また本発明の第三の態様は、つば部と試料容器の開口部に装着した蓋との接触を検知可能なセンサをさらに備えた、前記第二の態様に記載の試料吸引装置である。
また本発明の第四の態様は、試料容器がつば部と試料容器載置手段により挟持された状態で、試料容器載置手段および/またはニードルを水平方向に移動可能な手段により、試料容器載置手段および/またはニードルを水平方向に移動させる、前記第二または第三の態様に記載の試料吸引装置である。
また本発明の第五の態様は、つば部と試料容器の開口部に装着した蓋とが接触していない状態で、試料容器載置手段および/またはニードルを水平方向に移動可能な手段により、試料容器載置手段および/またはニードルを水平方向に移動させる、前記第二または第三の態様に記載の試料吸引装置である。
以下、本発明を詳細に説明する。
本発明の試料吸引装置に備えるニードルは、ステンレススチールやチタンなどの金属、あるいはポリエーテルエーテルケトン(PEEK)や自己補強性ポリフェニレンなど強度が高い樹脂で作られる。なお、あらかじめニードルの先端を斜めにカットすると、試料容器の開口部に装着する蓋を貫通させる際の抵抗を減らすことができるため、好ましい。
本発明の試料吸引装置において、試料容器の開口部に装着する蓋は、ニードルにより貫通可能な素材であり、かつニードルが前記蓋を貫通した状態で、試料容器載置手段および/またはニードルを水平方向に移動可能な手段により、試料容器載置手段および/またはニードルを水平方向に移動させることで、前記貫通した穴の拡大が可能であれば、材料や形態に限定はない。例えば、試料容器の開口部をアルミ箔またはラップフィルムやパラフィンフィルムといった樹脂フィルムで覆ったものも、本発明における試料容器の開口部に装着する蓋といえる。なお、試料容器の開口部をアルミ箔またはラップフィルムやパラフィンフィルムといった樹脂フィルムで覆った後、中空部を有した枠体を前記試料容器に装着し、螺合または嵌合させた態様(図2)とすると、アルミ箔または樹脂フィルムを張った状態を維持することができ、試料容器戴置手段および/またはニードルを水平方向に移動したことによる蓋のズレを防止することができ、ニードルによる蓋の貫通と当該貫通した穴の拡大が容易なため、好ましい。
本発明の試料吸引装置は、試料容器載置手段および/またはニードルを水平方向に移動可能な手段と、試料容器載置手段および/またはニードルを垂直方向に移動可能な手段により、ニードルが試料を収容した試料容器の開口部に装着した蓋を貫通した後、当該貫通した状態を維持したまま、試料容器載置手段および/またはニードルを水平方向に移動可能な手段により、試料容器載置手段および/またはニードルを水平方向に移動させることで、当該貫通により生じた穴を拡大させる。貫通した穴を拡大させることにより、ニードルの外壁に付着した試料によりニードルと蓋とが付着する可能性が減り、試料容器の持ち上がりを防ぐことができる。特にサイズ排除クロマトグラフでの測定試料である、高分子試料を溶媒で溶解させた試料では、当該溶媒の蒸発により試料の粘度が上昇し付着力が強くなったり、析出または固化した高分子試料によりニードル先端の太さが太くなったりするため、本発明の試料吸引装置による効果は大きい。また貫通した穴を拡大させることで、試料吸引時に試料容器内が負圧状態となることを防止することができる。
本発明の試料吸引装置において、ニードルが試料容器の開口部に装着した蓋を貫通した状態で試料容器載置手段および/またはニードルを水平方向に移動させる際の移動量は、当該ニードルの外径以上であって、試料容器の内壁(蓋が中空部を有した枠体を有している場合は当該中空部外縁)と衝突しない移動量であればよく、当該ニードルの外径以上であって、試料容器の内径の半分未満とすると好ましい。なお試料容器が試料容器戴置手段の中で回転しないように保持されており、試料容器載置手段および/またはニードルを水平方向に移動可能な手段が水平方向に回転運動可能な手段の場合、前記手段で回転運動させることでニードルで貫通した穴を丸い形で拡大させることができる。なお蓋としてアルミ箔を用いる場合は小さい移動量で穴を拡大させることができるが、樹脂フィルムを用いる場合は弾性が大きいため、大きい移動量で穴を拡大させると好ましい。
本発明の試料吸引装置において、試料容器載置手段および/またはニードルを水平方向に移動させるタイミングは、ニードルが試料容器の開口部に装着した蓋を貫通した状態、すなわち、ニードルで試料容器の開口部に装着した蓋を貫通させたときから、ニードルと前記蓋との貫通状態を解除する(蓋からニードルを完全に抜く)までであれば、特に限定はない。ニードルで試料容器の開口部に装着した蓋を貫通させた直後で試料容器載置手段および/またはニードルを水平方向に移動させれば、ニードルに付着した試料が蓋に付着することを防ぐことができる。一方、ニードルと前記蓋との貫通状態を解除する直前に試料容器載置手段および/またはニードルを水平方向に移動させれば、当該移動によりニードルに付着した試料を剥がすことができる。
本発明の試料吸引装置において、試料容器載置手段が、開口部に蓋を装着した試料容器をその開口部が垂直方向に突出するよう載置可能な手段であり、かつ試料容器の開口部に装着した蓋と接触可能なつば部をニードルの根元に固定した状態でさらに設けると、前記つば部と試料容器載置手段で試料容器を挟持した状態で試料容器載置手段および/またはニードルを水平方向に移動させることで、試料容器が傾くことなく、ニードルで貫通した穴を拡大させることができるため、好ましい。つば部は、試料容器の開口部に装着した蓋と接触するための面または突起を有していればよく、金属製であってもよいし、樹脂製であってもよい。なお、前記つば部と前記蓋とのすべりが悪い場合は、試料容器戴置手段および/またはニードルを垂直方向に僅かに移動させることで前記つば部と前記蓋との接触を解除した後、試料容器載置手段および/またはニードルを水平方向に移動すればよい。この場合、前記つば部と前記蓋との隙間は、前記水平方向の移動による試料容器の傾きが生じない範囲で適宜決定すればよい。
本発明の試料吸引装置において、前述したつば部を設け、さらに当該つば部と試料容器の開口部に装着した蓋との接触を検知可能なセンサを備えると、当該検知に基づき、試料容器に収容された試料を吸引するよう制御できるため、好ましい。センサの一例として、リミットスイッチや近接センサやフォトインタラプタなどにより構成されたセンサがあげられる。
図1に示す試料吸引装置のように、センサがフラグとフォトインタラプタから構成され、ニードルが、ニードル保持部により上下方向に移動可能に保持され、根元に試料容器の開口部に装着した蓋と接触可能なつば部およびフラグが固定されている場合、ニードルが前記蓋を貫通した場合は、ニードル保持部に対して持ち上らないまたは持ち上がり量が少ないため、フォトインタラプタの状態は変化しない。その後、つば部と前記蓋とが接触してニードルが持ち上がると、ニードル根元に固設したフラグも持ち上がり、フォトインタラプタの状態が変化することで、接触(すなわち試料容器の存在)を検知する。
なおセンサによる試料容器の検知において、ニードルを試料容器内に挿入した際、貫通時に生じた蓋の破れた部分が、ニードルとつば部との隙間に挟まれた場合であっても、試料容器載置手段および/またはニードルを水平方向に移動させるときに、当該隙間に挟まれた部分を引き抜くことができるため、問題とはならない。
本発明は、開口部に蓋を装着した、試料を収容した試料容器を載置可能な試料容器載置手段と、前記試料容器の開口部に装着した蓋を貫通し前記試料容器に収容した試料を吸引可能な試料容器載置手段の上方で垂直方向下向きに設けたニードルと、試料容器載置手段および/またはニードルを水平方向に移動可能な手段と、試料容器載置手段および/またはニードルを垂直方向に移動可能な手段と、を備え、かつ前記ニードルが試料容器の開口部に装着した蓋を貫通した状態で、試料容器載置手段および/またはニードルを水平方向に移動可能な手段により、試料容器載置手段および/またはニードルを水平方向に移動させることで、当該ニードルの貫通により開いた穴を拡大させることを特徴としている。
本発明により、試料容器載置手段に載置した試料容器を固定するための新たな構成を加えることなく、試料吸引後に前記試料容器が持ち上がることを防止することができる。従って、試料容器が持ち上がることによる、試料の飛散、試料容器の破損、試料注入装置の動作不良や破損を防ぐことができる。さらにニードルの貫通により開いた穴を拡大させることで、試料容器内の圧力が速やかに大気圧に戻るため、正確な吸引も可能になる。
なお本発明の好ましい態様である、試料容器載置手段が、開口部に蓋を装着した試料容器をその開口部が垂直方向に突出するよう載置可能な手段であり、かつ試料容器の開口部に装着した蓋と接触可能なつば部をニードルの根元に固定した状態でさらに設けた試料吸引装置は、前記つば部と試料容器載置手段で試料容器を挟持した状態で、試料容器載置手段および/またはニードルを水平方向に移動させることができるため、試料容器と試料容器を載置するための凹部との隙間が大きい場合でも、前記水平方向の移動による試料容器の傾きを抑えることができる。
本発明の試料吸引装置の一態様を示す図である。 本発明の試料吸引装置で用いる試料容器、および当該試料容器の開口部に装着する蓋の一態様を示す図である。 図1の試料吸引装置において、ニードルが試料容器の開口部に装着した蓋を貫通し、試料容器内に挿入された状態を示す図。 図1の試料吸引装置において、つば部と試料容器の開口部に装着した蓋とが接触した状態を示す図。 図1の試料吸引装置において、つば部と試料容器の開口部に装着した蓋とが接触後、水平移動手段により試料容器載置手段を水平方向に移動させた状態を示す図。
以下、図面を用いて本発明をさらに詳細に説明する。
本発明の試料吸引装置の一態様を図1に示す。
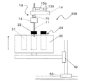
図1に示す試料吸引装置100のうち、試料吸引手段10のニードル11は、先端が斜めにカットされたステンレススチール製であり、固定したノズル保持部14に対して上下方向に数mm移動可能に保持され、かつ通常はバネ15により支えられ垂直方向下向きの力が加えられている。またニードル11の根元には、試料容器の蓋22と接触可能なつば部12が固定されている。ニードル11には計量ポンプと接続した配管(不図示)が接続されており、当該ポンプと当該配管により、試料容器20に収容された試料を吸引することができる。さらにまた、試料吸引手段10のニードル11には接触センサを構成するフラグ13aが固定されており、初期位置ではフラグ13aがフォトインタラプタ13bの光を遮っている。
試料容器載置テーブル30には同心円状に試料を収容した試料容器20を、その蓋22が垂直方向に突出するように載置可能な凹部(試料容器載置位置31)を有しており、温度制御されている。テーブル30は、垂直移動手段40および水平移動手段50により、垂直/水平方向の移動および回転が可能である。水平方向の移動と回転との組合せにより、テーブル30上にある任意の試料容器20をニードル11の直下に移動させた後、垂直方向移動手段40により、テーブル30を垂直方向に移動させる。
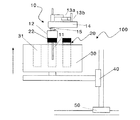
本発明の試料吸引装置において、試料容器載置テーブル30に載置する試料容器20、および当該試料容器の開口部21に装着する蓋22の一態様を図2に示す。蓋22は中空部を有した枠体22aと薄いアルミ箔22bとから構成されており、試料容器の開口部21を薄いアルミ箔22bで覆った後、枠体22aを装着することで、試料容器20を作製することができる。
図1に示す試料吸引装置100および図2に示す試料容器20を用いた、試料容器に収容した試料の吸引方法の一例を順を追って説明する。
(1)ニードル11で吸引しようとする試料を収容した試料容器20が、ニードル11の直下に位置するよう、水平移動手段50でテーブル30を水平方向に移動する。
(2)垂直移動手段40でテーブル30を垂直方向に上昇させることで、ニードル11が試料容器のアルミ箔22bを貫通し、試料容器20内に挿入される(図3)。なおニードル11は斜めにカットされており、小さな力でアルミ箔22bを貫通できるため、ニードルがニードル保持部14に対して持ち上がることはない。
(3)つば部12と蓋枠体22aとが接触するまで、垂直移動手段40でテーブル30を垂直方向に上昇させる。接触によりニードル11に上向きの力が与えられると、バネ15が圧縮され、ニードル11が持ち上がる。そうなると、ニードル11に固定されている接触センサのフラグ13aが、フォトインタラプタ13bの光を遮らなくなり、つば部12と蓋枠体22との接触(すなわち試料容器20の存在)を検知する(図4)。
(4)試料容器20を検知した後は、試料容器20内にニードル11が挿入され、かつ試料容器20がつば部21とテーブル30により挟持された状態のまま、水平移動手段50によりテーブル30を水平方向に移動させることで、ニードル11の貫通により開いたアルミ箔22bの穴を拡大させる(図5)。
(5)ニードル11により試料容器20内の試料を吸引後、垂直移動手段40でテーブル30を垂直方向に下降させることでニードル11を引き離し、ニードル11とアルミ箔22bとの貫通状態を解除する。前記(4)の操作でアルミ箔22bの穴を拡大させているため、ニードル11を引き離す操作を行なっても、ニードル11やアルミ箔22bに付着した試料により試料容器20がテーブル30から持ち上がることはない。
本発明により、液体クロマトグラフやフローインジェクション分析装置などの自動分析装置に用いられる試料吸引装置において、蓋を装着した試料容器に対して、ニードルにより試料容器が持ち上がることによる試料容器の落下や破損、装置の故障を防ぐことができる。特に、粘稠性が高い試料や、析出や固化しやすい試料を扱う試料吸引装置において信頼性が向上する。また、試料容器内の陰圧を速やかに解消することができるので、高い吸引性能をもつ試料吸引装置を提供することができる。
10:試料吸引手段
11:ニードル
12:つば部
13a:フラグ(接触センサ)
13b:フォトインタラプタ(接触センサ)
14:ニードル保持部
15:バネ
20:試料容器
21:試料容器の開口部
22:試料容器の蓋
22a:蓋枠体
22b:アルミ箔
30:試料容器載置テーブル
31:試料容器載置位置
40:垂直移動手段
50:水平移動手段
100:試料吸引装置

Claims (5)

  1. 開口部に蓋を装着した、試料を収容した試料容器を載置可能な試料容器載置手段と、
    前記試料容器の開口部に装着した蓋を貫通し、前記試料容器に収容した試料を吸引可能な、試料容器載置手段の上方で垂直方向下向きに設けたニードルと、
    試料容器載置手段および/またはニードルを水平方向に移動可能な手段と、
    試料容器載置手段および/またはニードルを垂直方向に移動可能な手段と、
    を備えた試料吸引装置であって、
    前記ニードルが試料容器の開口部に装着した蓋を貫通した状態で、試料容器載置手段および/またはニードルを水平方向に移動可能な手段により、試料容器載置手段および/またはニードルを水平方向に移動させる、前記試料吸引装置。
  2. 試料容器載置手段が開口部に蓋を装着した試料容器をその開口部が垂直方向に突出するよう載置可能な手段であり、かつ
    試料容器の開口部に装着した蓋と接触可能なつば部をニードルの根元に固定した状態でさらに設けた、請求項1に記載の試料吸引装置。
  3. つば部と試料容器の開口部に装着した蓋との接触を検知可能なセンサをさらに備えた、請求項2に記載の試料吸引装置。
  4. 試料容器がつば部と試料容器載置手段により挟持された状態で、試料容器載置手段および/またはニードルを水平方向に移動可能な手段により、試料容器載置手段および/またはニードルを水平方向に移動させる、請求項2または3に記載の試料吸引装置。
  5. つば部と試料容器の開口部に装着した蓋とが接触していない状態で、試料容器載置手段および/またはニードルを水平方向に移動可能な手段により、試料容器載置手段および/またはニードルを水平方向に移動させる、請求項2または3に記載の試料吸引装置。
JP2013256840A 2013-12-12 2013-12-12 試料吸引装置 Active JP6318595B2 (ja)

Priority Applications (1)

Application Number Priority Date Filing Date Title
JP2013256840A JP6318595B2 (ja) 2013-12-12 2013-12-12 試料吸引装置

Applications Claiming Priority (1)

Application Number Priority Date Filing Date Title
JP2013256840A JP6318595B2 (ja) 2013-12-12 2013-12-12 試料吸引装置

Publications (2)

Publication Number Publication Date
JP2015114222A true JP2015114222A (ja) 2015-06-22
JP6318595B2 JP6318595B2 (ja) 2018-05-09

Family

ID=53528145

Family Applications (1)

Application Number Title Priority Date Filing Date
JP2013256840A Active JP6318595B2 (ja) 2013-12-12 2013-12-12 試料吸引装置

Country Status (1)

Country Link
JP (1) JP6318595B2 (ja)

Cited By (4)

* Cited by examiner, † Cited by third party
Publication number Priority date Publication date Assignee Title
CN107677843A (zh) * 2017-09-26 2018-02-09 迈克医疗电子有限公司 试剂容器封闭装置
JP2019525149A (ja) * 2016-07-01 2019-09-05 シーメンス・ヘルスケア・ダイアグノスティックス・インコーポレーテッドSiemens Healthcare Diagnostics Inc. 診断分析器において孔を開けて開封するように設計されたキャップ及びインダクションシール
CN112014584A (zh) * 2019-05-28 2020-12-01 成都深迈瑞医疗电子技术研究院有限公司 排液装置和样本分析仪
JP2023018144A (ja) * 2019-03-18 2023-02-07 キヤノンメディカルシステムズ株式会社 自動分析装置

Citations (9)

* Cited by examiner, † Cited by third party
Publication number Priority date Publication date Assignee Title
JPS56131458U (ja) * 1980-03-07 1981-10-06
US5130254A (en) * 1990-05-25 1992-07-14 E. I. Du Pont De Nemours And Company Method for pipetting liquid from a sealed container
JPH10123025A (ja) * 1996-10-16 1998-05-15 Kdk Corp サンプリング装置
JPH10246690A (ja) * 1997-02-28 1998-09-14 Shimadzu Corp 試料導入装置
JP2005531769A (ja) * 2002-06-28 2005-10-20 バイオヴェリス コーポレイション 改良された分析システム及びその構成要素
JP2007107916A (ja) * 2005-10-11 2007-04-26 Shimadzu Corp マイクロチップへの分離バッファ液充填装置とそれを備えたマイクロチップ処理装置
JP2009501339A (ja) * 2005-07-15 2009-01-15 ベックマン コールター, インコーポレイテッド 小型容器からの液体吸引を最大限にする方法および装置
JP2009526974A (ja) * 2006-02-16 2009-07-23 ディオネクス ゾフトロン ゲーエムベーハー 液体量を吸引するための、特に液体クロマトグラフィ装置を使って分析する試料を採取するための方法と装置
JP2010274966A (ja) * 2009-05-28 2010-12-09 Sharp Corp 液体充填装置、及び、待機方法

Patent Citations (9)

* Cited by examiner, † Cited by third party
Publication number Priority date Publication date Assignee Title
JPS56131458U (ja) * 1980-03-07 1981-10-06
US5130254A (en) * 1990-05-25 1992-07-14 E. I. Du Pont De Nemours And Company Method for pipetting liquid from a sealed container
JPH10123025A (ja) * 1996-10-16 1998-05-15 Kdk Corp サンプリング装置
JPH10246690A (ja) * 1997-02-28 1998-09-14 Shimadzu Corp 試料導入装置
JP2005531769A (ja) * 2002-06-28 2005-10-20 バイオヴェリス コーポレイション 改良された分析システム及びその構成要素
JP2009501339A (ja) * 2005-07-15 2009-01-15 ベックマン コールター, インコーポレイテッド 小型容器からの液体吸引を最大限にする方法および装置
JP2007107916A (ja) * 2005-10-11 2007-04-26 Shimadzu Corp マイクロチップへの分離バッファ液充填装置とそれを備えたマイクロチップ処理装置
JP2009526974A (ja) * 2006-02-16 2009-07-23 ディオネクス ゾフトロン ゲーエムベーハー 液体量を吸引するための、特に液体クロマトグラフィ装置を使って分析する試料を採取するための方法と装置
JP2010274966A (ja) * 2009-05-28 2010-12-09 Sharp Corp 液体充填装置、及び、待機方法

Cited By (6)

* Cited by examiner, † Cited by third party
Publication number Priority date Publication date Assignee Title
JP2019525149A (ja) * 2016-07-01 2019-09-05 シーメンス・ヘルスケア・ダイアグノスティックス・インコーポレーテッドSiemens Healthcare Diagnostics Inc. 診断分析器において孔を開けて開封するように設計されたキャップ及びインダクションシール
US11420208B2 (en) 2016-07-01 2022-08-23 Siemens Healthcare Diagnostics Inc. Cap and induction seal designed to be opened by piercing in a diagnostic analyzer
CN107677843A (zh) * 2017-09-26 2018-02-09 迈克医疗电子有限公司 试剂容器封闭装置
JP2023018144A (ja) * 2019-03-18 2023-02-07 キヤノンメディカルシステムズ株式会社 自動分析装置
JP7401635B2 (ja) 2019-03-18 2023-12-19 キヤノンメディカルシステムズ株式会社 自動分析装置
CN112014584A (zh) * 2019-05-28 2020-12-01 成都深迈瑞医疗电子技术研究院有限公司 排液装置和样本分析仪

Also Published As

Publication number Publication date
JP6318595B2 (ja) 2018-05-09

Similar Documents

Publication Publication Date Title
JP6318595B2 (ja) 試料吸引装置
EP4273531A3 (en) Sectionable cassette and embedding frame with tissue immobilizing separable lid, and methods for preparing biopsy tissue samples
JPH10232192A (ja) 顕微鏡標本のカバーガラス貼着方法と装置
CN101447407B (zh) 半导体晶圆的保护带切断方法和保护带切断装置
GB2107680A (en) Method and apparatus for lifting sheets of sheet material or for lowering them onto surfaces
CN211943891U (zh) 一种贴膜装置
KR101197788B1 (ko) 검체 처리 유닛 및 검체 처리 방법
CN106370829A (zh) 一种血栓弹力仪及盛血杯装卸方法
JP3687019B2 (ja) サンプリング装置
CN108461443B (zh) 膜材分离机和膜材分离方法
US20210033635A1 (en) Sampling mechanism and sampling method
KR20230100470A (ko) 진단키트를 이용한 바이러스 검출 장치
US9810651B2 (en) Method and device for handling a closing element in a laboratory automation system
EP4361702B1 (en) Cover slip sticking device
EP3908444B1 (en) Overlay applicator, overlay and method of applying an overlay
JPH10246690A (ja) 試料導入装置
JPS5826537B2 (ja) 容器の閉鎖シ−ルの接着力測定装置とその操作方法
JP2012132939A5 (ja)
JP2001242164A (ja) フィブリン除去装置およびその除去方法
JP2015017863A (ja) 試料吸引装置
JP2016003970A (ja) 自動分析装置
JP2019174145A (ja) ヘマトクリット値測定デバイス及びヘマトクリット値の測定方法
JP2012052872A (ja) 検体処理装置
JPH0317246Y2 (ja)
CN107884135A (zh) 一种用于食品包装袋密封检测设备及方法

Legal Events

Date Code Title Description
A621 Written request for application examination

Free format text: JAPANESE INTERMEDIATE CODE: A621

Effective date: 20161122

A977 Report on retrieval

Free format text: JAPANESE INTERMEDIATE CODE: A971007

Effective date: 20170816

A131 Notification of reasons for refusal

Free format text: JAPANESE INTERMEDIATE CODE: A131

Effective date: 20171003

A521 Request for written amendment filed

Free format text: JAPANESE INTERMEDIATE CODE: A523

Effective date: 20171106

A02 Decision of refusal

Free format text: JAPANESE INTERMEDIATE CODE: A02

Effective date: 20171128

A521 Request for written amendment filed

Free format text: JAPANESE INTERMEDIATE CODE: A523

Effective date: 20171220

A911 Transfer to examiner for re-examination before appeal (zenchi)

Free format text: JAPANESE INTERMEDIATE CODE: A911

Effective date: 20171227

TRDD Decision of grant or rejection written
A01 Written decision to grant a patent or to grant a registration (utility model)

Free format text: JAPANESE INTERMEDIATE CODE: A01

Effective date: 20180306

A61 First payment of annual fees (during grant procedure)

Free format text: JAPANESE INTERMEDIATE CODE: A61

Effective date: 20180319

R151 Written notification of patent or utility model registration

Ref document number: 6318595

Country of ref document: JP

Free format text: JAPANESE INTERMEDIATE CODE: R151