JP2014007014A - 車両用灯具 - Google Patents

車両用灯具 Download PDF

Info

Publication number
JP2014007014A
JP2014007014A JP2012140614A JP2012140614A JP2014007014A JP 2014007014 A JP2014007014 A JP 2014007014A JP 2012140614 A JP2012140614 A JP 2012140614A JP 2012140614 A JP2012140614 A JP 2012140614A JP 2014007014 A JP2014007014 A JP 2014007014A
Authority
JP
Japan
Prior art keywords
light guide
light
flat
guided
lamp
Prior art date
Legal status (The legal status is an assumption and is not a legal conclusion. Google has not performed a legal analysis and makes no representation as to the accuracy of the status listed.)
Granted
Application number
JP2012140614A
Other languages
English (en)
Other versions
JP6047942B2 (ja
Inventor
Naohisa Sakakibara
直寿 榊原
Kenji Matsuoka
健二 松岡
Current Assignee (The listed assignees may be inaccurate. Google has not performed a legal analysis and makes no representation or warranty as to the accuracy of the list.)
Ichikoh Industries Ltd
Original Assignee
Ichikoh Industries Ltd
Priority date (The priority date is an assumption and is not a legal conclusion. Google has not performed a legal analysis and makes no representation as to the accuracy of the date listed.)
Filing date
Publication date
Application filed by Ichikoh Industries Ltd filed Critical Ichikoh Industries Ltd
Priority to JP2012140614A priority Critical patent/JP6047942B2/ja
Publication of JP2014007014A publication Critical patent/JP2014007014A/ja
Application granted granted Critical
Publication of JP6047942B2 publication Critical patent/JP6047942B2/ja
Active legal-status Critical Current
Anticipated expiration legal-status Critical

Links

Images

Classifications

    • FMECHANICAL ENGINEERING; LIGHTING; HEATING; WEAPONS; BLASTING
    • F21LIGHTING
    • F21SNON-PORTABLE LIGHTING DEVICES; SYSTEMS THEREOF; VEHICLE LIGHTING DEVICES SPECIALLY ADAPTED FOR VEHICLE EXTERIORS
    • F21S43/00Signalling devices specially adapted for vehicle exteriors, e.g. brake lamps, direction indicator lights or reversing lights
    • F21S43/20Signalling devices specially adapted for vehicle exteriors, e.g. brake lamps, direction indicator lights or reversing lights characterised by refractors, transparent cover plates, light guides or filters
    • F21S43/235Light guides
    • F21S43/236Light guides characterised by the shape of the light guide
    • F21S43/241Light guides characterised by the shape of the light guide of complex shape
    • FMECHANICAL ENGINEERING; LIGHTING; HEATING; WEAPONS; BLASTING
    • F21LIGHTING
    • F21SNON-PORTABLE LIGHTING DEVICES; SYSTEMS THEREOF; VEHICLE LIGHTING DEVICES SPECIALLY ADAPTED FOR VEHICLE EXTERIORS
    • F21S41/00Illuminating devices specially adapted for vehicle exteriors, e.g. headlamps
    • F21S41/20Illuminating devices specially adapted for vehicle exteriors, e.g. headlamps characterised by refractors, transparent cover plates, light guides or filters
    • F21S41/24Light guides
    • FMECHANICAL ENGINEERING; LIGHTING; HEATING; WEAPONS; BLASTING
    • F21LIGHTING
    • F21SNON-PORTABLE LIGHTING DEVICES; SYSTEMS THEREOF; VEHICLE LIGHTING DEVICES SPECIALLY ADAPTED FOR VEHICLE EXTERIORS
    • F21S43/00Signalling devices specially adapted for vehicle exteriors, e.g. brake lamps, direction indicator lights or reversing lights
    • F21S43/20Signalling devices specially adapted for vehicle exteriors, e.g. brake lamps, direction indicator lights or reversing lights characterised by refractors, transparent cover plates, light guides or filters
    • F21S43/235Light guides
    • F21S43/236Light guides characterised by the shape of the light guide
    • F21S43/237Light guides characterised by the shape of the light guide rod-shaped
    • FMECHANICAL ENGINEERING; LIGHTING; HEATING; WEAPONS; BLASTING
    • F21LIGHTING
    • F21SNON-PORTABLE LIGHTING DEVICES; SYSTEMS THEREOF; VEHICLE LIGHTING DEVICES SPECIALLY ADAPTED FOR VEHICLE EXTERIORS
    • F21S43/00Signalling devices specially adapted for vehicle exteriors, e.g. brake lamps, direction indicator lights or reversing lights
    • F21S43/20Signalling devices specially adapted for vehicle exteriors, e.g. brake lamps, direction indicator lights or reversing lights characterised by refractors, transparent cover plates, light guides or filters
    • F21S43/235Light guides
    • F21S43/236Light guides characterised by the shape of the light guide
    • F21S43/239Light guides characterised by the shape of the light guide plate-shaped

Landscapes

  • Engineering & Computer Science (AREA)
  • General Engineering & Computer Science (AREA)
  • Non-Portable Lighting Devices Or Systems Thereof (AREA)

Abstract

【課題】意匠的変更において裕度をもたせることができ、また、発光面積を大きくして被視認性を向上させた車両用灯具を提供する。
【解決手段】入光部12から延在され入光部12からの光が導かれる第1導光体11と、第1導光体11との分岐部14を介して延在され入光部12からの光が導かれる第2導光体15と、第1導光体11と第2導光体15の間に形成される平板状導光板17と、第1導光体11および第2導光体15の前記分岐部14と前記平板状導光板17との間に、入光部12から第1導光体11に導かれる光と第2導光体15に導かれる光との分岐を図る光分岐手段20が設けられている。
【選択図】図1

Description

本発明は車両用灯具に係り、たとえばクリアランスランプ等からなる車両用灯具に関する。
たとえばクリアランスランプからなる車両用灯具は、車体の前端部あるいは後端部における左右側にそれぞれ配置されるランプハウジングと前面レンズによって構成される灯室内に配置されて用いられる。
そして、このような車両用灯具としては、たとえば特許文献1に開示されたものが知られている。
特許文献1に開示された車両用灯具は、一端において互いに交差させ他端側へ延在させて構成した第1導光体および第2導光体と、第1導光体の前記一端に配置させた第1発光素子と、第2導光体の前記一端に配置させた第2発光素子と、を備え、第1導光体と第2導光体の前記交差部に第1導光体の延在方向および第2導光体の延在方向のそれぞれにたとえば45°の傾きを有して隣接配置された第1作用面および第2作用面を形成することによって、第1発光素子から第1作用面に達した光の一部が第2作用面から第2導光体側へ導かれ、第2発光素子から第2作用面に達した光の一部が第1作用面から第1導光体側へ導かれるように構成されている。
このように構成された車両用灯具は、光の利用効率の向上が図れるとともに、輝度の均一性の向上が図れるようになっている。
特開2012-4004号公報
しかし、特許文献1で開示される車両用灯具は、第1導光体あるいは第2導光体を湾曲させた任意の形状とすることによって、意匠的変更を可能とするが、第1導光体あるいは第2導光体の形状の変更のみであることから、該意匠的変更にも限界が生じていた。
また、第1導光体および第2導光体は、いずれも、一端から他端へ延在する棒状体として構成されているため、発光面積を大きくとれず被視認性を向上させることのできない不都合を有していた。
本発明は、このような事情に鑑みてなされたものであり、その目的は、意匠的な変更において裕度をもたせることができ、また、発光面積を大きくして被視認性を向上させた車両用灯具を提供することにある。
このような目的を達成するため、本発明は、分岐部を有する第1導光体と第2導光体の間にこれら第1導光体と第2導光体に接続される平板状導光板を設けるようにしたものである。そして、この場合、第1導光体および第2導光体の分岐部と平板状導光板との間に光分岐手段を設けることによって、入光部から第1導光体に導かれる光と第2導光体に導かれる光との効率よい分岐を図るようにしたものである。
このように構成した車両用灯具によれば、平板状導光板を設けることによって、意匠的な変更において裕度をもたせることができ、また、発光面積を大きくでき被視認性を向上させることができるようになる。
本発明は、以下の構成によって把握できる。
(1)本発明による車両用灯具は、入光部から延在され前記入光部からの光が導かれる第1導光体と、前記第1導光体との分岐部を介して延在され前記入光部からの光が導かれる第2導光体と、前記第1導光体と前記第2導光体の間に形成される平板状導光板と、前記第1導光体および前記第2導光体の前記分岐部と前記平板状導光板との間に、前記入光部から前記第1導光体に導かれる光と前記第2導光体に導かれる光との分岐を図る光分岐手段が設けられていることを特徴とする。
(2)本発明による車両用灯具は、(1)の構成において、前記光分岐手段は、前記第1導光体、前記第2導光体、および前記平板状導光板とで囲まれる透孔によって構成されていることを特徴とする。
(3)本発明による車両用灯具は、(1)の構成において、前記光分岐手段は、前記平板状導光板よりも板厚が薄い板材によって構成されていることを特徴とする。
(4)本発明による車両用灯具は、(1)の構成において、前記入光部は、発光素子と、前記発光素子からの光を前記分岐部に導く導光部とで構成されていることを特徴とする。
このように構成した車両用灯具によれば、意匠的変更において裕度をもたせることができ、また、発光面積を大きくして被視認性を向上させることができるようになる。
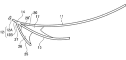
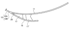
本発明の車両用灯具が具備されるヘッドランプを示す正面図である。 本発明の車両用灯具の分岐部の近傍を示した平面図である。 本発明の車両用灯具の第1導光体、第2導光体、及び平板状導光板における光路の一例を示した説明図である。 本発明の車両用灯具の実施態様2を示す説明図である。 本発明の車両用灯具の実施態様3を示す説明図である。 本発明の車両用灯具の実施態様4を示す説明図である。 本発明の車両用灯具の実施態様5を示す説明図である。 本発明の車両用灯具の実施態様6の一例を示す説明図である。 本発明の車両用灯具の実施態様6の他の例を示す説明図である。
以下、添付図面を参照して、本発明を実施するための形態(以下、実施形態)について詳細に説明する。なお、実施形態の説明の全体を通して同じ要素には同じ番号を付している。
(実施形態1)
図1は、車体のたとえば前端部の左側に取り付けられるヘッドランプに内蔵されるクリアランスランプを示した平面図である。
ヘッドランプ1は、ランプハウシング2とこのランプハウジング2の開口を閉塞する前面レンズ3とで外筐を構成し、この外筐内の灯室に、第1すれ違い用ランプユニット4、第2すれ違い用ランプユニット5、および走行用ランプユニット6とともに、クリアランスランプ10が配置されている。
クリアランスランプ10は、まず、第1すれ違い用ランプユニット4、第2すれ違い用ランプユニット5、および走行用ランプユニット6の上側において、車体の左側から中心側に延在される第1導光体11を有している。この第1導光体11はたとえば断面が円形の導光棒として構成されている。
この第1導光体の車体の左側の一端部は入光部12として構成され、この入光部12は、該第1導光体11の一端面に対向して配置される発光素子12Aと、第1導光体11の前記一端面から所定の距離隔てて形成され該発光素子12Aからの光を第1導光体11内に導く導光部12Bと、から構成されている。
また、クリアランスランプ10は、第1導光体11の前記一端面から導光部12Bを経過した箇所において、第1導光体11との分岐部14を介して延在される第2導光体15が形成されている。この第2導光体15はたとえば断面が円形の導光棒として構成され、たとえば、第1導光体11よりも長さが短く、
前記第1すれ違い用ランプユニット4の下側へ侵入するように延在されて形成されている。
そして、第1導光体11と第2導光体15との間には、これら第1導光体11と第2導光体15にそれぞれ接続されて平板状導光板17が形成されている。この平板状導光板17は、たとえば、その表面においてシボ加工されており、該平板状導光板17内に導かれた光を該表面において拡散発光できるように構成されている。なお、このシボ加工は平板状導光板17の表面の前面に限らず一部の領域に形成するようにしてもよいことはいうまでもない。
また、第1導光体11、第2導光体15、および平板状導光板17とで囲まれるようにして透孔20が設けられ、この透孔20は、前記入光部12から第1導光体11に導かれる光と第2導光体15へ導かれる光との効率的な分岐を図る光分岐手段として機能するようになっている。
ここで、図2(a)は、クリアランスランプ10の分岐部14の近傍を示した平面図である。
図2(a)のb−b線における断面図である図1(b)に示すように、第1導光体11と第2導光体15の間にはこれら第1導光体11と第2導光体15と接続される平板状導光板17が形成されている。そして、第1導光体11の直径をD、第2導光体15の直径をDとした場合、平板状導光板17の厚さはt1(<D)で構成されている。
そして、図2(b)に示すように、第1導光体11の前記前面レンズ3(図1参照)と反対側の面には第1導光体11の長手方向に並設される複数のプリズムから構成される第1反射面40Aが形成されている。第1反射面40Aは前記複数のプリズムによって第1導光体11に導かれる光を車両前方方向(前面レンズ3側)へ導くようになっている。また、第1導光体11に導かれる光は、第1導光体11内を内面反射しながら第1導光体11の端部にまで導かれるとともに、一部の光が平板導光板17の側に導かれるようになっている。同様に、第2導光体15の前記前面レンズ3と反対側の面には第2導光体15の長手方向に並設される複数のプリズムから構成される第2反射面40Bが形成されている。第2反射面40Bは前記複数のプリズムによって第2導光体15に導かれる光を車両前方方向(前面レンズ3側)へ導くようになっている。また、第2導光体15に導かれる光は、第2導光体15内を内面反射しながら第2導光体15の端部にまで導かれるとともに、一部の光が平板導光板17の側に導かれるようになっている。
また、図2(a)のc−c線における断面図である図2(c)に示すように、第1導光体11と第2導光体15の間には透孔20が形成されている。この透孔20は、上述したように光分岐手段として機能し、前記平板状導光板17が形成されていない領域として構成されるようになっている。
図3は、上述したクリアランスランプ10において、その導光部12Bから発光素子12Aの光が入射された場合、第1導光体11、第2導光体15、及び平板状導光板17における光路の一例を示した説明図である。
図3に示すように、導光部12Bに入射された光は分岐部14で分岐され第1導光体11および第2導光体15に導かれるようになっている。この場合、光分岐手段として機能する透孔20によって、第1導光体11に導かれる光と第2導光体15に導かれる光を、漏洩なく第1導光体11および第2導光体15へ導かせることができることから、効率よく分岐させることができるようになる。このことから、第1導光体11と第2導光体15の発光輝度は、分岐部14の入射角度によって調整できる効果を有する。第1導光体11に導かれた光は、該第1導光体11に形成された第1反射面40Aで反射することによって前面レンズ3側へ照射され、また、内面反射により第1導光体11の端部へ導かれるとともに、その際に、第1平板状導光板17側にも入射されるようになっている。同様に、第2導光体15に導かれた光は、該第2導光体15に形成された第2反射面40Bで反射することにより前面レンズ3側へ照射され、また、第2導光体15の端部へ導かれるとともに、その際に、平板状導光板17側にも入射されるようになっている。そして、平板状導光板17に入射された光は、シボ加工された表面から拡散されて出射されるとともに、該平板状導光板17の車体の中心側に形成される一辺17Aの端面からはエッジ光として出射されるようになっている。
なお、図3に示した光の光路は、一例を示したものである。たとえば、平板状導光板17に領域を変えたシボ加工の形成によって、光の光路を変化させることができるようになる。
以上説明したことから明らかとなるように、本発明の車両用灯具によれば、入光部12からの光をたとえば透孔20からなる光分岐手段によって効率よく光分岐させて第1導光体11および第2導光体15に導き、これら分岐された光の一部を平板状導光板17に導く構成としていることから、意匠的変更において裕度をもたせることができ、また、発光面積を大きくして被視認性を向上させることができるようになる。
(実施形態2)
実施形態1では、第1導光体11および第2導光体15の分岐部14と平板状導光板17との間に形成する光分岐手段として透孔20を形成したものである。
しかし、これに限定されることはなく、図2(a)、(b)、(c)と対応させて描いた図4(a)、(b)、(c)に示すように、前記光分岐手段を形成する部分(実施形態1で透孔20を形成した部分)において、平板状導光板17よりも板厚が薄い厚さt0(<t1)からなる板材21によって構成するようにしてもよい。
光分岐手段として板厚が比較的薄い板材21によって構成した場合、第1導光体11あるいは第2導光体15からの光がたとえ前記板材21側に導光されるようになっても、その光量(漏れ光量)は極めて少なく、前記透孔20を形成したと同様の効果が得られ、該板材21が光分岐手段として充分に機能できるからである。
(実施態様3)
実施形態1では、第1導光体11と第2導光体15の間に形成される平板状導光板17は、一つとして構成したものである。しかし、これに限定されることはなく、図5に示すように、第1導光体11および第2導光体15の長手方向に沿って複数個設けるようにしてもよいことはいうまでもない。図5では、平板状導光板17の他に平板状導光板17’をさらに設け、2個の平板状導光板が形成されていることを示している。
この場合において、さらに、意匠的な変更において裕度をもたせることができ、また、発光面積を大きくでき、その面積を任意の大きさにできる。
(実施態様4)
実施態様1では、クリアランスランプ10は、第1導光体11および第2導光体15からなる2つの導光体を備えて構成されたものとなっている。しかし、これに限定されることはなく、図6に示すように、上記の第1導光体11、第2導光体15の他に、第3導光体25を設け、第2導光体15と第3導光体25との間に平板状導光板26を設け、第2導光体15および第3導光体25の分岐部27と該平板状導光板26との間にたとえば透孔20’からなる光分岐手段を設けるように構成するようにしてもよい。
このようにした場合でも、本発明の効果が得られるからである。
(実施形態5)
実施形態1では、クリアランスランプ10に具備される発光素子12Aは1個とし、この発光素子12Aからの光は第1導光体11と第2導光体15との分岐部14に至るまでの導光部12Bに入光されるように構成したものである。
しかし、これに限定されることはなく、図7に示すように、第1導光体11と第2導光体15とを入光部28側において互いに交差するように構成し、第1導光体11の一端面に対向するようにして第1発光素子29を、第2導光体15の一端面に対向するようにして第2発光素子30を配置させ、入光部28は、第1発光素子29と該第1発光素子29からの光を第1導光体11に導く第1導光部31と、第2発光素子30と該第2発光素子30からの光を第2導光体15に導く第2導光部32と、で構成するようにしてもよいことはもちろんである。このように構成した場合でも、本発明の効果が得られるからである。
(実施形態6)
実施形態1では、第1導光体11、第2導光体15は、その断面の形状を円形として説明したものである。しかし、これに限定されることはなく、たとえば、図8に示すように6角形であっても、また、図9に示すように楕円形であってもよいことはいうまでもない。
(実施形態7)
実施形態1では、本発明の車両用灯具としてクリアランスランプ10を例に挙げて示したが、これに限定されることはなく、たとえば、ディタイムランニングランプ、リアコンビランプ等の他のランプにも適用させることができることはいうまでもない。
以上、実施形態を用いて本発明を説明したが、本発明の技術的範囲は上記実施形態に記載の範囲には限定されないことは言うまでもない。上記実施形態に、多様な変更または改良を加えることが可能であることが当業者に明らかである。また、その様な変更または改良を加えた形態も本発明の技術的範囲に含まれ得ることが、特許請求の範囲の記載から明らかである。
1……ヘッドランプ、2……ランプハウジング、3……前面レンズ、4……第1すれ違い用ランプユニット、5……第2すれ違い用ランプユニット、6……走行用ランプユニット、10……クリアランスランプ、11……第1導光体、12、28……入光部、12A……発光素子、12B……導光部、14、27……分岐部、15……第2導光体、17、17’、26……平板状導光板、17A……平板状導光板の一辺、20、20’……透孔(光分岐手段)、21……板材、25……第3導光体、29……第1発光素子、30……第2発光素子、31……第1導光部、32……第2導光部、40A……第1反射面、40B……第2反射面。

Claims (4)

  1. 入光部から延在され前記入光部からの光が導かれる第1導光体と、
    前記第1導光体との分岐部を介して延在され前記入光部からの光が導かれる第2導光体と、
    前記第1導光体と前記第2導光体の間に形成される平板状導光板と、
    前記第1導光体および前記第2導光体の前記分岐部と前記平板状導光板との間に、前記入光部から前記第1導光体に導かれる光と前記第2導光体に導かれる光との分岐を図る光分岐手段が設けられていることを特徴とする車両用灯具。
  2. 前記光分岐手段は、前記第1導光体、前記第2導光体、および前記平板状導光板とで囲まれる透孔によって構成されていることを特徴とする請求項1に記載の車両用灯具。
  3. 前記光分岐手段は、前記平板状導光板よりも板厚が薄い板材によって構成されていることを特徴とする請求項1に記載の車両用灯具。
  4. 前記入光部は、発光素子と、前記発光素子からの光を前記分岐部に導く導光部とで構成されていることを特徴とする請求項1に記載の車両用灯具。
JP2012140614A 2012-06-22 2012-06-22 車両用灯具 Active JP6047942B2 (ja)

Priority Applications (1)

Application Number Priority Date Filing Date Title
JP2012140614A JP6047942B2 (ja) 2012-06-22 2012-06-22 車両用灯具

Applications Claiming Priority (1)

Application Number Priority Date Filing Date Title
JP2012140614A JP6047942B2 (ja) 2012-06-22 2012-06-22 車両用灯具

Publications (2)

Publication Number Publication Date
JP2014007014A true JP2014007014A (ja) 2014-01-16
JP6047942B2 JP6047942B2 (ja) 2016-12-21

Family

ID=50104567

Family Applications (1)

Application Number Title Priority Date Filing Date
JP2012140614A Active JP6047942B2 (ja) 2012-06-22 2012-06-22 車両用灯具

Country Status (1)

Country Link
JP (1) JP6047942B2 (ja)

Cited By (29)

* Cited by examiner, † Cited by third party
Publication number Priority date Publication date Assignee Title
CN104266125A (zh) * 2014-09-24 2015-01-07 江苏申通汽车零部件有限公司 一种带昼间行驶灯功能的前照灯
JP2016009542A (ja) * 2014-06-23 2016-01-18 市光工業株式会社 車両用導光部材、車両用灯具
FR3027856A1 (fr) * 2014-11-03 2016-05-06 Valeo Vision Module lumineux pour vehicule automobile comprenant un guide de lumiere
JP2016100285A (ja) * 2014-11-25 2016-05-30 本田技研工業株式会社 導光体及びそれを用いた灯体
JP2016115397A (ja) * 2014-12-10 2016-06-23 市光工業株式会社 車両用導光部材、車両用灯具
JP2016178059A (ja) * 2015-03-23 2016-10-06 トヨタ自動車東日本株式会社 車両用灯具
JP2016181416A (ja) * 2015-03-24 2016-10-13 スタンレー電気株式会社 車両用灯具
JP2016197575A (ja) * 2015-04-06 2016-11-24 市光工業株式会社 車両用導光体、車両用灯具
JP2017004636A (ja) * 2015-06-05 2017-01-05 株式会社小糸製作所 車両用灯具
AT518191A1 (de) * 2016-02-04 2017-08-15 Zkw Group Gmbh Zusatzoptik für Strahlenteiler bei Lichtleitern
US20170234501A1 (en) * 2016-02-17 2017-08-17 Koito Manufacturing Co., Ltd. Vehicle lamp
FR3047793A1 (fr) * 2016-02-12 2017-08-18 Peugeot Citroen Automobiles Sa Dispositif d'eclairage a plaques diffusantes alimentees par des quantites de photons differentes produites optiquement
JP2018055992A (ja) * 2016-09-29 2018-04-05 スタンレー電気株式会社 灯具ユニット
WO2018074242A1 (ja) * 2016-10-17 2018-04-26 株式会社小糸製作所 車両用灯具
KR20180045353A (ko) * 2016-10-25 2018-05-04 엘지전자 주식회사 차량용 램프
JP2018120708A (ja) * 2017-01-24 2018-08-02 スタンレー電気株式会社 車両用灯具
JP2019121527A (ja) * 2018-01-09 2019-07-22 サカエ理研工業株式会社 車両用灯具
JP2020027690A (ja) * 2018-08-09 2020-02-20 株式会社小糸製作所 車輌用灯具
JP2020035714A (ja) * 2018-08-31 2020-03-05 市光工業株式会社 車両用導光体及び車両用灯具
JP2020087684A (ja) * 2018-11-22 2020-06-04 マツダ株式会社 車両用灯具
FR3090075A1 (fr) * 2018-12-18 2020-06-19 Valeo Vision Module lumineux avec masque de style
CN111351001A (zh) * 2018-12-21 2020-06-30 麦格纳外饰公司 具有光导引件的车辆前照灯
US11099316B1 (en) 2020-03-20 2021-08-24 Varroc Lighting Systems, s.r.o. Light assembly with a multi-branched light guide device
WO2022004599A1 (ja) 2020-06-30 2022-01-06 市光工業株式会社 車両用導光体及び車両用灯具
CN114593382A (zh) * 2020-12-30 2022-06-07 深圳市合瑞软件有限公司 汽车饰板组件及汽车
EP3951254A4 (en) * 2019-04-01 2022-11-30 Valeo Vision OPTICAL ARRANGEMENT, HEADLIGHT AND MOTOR VEHICLE
DE102022115218A1 (de) 2021-06-29 2022-12-29 Varroc Lighting Systems, s.r.o. Beleuchtungseinrichtung eines Fahrzeuges
JP2023068326A (ja) * 2021-11-02 2023-05-17 豊田合成株式会社 導光体
JP2023075457A (ja) * 2021-11-19 2023-05-31 スタンレー電気株式会社 車両用灯具

Families Citing this family (2)

* Cited by examiner, † Cited by third party
Publication number Priority date Publication date Assignee Title
KR102636287B1 (ko) * 2022-03-17 2024-02-14 (주)윤진전자 자동차 내부조명용 분기형 라이트가이드
FR3151378A1 (fr) * 2023-07-17 2025-01-24 Valeo Vision DISPOSITIF D’ÉCLAIRAGE AVEC FONCTION DE SIGNALISATION EN NAPPE TRAVERSÉE par un faisceau D’ÉCLAIRAGE

Citations (2)

* Cited by examiner, † Cited by third party
Publication number Priority date Publication date Assignee Title
JP2001093320A (ja) * 1999-09-27 2001-04-06 Citizen Electronics Co Ltd 面状光源ユニット
JP2010052441A (ja) * 2008-08-26 2010-03-11 Mitsuba Corp 車両用ランプおよび車両用ランプが組込まれたドアミラー

Patent Citations (2)

* Cited by examiner, † Cited by third party
Publication number Priority date Publication date Assignee Title
JP2001093320A (ja) * 1999-09-27 2001-04-06 Citizen Electronics Co Ltd 面状光源ユニット
JP2010052441A (ja) * 2008-08-26 2010-03-11 Mitsuba Corp 車両用ランプおよび車両用ランプが組込まれたドアミラー

Cited By (54)

* Cited by examiner, † Cited by third party
Publication number Priority date Publication date Assignee Title
JP2016009542A (ja) * 2014-06-23 2016-01-18 市光工業株式会社 車両用導光部材、車両用灯具
CN104266125A (zh) * 2014-09-24 2015-01-07 江苏申通汽车零部件有限公司 一种带昼间行驶灯功能的前照灯
US9776552B2 (en) 2014-11-03 2017-10-03 Valeo Vision Light module for a motor vehicle comprising a light guide
FR3027856A1 (fr) * 2014-11-03 2016-05-06 Valeo Vision Module lumineux pour vehicule automobile comprenant un guide de lumiere
CN105570789A (zh) * 2014-11-03 2016-05-11 法雷奥照明公司 包括光导的用于机动车辆的光模块
EP3015759A3 (fr) * 2014-11-03 2016-11-23 Valeo Vision Module lumineux pour véhicule automobile comprenant un guide de lumière
JP2016100285A (ja) * 2014-11-25 2016-05-30 本田技研工業株式会社 導光体及びそれを用いた灯体
JP2016115397A (ja) * 2014-12-10 2016-06-23 市光工業株式会社 車両用導光部材、車両用灯具
JP2016178059A (ja) * 2015-03-23 2016-10-06 トヨタ自動車東日本株式会社 車両用灯具
JP2016181416A (ja) * 2015-03-24 2016-10-13 スタンレー電気株式会社 車両用灯具
JP2016197575A (ja) * 2015-04-06 2016-11-24 市光工業株式会社 車両用導光体、車両用灯具
JP2017004636A (ja) * 2015-06-05 2017-01-05 株式会社小糸製作所 車両用灯具
EP3205926A1 (de) * 2016-02-04 2017-08-16 ZKW Group GmbH Zusatzoptik für strahlenteiler bei lichtleitern
AT518191A1 (de) * 2016-02-04 2017-08-15 Zkw Group Gmbh Zusatzoptik für Strahlenteiler bei Lichtleitern
AT518191B1 (de) * 2016-02-04 2017-11-15 Zkw Group Gmbh Zusatzoptik für Strahlenteiler bei Lichtleitern
FR3047793A1 (fr) * 2016-02-12 2017-08-18 Peugeot Citroen Automobiles Sa Dispositif d'eclairage a plaques diffusantes alimentees par des quantites de photons differentes produites optiquement
JP2017147102A (ja) * 2016-02-17 2017-08-24 株式会社小糸製作所 車両用灯具
CN107091442A (zh) * 2016-02-17 2017-08-25 株式会社小糸制作所 车辆用灯具
US10371341B2 (en) 2016-02-17 2019-08-06 Koito Manufacturing Co., Ltd. Vehicle lamp
US20170234501A1 (en) * 2016-02-17 2017-08-17 Koito Manufacturing Co., Ltd. Vehicle lamp
JP2018055992A (ja) * 2016-09-29 2018-04-05 スタンレー電気株式会社 灯具ユニット
JP6998314B2 (ja) 2016-10-17 2022-02-04 株式会社小糸製作所 車両用灯具
US11015779B2 (en) 2016-10-17 2021-05-25 Koito Manufacturing Co., Ltd. Vehicle lamp with light guide having rod-shaped part and plate-shaped part
EP3527874A4 (en) * 2016-10-17 2020-05-27 Koito Manufacturing Co., Ltd. VEHICLE LAMP FITTING
JPWO2018074242A1 (ja) * 2016-10-17 2019-09-05 株式会社小糸製作所 車両用灯具
WO2018074242A1 (ja) * 2016-10-17 2018-04-26 株式会社小糸製作所 車両用灯具
CN109844404A (zh) * 2016-10-17 2019-06-04 株式会社小糸制作所 车辆用灯具
US10222021B2 (en) 2016-10-25 2019-03-05 Lg Electronics Inc. Vehicular lamp
KR20180045353A (ko) * 2016-10-25 2018-05-04 엘지전자 주식회사 차량용 램프
CN108375031A (zh) * 2016-10-25 2018-08-07 Lg电子株式会社 车辆用灯泡
KR101885656B1 (ko) 2016-10-25 2018-08-06 엘지전자 주식회사 차량용 램프
JP2018120708A (ja) * 2017-01-24 2018-08-02 スタンレー電気株式会社 車両用灯具
JP2019121527A (ja) * 2018-01-09 2019-07-22 サカエ理研工業株式会社 車両用灯具
JP2020027690A (ja) * 2018-08-09 2020-02-20 株式会社小糸製作所 車輌用灯具
JP7100530B2 (ja) 2018-08-09 2022-07-13 株式会社小糸製作所 車輌用灯具
JP2020035714A (ja) * 2018-08-31 2020-03-05 市光工業株式会社 車両用導光体及び車両用灯具
JP7131213B2 (ja) 2018-08-31 2022-09-06 市光工業株式会社 車両用導光体及び車両用灯具
JP2020087684A (ja) * 2018-11-22 2020-06-04 マツダ株式会社 車両用灯具
JP7205194B2 (ja) 2018-11-22 2023-01-17 マツダ株式会社 車両用灯具
FR3090075A1 (fr) * 2018-12-18 2020-06-19 Valeo Vision Module lumineux avec masque de style
US11408581B2 (en) 2018-12-18 2022-08-09 Valeo Vision Lighting module with styling mask
WO2020127371A1 (fr) * 2018-12-18 2020-06-25 Valeo Vision Module lumineux avec masque de style
CN111351001A (zh) * 2018-12-21 2020-06-30 麦格纳外饰公司 具有光导引件的车辆前照灯
US11719402B2 (en) 2019-04-01 2023-08-08 Valeo Vision Optical assembly, vehicle lamp, and motor vehicle
EP3951254A4 (en) * 2019-04-01 2022-11-30 Valeo Vision OPTICAL ARRANGEMENT, HEADLIGHT AND MOTOR VEHICLE
US11099316B1 (en) 2020-03-20 2021-08-24 Varroc Lighting Systems, s.r.o. Light assembly with a multi-branched light guide device
WO2022004599A1 (ja) 2020-06-30 2022-01-06 市光工業株式会社 車両用導光体及び車両用灯具
US11953174B2 (en) 2020-06-30 2024-04-09 Ichikoh Industries, Ltd. Vehicle light guide and vehicle lamp
CN114593382A (zh) * 2020-12-30 2022-06-07 深圳市合瑞软件有限公司 汽车饰板组件及汽车
DE102022115218A1 (de) 2021-06-29 2022-12-29 Varroc Lighting Systems, s.r.o. Beleuchtungseinrichtung eines Fahrzeuges
JP2023068326A (ja) * 2021-11-02 2023-05-17 豊田合成株式会社 導光体
JP7609038B2 (ja) 2021-11-02 2025-01-07 豊田合成株式会社 導光体
JP2023075457A (ja) * 2021-11-19 2023-05-31 スタンレー電気株式会社 車両用灯具
JP7764213B2 (ja) 2021-11-19 2025-11-05 スタンレー電気株式会社 車両用灯具

Also Published As

Publication number Publication date
JP6047942B2 (ja) 2016-12-21

Similar Documents

Publication Publication Date Title
JP6047942B2 (ja) 車両用灯具
JP6235948B2 (ja) 車両用灯具
JP6709095B2 (ja) 車両用灯具
JP2017147102A (ja) 車両用灯具
JP2011216279A (ja) 車両用灯具
US10174902B2 (en) Vehicle lighting fixture
JP6264789B2 (ja) 車両用灯具
JP6829973B2 (ja) 灯具ユニット
JP2017010840A (ja) 車輌用灯具
WO2014199563A1 (ja) 車両用灯具
US20140226354A1 (en) Optical system for an illumination device for vehicles
JP2017041368A (ja) 導光体及びこれを用いた車両用灯具
JP2017027662A (ja) 車両用灯具
JP7083830B2 (ja) 自動車ヘッドライト用の導光板を有する発光モジュール
JP6474660B2 (ja) 車両用灯具
JP2018041711A (ja) 回り込み導光部を備えたレンズおよび車両用灯具
JP4527555B2 (ja) ターンランプ及びターンランプ付きドアミラー
JP2016225254A (ja) 車両用灯具
JP2015230872A (ja) 車輌用灯具
JP5776376B2 (ja) 車両用灯具
JP2006012837A (ja) 光ガイドを有する照明装置または信号装置
JP2016152142A (ja) 車両用灯具
JP2015176727A (ja) 車両用灯具及びレンズ体
JP2016009648A (ja) 車両用照明装置
JP6253960B2 (ja) 導光板及び車両用灯具

Legal Events

Date Code Title Description
A621 Written request for application examination

Free format text: JAPANESE INTERMEDIATE CODE: A621

Effective date: 20150619

A977 Report on retrieval

Free format text: JAPANESE INTERMEDIATE CODE: A971007

Effective date: 20160317

A131 Notification of reasons for refusal

Free format text: JAPANESE INTERMEDIATE CODE: A131

Effective date: 20160329

A521 Request for written amendment filed

Free format text: JAPANESE INTERMEDIATE CODE: A523

Effective date: 20160512

TRDD Decision of grant or rejection written
A01 Written decision to grant a patent or to grant a registration (utility model)

Free format text: JAPANESE INTERMEDIATE CODE: A01

Effective date: 20161025

A61 First payment of annual fees (during grant procedure)

Free format text: JAPANESE INTERMEDIATE CODE: A61

Effective date: 20161107

R150 Certificate of patent or registration of utility model

Ref document number: 6047942

Country of ref document: JP

Free format text: JAPANESE INTERMEDIATE CODE: R150

R250 Receipt of annual fees

Free format text: JAPANESE INTERMEDIATE CODE: R250

R250 Receipt of annual fees

Free format text: JAPANESE INTERMEDIATE CODE: R250

R250 Receipt of annual fees

Free format text: JAPANESE INTERMEDIATE CODE: R250

R250 Receipt of annual fees

Free format text: JAPANESE INTERMEDIATE CODE: R250

R250 Receipt of annual fees

Free format text: JAPANESE INTERMEDIATE CODE: R250

R250 Receipt of annual fees

Free format text: JAPANESE INTERMEDIATE CODE: R250

R250 Receipt of annual fees

Free format text: JAPANESE INTERMEDIATE CODE: R250