JP2012220249A - シャント抵抗式電流センサ - Google Patents

シャント抵抗式電流センサ Download PDF

Info

Publication number
JP2012220249A
JP2012220249A JP2011083706A JP2011083706A JP2012220249A JP 2012220249 A JP2012220249 A JP 2012220249A JP 2011083706 A JP2011083706 A JP 2011083706A JP 2011083706 A JP2011083706 A JP 2011083706A JP 2012220249 A JP2012220249 A JP 2012220249A
Authority
JP
Japan
Prior art keywords
bus bar
circuit board
connection terminal
current sensor
shunt resistance
Prior art date
Legal status (The legal status is an assumption and is not a legal conclusion. Google has not performed a legal analysis and makes no representation as to the accuracy of the status listed.)
Granted
Application number
JP2011083706A
Other languages
English (en)
Other versions
JP5926495B2 (ja
Inventor
Takashi Sato
孝 佐藤
Current Assignee (The listed assignees may be inaccurate. Google has not performed a legal analysis and makes no representation or warranty as to the accuracy of the list.)
Yazaki Corp
Original Assignee
Yazaki Corp
Priority date (The priority date is an assumption and is not a legal conclusion. Google has not performed a legal analysis and makes no representation as to the accuracy of the date listed.)
Filing date
Publication date
Application filed by Yazaki Corp filed Critical Yazaki Corp
Priority to JP2011083706A priority Critical patent/JP5926495B2/ja
Priority to PCT/JP2012/059947 priority patent/WO2012137980A1/en
Priority to EP12716689.0A priority patent/EP2694985A1/en
Publication of JP2012220249A publication Critical patent/JP2012220249A/ja
Priority to US14/032,423 priority patent/US20140015515A1/en
Application granted granted Critical
Publication of JP5926495B2 publication Critical patent/JP5926495B2/ja
Expired - Fee Related legal-status Critical Current
Anticipated expiration legal-status Critical

Links

Images

Classifications

    • GPHYSICS
    • G01MEASURING; TESTING
    • G01RMEASURING ELECTRIC VARIABLES; MEASURING MAGNETIC VARIABLES
    • G01R1/00Details of instruments or arrangements of the types included in groups G01R5/00 - G01R13/00 and G01R31/00
    • G01R1/20Modifications of basic electric elements for use in electric measuring instruments; Structural combinations of such elements with such instruments
    • G01R1/203Resistors used for electric measuring, e.g. decade resistors standards, resistors for comparators, series resistors, shunts
    • GPHYSICS
    • G01MEASURING; TESTING
    • G01RMEASURING ELECTRIC VARIABLES; MEASURING MAGNETIC VARIABLES
    • G01R31/00Arrangements for testing electric properties; Arrangements for locating electric faults; Arrangements for electrical testing characterised by what is being tested not provided for elsewhere
    • G01R31/36Arrangements for testing, measuring or monitoring the electrical condition of accumulators or electric batteries, e.g. capacity or state of charge [SoC]
    • G01R31/364Battery terminal connectors with integrated measuring arrangements

Landscapes

  • Physics & Mathematics (AREA)
  • General Physics & Mathematics (AREA)
  • Measuring Instrument Details And Bridges, And Automatic Balancing Devices (AREA)

Abstract

【課題】熱膨張差による耐久性の問題を改善すると共にコスト面においても改善を図ることが可能なシャント抵抗式電流センサを提供する。
【解決手段】シャント抵抗式電流センサ1は、略平板形状のバスバ10と、バスバ10上に設置された回路基板20と、バスバ10のうち回路基板20の搭載箇所においてバスバ10から延在され、回路基板20と電気接続される接続端子部40と、回路基板20上に設置され、バスバ10に流れる被測定電流の大きさを検出するために接続端子部40を介して回路基板20に印加される電圧値を検出する電圧検出IC30と、を備え、接続端子部40は、対となって突き合わされて形成される共に、それぞれがバスバ10の平板部よりも立ち上げられて片持ち状となっている。
【選択図】図2

Description

本発明は、シャント抵抗式電流センサに関する。
従来、パルス電流や交流大電流等を測定するため、抵抗値が既知なシャント抵抗に被測定電流を流し、このシャント抵抗に生じる電圧降下を測定するシャント抵抗式電流センサが提案されている。このようなシャント抵抗式電流センサは、電圧降下を測定する際、電圧降下を測定するための電圧検出IC等が搭載される回路基板とシャント抵抗とを接続する必要がある。シャント抵抗がバスバである場合、バスバと回路基板とを接続する必要がある。
しかし、バスバと回路基板とはそれぞれ熱膨張率が異なるため、熱膨張差によりバスバと回路基板とに応力が掛かってしまい、耐久性に問題が生じてしまう。そこで、熱膨張差による耐久性問題を改善するシャント抵抗式電流センサが提案されている(特許文献1及び2参照)。
特開2005−188972号公報 特開2005−188973号公報
しかし、特許文献1及び2に記載のシャント抵抗式電流センサは、可とう性が高い高価なフレキシブル配線板(回路基板)を使用したり、ピン状の接続部材が必要となったりするため、コスト面で改善の余地があった。
本発明はこのような従来の課題を解決するためになされたものであり、その目的とするところは、熱膨張差による耐久性の問題を改善すると共にコスト面においても改善を図ることが可能なシャント抵抗式電流センサを提供することにある。
本発明のシャント抵抗式電流センサは、略平板形状のバスバと、バスバ上に設置された回路基板と、バスバから延在され、回路基板と電気接続される接続端子部と、回路基板上に設置され、バスバに流れる被測定電流の大きさを検出するために接続端子部を介して回路基板に印加される電圧値を検出する電圧検出手段と、を備え、接続端子部は、対となって突き合わされて形成される共に、それぞれがバスバの平板部よりも立ち上げられて片持ち状となっていることを特徴とする。
本発明のシャント抵抗式電流センサによれば、接続端子部は、バスバから延在され、回路基板と電気接続される。また、接続端子部は、それぞれがバスバの平板部よりも立ち上げられて片持ち状となっている。このため、仮にバスバと回路基板との熱膨張差により応力が発生したとしても、その応力が片持ち状に形成される接続端子部の弾性力により緩和される。また、接続端子部は、対となって突き合わされて形成されているため、応力が発生する距離を短くすることができ、応力を小さくすることができる。よって、熱膨張差による耐久性の問題を改善することができる。また、回路基板を可とう性が高く高価なフレキシブル回路基板等にする必要がなく、しかも、接続端子部はバスバの平板部から、その一部が立ち上げられて形成されているため、ピン状の接続部材も必要がない。よって、コスト面で改善を図ることができる。
また、本発明のシャント抵抗式電流センサにおいて、接続端子部それぞれは、幅方向の大きさが長さ方向の大きさよりも小さくされていることが好ましい。
このシャント抵抗式電流センサによれば、接続端子部それぞれは、幅方向の大きさが長さ方向の大きさよりも小さくされているため、接続端子部が細くなって撓みやすくなり、応力の緩和をし易くすることができる。また、接続端子部が細いことから半田付けにより回路基板との電気接続を行う際に、熱が逃げ難く半田付けし易くすることができる。
また、本発明のシャント抵抗式電流センサにおいて、バスバ近傍の温度を検出する温度検出手段をさらに備え、電圧検出手段は、温度検出手段による検出結果に応じて、電圧補正を行うことが好ましい。
このシャント抵抗式電流センサによれば、バスバ近傍の温度を検出する温度検出手段をさらに備え、電圧検出手段は、温度検出手段による検出結果に応じて、電圧補正を行う。このため、温度の影響による抵抗変化によって誤った結果を得てしまうことを防止することができる。
また、本発明のシャント抵抗式電流センサにおいて、バスバは、バッテリターミナルであることが好ましい。
このシャント抵抗式電流センサによれば、バスバはバッテリターミナルである。ここでバッテリターミナルは銅合金などが使用され、温度変化が小さいシャント抵抗用の材料(例えばマンガニン)と比べると温度による抵抗変化が大きい。しかし、温度補正を行うため、バッテリターミナル用のシャント抵抗式電流センサとして、より効果的な温度補正を行うことができる。
本発明によれば、熱膨張差による耐久性の問題を改善すると共にコスト面においても改善を図ることが可能なシャント抵抗式電流センサを提供することができる。
従来のシャント抵抗式電流センサの一例を示す上面図である。 本発明の実施形態に係る本発明の実施形態に係るシャント抵抗式電流センサのバスバを示す上面図である。 本発明の実施形態に係る本発明の実施形態に係るシャント抵抗式電流センサのバスバを示すA−A断面図である。 本実施形態に係るシャント抵抗式電流センサの上面図である。 本実施形態に係るシャント抵抗式電流センサの側面図である。 本実施形態に係るシャント抵抗式電流センサの使用状態図である。 本実施形態に係るシャント抵抗式電流センサの作用を示すバスバの上面図である。
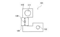
以下、本発明の好適な実施形態を図面に基づいて説明するのに先立って、シャント式電流センサの熱膨張差について詳細に説明する。図1は、従来のシャント抵抗式電流センサの一例を示す上面図である。図1に示すシャント抵抗式電流センサ101は、バッテリターミナルとして用いられるものであって、バスバ110と、回路基板120と、電圧検出IC130とを備えている。
バスバ110は、略平板形状の導電部材であって、例えば銅マンガン合金や銅ニッケル合金などにより構成されている。このバスバ110は、平板形状の鋼材からプレス成形により所望の形状に形成される。また、バスバ110はシャント抵抗の役割を果たし、被測定電流が流れるようになっている。
より詳細にバスバ110は、略L字状に形成され、L字のそれぞれの先端部に貫通孔111,112が形成されている。このうち一方の貫通孔111は、バッテリポスト用の孔として機能すると共に、他方の貫通孔112はワイヤーハーネス固定ネジ用の孔として機能する。
回路基板120は、バスバ110の中間部に搭載され、バスバ110と接続ピン等により電気接続されている。電圧検出IC130は、バスバ110に流れる被測定電流の大きさを検出するために回路基板120に印加される電圧値を検出するものである。この電圧検出IC130による電圧値の検出により、バスバ110に生じる電圧降下が測定される。
ここで、バスバ110と回路基板120とは素材が異なっている。このため、熱膨張率が異なってしまう。一例を挙げると、20℃におけるバスバ110の線膨張率は16.5×10−6〔1/K〕であり、回路基板120の線膨張率は16.0×10−6〔1/K〕であるとすると、温度が上昇するとバスバ110の方が長くなってしまい、バスバ110と回路基板120との電気接続部である接続ピン等に応力が発生し、破損等してしまう可能性がある。
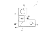
図2は、本発明の実施形態に係る本発明の実施形態に係るシャント抵抗式電流センサのバスバを示す上面図であり、図3は、本発明の実施形態に係る本発明の実施形態に係るシャント抵抗式電流センサのバスバを示すA−A断面図である。これらの図に示すシャント抵抗式電流センサ1は、接続端子部40を備えている。なお、バスバ10、回路基板20、及び電圧検出IC30は、図1に示したものと同様であるため、以下において重複する説明を省略する。
接続端子部40は、バスバ10から延在されて形成され、バスバ10と同一部材にて形成されたものである。すなわち、バスバ10及び接続端子部40は、平板形状の鋼材からプレス成形により同時的に形成される。この接続端子部40は、バスバ10のうち回路基板20の搭載箇所の内方に向かって、バスバ10から延在されて形成されている。
また、本実施形態において接続端子部40は、対となって突き合わされて形成される共に、それぞれがバスバ10の平板部よりも立ち上げられて片持ち状となっている。接続端子部40は、その自由端側が回路基板20と半田付けにより電気接続される構成となっている。また、図2に示すように、接続端子部40それぞれは、幅方向の大きさが長さ方向の大きさよりも小さくされている。
図4は、本実施形態に係るシャント抵抗式電流センサ1の上面図である。図4に示すように、回路基板20は回路パターン21が形成されている。電圧検出IC30は回路パターン21上に搭載されている。また、回路パターン21の端部は、上記した接続端子部40の自由端側に電気接続されている。これにより、電圧検出IC30は、回路基板20に印加される電圧値を検出し、電圧降下からバスバ10に流れる被測定電流の大きさを検出する。
図5は、本実施形態に係るシャント抵抗式電流センサ1の側面図である。図5に示すように、シャント抵抗式電流センサ1は、スペーサ50と温度センサ(温度検出手段)60とをさらに備えている。
スペーサ50は、バスバ10と回路基板20との間に介在される部材である。回路基板20は、接続端子部40がバスバ10の平板部よりも立ち上げられているため、バスバ10よりもやや高くなっている。このため、回路基板20の搭載箇所のうち接続端子部40の反対側領域にスペーサ50を介在させることで、高さ分を補っている。
温度センサ60は、回路基板20のうち電圧検出IC30の搭載面と反対側の面に設けられ、バスバ10と近接するように配置されている。このため、温度センサ60は、バスバ10近傍の温度を検出することとなる。
また、本実施形態において電圧検出IC30は、温度センサ60による検出結果に応じて、電圧補正を行う。すなわち、電圧検出IC30は、温度変化による抵抗変化の影響を受けて、誤った電流値を検出しないように温度結果に応じた電圧補正を行う。
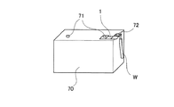
図6は、本実施形態に係るシャント抵抗式電流センサ1の使用状態図である。図6に示すように本実施形態に係るシャント抵抗式電流センサ1のバスバ10はバッテリターミナルとして用いられる。このため、バスバ10の貫通孔11はバッテリ70のバッテリポスト71に接続され、他方の貫通孔12にはワイヤーハーネス固定ネジ72を介してワイヤーハーネスWに接続される。
ここで、バスバ10がバッテリターミナルとして用いられる場合、バスバ10には銅合金などが使用され、温度変化が小さい他のシャント抵抗用の材料(例えばマンガニン)と比べると温度による抵抗変化が大きい。しかし、温度補正を行うため、バッテリターミナル用のシャント抵抗式電流センサ1として、より効果的な温度補正を行うことができる。
次に、本実施形態に係るシャント抵抗式電流センサ1の作用を説明する。まず、熱の影響によりバスバ10及び回路基板20の双方が熱膨張したとする。このとき、バスバ10と回路基板20との素材が異なることから、熱膨張率も異なることとなる。このため、膨張率差により応力が発生し、バスバ10と回路基板20とを電気的接続する接合部(すなわち半田部位)が破損して、電気的な接続がとれなくなってしまう可能性がある。
しかし、本実施形態に係るシャント抵抗式電流センサ1は接続端子部40を備えている。この接続端子部40はそれぞれがバスバ10の平板部よりも立ち上げられて片持ち状となっている。このため、接続端子部40の弾性力により応力が緩和されることとなる。これにより、接合部が応力により破損してしまう事態が抑制されることとなる。
特に、接続端子部40は対となって突き合わされて形成されている。図7は、本実施形態に係るシャント抵抗式電流センサ1の作用を示すバスバ10の上面図である。接続端子部40を備えない構成の場合、シャント抵抗部の長さbに応じた応力が発生してしまう。これに対してそれぞれの接続端子部40の長さがcであるとすると、対となって突き合わされている間の距離d=b−2cに応じて応力が発生することとなる。すなわち、応力が発生する距離を短くすることで、応力自体を小さくすることができる。
よって、接合部の破損を防止することができる。また、接合部の破損を防止することができることから、回路基板20を可とう性が高く高価なフレキシブル回路基板等にする必要がなく、しかも、接続端子部40はバスバ10の平板部から立ち上げられて形成されているため、ピン状の接続部材も必要がない。
さらに、接続端子部40は幅方向の大きさが長さ方向の大きさよりも小さくされていることから、接続端子部40が細くなり、より応力を緩和しやすくされており、一層接合部の破損を防止することができる。また、接続端子部40が細いことから半田付けにより回路基板20との電気接続を行う際に、熱が逃げ難く半田付けし易くすることができる。
加えて、接続端子部40をバスバ10の平面部よりも高くしているため、バスバ10と回路基板20との接触も避けることとなる。
このようにして、本実施形態に係るシャント抵抗式電流センサ1によれば、接続端子部40は、バスバ10のうち回路基板20の搭載箇所においてバスバ10から延在され、回路基板20と電気接続される。また、接続端子部40は、それぞれがバスバ10の平板部よりも立ち上げられて片持ち状となっている。このため、仮にバスバ10と回路基板20との熱膨張差により応力が発生したとしても、その応力が片持ち状に形成される接続端子部40の弾性力により緩和される。また、接続端子部40は、対となって突き合わされて形成されているため、応力が発生する距離を短くすることができ、応力を小さくすることができる。よって、熱膨張差による耐久性の問題を改善することができる。また、回路基板20を可とう性が高く高価なフレキシブル回路基板等にする必要がなく、しかも、接続端子部40はバスバ10の平板部から、その一部が立ち上げられて形成されているため、ピン状の接続部材も必要がない。よって、コスト面で改善を図ることができる。
また、接続端子部40それぞれは、幅方向の大きさが長さ方向の大きさよりも小さくされているため、接続端子部40が細くなって撓みやすくなり、応力の緩和をし易くすることができる。また、接続端子部40が細いことから半田付けにより回路基板20との電気接続を行う際に、熱が逃げ難く半田付けし易くすることができる。
また、バスバ10近傍の温度を検出する温度センサ60をさらに備え、電圧検出IC30は、温度センサ60による検出結果に応じて、電圧補正を行う。このため、温度の影響による抵抗変化によって誤った結果を得てしまうことを防止することができる。
また、バスバ10はバッテリターミナルである。ここでバッテリターミナルは銅合金などが使用され、温度変化が小さいシャント抵抗用の材料(例えばマンガニン)と比べると温度による抵抗変化が大きい。しかし、温度補正を行うため、バッテリターミナル用のシャント抵抗式電流センサ1として、より効果的な温度補正を行うことができる。
以上、実施形態に基づき本発明を説明したが、本発明は上記実施形態に限られるものではなく、本発明の趣旨を逸脱しない範囲で、変更を加えてもよい。
例えば、本実施形態に係るシャント抵抗式電流センサ1において、接続端子部40は上記実施形態に係る形状に限定されるものではない。例えば本実施形態において接続端子部40は直線状であるが、これに限らず、曲線状等であってもよい。また、直線状や曲線状等の接続端子部40の一部に切り欠きが形成されていてもよい。また、接続端子部40の幅は一定でなくともよい。
1…シャント抵抗式電流センサ
10…バスバ
11,12…貫通孔
20…回路基板
21…回路パターン
30…電圧検出IC(電圧検出手段)
40…接続端子部
50…スペーサ
60…温度センサ(温度検出手段)

Claims (4)

  1. 略平板形状のバスバと、
    前記バスバ上に設置された回路基板と、
    前記バスバから延在され、前記回路基板と電気接続される接続端子部と、
    前記回路基板上に設置され、前記バスバに流れる被測定電流の大きさを検出するために前記接続端子部を介して回路基板に印加される電圧値を検出する電圧検出手段と、を備え、
    前記接続端子部は、対となって突き合わされて形成される共に、それぞれが前記バスバの平板部よりも立ち上げられて片持ち状となっている
    ことを特徴とするシャント抵抗式電流センサ。
  2. 前記接続端子部それぞれは、幅方向の大きさが長さ方向の大きさよりも小さくされている
    ことを特徴とする請求項1に記載のシャント抵抗式電流センサ。
  3. 前記バスバ近傍の温度を検出する温度検出手段をさらに備え、
    前記電圧検出手段は、前記温度検出手段による検出結果に応じて、電圧補正を行う
    ことを特徴とする請求項1又は請求項2のいずれかに記載のシャント抵抗式電流センサ。
  4. 前記バスバは、バッテリターミナルである
    ことを特徴とする請求項3に記載のシャント抵抗式電流センサ。
JP2011083706A 2011-04-05 2011-04-05 シャント抵抗式電流センサ Expired - Fee Related JP5926495B2 (ja)

Priority Applications (4)

Application Number Priority Date Filing Date Title
JP2011083706A JP5926495B2 (ja) 2011-04-05 2011-04-05 シャント抵抗式電流センサ
PCT/JP2012/059947 WO2012137980A1 (en) 2011-04-05 2012-04-05 Shunt resistance type current sensor
EP12716689.0A EP2694985A1 (en) 2011-04-05 2012-04-05 Shunt resistance type current sensor
US14/032,423 US20140015515A1 (en) 2011-04-05 2013-09-20 Shunt Resistance Type Current Sensor

Applications Claiming Priority (1)

Application Number Priority Date Filing Date Title
JP2011083706A JP5926495B2 (ja) 2011-04-05 2011-04-05 シャント抵抗式電流センサ

Publications (2)

Publication Number Publication Date
JP2012220249A true JP2012220249A (ja) 2012-11-12
JP5926495B2 JP5926495B2 (ja) 2016-05-25

Family

ID=46001687

Family Applications (1)

Application Number Title Priority Date Filing Date
JP2011083706A Expired - Fee Related JP5926495B2 (ja) 2011-04-05 2011-04-05 シャント抵抗式電流センサ

Country Status (4)

Country Link
US (1) US20140015515A1 (ja)
EP (1) EP2694985A1 (ja)
JP (1) JP5926495B2 (ja)
WO (1) WO2012137980A1 (ja)

Cited By (7)

* Cited by examiner, † Cited by third party
Publication number Priority date Publication date Assignee Title
WO2014115724A1 (ja) * 2013-01-23 2014-07-31 矢崎総業株式会社 シャント抵抗式電流センサ
JP2015011844A (ja) * 2013-06-28 2015-01-19 三洋電機株式会社 車載用の電源装置及び電源装置を備える車両並びにバスバー
KR20150061881A (ko) * 2013-11-28 2015-06-05 현대모비스 주식회사 차량 배터리 센싱 모듈 및 그 방법
KR20150125999A (ko) * 2013-03-05 2015-11-10 콘티넨탈 오토모티브 게엠베하 통합된 클램핑 디바이스와 질량 소자를 포함하는 전류 센서 디바이스
WO2016042732A1 (ja) * 2014-09-16 2016-03-24 パナソニックIpマネジメント株式会社 バッテリセンサ装置
JP2017222195A (ja) * 2016-06-13 2017-12-21 日本精機株式会社 車両用警音器の制御装置
WO2020045915A1 (ko) * 2018-08-31 2020-03-05 주식회사 엘지화학 션트 저항의 전류값 보정 시스템 및 방법

Families Citing this family (10)

* Cited by examiner, † Cited by third party
Publication number Priority date Publication date Assignee Title
JP2014085245A (ja) * 2012-10-24 2014-05-12 Yazaki Corp シャント抵抗式電流センサ
US10581056B2 (en) 2013-09-06 2020-03-03 Cps Technology Holdings Llc Systems, methods, and devices for pre-charge control of a battery module
DE102016014130B3 (de) * 2016-11-25 2017-11-23 Isabellenhütte Heusler Gmbh & Co. Kg Strommessvorrichtung
CN109591601B (zh) * 2018-12-19 2020-11-17 安徽江淮汽车集团股份有限公司 一种自诊断的车用分流器电路
US11515585B2 (en) * 2019-02-21 2022-11-29 Datang Nxp Semiconductors Co., Ltd. Accurate battery temperature measurement by compensating self heating
DE102019108541A1 (de) * 2019-04-02 2020-10-08 Eberspächer Controls Landau Gmbh & Co. Kg Strommessbaugruppe
PL3823076T3 (pl) * 2019-11-12 2024-09-16 Samsung Sdi Co., Ltd. Układ czujników dla modułu baterii
US11639967B2 (en) * 2019-11-12 2023-05-02 Samsung Sdi Co., Ltd. Sensor system for a battery module
EP4065989B1 (en) * 2019-11-27 2025-02-26 Eaton Intelligent Power Limited Busbar as current sensor
US20250052786A1 (en) * 2021-12-16 2025-02-13 Vitesco Technologies GmbH Current sensing system

Citations (11)

* Cited by examiner, † Cited by third party
Publication number Priority date Publication date Assignee Title
JP2004221160A (ja) * 2003-01-10 2004-08-05 Mitsubishi Electric Corp 電流検出用抵抗器
JP2005017293A (ja) * 2003-06-26 2005-01-20 Isabellenhuette Heusler Gmbh Kg 抵抗装置、その製造方法、および測定回路
JP2005129379A (ja) * 2003-10-24 2005-05-19 Auto Network Gijutsu Kenkyusho:Kk バッテリターミナル
JP2005188931A (ja) * 2003-12-24 2005-07-14 Auto Network Gijutsu Kenkyusho:Kk 電圧降下式電流計測装置
JP2008082957A (ja) * 2006-09-28 2008-04-10 Denso Corp シャント抵抗器
JP2009040314A (ja) * 2007-08-10 2009-02-26 Denso Corp 車両システム
JP2009063527A (ja) * 2007-09-10 2009-03-26 Furukawa Electric Co Ltd:The 電流検出装置
JP2009177903A (ja) * 2008-01-23 2009-08-06 Denso Corp 車両システム
WO2010121841A1 (de) * 2009-07-01 2010-10-28 Isabellenhütte Heusler Gmbh & Co. Kg Elektronisches bauelement und entsprechendes herstellungsverfahren
JP2011003694A (ja) * 2009-06-18 2011-01-06 Koa Corp シャント抵抗器およびその製造方法
JP2011047721A (ja) * 2009-08-25 2011-03-10 Sanyo Electric Co Ltd シャント抵抗及びシャント抵抗を備える車両用の電源装置並びに車両

Family Cites Families (17)

* Cited by examiner, † Cited by third party
Publication number Priority date Publication date Assignee Title
JPH0483175A (ja) * 1990-07-25 1992-03-17 Mitsubishi Electric Corp 電流検出装置
US6304062B1 (en) * 1999-10-28 2001-10-16 Powersmart, Inc. Shunt resistance device for monitoring battery state of charge
US7319304B2 (en) * 2003-07-25 2008-01-15 Midtronics, Inc. Shunt connection to a PCB of an energy management system employed in an automotive vehicle
DE20318266U1 (de) * 2003-11-26 2004-02-19 Hella Kg Hueck & Co. Vorrichtung zur Strommessung
JP2005181119A (ja) * 2003-12-19 2005-07-07 Auto Network Gijutsu Kenkyusho:Kk 電流センサ及び同センサを備えた回路構成体
JP2005188972A (ja) 2003-12-24 2005-07-14 Auto Network Gijutsu Kenkyusho:Kk 電圧降下式電流計測装置
JP2005188973A (ja) 2003-12-24 2005-07-14 Auto Network Gijutsu Kenkyusho:Kk 電圧降下式電流計測装置
JP2005188945A (ja) * 2003-12-24 2005-07-14 Auto Network Gijutsu Kenkyusho:Kk 電圧降下式電流計測装置
JP2005188935A (ja) * 2003-12-24 2005-07-14 Auto Network Gijutsu Kenkyusho:Kk 電圧降下式電流計測装置
US7253602B2 (en) * 2004-10-12 2007-08-07 Eaton Corporation Self-powered power bus sensor employing wireless communication
DE102004053648A1 (de) * 2004-11-03 2006-05-04 Leopold Kostal Gmbh & Co. Kg Batteriestromsensor für ein Kraftfahrzeug
FR2879751B1 (fr) * 2004-12-20 2007-02-23 Johnson Controls Tech Co Dispositif de mesure d'un courant circulant dans un cable
FR2884615B1 (fr) * 2005-04-13 2007-06-29 Valeo Electronique Sys Liaison Dispositif de mesure du courant, notamment d'une batterie
FR2903498B1 (fr) * 2006-07-07 2008-10-17 Valeo Electronique Sys Liaison Capteur de surveillance de batterie resistant aux variations de temperatures.
JP2008039571A (ja) * 2006-08-04 2008-02-21 Denso Corp 電流センサ
JP2011053003A (ja) * 2009-08-31 2011-03-17 Denso Corp 電流検出装置
JP5424808B2 (ja) 2009-10-15 2014-02-26 株式会社アルバック 印刷ヘッド及び吐出装置

Patent Citations (12)

* Cited by examiner, † Cited by third party
Publication number Priority date Publication date Assignee Title
JP2004221160A (ja) * 2003-01-10 2004-08-05 Mitsubishi Electric Corp 電流検出用抵抗器
JP2005017293A (ja) * 2003-06-26 2005-01-20 Isabellenhuette Heusler Gmbh Kg 抵抗装置、その製造方法、および測定回路
JP2005129379A (ja) * 2003-10-24 2005-05-19 Auto Network Gijutsu Kenkyusho:Kk バッテリターミナル
JP2005188931A (ja) * 2003-12-24 2005-07-14 Auto Network Gijutsu Kenkyusho:Kk 電圧降下式電流計測装置
JP2008082957A (ja) * 2006-09-28 2008-04-10 Denso Corp シャント抵抗器
JP2009040314A (ja) * 2007-08-10 2009-02-26 Denso Corp 車両システム
JP2009063527A (ja) * 2007-09-10 2009-03-26 Furukawa Electric Co Ltd:The 電流検出装置
JP2009177903A (ja) * 2008-01-23 2009-08-06 Denso Corp 車両システム
JP2011003694A (ja) * 2009-06-18 2011-01-06 Koa Corp シャント抵抗器およびその製造方法
WO2010121841A1 (de) * 2009-07-01 2010-10-28 Isabellenhütte Heusler Gmbh & Co. Kg Elektronisches bauelement und entsprechendes herstellungsverfahren
JP2012531760A (ja) * 2009-07-01 2012-12-10 イザベレンヒュッテ ホイスラー ゲー・エム・ベー・ハー ウント コンパニー コマンデイトゲゼルシャフト 電子部品及びその製造方法
JP2011047721A (ja) * 2009-08-25 2011-03-10 Sanyo Electric Co Ltd シャント抵抗及びシャント抵抗を備える車両用の電源装置並びに車両

Cited By (17)

* Cited by examiner, † Cited by third party
Publication number Priority date Publication date Assignee Title
JP2014142226A (ja) * 2013-01-23 2014-08-07 Yazaki Corp シャント抵抗式電流センサ
CN105324673A (zh) * 2013-01-23 2016-02-10 矢崎总业株式会社 分流电阻式电流传感器
WO2014115724A1 (ja) * 2013-01-23 2014-07-31 矢崎総業株式会社 シャント抵抗式電流センサ
US9404949B2 (en) 2013-01-23 2016-08-02 Yazaki Corporation Shunt resistance-type current sensor
KR102107268B1 (ko) * 2013-03-05 2020-05-06 콘티넨탈 오토모티브 게엠베하 통합된 클램핑 디바이스와 질량 소자를 포함하는 전류 센서 디바이스
US10677847B2 (en) 2013-03-05 2020-06-09 Continental Automotive Gmbh Current sensor apparatus comprising an integrated clamping device and a grounding element
KR20150125999A (ko) * 2013-03-05 2015-11-10 콘티넨탈 오토모티브 게엠베하 통합된 클램핑 디바이스와 질량 소자를 포함하는 전류 센서 디바이스
JP2015011844A (ja) * 2013-06-28 2015-01-19 三洋電機株式会社 車載用の電源装置及び電源装置を備える車両並びにバスバー
KR102113765B1 (ko) * 2013-11-28 2020-05-21 현대모비스 주식회사 차량 배터리 센싱 모듈 및 그 방법
KR20150061881A (ko) * 2013-11-28 2015-06-05 현대모비스 주식회사 차량 배터리 센싱 모듈 및 그 방법
WO2016042732A1 (ja) * 2014-09-16 2016-03-24 パナソニックIpマネジメント株式会社 バッテリセンサ装置
JP2017222195A (ja) * 2016-06-13 2017-12-21 日本精機株式会社 車両用警音器の制御装置
WO2020045915A1 (ko) * 2018-08-31 2020-03-05 주식회사 엘지화학 션트 저항의 전류값 보정 시스템 및 방법
KR20200025784A (ko) * 2018-08-31 2020-03-10 주식회사 엘지화학 션트 저항의 전류값 보정 시스템 및 방법
JP2021508817A (ja) * 2018-08-31 2021-03-11 エルジー・ケム・リミテッド シャント抵抗の電流値補正システムおよび方法
KR102234155B1 (ko) 2018-08-31 2021-03-30 주식회사 엘지화학 션트 저항의 전류값 보정 시스템 및 방법
US11293948B2 (en) 2018-08-31 2022-04-05 Lg Energy Solution, Ltd. System and method for correcting current value of shunt resistor

Also Published As

Publication number Publication date
EP2694985A1 (en) 2014-02-12
JP5926495B2 (ja) 2016-05-25
US20140015515A1 (en) 2014-01-16
WO2012137980A1 (en) 2012-10-11

Similar Documents

Publication Publication Date Title
JP5926495B2 (ja) シャント抵抗式電流センサ
JP5873315B2 (ja) シャント抵抗式電流センサ
US9404949B2 (en) Shunt resistance-type current sensor
TWI533336B (zh) 分流電阻及分流電阻組合
CN115461826B (zh) 分流电阻器、分流电阻器的制造方法、以及电流检测装置
US20150108965A1 (en) Shunt resistance type current sensor
CN111693745A (zh) 具有简化的几何形状的无源电流传感器
WO2013153874A1 (ja) シャント抵抗式電流センサ
US7937822B2 (en) Method for connecting tab pattern and lead wire
CN104662429A (zh) 分流电阻式电流传感器
JP2014085245A (ja) シャント抵抗式電流センサ
JP2012177656A (ja) シャント抵抗式電流センサ
CN120322833A (zh) 分流电阻器
JP4278096B2 (ja) 温度補償装置
JP5918023B2 (ja) シャント抵抗式電流センサ
JP6082604B2 (ja) シャント抵抗式電流センサ
JP2025181274A (ja) 電流検出装置
JP2016038232A (ja) 抵抗値測定用導電材、導電材の抵抗値測定装置、および電流検出装置
KR20160001245U (ko) 전류측정소자
JP2014062810A (ja) シャント抵抗式電流センサ
KR20150063988A (ko) 전류측정소자

Legal Events

Date Code Title Description
A621 Written request for application examination

Free format text: JAPANESE INTERMEDIATE CODE: A621

Effective date: 20140318

A131 Notification of reasons for refusal

Free format text: JAPANESE INTERMEDIATE CODE: A131

Effective date: 20150324

A521 Request for written amendment filed

Free format text: JAPANESE INTERMEDIATE CODE: A523

Effective date: 20150508

A131 Notification of reasons for refusal

Free format text: JAPANESE INTERMEDIATE CODE: A131

Effective date: 20151020

A521 Request for written amendment filed

Free format text: JAPANESE INTERMEDIATE CODE: A523

Effective date: 20151124

TRDD Decision of grant or rejection written
A01 Written decision to grant a patent or to grant a registration (utility model)

Free format text: JAPANESE INTERMEDIATE CODE: A01

Effective date: 20160419

A61 First payment of annual fees (during grant procedure)

Free format text: JAPANESE INTERMEDIATE CODE: A61

Effective date: 20160422

R150 Certificate of patent or registration of utility model

Ref document number: 5926495

Country of ref document: JP

Free format text: JAPANESE INTERMEDIATE CODE: R150

R250 Receipt of annual fees

Free format text: JAPANESE INTERMEDIATE CODE: R250

R250 Receipt of annual fees

Free format text: JAPANESE INTERMEDIATE CODE: R250

R250 Receipt of annual fees

Free format text: JAPANESE INTERMEDIATE CODE: R250

R250 Receipt of annual fees

Free format text: JAPANESE INTERMEDIATE CODE: R250

R250 Receipt of annual fees

Free format text: JAPANESE INTERMEDIATE CODE: R250

S531 Written request for registration of change of domicile

Free format text: JAPANESE INTERMEDIATE CODE: R313531

R350 Written notification of registration of transfer

Free format text: JAPANESE INTERMEDIATE CODE: R350

R250 Receipt of annual fees

Free format text: JAPANESE INTERMEDIATE CODE: R250

LAPS Cancellation because of no payment of annual fees