JP2012190870A - 電子機器の筐体装置 - Google Patents

電子機器の筐体装置 Download PDF

Info

Publication number
JP2012190870A
JP2012190870A JP2011050983A JP2011050983A JP2012190870A JP 2012190870 A JP2012190870 A JP 2012190870A JP 2011050983 A JP2011050983 A JP 2011050983A JP 2011050983 A JP2011050983 A JP 2011050983A JP 2012190870 A JP2012190870 A JP 2012190870A
Authority
JP
Japan
Prior art keywords
cover
opening
case
electronic component
electronic device
Prior art date
Legal status (The legal status is an assumption and is not a legal conclusion. Google has not performed a legal analysis and makes no representation as to the accuracy of the status listed.)
Granted
Application number
JP2011050983A
Other languages
English (en)
Other versions
JP2012190870A5 (ja
JP5602664B2 (ja
Inventor
Daisuke Makino
大輔 牧野
Current Assignee (The listed assignees may be inaccurate. Google has not performed a legal analysis and makes no representation or warranty as to the accuracy of the list.)
Mitsubishi Electric Corp
Original Assignee
Mitsubishi Electric Corp
Priority date (The priority date is an assumption and is not a legal conclusion. Google has not performed a legal analysis and makes no representation as to the accuracy of the date listed.)
Filing date
Publication date
Application filed by Mitsubishi Electric Corp filed Critical Mitsubishi Electric Corp
Priority to JP2011050983A priority Critical patent/JP5602664B2/ja
Publication of JP2012190870A publication Critical patent/JP2012190870A/ja
Publication of JP2012190870A5 publication Critical patent/JP2012190870A5/ja
Application granted granted Critical
Publication of JP5602664B2 publication Critical patent/JP5602664B2/ja
Active legal-status Critical Current
Anticipated expiration legal-status Critical

Links

Images

Landscapes

  • Casings For Electric Apparatus (AREA)

Abstract

【課題】構造が簡素でケースの開口部に対して寸法的に大きな電子部品を実装したカバーを組み込むことができる電子機器の筐体装置を提供する。
【解決手段】開口部21の一辺部21aに凹溝または凸条からなる係止部22が形成され、内部に電子部品4が収容されるケース2と、一辺部3aに上記係止部に係合する凸条または凹溝からなる係合部33が形成され上記開口部を塞ぐカバー3を備え、上記カバーは、上記電子部品の少なくとも一部を保持すると共に、上記開口部に装着する際に上記係止部に上記係合部を係合させた状態で該係合部分の周りに回動され上記開口部を塞ぐようにした。
【選択図】図1

Description

本発明は電子部品が収納された電子機器の筐体装置に関するものである。
電子部品が収納された電子機器を構成する従来の一般的な筐体装置として、電子部品を収納する表ケースと裏ケースとの間にゴムパッキンを配設させ、表ケースと裏ケースを接合させるように構成されたものがある(例えば、特許文献1参照)。
実開平2−128521号公報(第2頁、第2図)
上記のような従来の電子機器の筐体装置においては、断面略コ字形の表ケースと裏ケースを接合させるので構造が複雑で、組立時に工数が増えるという課題があった。また、電子部品を実装した裏ケース(カバー)の寸法がケースの開口部の寸法より大きいものをスライドさせて組み込む場合には、組み付けが困難であるという課題があった。
本発明は、上記のような従来技術の実状に鑑みてなされたもので、構造が簡素でケースの開口部に対して寸法的に大きな電子部品を実装したカバーを組み込むことができる電子機器の筐体装置を提供することを目的としている。
本発明に係る電子機器の筐体装置は、開口部の一辺部に凹溝または凸条からなる係止部が形成され、内部に電子部品が収容されるケースと、一辺部に上記係止部に係合する凸条または凹溝からなる係合部が形成され上記開口部を塞ぐカバーを備え、上記カバーは、上記電子部品の少なくとも一部を保持すると共に、上記開口部に装着する際に上記係止部に上記係合部を係合させた状態で該係合部分の周りに回動され上記開口部を塞ぐようにしてなることを特徴とするものである。
本発明においては、電子部品を保持したカバーを開口部に装着する際に、ケースの係止部にカバーの係合部を係合させた状態で該係合部分の周りに回動して開口部を塞ぐようにしたので、構造が簡素で、開口部に対して電子部品を実装したカバーが寸法的に大きな場合でも効率的に組み込むことができる。
本発明の実施の形態1に係る電子機器の筐体装置を示す斜視図である。 図1に示された筐体装置の分解斜視図であり、ケースと電子部品を保持したカバーを示している。 図1のIII−III線を含む鉛直面における矢視断面図であり、要部構成のみ示している。 図1に示された電子機器の筐体装置の組立動作を説明する図である。
実施の形態1.
以下、本発明の実施の形態1に係る電子機器の筐体装置について図を参照して説明する。なお、図1は本発明の実施の形態1に係る電子機器の筐体装置を示す斜視図、図2は図1に示された筐体装置の分解斜視図であり、ケースと電子部品を保持したカバーの関係を示している。図3は図1のIII−III線を含む鉛直面における矢視断面図であり、要部構成のみ示している。図4は図1に示された電子機器の筐体装置の組立動作を説明する図である。
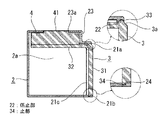
図において、電子機器の筐体装置1は、有底四角筒状に形成された開口部21を有するケース2と、電子部品4が装着された開口部21を被装するカバー3とを組み合わせて構成される。ケース2における開口部21の一辺部21aには、図3に示すように凹溝からなる係止部22が形成されており、該係止部22は円弧状の曲面形状をなしている。また、ケース2は開口部21よりも奥行側における、一辺部21aに平行に連なる側壁部を該ケース2の外方に突出させた突出部23を有しており、該突出部23には窓23aが設けられている。
カバー3はこの例では断面L字形に折曲された板状に形成されており、ケース2に対する被装時に蓋の機能を有する主面部31と、被装時にケース2の内部に入り込み、電子部品4を保持する機能を有する保持部32が形成されている。図3に示すように、該カバー3の一辺部3aを形成するL字状の角部の外角側には、上記係止部22に所定の角度範囲で回動可能に係合する凸条からなる係合部33が設けられ、該係合部33は回動が滑らかに行われるように円弧状の曲面形状をなしている。
ケース2の開口部21の両側部には、カバー3をケース2に被装させたときにカバー3の主面部31の裏面と当接する板状のケース当接部21cが設けられている。また、上記カバー3を構成する主面部31における上記一辺部3aに平行な対辺部3bには、凸部からなる止部34が離間された2箇所に設けられている。そして、上記ケース2の開口部21における上記一辺部21aに平行な対辺部21bには、上記止部34に係合する凹部からなる固定部24が2箇所に設けられており、カバー3の主面部31をケース当接部21cに当接させたときに上記止部34がケースの固定部24に係合されるように構成されている。
上記電子部品4の種類や収容数などは特に限定されるものではないが、この例では図2の上面部に表示部41を有し、収容時にケース2の窓23aから表示内容が視認できるように構成された表示モジュールが一体化された計量器を構成するデバイスが用いられている。また、電子部品4に接続される信号導体などは図示を省略しているが、一例としては保持部32及び主面部31を貫通して筐体装置1の外部に導出される。さらに、ケース2の内部空間2a部には、図示省略している他の電子部品類やケーブル類等が必要に応じてL字状のカバー3の内角側に実装されて収容される。この他、内部空間2aにおける保持部32の回動範囲に干渉しない位置にも部品類を設置することができる。
次に、上記の様に構成された実施の形態1の動作について、図4を参照して筐体装置1の組み立て順に沿って説明する。なお、電子部品4は予めカバー3の保持部32に図2のように実装されているものとする。
(1)まず、カバー3を、その一辺部3aが最上部となるように主面部31を斜めに保持して、ケース2の開口部21方向に図2の矢印A方向にスライド移動させ、開口部21の凹溝からなる係止部22に対して、カバー3の凸条からなる係合部33を図4のように係合させる。
(2)次に、係止部22と係合部33の係合部分を支軸として、カバー3を図4の矢印Bの方向に回動させてケース2の開口部21を塞ぐようにケース2に装着する。
(3)次に、ケース2の固定部24に対して、カバー3の止部34を係合させる。
このとき、凸部からなる止部34は、固定部24を有するケース2の対辺部21bを外側に弾性変形させて凹部からなる固定部24に嵌合される。この動作と同時に、カバー3の主面部31の両側部裏面がケース当接部21cに当接され、かつ、保持部32に取り付けられた電子部品4は、その表示部41がケース2の窓23aに入り込んだ図3に示す状態で収容されて組立が完了する。
上記のように構成された実施の形態1においては、有底四角筒状に形成されたケース2に対して電子部品4が装着された開口部21を被装するカバー3を回動させて嵌挿する構造にしたので、構造が簡素であると共に、開口部21の寸法L(図2に図示)に対して電子部品4を実装したカバー3が寸法的に大きな場合でも効率的に組み込むことができる。
また、ケース2の係止部22とカバー3の係合部33が円弧状の曲面形状であるので、回動がスムーズである。
また、カバー3をケース2に被装させたときに、ケース当接部21cとカバー3の主面部31の両側部が当接されるので、容易に気密構造を構成することができる。また、ケース2の固定部24に対して、カバー3の止部34を係合させるようにしたことにより、カバー3がケース2に簡素な構造で保持される。さらに、自動組立機による組立も容易にできるほか、製品の分解、分離も容易である。
なお、上記実施の形態では、ケース2側の係止部22を凹溝によって構成し、カバー3側の係合部33を凸条によって構成したが、その逆に、係止部22を凸条に、係合部33を凹溝にしても良い。なお、図3の上側の拡大円に示すように、係止部22を構成する凹溝を円弧状に形成する場合、溝の最底部に対する該溝の頂部の高さを、内側よりも外側が低くなるように非対称にしても良い。その場合、係合部33を係止部22に係合しやすくできる。また、凹溝とその相手側の凸条を構成する曲面の角度を180度を若干超える程度に広げ、凸条が相手側の凹溝にスナップフィットによって入り込むように係合させても良い。その場合、カバー3を回動させるときの軸となる係合が確実となる。
また、ケース2の固定部24を凹部によって形成し、カバー3の止部34を凸部によって形成したが、その逆に、固定部24を凸部によって形成し、カバー3の止部34を凹部によって形成しても良い。さらに、例えばケース2の形状を変更し、密閉度を上げるために開口部21の周囲にパッキングを介装し、窓23aに透明板を設置し、あるいは窓23aを廃止するなど種々の変形や変更が可能であることは言うまでもない。
1 筐体装置、 2 ケース、 2a 内部空間、 21 開口部、 21a 一辺部、 21b 対辺部、 21c ケース当接部、 22 係止部、 23 突出部、 23a 窓、 24 固定部、 3 カバー、 3a 一辺部、 3b 対辺部、 31 主面部、 32 保持部、 33 係合部、 34 止部、 4 電子部品、 41 表示部。

Claims (6)

  1. 開口部の一辺部に凹溝または凸条からなる係止部が形成され、内部に電子部品が収容されるケースと、一辺部に上記係止部に係合する凸条または凹溝からなる係合部が形成され上記開口部を塞ぐカバーを備え、上記カバーは、上記電子部品の少なくとも一部を保持すると共に、上記開口部に装着する際に上記係止部に上記係合部を係合させた状態で該係合部分の周りに回動され上記開口部を塞ぐようにしてなることを特徴とする電子機器の筐体装置。
  2. 上記ケースは上記開口部よりも奥行側における上記係止部が形成された一辺部に平行に連なる側壁部を該ケースの外方に突出させた突出部を有してなり、上記カバーを上記開口部に装着したときに上記電子部品が上記突出部に収納されることを特徴とする請求項1記載の電子機器の筐体装置。
  3. 上記カバーは、上記係合部が形成された一辺部を頂部とする断面L字形に折曲された板状に形成されていることを特徴とする請求項2記載の電子機器の筐体装置。
  4. 上記凹溝及び上記凸部は円弧状の曲面を用いたものであることを特徴とする請求項1から請求項3の何れかに記載の電子機器の筐体装置。
  5. 上記ケースの上記開口部に、上記カバーが上記開口部に被装されたときに互いに当接するケース当接部を有することを特徴とする請求項1から請求項4の何れかに記載の電子機器の筐体装置。
  6. 上記カバーは、上記開口部における上記一辺部の対辺部に凸部または凹部からなる止部を備え、上記ケースは、上記開口部における上記一辺部の対辺部に上記止部に係合する凹部または凸部からなる固定部を備え、上記カバーを上記ケース当接部に当接させたときに上記カバーの上記止部が上記ケースの上記固定部に係合されることを特徴とする請求項5記載の電子機器の筐体装置。
JP2011050983A 2011-03-09 2011-03-09 電子機器の筐体装置 Active JP5602664B2 (ja)

Priority Applications (1)

Application Number Priority Date Filing Date Title
JP2011050983A JP5602664B2 (ja) 2011-03-09 2011-03-09 電子機器の筐体装置

Applications Claiming Priority (1)

Application Number Priority Date Filing Date Title
JP2011050983A JP5602664B2 (ja) 2011-03-09 2011-03-09 電子機器の筐体装置

Publications (3)

Publication Number Publication Date
JP2012190870A true JP2012190870A (ja) 2012-10-04
JP2012190870A5 JP2012190870A5 (ja) 2013-08-22
JP5602664B2 JP5602664B2 (ja) 2014-10-08

Family

ID=47083751

Family Applications (1)

Application Number Title Priority Date Filing Date
JP2011050983A Active JP5602664B2 (ja) 2011-03-09 2011-03-09 電子機器の筐体装置

Country Status (1)

Country Link
JP (1) JP5602664B2 (ja)

Citations (3)

* Cited by examiner, † Cited by third party
Publication number Priority date Publication date Assignee Title
JPH0322378U (ja) * 1989-07-15 1991-03-07
JPH0650388U (ja) * 1992-11-30 1994-07-08 日本電気三栄株式会社 回転扉付きケースの支持機構
JP2007143622A (ja) * 2005-11-24 2007-06-14 Seiko Instruments Inc 心拍計測用送信機及び心拍計測装置

Patent Citations (3)

* Cited by examiner, † Cited by third party
Publication number Priority date Publication date Assignee Title
JPH0322378U (ja) * 1989-07-15 1991-03-07
JPH0650388U (ja) * 1992-11-30 1994-07-08 日本電気三栄株式会社 回転扉付きケースの支持機構
JP2007143622A (ja) * 2005-11-24 2007-06-14 Seiko Instruments Inc 心拍計測用送信機及び心拍計測装置

Also Published As

Publication number Publication date
JP5602664B2 (ja) 2014-10-08

Similar Documents

Publication Publication Date Title
JP5796952B2 (ja) コネクタと筺体との防水構造
JP2015081659A (ja) ホールプラグ
CN114071912B (zh) 树脂结构
JP5492693B2 (ja) コネクタカバー
JP2012095460A (ja) 電気接続箱
JPWO2019008933A1 (ja) コネクタ成型体、電子制御装置およびコネクタ成型体の製造方法
CN104466837B (zh) 电气接线箱
JP2012013149A (ja) パッキン構造
JP5368202B2 (ja) 防水ケース
JP5602664B2 (ja) 電子機器の筐体装置
JP5237022B2 (ja) 雌型コネクタ、モータケース、モータユニットおよびモータケースの製造方法
JP2012033826A (ja) 筐体
JP5366336B2 (ja) 携帯端末
CN103369881A (zh) 电子设备
JP4965243B2 (ja) ロック機構
JP2009150283A (ja) 合成樹脂製部品のシール構造
CN107074155A (zh) 副盖的临时放置结构
JP2014014060A (ja) 携帯端末装置
JP7469075B2 (ja) 樹脂構造体
JP2013246914A (ja) レバー式コネクタ
JP2009134664A (ja) 自動検針用無線端末装置
JP2012033827A (ja) 筐体
JP2008030737A (ja) ドアウエザーストリップの取付構造
JP4093755B2 (ja) 液晶表示素子用収納ケース
JP2017524326A (ja) 太陽電池モジュール用ジャンクションボックス

Legal Events

Date Code Title Description
A621 Written request for application examination

Free format text: JAPANESE INTERMEDIATE CODE: A621

Effective date: 20130530

A521 Request for written amendment filed

Free format text: JAPANESE INTERMEDIATE CODE: A523

Effective date: 20130704

A131 Notification of reasons for refusal

Free format text: JAPANESE INTERMEDIATE CODE: A131

Effective date: 20140121

A977 Report on retrieval

Free format text: JAPANESE INTERMEDIATE CODE: A971007

Effective date: 20140123

A521 Request for written amendment filed

Free format text: JAPANESE INTERMEDIATE CODE: A523

Effective date: 20140217

TRDD Decision of grant or rejection written
A01 Written decision to grant a patent or to grant a registration (utility model)

Free format text: JAPANESE INTERMEDIATE CODE: A01

Effective date: 20140723

A61 First payment of annual fees (during grant procedure)

Free format text: JAPANESE INTERMEDIATE CODE: A61

Effective date: 20140820

R150 Certificate of patent or registration of utility model

Ref document number: 5602664

Country of ref document: JP

Free format text: JAPANESE INTERMEDIATE CODE: R150

R250 Receipt of annual fees

Free format text: JAPANESE INTERMEDIATE CODE: R250

R250 Receipt of annual fees

Free format text: JAPANESE INTERMEDIATE CODE: R250

R250 Receipt of annual fees

Free format text: JAPANESE INTERMEDIATE CODE: R250

R250 Receipt of annual fees

Free format text: JAPANESE INTERMEDIATE CODE: R250

R250 Receipt of annual fees

Free format text: JAPANESE INTERMEDIATE CODE: R250

R250 Receipt of annual fees

Free format text: JAPANESE INTERMEDIATE CODE: R250

R250 Receipt of annual fees

Free format text: JAPANESE INTERMEDIATE CODE: R250

R250 Receipt of annual fees

Free format text: JAPANESE INTERMEDIATE CODE: R250

R250 Receipt of annual fees

Free format text: JAPANESE INTERMEDIATE CODE: R250