JP2012144352A - 部品供給装置 - Google Patents

部品供給装置 Download PDF

Info

Publication number
JP2012144352A
JP2012144352A JP2011004974A JP2011004974A JP2012144352A JP 2012144352 A JP2012144352 A JP 2012144352A JP 2011004974 A JP2011004974 A JP 2011004974A JP 2011004974 A JP2011004974 A JP 2011004974A JP 2012144352 A JP2012144352 A JP 2012144352A
Authority
JP
Japan
Prior art keywords
component
screw
head
supply device
take
Prior art date
Legal status (The legal status is an assumption and is not a legal conclusion. Google has not performed a legal analysis and makes no representation as to the accuracy of the status listed.)
Granted
Application number
JP2011004974A
Other languages
English (en)
Other versions
JP5808108B2 (ja
Inventor
Tameyuki Oshima
為至 大島
Yoshiyuki Morimoto
好幸 森本
Current Assignee (The listed assignees may be inaccurate. Google has not performed a legal analysis and makes no representation or warranty as to the accuracy of the list.)
Nitto Kohki Co Ltd
Fujifilm Business Innovation Corp
Original Assignee
Nitto Kohki Co Ltd
Fuji Xerox Co Ltd
Priority date (The priority date is an assumption and is not a legal conclusion. Google has not performed a legal analysis and makes no representation as to the accuracy of the date listed.)
Filing date
Publication date
Application filed by Nitto Kohki Co Ltd, Fuji Xerox Co Ltd filed Critical Nitto Kohki Co Ltd
Priority to JP2011004974A priority Critical patent/JP5808108B2/ja
Publication of JP2012144352A publication Critical patent/JP2012144352A/ja
Application granted granted Critical
Publication of JP5808108B2 publication Critical patent/JP5808108B2/ja
Expired - Fee Related legal-status Critical Current
Anticipated expiration legal-status Critical

Links

Images

Landscapes

  • Discharge Of Articles From Conveyors (AREA)
  • Feeding Of Articles To Conveyors (AREA)

Abstract

【課題】ネジを垂直位置から傾いた状態で取り出せるようにするネジ供給装置。
【解決手段】この装置は、軸部(S1)と頭部(S2)とを有する複数のネジ(S)を頭部を上にして一列にならべるネジ整列部(21)と、最前位置のネジを外部から取り出し可能とするネジ取出し部(16)とを備える。ネジ取出し部(16)は、最前位置のネジが、該一列に並べられたネジから離れて下方に動いて、その頭部(S2)が前方に向く配向とする配向変換部(14h)と、頭部(S2)が前方に向く配向とされたネジ(S)を受け入れ、当該ネジ供給装置の外部からの該頭部に対するアクセスが可能であるように支持するネジ支持部(24)と、該ネジ支持部(24)に支持されたネジ(S)を、該ネジの長手方向軸線に対して側方に動かして当該ネジ供給装置(10)の外部に取り出すのを可能とするネジ取出し通路(25a.25b)とを有する。
【選択図】図1

Description

本発明は、ネジ、リベット、釘などの頭部及び軸部からなる部品の供給装置に関する。
例えば、この種の部品供給装置としては、ネジ締め作業において使用するネジを、ネジの頭部を上にした状態で一列に並べ供給し、その最前位置にあるネジから順に取り出すことができるようにするネジ供給装置が知られている。従来、この種のネジ供給装置としては、多数のネジを受け入れるネジ収容室と、ネジの頭部を上した状態で一列に支持しながら該ネジを取出し位置まで案内する案内溝を有する細長いガイド部材と、該ガイド部材を横断するように揺動して該ガイド部材に適正に支持されていないネジを掃い退けるためのブラシを備えているものがある(特許文献1、特許文献2)。
特開2007−112542号公報 特開2008−143623号公報
上述のネジ供給装置においては、一列に並べられたネジは、ネジの頭部を上にして略垂直とされ、ガイド部材にかけられる振動によって該ガイド部材に沿って前進させられ、ネジ取出し位置まできたネジは、該ネジの上方からアクセスしたスクリュードライバの磁化された先端によって頭部を保持され、上方に持ち上げられるようにして取り出される。
従って、取り出されたネジ及びそれを保持するスクリュードライバは略垂直の向きとなっており、これをその向きのままにして所要位置においてねじ回し締付作業を行う場合には、円滑な作業が可能である。しかしながら、ネジは必ずしも垂直な状態で取り付けられるとは限らず、例えば、略水平にした状態で行われる場合もある。
このようなネジの取付作業にあっては、一旦、垂直に取り出したネジ及びそれを保持するスクリュードライバの向きを、水平に変える必要があり、作業効率が悪い。
本発明は、このような点に鑑み、典型的な例としては、ネジ供給装置からネジを取り出したときに、その向きを余り変えることが無く、当該ネジの取り付けができるようにしたネジ供給装置を提供しようとするものである。上記においてはネジを例に挙げて、従来技術の問題を説明したが、リベットや釘などにおいても同様の問題が生じ得るものであり、従って、本発明は、頭部及び軸部からなる部品供給において、頭部が所要の角度を向いて供給されるようにする装置を提供するものである。
すなわち、本発明は、
軸部(以下に述べる実施形態の説明におけるネジSの軸部S1)と該軸部の一端に設けられた頭部(ネジSの頭部S2)とからなる部品を供給するための部品供給装置(ネジ供給装置10)であって、複数の上記部品(S)を受け入れ、該部品の頭部(S2)を上にして一方向に整列して前進させる部品整列部(21)と、該部品整列部により一方向に整列された部品の最前位置の部品を当該部品供給装置(10)の外部から取り出し可能とする部品取出し部(16)と、を備え、該部品取出し部(16)は、該最前位置の部品を、該部品整列部により一方向に整列された他の部品から離れて下方に動かし、部品(S)の頭部(S2)を該部品整列部により一方向に整列された前記部品の前進する向きに向かせる配向変換部(14h)と、該配向変換部により該部品(S)の頭部(S2)が該部品整列部により一方向に整列された前記部品の前進する向きに向いた前記部品(S)を受け入れ、当該部品供給装置の外部からの該部品の頭部(S2)に対するアクセスが可能であるように支持する部品支持部材(24)と、を有し、該支持部材によって支持された部品の頭部を保持して当該部品供給装置の外部に取り出せるようにした部品供給装置を提供する。
具体的には、該部品支持部材(24)に支持された部品(S)を、該部品の長手方向軸線(該部品整列部により一方向に整列された前記部品の前進する方向)に対して側方(直角の方向)に動かして当該部品供給装置(10)の外部に取り出すのを可能とする部品取り出し通路(25a.25b)を有するようにしたり、該部品支持部材に支持された部品を、その長手方向軸線に沿って前方に引き出すことにより、当該部品供給装置の外部に取り出すようにしたりすることができる。
さらに具体的には、該部品支持部材が、部品を、略水平に支持したり、部品の頭部を前方斜め上向きにするように支持したり、前方斜め下向きにするように支持したりするようにすることができる。
この部品供給装置は、前述の従来の部品供給装置のように部品をスクリュードライバなどの部品取り出し工具によって垂直に持ち上げるのではなく、部品の頭部を前方に向くようにしておいて取り出すようにするものである。このため、部品を垂直ではない状態で締め付ける場合にも、取り出した部品の向きを大きく変える必要が無く、部品取り出し工具からの部品の落下が生じにくく、効率の良い作業を可能とする。特に、部品を、該部品の長手方向軸線に対して側方に動かして外部に取り出すようにした場合、その側方の位置に部品取付場所があるようにすれば、部品取り出し工具を部品供給装置から側方に動かすだけで部品取付場所に位置させることができ、作業効率を大幅に向上することが可能である。尚、側方とは、長手方向軸線に直交する方向成分をもつ方向を意味し、左方や右方に限定されるものではない。
より具体的には、部品支持部材(24)が、該部品支持部材に受け入れられた部品(S)の軸部(S1)を支持する部品支持面(24a)を有し、該部品取出し部(16)が更に、該配向変換部(14h)を通して該部品取出し部(16)に送られてくる部品の頭部(S2)とその両側から係合することにより、該部品が該部品支持面(24a)の所定の位置に保持されるようにする部品保持部材(28)であって、該部品の頭部(S2)に対する前方からのアクセスを可能なように該部品の頭部の前面(S3)を露呈しながら該部品の頭部(S2)の両側に係合して該頭部を保持すると共に、該部品(S)を部品支持部材(24)から該側方に動かして取り出すときに、該部品の頭部(S2)の動きに伴って、該部品の頭部から外れるように変位可能とされた部品保持部材(28)を有するようにすることができる。
部品保持部材は、部品の頭部の位置決め及び保持を行うものである。
部品保持部材(28)は、具体的には、該配向変換部(14h)を通して該部品取出し部(16)に送られてくる部品の頭部(S2)とその左及び右の両側から係合することにより、該部品が該部品支持面の所定の位置に保持されるようにする左側及び右側部品保持部材(28a,28b)を有し、該部品取り出し通路(25a、25b)が、該部品支持面(24a)の左側及び右側の両側に設けられており、該左側及び右側部品保持部材が、それぞれ、該左側及び右側の部品取り出し通路(25a、25b)を通される部品の頭部(S2)の動きに伴って、該部品の頭部から外れるように変位可能とされるようにすることができる。
すなわち、部品取り出し通路は、部品支持面の一側だけに設けても良いが、両側に設ければ、より作業効率を上げることが可能となる。
また、部品整列部(21)から部品取り出し部(16)に延び、部品の頭部(S2)を上にして一列にならべられた複数の部品の軸部(S1)を受け入れる細長い溝(14a)、及び、溝の両側に沿って相互に並行に延び該一列に並べられた部品の頭部(S2)の下面の該軸部(S1)の両側の部分を摺動可能に支持する上面(14c)を有するガイド部材(14)であって、該ガイド部材(14)の上面の前端部分(14d)が前方に向かうに従い下方に向かうように湾曲して終端し、該一列に並べられた部品の最前位置の部品が、該湾曲した前端部分(14d)に沿ってガイドされることにより、その頭部が前向きとなって該部品支持部材(24)に供給されるようにされ、該湾曲された該前端部分(14d)が、該配向変換部(14h)を形成するようにすることができる。
該配向変換部は、より具体的には、該ガイド部材(14)の上面(14c)の湾曲された前端部分(14d)から前方に間隔をあけて設けられたガイドカバー(26)であって、該湾曲された前端部分(14d)に沿ってガイドされる部品(S)の頭部(S2)が該ガイドカバー(26)と摺動することにより、該頭部(S2)の前向きの傾きが確定されるようにするガイドカバー(26)を有するようにすることができる。
該部品保持部材の前側の隣接した位置に前後方向で延びるピボット(38)の周りで揺動可能とされた部品取り出し工具先端ガイド部材(36d)であって、部品保持部材(28a、28b)によって保持された部品の頭部(S2)に整合されて前後方向で延び、該部品の頭部(S2)にアクセスしようとする部品取り出し工具先端を該頭部前面(S3)に導く先端ガイド部(36a)、及び、該先端ガイド部から左側及び右側にいくに従って上向きに傾斜してV字形のガイド溝を形成する左側及び右側傾斜面(36b、36c)を有し、該先端ガイド部(36a)によってガイドされて部品の頭部に係合され該部品の頭部(S2)を保持した部品取り出し工具を該側方に変位するときに、それに伴って動かされる部品取り出し工具の先端によって該左側又は右側傾斜面がおされて、当該部品取り出し工具先端ガイド部材(36d)が該ピボット(38)の周りで傾き、該部品取り出し工具の側方への動きを許容するようにされている部品取り出し工具先端ガイド部材(36d)を有するようにすることができる。
以下、添付図面に基づき、本発明をネジ供給装置に適用した実施形態について説明する。
図1は、本発明に係るネジ供給装置を一部切り欠いて示した側面図である。 図2は、図1のII-II線に沿って見た図である。 図3は、図1のIII-III線に沿って見た図である。 図4は、図1のIV-IV線に沿って見た図であり、ドライバ先端ガイド部の要部を示すために、そのフレームは省略して示してある。 図5は、図1のネジ供給装置の前端部分にあり、一列とされて前進してきたネジの最前位置のネジの配向を略水平に変換するための配向変換部及び水平にされたネジを取り出すためのネジ取出し部を、明瞭に示すために、他の構成要素を省略して示す斜視図である。 図6は、ネジ取出し部においてネジをその両側から保持しているネジ保持部材の平面図である。 図7は、ネジ保持部材の他の実施形態の平面図である。 図8は、第2の実施形態に係るネジ供給装置の正面図であり、ドライバ先端ガイド部を取り外して示してある。 図9は、図8と同じ正面図であるが、ドライバ先端ガイド部を取り付けた状態を示している。 図10は、ネジ支持部材が供給されてきたネジを、その頭部が斜め前方上方を向くように指示する例を示す図である。 図11は、ネジ支持部材が供給されてきたネジを、その頭部が斜め前方下方を向くように指示する例を示す図である。
[第1実施形態]
本発明の実施の形態に係る部品供給装置としてのネジ供給装置10は、図1に示すように、ねじ山が形成された軸部S1とその一端に設けた頭部S2とからなる多数のネジが供給され、底部に、供給されたネジSの頭部S2を上にして一列に並べて、図1の紙面左方に送るための略水平に設定されたガイド部材14を備えたネジ整列用ボックス20を有する部品整列部としてのネジ整列部21と、ガイド部材14によって送られてきた最前位置のネジSを受け取って、該ネジSを作業者がネジ供給装置10の外部に取り出すことができるようにする部品取出し部としてのネジ取出し部16と、を有する。
〔部品整列部(ネジ調整部)〕
ガイド部材14は、図2に示すように、溝14aを挟んで平行に設定された一対の板状部材14bから構成されている。溝14aの幅は、ネジSの頭部S2の直径より小さく、且つ、ネジSの軸部S1直径より大きくされている。ネジSは、その頭部S2を板状部材14bの上面14cに支持され、軸部S1が溝14aに挿入されて略垂直にされ、ガイド部材用振動発生部18(図1参照)からの振動によって、ネジ取出し部16に向けて送られる。本実施の形態では、ガイド部材14は、一対の板状部材14bから構成しているが、例えば、1つのブロック状の部材に溝を形成したものであっても良い。
ネジ整列用ボックス20の底部は、図2に示すように、ガイド部材14の両側縁に向けて収束するように傾斜する傾斜底面20aを有している。具体的には、ネジ整列用ボックス20は、図1に示すように、分離壁20bによって上流側室20cと下流側室20dとに分けられており、複数のネジSがまず上流側室20cに供給され、上述のように、ネジSの軸部S1がガイド部材14の溝14aに入り、頭部S2がガイド部材14の上面14cによって支持された状態とされる。しかし、一部のネジSは、その軸S1が溝14aに適正に入った状態とはならずに、その状態のまま、分離壁20bに形成されている通過開口20eを通して下流側室20dに搬送される。上流側室20cと下流側室20dには、ガイド部材14上を横断するように揺動するブラシ22が設けられており、ガイド部材14の溝14aへの挿入が不完全なネジSと係合して(かかわり合って)、同ネジをガイド部材14から一旦はらい外して、該ネジSがネジ整列用ボックス20の傾斜底面20aによって再びガイド部材14上に戻り、その軸部S1がガイド部材14の溝14a内に適正に入るようにしてある。図示の例では、ブラシ22は、上流側室20c及び下流側室20dの上方中央位置を前後方向で延びてネジ整列用ボックス20の前後の壁によって枢動可能(一定角度範囲で回動可能)に支持された枢軸22aと、枢軸22aにネジ22bによって取り外し可能に取り付けられた取付部材22cと、取付部材22cによって枢軸22aに取り付けられた剛毛22dとを有しており、リンク部22gを介して接続された駆動装置22fによって枢軸22aを中心に左右に揺動されるようになっている。
〔部品取出し部(ネジ取出し部)〕
以上の構成は、上流室側20cにもブラシ22が取り付けられている点を除いて上述した特許文献に開示されたものと略同じであるが、本実施形態に係るネジ供給装置10は以下に述べるような点を特徴としている。すなわち、ガイド部材14の略水平に延びてきた上面14cが、その前端部分14dすなわちネジ取出し部16のところにおいて、前方に行くに従って下方に湾曲しており、図示の実施形態では、略垂直となるまで略90度にわたり湾曲されて終端又は先端14eに至り、終端又は先端14eから後方に底面14fが延びている。
(配向変換部)
ガイド部材14の底面14fの下方の位置には、略水平にされたネジ支持面24aを備えたネジ支持部材24が設けられている。ネジ支持面24aは、ガイド部材14の底面14fから、ネジSの軸部S1の直径よりも僅かに大きな間隔をあけられており、その前端24bは、ガイド部材14の上面14cの先端14eと垂直方向で略整合した位置とされている。ガイド部材14に沿って進められてきた最前位置のネジSは、ネジの頭部S2が湾曲したガイド部材14の上面14cの湾曲した前端部分14dにガイドされながら、ネジ支持面24a上に落下し、軸部S1がネジ支持面24a上に支持され、ネジの頭部S2がネジ支持面24aの前端24bから前に出た状態とされる。すなわち、この実施形態では、ガイド部材14の上面14cの湾曲した前端部分14dが、ネジSの配向(向き)を変換する配向変換部14hを構成している。ガイド部材14の湾曲した上面14cの先端14eより僅か前方に離れた位置には、垂直にされた板状のガイドカバー26がガイド部材14の上面14cの湾曲した前端部分14dに対向するように設けられている。ネジSが湾曲した上面14cに沿って落下するときには、ネジSはその頭部S2が僅かに前向きに傾くようになって落下するが、この僅かに前向きに傾いた頭部S2の前面S3の下端部分がガイドカバー26の面と接触しながら、ガイド部材14の上面14cの湾曲した前端部分14dとガイドカバー26との間の狭い隙間を案内されることによって、頭部S2の傾きがより大きくなり、頭部S2が湾曲した上面14cの先端14eに達する頃には、ネジSが略水平になるようにされている。また、ガイド部材14の上面14cが、湾曲した前端部分14dに入る直前の水平部分の上方位置には、水平の板状ネジ整列部材14gが設けられており、ネジ整列用ボックス20からガイド部材14に沿って一方向に整列して前進されてきたネジSが、ガイド部材14の湾曲した上面14cに入る前に確実に垂直にされて一列に整列された状態となるようにされている。
(部品支持部材)
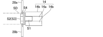
図3に示すように、部品支持部材としてのネジ支持部材24は、ネジの軸部S1の直径よりも広い幅とされたネジ支持面24aの両側縁から側方に離れるに従って下方に傾斜する傾斜側面24cと、該傾斜側面24cに続いて垂直に伸びる垂直側面24dと、ネジ支持面24a上に支持されたネジの頭部S2に隣接した位置となる前端面24fとを有している。ネジ支持面24aの両側は解放されたネジ取り出し通路25a、25bとされている。このため、以下に述べるように、スクリュードライバの先端をジ供給装置10の前方からネジ支持面24a上に支持されたネジSの頭部S2の前面S3にアクセスし、スクリュードライバの先端によってネジSの頭部S2を保持し、スクリュードライバをネジSの長手方向軸線に対して側方に(図3の矢印、つまり紙面右方若しくは左方に)動かすことによりジSをネジ支持面24aからネジ供給装置10の外部に取り出すことができるようにされている。このネジ取り出しの途中において、スクリュードライバの先端がネジSから外れてしまった場合には、該ネジSが傾斜側面24cによって下方に落下するようにされており、次のネジ取り出しの邪魔にならないようにされている。
ネジ取出し部16は更に、ガイド部材14の湾曲した上面14cに沿って送られてくるネジSの頭部S2に対してその両側から係合することにより、該ネジSがネジ支持面24aの幅方向中央の位置に保持されるようにするネジ保持部材28(図1、図3)を有する。本実施例では、このネジ保持部材28は、ネジ支持部材24の前端面24fに取り付けたピボット30によって枢着され、前端面24f上を摺動するようにされた左側及び右側ネジ保持部材28a、28bからなる。ここで、枢着とは、凸部分と凹部分をもって回動自在に付けることをいう。また、回動とは、正逆方向に円運動することをいう。左側及び右側ネジ保持部材28a、28bは、それぞれ、ネジの頭部S2の左側及び右側に係合するようになっている。これら左側及び右側ネジ保持部材28a、28bはそれぞれ、ネジ支持部材24の中央に設けられた取付ピン32cとの間に設けられた引っ張りコイルバネ32a、32bにより、それぞれピボット30の周りで時計方向及び反時計方向で付勢(勢いを増加させること)されており、ネジ支持面24a上に支持されたネジSが、上述のようにスクリュードライバによって左側若しくは右側のネジ取り出し通路25a、25bを通して取り出されるときに、ネジSの頭部S2によって押されてネジ取り出し通路25a,25bから退出し、ネジSの取り出しができるようにされている。
図1乃至図6に示す実施形態では、特に図6に示す如く、ネジSの頭部S2に座金S4が取り付けられており、左側及び右側ネジ保持部材28a、28bは、座金S4の前面を延び頭部S2の両側に係合するようにされている。この場合のネジの頭部S2は、六角形の頭部とされ、ソケットドライバーSDによって該頭部を保持可能なように、左側及び右側ネジ保持部材28a、28bは薄肉とされ、ソケットドライバーSDの先端の係合の邪魔にならないようにしてある。図7は、他の実施形態を示しており、この実施形態では、ネジSが湾曲した前面S3を有する頭部S2を備え、通常のスクリュードライバDによって係合されるようになされており、座金は取り付けられていない。左側及び右側ネジ保持部材28a、28bは、この頭部の湾曲した前面S3と係合して、該ネジSが前方に動くのを阻止するような傾斜した先端面を有するようにされている。
図示しないが、ネジ支持面24a上に支持されたネジSを感知するセンサが上下に設けられ、ネジSがネジ支持面24a上に支持されるとガイド部材用振動発生部18の振動が停止されてガイド部材14上のネジSの前進が停止されるようにされ、ネジ支持面24a上からネジSが取り出されると該振動発生部18が振動を再開し、ガイド部材14上のネジSの前進が行われるようにされている。
〔部品取り出し工具先端ガイド部材〕
図示の実施形態のおいては、更に、ネジ保持部材28の前側の隣接した位置に、部品取り出し工具としてのスクリュードライバD、SDの先端を、ネジ保持部材28によって保持されたネジSの頭部S2の前面S3に案内する部品取り出し工具先端ガイド部材としてのドライバ先端ガイド部36が設けられている。ドライバ先端ガイド部36は、ネジ保持部材28によって保持されたネジSの頭部S2に整合されて前後方向で延び、ネジSの頭部S2にアクセスしようとするスクリュードライバ先端をネジSの頭部S2の前面S3に導く先端ガイド部36a及び該先端ガイド部36aから左側及び右側に延びV字形のガイド溝を形成する左側及び右側傾斜面36b、36cを有し、前後方向に水平に設定されたピボット38を中心に揺動可能とされているスクリュードライバ先端ガイド部材36dを有する。ドライバ先端ガイド部36は、ネジなどの適宜の手段により当該ネジ供給装置10の静止フレームに固定され、ピボット38の前後端を枢支しているフレーム36eを備えており、フレーム36eには、該スクリュードライバ先端ガイド部材36dの下に間隔をあけてブロック状部材40が取り付けられている。該ブロック状部材40は、その上面に一対の開口が設けられており、該開口内にはコイルバネ40a及びピン40bが設定されている。ピン40bは、水平位置にあるスクリュードライバ先端ガイド部材36dの底面36fに、上記ピボット38の両側位置において接するようになされており、スクリュードライバ先端ガイド部材36dが水平の位置から左右いずれかに傾いたときに、一方のピン40bが押し下げられて、その下にあるコイルバネ40aを圧縮し、当該スクリュードライバ先端ガイド部材36dが元の水平な位置に戻るような付勢力をかけるようになっている。すなわち、スクリュードライバの先端でネジ支持面24a上のネジの頭部S2を保持し、該ネジSの右方又は左方側方へ動かすように該スクリュードライバを動かすときに、スクリュードライバ先端ガイド部材36dが邪魔にならないようにしている。
[第2実施形態]
図8及び図9は、第2の実施形態に係るネジ供給装置10を示しており、上述の第1の実施形態におけるものと実質的に同じ部材には同じ参照番号を付してある。図示するように、このネジ供給装置10では、ネジ支持部材24が、ガイド部材14の上面14cの湾曲した前端部分14d(すなわち配向変換部分14h)の下方位置に設けられて斜め下方に傾斜したネジ受取部24gを備えており、ガイド部材14から配向が略水平となるように変換されて供給されるネジSを斜め下方位置まで案内して受け取り支持するようになっている。図示の例では、ネジ受取部24gに沿って案内されるネジSが飛び出さないように、ネジ受取部24gに対して平行にされたカバー部材24hが設けられ、当該ネジ支持部材14の部分で水平にされ、ネジ支持部材24の端部との間にネジ停止部材24iが設けられており、ガイド部材14から供給されたネジSが該ネジ停止部材24iによって停止されるようになっている。ネジ停止部材24iの上下には光学式のセンサ24jが設けられており、第1の実施形態において述べたように、ネジ停止部材24iに達したネジSを感知して、ガイド部材14を振動させる駆動装置22fを停止するようになっている。図9に示すように、この第2の実施形態においては、ネジ支持部材24の前方位置には、ドライバ先端ガイド部36が設けられている。すなわち、該ドライバ先端ガイド部36は、当該ネジ供給装置10の静止フレームにネジで固定されたフレーム36eと、該フレームの前面に固定されたV字形の先端ガイド部材36dとを有しており、スクリュードライバ先端をネジ停止部材24iによって停止されネジ支持部材24によって支持されたネジSの頭部S2にガイドするようになっている。この実施形態では、ネジSを取り出す場合、スクリュードライバをネジSの長手方向軸線に沿って手前に引き出すようにする。
図10には、ネジ支持部材24のネジ支持面24aが後方に向かうに従って下方に傾斜するようにされ、該ネジ支持面24a上に支持されるネジSが前方に向けて上向きに傾斜した状態で支持される例が示されている。これに伴い、ガイド部材14の前端部分14dの先端14eは、図1に示した実施形態とは異なり、その先端14eが垂直となる前に終端するようになっている。
図11は、図10の例とは逆に、ネジ支持部材24のネジ支持面24aが後方に向かうに従って上方に傾斜するようにされ、該ネジ支持面24a上に支持されるネジSが前方に向けて下向きに傾斜した状態で支持されるようにした例を示している。
図10及び図11の例から分かるように、ネジ支持部材24のネジ支持面24aはネジ供給の状況に合わせて、適宜の傾斜とすることができる。
以上、本発明をネジ供給装置に適用した場合の実施形態につき述べたが、本発明はこれに限定されるものではなく、ネジ以外のリベットや釘などの軸部及びその一端に設けられた頭部を有する部品の供給にも適用可能であり、また、種々の変形が可能である。変形の例を、上述したネジ供給装置を例にあげて述べれば、例えば、ネジ保持部材28は、枢着されたものではなく、下方からバネ付勢されてネジ取り出し通路25a、25b内にバネ付勢された状態で位置し、取り出されるネジSの頭部S2によって下方に変位可能としたものとすることができる。
ネジ(部品)S;軸部S1;頭部S2;前面S3;座金S4;ネジ供給装置(部品供給装置)10;ガイド部材14;溝14a;板状部材14b;上面14c;前端部分14d;終端又は先端14e;底面14f;板状ネジ整列部材14g;配向変換部14h;ネジ取出し部(部品取り出し部)16;ガイド部材用振動発生部18;ネジ整列用ボックス20;傾斜底面20a;分離壁20b;上流側室20c;下流側室20d;ネジ整列部(部品整列部)21;ブラシ22;枢軸22a;ネジ22b;取付部材22c;剛毛22d;通過開口20e;駆動装置22f;リンク部22g;ネジ支持部材(部品支持部材)24;ネジ支持面(部品支持面)24a;前端24b;傾斜側面24c;垂直側面24d;前端面24f;ネジ受取部24g;カバー部材24h;ネジ停止部材24i;センサ24j;ネジ取り出し通路25a、25b;ガイドカバー26;ネジ保持部材(工具保持部材)28;左側及び右側保持部材28a、28b;ピボット30;引っ張りコイルバネ32a、32b;ドライバ先端ガイド部(部品取り出し工具先端ガイド部)36;先端ガイド部36a;左側傾斜面36b;右側傾斜面36c;スクリュードライバ先端ガイド部材(部品取り出し工具先端ガイド部材)36d;フレーム36e;底面36f;ピボット38;ブロック状部材40;コイルバネ40a、ピン40b

Claims (10)

  1. 軸部と該軸部の一端に設けられた頭部とからなる部品の該頭部を上にして一方向に整列して前進させる部品整列部と、
    該部品整列部により一方向に整列された前記部品の最前位置の部品を外部から取り出し可能とする部品取出し部と、を備え、
    該部品取出し部は、
    該最前位置の部品を、該部品整列部により一方向に整列された他の部品から離れて下方に動かし、その前記頭部を該部品整列部により一方向に整列された前記部品の前進する向きに向かせる配向変換部と、
    該配向変換部により該頭部が該部品整列部により一方向に整列された前記部品の前進する向きに向いた前記部品を受け入れ、外部からの該部品の前記頭部に対するアクセスが可能であるように支持する部品支持部材と、
    を有した部品供給装置。
  2. 該部品支持部材に支持された部品を、該部品整列部により一方向に整列された前記部品の前進する方向に対して直角の方向に動かして、外部に取り出すのを可能とする部品取り出し通路を有した請求項1に記載の部品供給装置。
  3. 該部品支持部材に支持された部品を、その長手方向軸線に沿って前記部品整列部により一方向に整列された前記部品の前進する方向に引き出すことにより、当該部品供給装置の外部に取り出すようにした請求項1に記載の部品供給装置。
  4. 該部品支持部材が、部品を略水平に支持するようにした請求項1に記載の部品供給装置。
  5. 該部品支持部材が、部品の頭部を前方斜め上向きまたは前方斜め下向きになるように部品を支持するようにした請求項1に記載の部品供給装置。
  6. 該部品支持部材が、該部品支持部材に受け入れられた部品の軸部を支持する部品支持面を有し、
    該部品取出し部は、更に、該部品整列部により一方向に整列された前記部品の前進する方向からのアクセスが可能なように該配向変換部を通して該部品取出し部に送られてくる該部品の頭部の前面を露呈しながら該部品の頭部の両側に係合して該部品の頭部を保持すると共に、該部品を部品支持部材から該側方に動かして取り出すときに、該部品の頭部の動きに伴って、該部品の頭部から外れるように変位可能とされた部品保持部材を有する請求項2に記載の部品供給装置。
  7. 部品保持部材が、該配向変換部を通して該部品取出し部に送られてくる部品の頭部とその左及び右の両側から係合することにより、該部品が該部品支持面の所定の位置に保持されるようにする左側及び右側部品保持部材を有し、該部品取り出し通路が、該部品支持面の左側及び右側の両側に設けられており、該左側及び右側部品保持部材が、それぞれ、該左側及び右側の部品取り出し通路を通される部品の頭部の動きに伴って、該部品の頭部から外れるように変位可能とされている請求項6に記載の部品供給装置。
  8. 部品整列部から部品取り出し部に延び、部品の頭部を上にして一列にならべられた複数の部品の軸部を受け入れる細長い溝、及び、溝の両側に沿って相互に並行に延び該一列に並べられた部品の頭部の下面の該軸部の両側の部分を摺動可能に支持する上面を有するガイド部材であって、該ガイド部材の上面の前端部分が前方に向かうに従い下方に向かうように湾曲して終端し、該一列に並べられた部品の最前位置の部品が、該湾曲した前端部分に沿ってガイドされることにより、その頭部が前向きとなって該部品支持部材に供給されるようにされ、該湾曲された該前端部分が、該配向変換部を構成するようにした請求項1乃至6のいずれかに記載の部品供給装置。
  9. 該配向変換部が、更に、該ガイド部材の上面の湾曲された前端部分から前方に間隔をあけて設けられたガイドカバーであって、該湾曲された前端部分に沿ってガイドされる部品の頭部が該ガイドカバーと摺動することにより、該頭部の前向きの傾きが確定されるようにするガイドカバーを有する請求項8に記載の部品供給装置。
  10. 該部品保持部材の前側の隣接した位置に前後方向で延びるピボットの周りで揺動可能とされた部品取り出し工具先端ガイド部材であって、部品保持部材によって保持された部品の頭部に整合されて前後方向で延び、該部品の頭部にアクセスしようとする部品取り出し工具先端を該頭部前面に導く先端ガイド部、及び、該先端ガイド部から左側及び右側にいくに従って上向きに傾斜してV字形のガイド溝を形成する左側及び右側傾斜面を有し、該先端ガイド部によってガイドされて部品の頭部に係合され該頭部を保持した部品取り出し工具を該側方に変位するときに、該左側又は右側傾斜面がおされて、当該部品取り出し工具先端ガイド部材が該ピボットの周りで傾き、該部品取り出し工具の側方への動きを許容するようにされている部品取り出し工具先端ガイド部材を有する請求項6又は7に記載の部品供給装置。
JP2011004974A 2011-01-13 2011-01-13 部品供給装置 Expired - Fee Related JP5808108B2 (ja)

Priority Applications (1)

Application Number Priority Date Filing Date Title
JP2011004974A JP5808108B2 (ja) 2011-01-13 2011-01-13 部品供給装置

Applications Claiming Priority (1)

Application Number Priority Date Filing Date Title
JP2011004974A JP5808108B2 (ja) 2011-01-13 2011-01-13 部品供給装置

Publications (2)

Publication Number Publication Date
JP2012144352A true JP2012144352A (ja) 2012-08-02
JP5808108B2 JP5808108B2 (ja) 2015-11-10

Family

ID=46788348

Family Applications (1)

Application Number Title Priority Date Filing Date
JP2011004974A Expired - Fee Related JP5808108B2 (ja) 2011-01-13 2011-01-13 部品供給装置

Country Status (1)

Country Link
JP (1) JP5808108B2 (ja)

Citations (5)

* Cited by examiner, † Cited by third party
Publication number Priority date Publication date Assignee Title
JPS56176140U (ja) * 1980-05-28 1981-12-25
JPS611378U (ja) * 1985-04-22 1986-01-07 マックス株式会社 ビスセツタにおけるネジの分離装置
JPS61197133A (ja) * 1985-02-28 1986-09-01 Nitto Seiko Co Ltd 自動ねじ締め機
JPH06144545A (ja) * 1992-11-10 1994-05-24 Nippon Typewriter Co Ltd 頭付き部品の整列搬送装置
JP2009154971A (ja) * 2007-08-02 2009-07-16 Kofu Seibyo Co Ltd ネジ供給装置

Patent Citations (5)

* Cited by examiner, † Cited by third party
Publication number Priority date Publication date Assignee Title
JPS56176140U (ja) * 1980-05-28 1981-12-25
JPS61197133A (ja) * 1985-02-28 1986-09-01 Nitto Seiko Co Ltd 自動ねじ締め機
JPS611378U (ja) * 1985-04-22 1986-01-07 マックス株式会社 ビスセツタにおけるネジの分離装置
JPH06144545A (ja) * 1992-11-10 1994-05-24 Nippon Typewriter Co Ltd 頭付き部品の整列搬送装置
JP2009154971A (ja) * 2007-08-02 2009-07-16 Kofu Seibyo Co Ltd ネジ供給装置

Also Published As

Publication number Publication date
JP5808108B2 (ja) 2015-11-10

Similar Documents

Publication Publication Date Title
JP5356674B2 (ja) ネジ供給装置
JP4545731B2 (ja) 棒材供給機および棒材加工システム
JP2009154971A5 (ja)
US20100256819A1 (en) Variable tape feeder
JP6589134B2 (ja) スティックフィーダ及び部品実装装置
JP5707951B2 (ja) ネジ供給装置
US20160368060A1 (en) Machine tool
JP5808108B2 (ja) 部品供給装置
JP2020064904A (ja) 部品供給装置及び部品装着装置
JP4450376B2 (ja) チップチェンジャー用マガジンラック
JP6127662B2 (ja) 連結ネジ用ネジ締め機のネジ送り機構及び連結ネジ用ネジ締め機
KR101452663B1 (ko) 나사 공급 장치
JP4442725B2 (ja) ネジ供給装置
JP7615306B2 (ja) フィーダ及び部品実装機
JP7590551B2 (ja) フィーダ及び部品実装機
JP7487052B2 (ja) ねじ供給装置及びねじ締めロボット
JP5949407B2 (ja) ネジ供給装置
JP2018167353A (ja) ねじ部材供給装置のねじ部材取出機構
JP5428112B2 (ja) 棒材供給機
JP4255669B2 (ja) 自動旋盤
TWI581915B (zh) 鏈帶螺絲用螺絲起子之螺絲導引件
JP7648387B2 (ja) リード部品フィーダ、対基板作業機、及びリード部品を回路基板に装着する方法
JP2811532B2 (ja) 水平ねじ締め機
CN110651537B (zh) 元件供给装置
TW201607648A (zh) 刀庫裝置

Legal Events

Date Code Title Description
A621 Written request for application examination

Free format text: JAPANESE INTERMEDIATE CODE: A621

Effective date: 20140108

A977 Report on retrieval

Free format text: JAPANESE INTERMEDIATE CODE: A971007

Effective date: 20141117

A131 Notification of reasons for refusal

Free format text: JAPANESE INTERMEDIATE CODE: A131

Effective date: 20141125

A521 Written amendment

Free format text: JAPANESE INTERMEDIATE CODE: A523

Effective date: 20150122

TRDD Decision of grant or rejection written
A01 Written decision to grant a patent or to grant a registration (utility model)

Free format text: JAPANESE INTERMEDIATE CODE: A01

Effective date: 20150901

A61 First payment of annual fees (during grant procedure)

Free format text: JAPANESE INTERMEDIATE CODE: A61

Effective date: 20150908

R150 Certificate of patent or registration of utility model

Ref document number: 5808108

Country of ref document: JP

Free format text: JAPANESE INTERMEDIATE CODE: R150

LAPS Cancellation because of no payment of annual fees