JP2012144168A - キャスター - Google Patents

キャスター Download PDF

Info

Publication number
JP2012144168A
JP2012144168A JP2011004642A JP2011004642A JP2012144168A JP 2012144168 A JP2012144168 A JP 2012144168A JP 2011004642 A JP2011004642 A JP 2011004642A JP 2011004642 A JP2011004642 A JP 2011004642A JP 2012144168 A JP2012144168 A JP 2012144168A
Authority
JP
Japan
Prior art keywords
wheel
rotation
body case
main body
caster
Prior art date
Legal status (The legal status is an assumption and is not a legal conclusion. Google has not performed a legal analysis and makes no representation as to the accuracy of the status listed.)
Granted
Application number
JP2011004642A
Other languages
English (en)
Other versions
JP5436464B2 (ja
Inventor
Hajime Matsushima
肇 松島
Yukie Yoshihashi
幸恵 吉橋
Current Assignee (The listed assignees may be inaccurate. Google has not performed a legal analysis and makes no representation or warranty as to the accuracy of the list.)
TOKYO SEIKI SEISAKUSHO KK
Toshin Seisakusyo Co Ltd
Original Assignee
TOKYO SEIKI SEISAKUSHO KK
Toshin Seisakusyo Co Ltd
Priority date (The priority date is an assumption and is not a legal conclusion. Google has not performed a legal analysis and makes no representation as to the accuracy of the date listed.)
Filing date
Publication date
Application filed by TOKYO SEIKI SEISAKUSHO KK, Toshin Seisakusyo Co Ltd filed Critical TOKYO SEIKI SEISAKUSHO KK
Priority to JP2011004642A priority Critical patent/JP5436464B2/ja
Publication of JP2012144168A publication Critical patent/JP2012144168A/ja
Application granted granted Critical
Publication of JP5436464B2 publication Critical patent/JP5436464B2/ja
Expired - Fee Related legal-status Critical Current
Anticipated expiration legal-status Critical

Links

Images

Landscapes

  • Legs For Furniture In General (AREA)

Abstract

【課題】車輪が回転しない状態に強固にロックできると共に、厚みを薄くしてコンパクト化を図ることができる、キャスターを提供する。
【解決手段】このキャスター10は、本体ケース20と、旋回軸17と交差する回転支軸50を介して装着された車輪40と、車輪側面に形成された凹凸部45と、本体ケース20に軸方向移動可能に装着され、本体ケース20との間に介装された第1付勢手段57によって、凹凸部45に向けて付勢され、常時は凹凸部45に係合する回転ロック部材60と、回転ロック部材60と車輪側面との間に配置されたレバー部材70と、レバー部材70の回動により、回転ロック部材60を第1付勢手段57に抗して移動させ、凹凸部45から回転ロック部材60を遊離させるカム機構とを備えている。
【選択図】図1

Description

本発明は、例えば、机や家具などに取付けられ、それらを移動可能とするキャスターに関する。
例えば、机や、机の下方に収容されるサイドキャビネット、家具、テレビ台、ワゴン、ベッド、医療用装置等には、それらの移動を容易にするためのキャスターが取付けられている場合がある。このようなキャスターには、机等を所定位置にセッティングした後、机等の移動を防止するために、車輪の回転をロックできる構造を備えたものが広く用いられている。
例えば、下記特許文献1には、被取付物に固定される固定軸と、該固定軸に旋回自在に外嵌された支持ヨークと、支持ヨークに軸支された車軸を介して回転可能に取り付けられた左右一対の車輪と、該一対の車輪の内面で同心小径に形成された環状段部の内周面に形成された制動ロック受部と、前記固定軸を貫通して上下に摺動自在に取り付けられた作動軸と、該作動軸の先端に取り付けられた旋回ロック部と、前記支持ヨークに枢着され、前記制動ロック受部に係合して車輪の回転を拘束する制動ロック部と、前記旋回ロック部と係合して支持ヨークの旋回を拘束する旋回ロック受部とを有するロック片部と、該ロック片部をロック解除方向に付勢する付勢手段とからなる、ロック機構を備えた双輪キャスタが記載されている。また、車輪の環状段部の内周面に形成された制動ロック受け部は、歯車状の凹凸状をなしていると共に、これに対応して制動ロック部も、凹凸状をなしていることが記載されている。
上記特許文献1記載の双輪キャスタにおいては、作動軸を下方に押し込まれると、付勢手段の付勢力に抗してロック片部が枢動し、凹凸状の制動ロック部が、車輪内面の凹凸状をなした制動ロック受け部に噛合して、車輪の回動がロックされるようになっている。
また、下記特許文献2には、タイヤホイールが軸受を介して車軸に装着される車輪を有し、前記車輪の回転をロックするロック機構が前記タイヤホイールの内部に設けられており、前記ロック機構は、タイヤホイールの端部内周に設けられた凹凸歯と、前記タイヤホイールの凹凸歯に係合する凹凸歯が施された外周側面、及び、放射状に複数の突条が突設された内周面を有するロックリングと、該ロックリングを、前記車輪の回転がロックされる側に付勢するスプリングと、前記車軸廻りに回転させるべく外力が加えられる略矩形部材、及び、回転に伴って前記ロックリングの突条が係合すると共に、前記ロックリングの、前記スプリングの付勢力に抗する前記軸方向への移動に変換する案内溝が設けられた略円筒部材を有する操作手段とを備える産業用キャスターが記載されている。
上記特許文献2記載の産業用キャスターにおいては、常時はスプリングによりロックリングが付勢されて、ロックリングの凹凸歯がタイヤホイール内周の凹凸歯に係合して、車輪の回転ロックがなされる。そして、操作手段の略矩形部材を操作することで、カム機構を介してロックリングがスプリングの付勢力に抗して移動して、その凹凸歯がタイヤホイール内周の凹凸歯から外れて、車輪の回転ロック状態が解除されるようになっている。
特開平11−286202号公報 特許第3887627号公報
上記特許文献1記載の双輪キャスタでは、車輪内面の環状段部の内周面に形成された凹凸状の制動ロック受け部に、ロック片部の凹凸状の制動ロック部が、車輪の径方向内側から噛合して、車輪の回動がロックされるようになっている。しかしながら、この構造では、制動ロック部と制動ロック受け部とが強固に噛み合っているとはいえず、回転ロックされた車輪に強い回転力が作用した場合に、制動ロック部が枢動して、車輪の制動ロックが解除される虞れがあった。
また、上記特許文献2記載の産業用キャスターにおいては、タイヤホイールの内部にロック機構が設けられていることから、以下のような問題があった。
すなわち、タイヤホールの端部内周に、ロックリングの凹凸歯が係合する、凹凸歯が設けられているため、凹凸歯を深く形成しにくいうえ、ロックリングも、タイヤホイール内部に配置されているため、その凹凸歯を大きく形成することができず、ロックリングとタイヤホイールの端部内周とが強固にロックされにくいという問題があった。また、上記凹凸歯を大きく形成した場合には、タイヤホイールや車輪が厚くなるうえ、ロック機構が嵩張るものとなり、キャスターのコンパクト化を図ることができない。更に、支軸の外周にベアリング等の軸受を介してタイヤ(車輪)を支持する必要があるため、構造が複雑になるという不利点があった。
したがって、本発明の目的は、車輪が回転しない状態に強固にロックすることができると共に、その厚みを薄くしてコンパクト化を図ることができる、キャスターを提供することにある。
上記目的を達成するため、本発明のキャスターは、旋回軸を介して支持物体の下面に取付けられる本体ケースと、この本体ケースに設けられた、前記旋回軸と交差する回転支軸を介して、回転可能に装着された車輪と、前記車輪の側面に周方向に沿って形成された凹凸部と、前記本体ケースに前記回転支軸の軸方向に移動可能に装着され、前記本体ケースとの間に介装された第1付勢手段によって、前記車輪の凹凸部に向けて付勢され、常時は該凹凸部に係合する回転ロック部材と、前記回転ロック部材と前記車輪の側面との間に配置され、前記回転支軸の回りで回動可能に装着されたレバー部材と、前記レバー部材と前記回転ロック部材との接触面に形成され、前記レバー部材の回動により、前記回転ロック部材を前記第1付勢手段に抗して移動させ、前記車輪の凹凸部から前記回転ロック部材を遊離させるカム機構とを備えていることを特徴とする。
上記発明によれば、第1付勢手段によって回転ロック部材が、車輪の側面に周方向に沿って形成された凹凸部に押し付けられて係合するので、車輪を強固にロックすることができる。また、回転ロック部材と車輪の側面との間に配置されたレバー部材を回転支軸の回りで回動させることにより、回転ロック部材が車輪の凹凸部から遊離してロックを解除できるようにしたので、ロック解除機構を比較的薄くコンパクトな形状にすることができる。
本発明のキャスターにおいては、前記本体ケースの前記回転支軸の軸挿通孔の外周には筒体が設けられており、前記回転ロック部材は、前記筒体の外周に回り止めされて軸方向移動可能に装着される枠体部と、この枠体部から半径方向外方に延出された延出部と、この延出部から前記車輪の凹凸部に向けて突出し、該凹凸部に係合するロック部とで構成されていることが好ましい。
これによれば、回転ロック部材を本体ケースに対して回り止めしかつ軸方向移動可能に装着することができ、回転ロック部材と車輪側面との間に配置される、レバー部材を装着させやすくすることができると共に、レバー部材と回転ロック部材との接触面に形成されるカム機構の動作を確実に行わせることができる。
本発明のキャスターにおいては、前記本体ケースに設けられた前記回転支軸に、一対の前記車輪が同軸的に所定間隔をおいて取付けられており、前記本体ケースは前記一対の車輪の間に配置されていて、各車輪の向き合った内側面に前記凹凸部が設けられており、各車輪の凹凸部に対応して前記回転ロック部材と前記レバー部材とがそれぞれ設けられており、一対の前記レバー部材が互いに連結されて同時に回動できるように構成されているこことが好ましい。
これによれば、回転支軸に2つの車輪が取付けられているので、耐荷重を高めると共に固定力も高めることができ、各車輪に対応するレバー部材を連結して同時に回動できるようにしたので、ロック解除操作も容易にすることができる。
本発明のキャスターにおいては、前記旋回軸は、前記支持物体に固定されており、該旋回軸の外周には、凹凸歯が形成されており、前記本体ケースには、第2付勢手段により該凹凸歯に向けて付勢され、常時は該凹凸歯に係合する旋回ロック部材が装着されており、前記レバー部材の回動に連動して、該旋回ロック部材を前記第2付勢手段に抗して、前記凹凸歯から前記旋回ロック部材を遊離させる連動機構が設けられていることが好ましい。
これによれば、第2付勢手段によって付勢された旋回ロック部材が旋回軸の外周の凹凸歯に係合することにより、旋回もロックすることができる。また、レバー部材を回動させることにより、旋回ロックの解除と、車輪の回転ロックの解除とを同時に行うことができる。
本発明のキャスターにおいては、前記第1付勢手段は、前記本体ケースの内面と前記回転ロック部材との間に介装された、波形ばね座金、板ばね、コイルばねから選ばれたものであることが好ましい。これによれば、第1付勢手段を薄型化して、コンパクト化することができる。
本発明のキャスターにおいては、前記旋回軸の軸心に操作軸が挿通され、この操作軸が前記レバー部材から延出された部分に当接していて、前記操作軸を押し込むことによって、前記レバー部材を回動できるように構成されていることが好ましい。これによれば、旋回軸の軸方向に沿って配置された操作軸を操作することで、レバー部材を回動させて、車輪の回転ロック、あるいは更にキャスターの旋回ロックがなされるので、車輪から離れた位置で遠隔操作することができ、利便性を向上させることができる。
本発明のキャスターによれば、第1付勢手段によって回転ロック部材が、車輪の側面に周方向に沿って形成された凹凸部に押し付けられて係合するので、車輪を強固にロックすることができる。また、回転ロック部材と車輪の側面との間に配置されたレバー部材を回転支軸の回りで回動させることにより、回転ロック部材が車輪の凹凸部から遊離してロックを解除できるようにしたので、ロック解除機構を比較的薄くコンパクトな形状にすることができる。
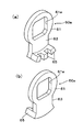
本発明に係るキャスターの第1実施形態の分解斜視図である。 同キャスターを、図1とは異なる方向から見たときの要部分解斜視図である。 同キャスターを示しており、(a)その斜視図、(b)は(a)とは異なる方向から見た場合の斜視図である。 同キャスターの回転ロック部材を示しており、(a)はその斜視図、(b)は(a)とは異なる方向から見た場合の斜視図である。 同キャスターのレバー部材を示しており、(a)はその斜視図、(b)は(a)とは異なる方向から見た場合の斜視図である。 同キャスターの、車輪の回転ロック状態を示しており、(a)は一部を断面とした平面説明図、(b)は断面説明図である。 同キャスターの、車輪の回転ロックの解除状態を示しており、(a)は一部を断面とした平面説明図、(b)は断面説明図である。 本発明に係るキャスターの第2実施形態の分解斜視図である。 同キャスターを、図8とは異なる方向から見たときの要部分解斜視図である。 同キャスターの斜視図である。 同キャスターの回転ロック部材を示しており、(a)はその斜視図、(b)は(a)とは異なる方向から見た場合の斜視図である。 同キャスターのレバー部材を示しており、(a)はその斜視図、(b)は(a)とは異なる方向から見た場合の斜視図である。 同キャスターの、車輪の回転ロック及び旋回ロック状態を示しており、(a)は一部を断面とした平面説明図、(b)は断面説明図である。 同キャスターの、車輪の回転ロック及び旋回ロックの解除状態を示しており、(a)は一部を断面とした平面説明図、(b)は断面説明図である。 本発明に係るキャスターの第3実施形態の分解斜視図である。 同キャスターの斜視図である。 同キャスターの、車輪の回転ロック及び旋回ロック状態を示しており、(a)は一部を断面とした平面説明図、(b)は断面説明図である。 同キャスターの、車輪の回転ロック及び旋回ロックの解除状態を示しており、(a)は一部を断面とした平面説明図、(b)は断面説明図である。
以下、図1〜7を参照して、本発明のキャスターの第1実施形態について説明する。
図1、2に示すように、この実施形態のキャスター10は、本体ケース20と、該本体ケース20に回転支軸50を介して回転可能に装着される車輪40とを有している。
上記本体ケース20は、中央に軸挿通孔21aを有する円盤状の底部21と、該底部21の周縁から立設した周壁23とから構成されている。周壁23には、スライド溝23aが形成されている。
また、本体ケース20の側方には、ホルダ15が装着されるようになっている。このホルダ15の外周には、旋回軸17を旋回可能に保持する保持筒16が突設されている。このホルダ15に、図示しないボルト等を介して、本体ケース20の底部21を固定することで、本体ケース20は、支持物体1の下面に、ホルダ15及び旋回軸17を介して、回動可能に取付けられるようになっている。なお、支持物体1としては、机、椅子、キャビネット、ベッドなど、様々なものが適用可能である。
図2に示すように、前記底部21の内面側であって、軸挿通孔21aの周縁からは、筒体25が突設されている。この筒体25の基部は、略四角形状をなすように拡径されていると共に、角部に面取りが施されて、回り止め部25aをなしている。また、筒体25の先端部は円筒状をなし、その外周には、図示しない押えリングを装着するための環状溝25bが形成されている。筒体25の内周は、基部側に前記軸挿通孔21aが形成され、先端側は内径を拡径されている。
一方、旋回軸17に交差して配置された回転支軸50を介して、本体ケース20に回転可能に装着される車輪40は、図1に示すように、本体ケース20側に配置される内側面に、円形状の凹部41が形成されている。この凹部41の中央には軸挿通孔41aが形成され、この軸挿通孔41aの周縁には筒体43が突設されている。また、車輪40の凹部41の内周縁には、車輪40の周方向に沿って凹凸部45が形成されている。
そして、図3、6、7に示すように、車輪40の筒体43を、本体ケース20の筒体25の先端部の拡径された内部に差し込むと共に、両筒体43,25に回転支軸50を挿通し、その両端に形成されたリング溝51,51に、Cリング55,55をそれぞれ装着することにより、本体ケース20に車輪40が抜け止めされて、回転可能に装着されるようになっている。
再び図1,2を参照すると、本体ケース20の筒体25の回り止め部25a外周には、第1付勢手段57を介して、回転ロック部材60が装着されている。この実施形態の場合、第1付勢手段57は、四角枠状の波形ばね座金で構成され、回り止め部25a外周に回り止めされて、片面を本体ケース20の底部21内面に当接させて装着されている。
また、図4を併せて参照すると、回転ロック部材60は、筒体25の回り止め部25aの外周に回り止めされて軸方向移動可能に装着される枠体部61と、この枠体部61から半径方向外方に延出された延出部63と、この延出部63の先端部から車輪40の凹凸部45に向けて突出し、該凹凸部45に係合するロック部65とで構成されている。枠体部61には、筒体25の回り止め部25aの外周に適合する角孔61aが形成されている。ロック部65は、円弧状に湾曲されていると共に、その先端に車輪40の凹凸部45に係合可能な凹凸部を有している。
前記第1付勢手段57は、回転ロック部材60を車輪40に向けて押圧するように付勢している。なお、第1付勢手段57としては、波形ばね座金の他に、板ばねや、コイルばねを採用することもできる。
図2に示すように、筒体25の先端部外周は、回り止め部25aより縮径した円筒状をなしており、この円筒状の外周にレバー部材70が装着されている。図5を併せて参照すると、レバー部材70は、上記円筒状の外周に適合する回動孔71aを有する環状の基部71を有している。
この基部71の外周の一部には、半径方向外方かつ本体ケース20の底部21に向けて突設された操作突部72が設けられている。操作突部72には、その外周面に嵌合孔72aが形成され、この嵌合孔72aに把持部73が装着されるようになっている。この把持部73は、本体ケース20のスライド溝23aから突出し、把持部73をつまんでレバー部材70を回動できるようになっている。
また、レバー部材70の基部71外周の、操作突部72に対して周方向にほぼ90°ずれた位置には、本体ケース20の底部21に向けて突設された押圧突部74が設けられている。押圧突部74の周方向の一端は、該端部に向けて次第に高さが低くなるテーパ状のカム面75をなしている。押圧突部74及びそのカム面75は、前記回転ロック部材60の延出部63に当接するように配置されている。
レバー部材70は、本体ケース20の筒体25の先端側の円筒部外周に装着され、その状態で筒体20の環状溝25b(図2参照)に図示しない押えリングを装着することにより、筒体20から抜け止めされて回転可能に保持されている。
したがって、本体ケース20の筒体25外周には、底部21の内面側から第1付勢手段57、回転ロック部材60、レバー部材71が装着され、第1付勢手段57の付勢力によって、回転ロック部材60がレバー部材71に向けて押圧されている。また、上記付勢力によって、図6に示すように、回転ロック部材60のロック部65が、車輪40の凹凸部45に押圧されて、常時は凹凸部45に係合して、車輪40がロックされるようになっている。
そして、本体ケース20のスライド溝23aから突出する把持部73をつまんでレバー部材71を回動させると、押圧突部74のカム面75が、回転ロック部材60の延出部63を本体ケース20の底部21側に押圧して、車輪40の凹凸部45に対して回転ロック部材60のロック部65を離して、車輪40のロックを解除できるようになっている。
すなわち、この実施形態では、レバー部材70と回転ロック部材60との接触面である、レバー部材70のカム面75と、それに接触する回転ロック部材60の延出部63の、レバー部材70側の側面とが、本発明における「カム機構」をなしている。
次に、上記構造からなるキャスター10の作用効果について説明する。
まず、キャスター10の組付け手順について説明する。すなわち、図1及び図2に示すように、本体ケース20の回り止め部25aの外周に、波形ばね座金である第1付勢手段57を嵌め込んで、回り止めした状態で配置する。この状態で、回転ロック部材60のロック部65の先端を、本体ケース20の底部21とは反対向きにし、角孔61aを回り止め部25aに整合させて、本体ケース20の回り止め部25a外周に回転ロック部材60を装着する。これにより、回転ロック部材60が、本体ケース20に対して回り止めされた状態で、回転支軸50の軸方向に移動可能に装着される。
次いで、レバー部材70の押圧突部74を、回転ロック部材60側に向けて、回動孔71aを本体ケース20の筒体25に整合させて、本体ケース20の筒体25の先端部外周にレバー部材70を装着する。更に、筒体25の環状溝25bに図示しない押えリングを嵌合させて、レバー部材70を抜け止めする。これによって、レバー部材70が、筒体25の外周に回動可能に装着される。
更に、レバー部材70の操作突部72の嵌合孔72aに、本体ケース20のスライド溝23aを通して挿入した把持部73を差し込んで固着することにより、レバー部材70に把持部73を装着する。
この状態で、本体ケース20の底部21とは反対側の端面に、車輪40をその凹部41を本体ケース20側に向けて配置し、車輪40の筒体43を、本体ケース20の筒体25の先端部の拡径された内部に差し込み(図6,7参照)、本体ケース20の軸挿通孔21aと、車輪40の軸挿通孔41aとに、回転支軸50を挿入する。そして、前述したように、回転支軸50を挿通の両端に形成されたリング溝51,51に、Cリング55,55をそれぞれ装着することにより、本体ケース20に車輪40を抜け止めして、回転可能に保持させることができる。
このように、このキャスター10においては、本体ケース20に、第1付勢手段57、回転ロック部材60、レバー部材70といった、キャスター10に必要な構造の大部分を予め装着させてアッセンブリ化を図ることができるので、後は車輪40を被せて、回転支軸50を挿通させるだけの簡単な作業で、キャスター10を組付けすることができ、組付け作業性を向上させることができる。
次に、キャスター10の動作について説明する。図6(a),(b)に示すように、このキャスター10においては、本体ケース20の底部21と、回転ロック部材60の枠体部61との間に介装された第1付勢手段57により、回転ロック部材60が車輪40の凹凸部45に向けて付勢され、常時はロック部65が凹凸部45に係合して、本体ケース20に対して車輪40の回転がロックされている。
このとき、第1付勢手段57によって、回転ロック部材60の凹凸状のロック部65が、車輪40の内側面の凹凸部45に、該内側面に対して垂直方向から押し付けられて係合するので(図1及び図6(a),(b)参照)、車輪40を強固に回転ロックすることができる。このため、キャスター10を取付けた支持物体1(図6(b)参照)が、押されたり引きずられたりして、回転ロック状態の車輪40に強い回転力が作用したとしても、車輪40の回転ロックが解除されることを確実に防止することができる。
一方、車輪40の回転ロックを解除する場合には、図6(a)の矢印に示すように、本体ケース20のスライド溝23aに沿って、レバー部材70の把持部73を回動させる。すると、テーパ状のカム面75が、回転ロック部材60の延出部63の一側面に徐々に当接していき、それにより、第1付勢手段57の付勢力に抗して、回転ロック部材60が回転支軸50の軸方向に移動すると共に、凹凸状のロック部65が車輪40の凹凸部45から離れていく。更に、図7(a)に示される状態となるまで、レバー部材70を回動させると、カム面75を通り越して押圧突部74の平坦な頂部が延出部63の一側面に当接するので、ロック部65が凹凸部45から遊離した状態に維持されて、車輪40を回転可能な状態にさせることができる(図7(b)参照)。
このとき、この実施形態においては、本体ケース20に回転ロック部材60が回り止めされ、回転ロック部材60が所定位置に保持されるようになっているので、レバー部材70と回転ロック部材60との接触面に形成されるカム機構(レバー部材70のカム面75と、回転ロック部材60の延出部63の側面)の動作を確実に行わせることができる。
このように、回転ロック部材60と車輪40の側面との間に配置されたレバー部材70を、回転支軸50の回りで回動させることにより、回転ロック部材60が車輪40の凹凸部45から遊離して、回転ロックを解除できるようにしたので、ロック解除機構を比較的薄くコンパクトな形状にすることができる。
また、本体ケース20内に、第1付勢手段57、回転ロック部材60、レバー部材70が収容されているので、車輪40には、一側面に凹凸部45を設けるだけで、回転ロック機構を構成することができ、車輪40を薄くすることができ、小回りのきくキャスターを提供することができる。
更に、この実施形態では、本体ケース20の内面と回転ロック部材60との間に介装された第1付勢手段57が、波形ばね座金をなしているので、第1付勢手段57を薄型化することができ、キャスター10の更なるコンパクト化を図ることができる。
図8〜14には、本発明のキャスターの第2実施形態が示されている。前記実施形態と実質的に同一部分には同符号を付してその説明を省略する。
図8に示すように、この第2実施形態のキャスター10aは、一対の車輪40,40を備える点、及び、キャスター10aの旋回ロックも可能となっている点が、前記実施形態と異なっている。
本体ケース20aは、全体として円筒状をなし、その周壁の一部に、該円筒の軸心に対して直交するように、より小径の円筒状をなす旋回軸挿入部27が連設されている。旋回軸挿入部27の軸心には、旋回軸17が挿入される軸挿通孔27aが形成されている。旋回軸17は、その上端に形成された雄ネジ部を支持物体の下面に固着されて、支持物体に取付けられる。また、旋回軸17の下端に形成された雄ネジ部に図示しないナットを締め付け固定することにより、本体ケース20aが旋回軸17に回動可能に取付けられるようになっている。
図9に示すように、本体ケース20aの旋回軸挿入部27の下端には、切欠き部29が形成されており、この切欠き部29に挿出された旋回軸17の下端外周に、旋回ロックギヤ80が装着され、図示しないナットで締め付け固定されるようになっている。この旋回ロックギヤ80は、その外周に凹凸歯81が形成されていると共に、異形孔状の軸嵌合孔83が形成されており、前記旋回ロックギヤ80の下端部に嵌合して回り止めされて固着されるようになっている。
また、本体ケース20aの前記切欠き部29内周には、本体ケース20aの内部に向けて、旋回軸17に対して直交する方向に伸びるスライド凹部31が形成されている。このスライド凹部31には、コイルばねからなる第2付勢手段88を介して、旋回ロック部材85がスライド可能に収容されている。旋回ロック部材85は、その先端に一対の爪部87,87を有し、第2付勢手段88によって、旋回ロックギヤ80の凹凸歯81に向けて付勢され、常時は上記爪部87,87が凹凸歯81に係合して、旋回軸17に対してキャスター10aが旋回しないように旋回ロックがなされている(図13(b)参照)。
また、旋回ロックギヤ80には、ピン孔86が形成されており、このピン孔86にピン90が挿通されている。上記スライド凹部31の内側面には、上記ピン90が挿出されると共に、該ピン90が、旋回ロック部材85のスライド方向に沿って所定距離だけ移動できるようにするピンスライド孔21cが設けられている。
本体ケース20aは、その両端面に、底部21と周壁23とで構成される凹部を有している。上記ピンスライド孔21cは、上記底部21に開口している。底部21の中心部には、第1実施形態と同様な筒体25が突設されており、その基部が回り止め部25aをなしている。そして、本体ケースの両端面のそれぞれの凹部の上記筒体25に、第1実施形態と同様に、第1付勢手段57、回転ロック部材60a、レバー部材70aが装着され、筒体25の先端部外周に取付けられる押えリング96(図13,14参照)によって抜け止めされるようになっている。
ここで、回転ロック部材60aは、図11(a),(b)に示すように、第1実施形態とほぼ同じ形状をなしているが、枠体部61の外側縁から延出した延出部63が、やや長く延出された形状となっている点が異なっている。
一方、レバー部材70aは、図12(a),(b)に示すように、環状の基部71と、該基部71の外周に沿って所定幅で形成された幅広片76と、該幅広片76から所定距離をおいて、前記基部71の外周から外径方向に突出し、先端に差込み孔77aを有する突片77とを有している。前記幅広片76の、突片77側の一側面には、テーパ状のカム面75が形成された押圧突部74が突設されており、同幅広片76の押圧突部74とは反対側の一側面には、ピンスライド孔76aが周方向に沿って所定長さで形成されている。
図8、9に示すように、本体ケース20aの両端面の底部21には、周壁23の内周に沿って円弧状のスライド孔21bが形成されており、このスライド孔21bに対応して、本体ケース20aの周壁には、スライド溝23aが形成されている。そして、上記スライド孔21bに挿通された連結部材78の両端部が、レバー部材70aの突片77の差込み孔77aに挿入され、一対のレバー部材70aが連結部材78を介して連結されている。また、把持部73aの先端が、本体ケース20aのスライド溝23aに差し込まれ、連結部材78の連結孔78aに嵌合して、連結部材78に把持部73aが固着されており、把持部73aをスライド溝23aに沿ってスライドさせると、一対のレバー部材70a,70aが同時に回動するようになっている。
更に、前記旋回ロック部材85に挿通されたピン90が、ピンスライド孔21cを通して、本体ケース20aの両端面の底部21から突出しており、このピン90の両端部が、それぞれ対応するレバー部材70aのピンスライド孔76aに挿入されている。そして、把持部73aをスライドさせて、一対のレバー部材70a,70aをロック解除方向に回動させると、ピンスライド孔76aの一方の端部にピン90が当接して、旋回ロック部材85が第2付勢手段88に抗して後退し、旋回ロック部材85先端の爪部87が、旋回ロックギヤ80の凹凸歯81から離れて、本体ケース20aが旋回軸17に対して回動可能となるように構成されている。
図13,14に示すように、本体ケース20aの両端面の底部21の中心部に突設された筒体25の内周は、互いに貫通して軸挿通孔21aをなしている。そして、この軸挿通孔21aに回転支軸50が挿入され、その両端部に一対の車輪40が装着され、図8に示すうように、Cリング55によって保持されている。なお、第1実施形態と同様に、車輪40は、内側面に凹部41を有し、凹部41の内周縁に凹凸部45を有している。
次に、上記構造をなした第2実施形態のキャスター10aの動作について説明する。図13(a),(b)に示すように、常時は、第1付勢手段57,57により、回転ロック部材60a,60aが付勢されて、各ロック部65が車輪40の各凹凸部45にそれぞれ係合して、一対の車輪40,40が回転ロックされると共に、第2付勢手段88により、旋回ロック部材85が付勢されて、爪部87,87が旋回ロックギヤ80の凹凸歯81に係合して、キャスター10aが旋回ロックされている。
この状態で、車輪40の回転ロック及び旋回軸17に対するキャスター10aの旋回ロックを解除する場合には、図13(a)の矢印に示すように、把持部73aをスライドさせると、一対のレバー部材70a,70aが同時に回動して、各カム面75(図8,12参照)が回転ロック部材60aの延出部63(図11参照)に当接し、第1付勢手段57,57の付勢力に抗して、回転ロック部材60a,60aが回転支軸50の軸方向に移動し、各ロック部65が車輪40の各凹凸部45からそれぞれ離れて、車輪40の回転ロックが解除される。また、レバー部材70a,70aの動作に連動して、ピン90を介して旋回ロック部材85が、第2付勢手段88の付勢力に抗してスライドし、その先端の爪部87,87が旋回ロックギヤ80の凹凸歯81から離れて、キャスター10aの旋回ロックが解除される(図14(a),(b)参照)。
このように、この実施形態では、常時は、一対の車輪40,40を回転ロックすることができると共に、旋回軸17に対するキャスター10aの旋回ロックもすることができ、また、レバー部材70aを回動するだけの簡単な操作で、一対の車輪40,40の回転ロックの解除と、キャスター10aの旋回ロックの解除とを同時に行うことができ、利便性がよく操作性も良好なキャスター10aを提供することができる。
図15〜18には、本発明のキャスターの第3実施形態が示されている。前記実施形態と実質的に同一部分には同符号を付してその説明を省略する。
図15,16に示すように、この第3実施形態のキャスター10bは、一対の車輪40,40を備え、キャスター10bの旋回ロックが可能とされている点で、前記第2実施形態のキャスター10aと同様で、レバー部材70bを回動させるための構造が、第2実施形態のキャスター10aと異なっている。
この第3実施形態では、支持物体1(図17(a)参照)の下面に取付けられる取付板18の中心孔18aの裏面周縁に、筒状をなした旋回軸17aが固設されており、同旋回軸17aに棒状の操作軸19が上下スライド可能に保持されている。
また、本体ケース20bは、上記旋回軸17aを挿通される旋回軸挿入部27を有し、この旋回軸挿入部27の下方には、本体ケース20bを大きく切り欠いてなる切欠き部29aが形成されている。筒状をなした旋回軸17aの下端部は、上記切欠き部29aに挿出され、該下端部に旋回ロックギヤ80が前記第2実施形態と同様な態様で固着されている。本体ケース20bの切欠き部29aには、前記第2実施形態と同様に、スライド凹部31a(図17(b)参照)が形成されており、このスライド凹部31aに、スプリングからなる第2付勢手段88を介して、略L字状をなすと共に、先端に爪部87,87を有する旋回ロック部材85aが、スライド可能に挿入されている。
図15に示すように、レバー部材70bは、基部71と、基部71の外周の一部から外径方向に突出した突片77と、前記基部71の外周の前記突片77とは異なる部分から外径方向に略三角板状に突出した延出片79とを有している。前記突片77の一側面には、ばね受け部77bが形成されている。
また、前記延出片79の突出方向先端には差込み孔79aが形成されている。そして、本体ケース20bの両端面に配置される一対のレバー部材70bは、上記延出片79の差込み孔79aに、連結部材78の両端部を差し込んで固着することによって、互いに連結されている。連結部材78は、本体ケース20bの切欠き部29aの、旋回ロックギヤ80よりも下方に配置されている。
また、レバー部材70bの外周の一部には、ピン90が挿入されるピンスライド孔76aが形成されている。ピン90は、旋回ロック部材85aのピン孔86に挿通され、その両端部を上記ピンスライド孔76に挿入される。
更に、レバー部材70bの外周の一部には、上記ピンスライド孔76aから所定距離をあけて、カム面75を有する押圧突部74が突設されている。この押圧突部74は、第1実施形態及び第2実施形態で説明した押圧突部74と同様な形状をなしている。
また、本体ケース20bの両端面には、底部21に対して隆起した壁部に、ばね収容凹部21dが形成されており、コイルばねからなる第3付勢手段95が上記ばね収容凹部21dにそれぞれ収容されている。これらの第3付勢手段95,95の端部が、各レバー部材70bのばね受け部77bに当接されており、両レバー部材70b,70bが所定方向に回動付勢されていて(図17(a)の矢印A参照)、常時は、両レバー部材70b、70bを連結する連結部材78が、旋回軸17aの下端部から挿出された操作軸19の下端部に当接している。
次に、上記構造をなした第3実施形態のキャスター10bの動作について説明する。図17(a),(b)に示すように、常時は、第1付勢手段57,57により、回転ロック部材60,60が付勢され、各ロック部65が車輪40の各凹凸部45にそれぞれ係合して、一対の車輪40,40が回転ロックされると共に、第2付勢手段88により、旋回ロック部材85aが付勢されて、爪部87,87が旋回ロックギヤ80の凹凸歯81に係合して、キャスター10aが旋回ロックされ、かつ、第3付勢手段95,95により、一対のレバー部材70b,70bが回動方向に付勢され、連結部材78が操作軸19の下端に当接されている。
この状態で、車輪40の回転ロック及び旋回軸17に対するキャスター10bの旋回ロックを解除する場合には、図17(a)の矢印Bに示すように、棒状の操作軸19を下方に押し込む。すると、操作軸19によって連結部材78が押圧されて、第3付勢手段95の付勢力に抗して、一対のレバー部材70b,70bが同時に回動して、各カム面75が回転ロック部材60aの延出部63に当接し、第1付勢手段57,57の付勢力に抗して、回転ロック部材60a,60aが回転支軸50の軸方向に移動し、各ロック部65が車輪40の各凹凸部45からそれぞれ離れて、車輪40の回転ロックが解除される。それと共に、レバー部材70b,70bの動作に連動して、ピン90を介して旋回ロック部材85が、第2付勢手段88の付勢力に抗してスライドし、その先端の爪部87,87が凹凸歯81から離れて、キャスター10aの旋回ロックが解除されるようになっている(図18(a),(b)参照)。また、操作軸19を押し込むのを止めると、第3付勢手段95により、レバー部材70b,70bが回動付勢されて、図17(a),(b)に示される状態に、復帰するようになっている。
この実施形態では、旋回軸17の軸方向に沿って配置された操作軸19を操作することで、レバー部材70bを回動させて、車輪40の回転ロック及びキャスター10bの旋回ロックがなされるので、車輪40から離れた位置で遠隔操作することができ、利便性を向上させることができる。
1 支持物体
10,10a,10b キャスター
15 ホルダ
17,17a 旋回軸
18 取付板
18a 中心孔
19 操作軸
20,20a,20b 本体ケース
21 底部
21a 軸挿通孔
21b スライド孔
21c ピンスライド孔
21d 収容凹部
23 周壁
23a スライド溝
25 筒体
25a 回り止め部
27 旋回軸挿入部
27a 軸挿通孔
29,29a 切欠き部
31,31a スライド凹部
40 車輪
41 凹部
41a 軸挿通孔
43 筒体
45 凹凸部
50 回転支軸
51 リング溝
55 Cリング
57 第1付勢手段
60,60a 回転ロック部材
61 枠体部
61a 角孔
63 延出部
65 ロック部
70,70a,70b レバー部材
71 基部
71a 回動孔
72 操作突部
72a 嵌合孔
73,73a 把持部
74 押圧突部
75 カム面
76 幅広片
76a ピンスライド孔
77 突片
77a 差込み孔
77b ばね受け部
78 連結部材
78a 連結孔
79 延出片
79a 差込み孔
80 旋回ロックギヤ
81 凹凸歯
83 軸嵌合孔
85,85a 旋回ロック部材
86 ピン孔
87 爪部
88 第2付勢手段
90 ピン
95 第3付勢手段

Claims (6)

  1. 旋回軸を介して支持物体の下面に取付けられる本体ケースと、
    この本体ケースに設けられた、前記旋回軸と交差する回転支軸を介して、回転可能に装着された車輪と、
    前記車輪の側面に周方向に沿って形成された凹凸部と、
    前記本体ケースに前記回転支軸の軸方向に移動可能に装着され、前記本体ケースとの間に介装された第1付勢手段によって、前記車輪の凹凸部に向けて付勢され、常時は該凹凸部に係合する回転ロック部材と、
    前記回転ロック部材と前記車輪の側面との間に配置され、前記回転支軸の回りで回動可能に装着されたレバー部材と、
    前記レバー部材と前記回転ロック部材との接触面に形成され、前記レバー部材の回動により、前記回転ロック部材を前記第1付勢手段に抗して移動させ、前記車輪の凹凸部から前記回転ロック部材を遊離させるカム機構とを備えていることを特徴とするキャスター。
  2. 前記本体ケースの前記回転支軸の軸挿通孔の外周には筒体が設けられており、前記回転ロック部材は、前記筒体の外周に回り止めされて軸方向移動可能に装着される枠体部と、この枠体部から半径方向外方に延出された延出部と、この延出部から前記車輪の凹凸部に向けて突出し、該凹凸部に係合するロック部とで構成されている請求項1記載のキャスター。
  3. 前記本体ケースに設けられた前記回転支軸に、一対の前記車輪が同軸的に所定間隔をおいて取付けられており、前記本体ケースは前記一対の車輪の間に配置されていて、各車輪の向き合った内側面に前記凹凸部が設けられており、各車輪の凹凸部に対応して前記回転ロック部材と前記レバー部材とがそれぞれ設けられており、一対の前記レバー部材が互いに連結されて同時に回動できるように構成されている請求項1又は2記載のキャスター。
  4. 前記旋回軸は、前記支持物体に固定されており、該旋回軸の外周には、凹凸歯が形成されており、前記本体ケースには、第2付勢手段により該凹凸歯に向けて付勢され、常時は該凹凸歯に係合する旋回ロック部材が装着されており、前記レバー部材の回動に連動して、該旋回ロック部材を前記第2付勢手段に抗して、前記凹凸歯から前記旋回ロック部材を遊離させる連動機構が設けられている請求項1〜3のいずれか1つに記載のキャスター。
  5. 前記第1付勢手段は、前記本体ケースの内面と前記回転ロック部材との間に介装された、波形ばね座金、板ばね、コイルばねから選ばれたものである請求項1〜4のいずれか1つに記載のキャスター。
  6. 前記旋回軸の軸心に操作軸が挿通され、この操作軸が前記レバー部材から延出された部分に当接していて、前記操作軸を押し込むことによって、前記レバー部材を回動できるように構成されている請求項1〜5のいずれか1つに記載のキャスター。
JP2011004642A 2011-01-13 2011-01-13 キャスター Expired - Fee Related JP5436464B2 (ja)

Priority Applications (1)

Application Number Priority Date Filing Date Title
JP2011004642A JP5436464B2 (ja) 2011-01-13 2011-01-13 キャスター

Applications Claiming Priority (1)

Application Number Priority Date Filing Date Title
JP2011004642A JP5436464B2 (ja) 2011-01-13 2011-01-13 キャスター

Publications (2)

Publication Number Publication Date
JP2012144168A true JP2012144168A (ja) 2012-08-02
JP5436464B2 JP5436464B2 (ja) 2014-03-05

Family

ID=46788210

Family Applications (1)

Application Number Title Priority Date Filing Date
JP2011004642A Expired - Fee Related JP5436464B2 (ja) 2011-01-13 2011-01-13 キャスター

Country Status (1)

Country Link
JP (1) JP5436464B2 (ja)

Cited By (2)

* Cited by examiner, † Cited by third party
Publication number Priority date Publication date Assignee Title
CN107284134A (zh) * 2017-06-21 2017-10-24 上海鸿研物流技术有限公司 带有刹车装置的万向脚轮
CN110730724A (zh) * 2017-04-10 2020-01-24 株式会社南星 脚轮回转限制结构

Citations (4)

* Cited by examiner, † Cited by third party
Publication number Priority date Publication date Assignee Title
JPS54143563U (ja) * 1978-03-27 1979-10-05
JPH11286202A (ja) * 1998-04-02 1999-10-19 Nansin Co Ltd ロック機構を備えた双輪キャスタ
JP2004050979A (ja) * 2002-07-19 2004-02-19 Nansin Co Ltd 双輪キャスタ
JP2005206045A (ja) * 2004-01-23 2005-08-04 Naoyuki Okamoto 産業用キャスター

Patent Citations (4)

* Cited by examiner, † Cited by third party
Publication number Priority date Publication date Assignee Title
JPS54143563U (ja) * 1978-03-27 1979-10-05
JPH11286202A (ja) * 1998-04-02 1999-10-19 Nansin Co Ltd ロック機構を備えた双輪キャスタ
JP2004050979A (ja) * 2002-07-19 2004-02-19 Nansin Co Ltd 双輪キャスタ
JP2005206045A (ja) * 2004-01-23 2005-08-04 Naoyuki Okamoto 産業用キャスター

Cited By (3)

* Cited by examiner, † Cited by third party
Publication number Priority date Publication date Assignee Title
CN110730724A (zh) * 2017-04-10 2020-01-24 株式会社南星 脚轮回转限制结构
CN107284134A (zh) * 2017-06-21 2017-10-24 上海鸿研物流技术有限公司 带有刹车装置的万向脚轮
CN107284134B (zh) * 2017-06-21 2023-08-01 上海鸿研物流技术有限公司 带有刹车装置的万向脚轮

Also Published As

Publication number Publication date
JP5436464B2 (ja) 2014-03-05

Similar Documents

Publication Publication Date Title
US7537093B2 (en) Brake device for pushcart
JP5108336B2 (ja) キャスタ制動装置
JP2011144506A (ja) ロック装置
WO2010007894A1 (ja) 車両用シートリクライニング装置
JP2008513287A (ja) 乳母車
US20120242133A1 (en) Articulation System and Vehicle Seat Comprising Such an Articulation System
US9533530B2 (en) Wheel assembly for an infant support apparatus
CN106828211A (zh) 一种座椅角度调节装置
JP5436464B2 (ja) キャスター
JP2011098657A (ja) 複数キャスタのロック機構
JP2009202776A (ja) キャスタ−のロック機構および折り畳みテ−ブル
JP4782175B2 (ja) 双輪キャスター
JP5356678B2 (ja) 移動机
JP2009285246A (ja) 車両のシートリクライニング装置
TWI681884B (zh) 自行車車輪固定軸件
JP2011098585A (ja) ロック装置
JP5128850B2 (ja) 両側リクライニング機構及び両側リクライニング機構の組み付け方法
JP3161658U (ja) キャスターの構造
JP5552879B2 (ja) 車両用シートの連結装置
JP4782176B2 (ja) 双輪キャスターおよびその取り付け方法
TWI454391B (zh) 多功能腳輪結構
CN205768363U (zh) 一种带转向锁止的万向脚轮
US10150495B2 (en) Wheel locking mechanism
JP7470232B1 (ja) マルチペダルで制御可能なキャスタ及びその使用方法
CN223516429U (zh) 一种锁定机构

Legal Events

Date Code Title Description
A621 Written request for application examination

Free format text: JAPANESE INTERMEDIATE CODE: A621

Effective date: 20120604

A871 Explanation of circumstances concerning accelerated examination

Free format text: JAPANESE INTERMEDIATE CODE: A871

Effective date: 20130312

A975 Report on accelerated examination

Free format text: JAPANESE INTERMEDIATE CODE: A971005

Effective date: 20130326

A131 Notification of reasons for refusal

Free format text: JAPANESE INTERMEDIATE CODE: A131

Effective date: 20130514

A521 Request for written amendment filed

Free format text: JAPANESE INTERMEDIATE CODE: A523

Effective date: 20130711

A131 Notification of reasons for refusal

Free format text: JAPANESE INTERMEDIATE CODE: A131

Effective date: 20130924

A521 Request for written amendment filed

Free format text: JAPANESE INTERMEDIATE CODE: A523

Effective date: 20131111

TRDD Decision of grant or rejection written
A01 Written decision to grant a patent or to grant a registration (utility model)

Free format text: JAPANESE INTERMEDIATE CODE: A01

Effective date: 20131203

A61 First payment of annual fees (during grant procedure)

Free format text: JAPANESE INTERMEDIATE CODE: A61

Effective date: 20131210

R150 Certificate of patent or registration of utility model

Ref document number: 5436464

Country of ref document: JP

Free format text: JAPANESE INTERMEDIATE CODE: R150

Free format text: JAPANESE INTERMEDIATE CODE: R150

R250 Receipt of annual fees

Free format text: JAPANESE INTERMEDIATE CODE: R250

R250 Receipt of annual fees

Free format text: JAPANESE INTERMEDIATE CODE: R250

LAPS Cancellation because of no payment of annual fees