JP2012138477A - 半導体層の製造方法および光電変換装置の製造方法 - Google Patents
半導体層の製造方法および光電変換装置の製造方法 Download PDFInfo
- Publication number
- JP2012138477A JP2012138477A JP2010290090A JP2010290090A JP2012138477A JP 2012138477 A JP2012138477 A JP 2012138477A JP 2010290090 A JP2010290090 A JP 2010290090A JP 2010290090 A JP2010290090 A JP 2010290090A JP 2012138477 A JP2012138477 A JP 2012138477A
- Authority
- JP
- Japan
- Prior art keywords
- semiconductor layer
- fine particles
- photoelectric conversion
- layer
- semiconductor
- Prior art date
- Legal status (The legal status is an assumption and is not a legal conclusion. Google has not performed a legal analysis and makes no representation as to the accuracy of the status listed.)
- Pending
Links
Images
Classifications
-
- Y—GENERAL TAGGING OF NEW TECHNOLOGICAL DEVELOPMENTS; GENERAL TAGGING OF CROSS-SECTIONAL TECHNOLOGIES SPANNING OVER SEVERAL SECTIONS OF THE IPC; TECHNICAL SUBJECTS COVERED BY FORMER USPC CROSS-REFERENCE ART COLLECTIONS [XRACs] AND DIGESTS
- Y02—TECHNOLOGIES OR APPLICATIONS FOR MITIGATION OR ADAPTATION AGAINST CLIMATE CHANGE
- Y02E—REDUCTION OF GREENHOUSE GAS [GHG] EMISSIONS, RELATED TO ENERGY GENERATION, TRANSMISSION OR DISTRIBUTION
- Y02E10/00—Energy generation through renewable energy sources
- Y02E10/50—Photovoltaic [PV] energy
- Y02E10/541—CuInSe2 material PV cells
-
- Y—GENERAL TAGGING OF NEW TECHNOLOGICAL DEVELOPMENTS; GENERAL TAGGING OF CROSS-SECTIONAL TECHNOLOGIES SPANNING OVER SEVERAL SECTIONS OF THE IPC; TECHNICAL SUBJECTS COVERED BY FORMER USPC CROSS-REFERENCE ART COLLECTIONS [XRACs] AND DIGESTS
- Y02—TECHNOLOGIES OR APPLICATIONS FOR MITIGATION OR ADAPTATION AGAINST CLIMATE CHANGE
- Y02P—CLIMATE CHANGE MITIGATION TECHNOLOGIES IN THE PRODUCTION OR PROCESSING OF GOODS
- Y02P70/00—Climate change mitigation technologies in the production process for final industrial or consumer products
- Y02P70/50—Manufacturing or production processes characterised by the final manufactured product
Landscapes
- Photovoltaic Devices (AREA)
Abstract
【課題】 クラックが少なく、高い光電変換効率を有する半導体層および光電変換装置を提供すること。
【解決手段】 半導体層の製造方法は、金属元素およびカルコゲン元素含有有機化合物を含有する原料溶液を生成する工程と、原料溶液を加熱することで、金属元素とカルコゲン元素含有有機化合物に含まれるカルコゲン元素との化合物である金属カルコゲナイドを含有する複数の微粒子を作製する工程と、複数の微粒子を取り出して加熱する工程と、加熱した複数の微粒子を溶媒に分散して半導体層形成用溶液を作製する工程と、半導体層形成用溶液を用いて皮膜を形成する工程と、皮膜を加熱して半導体層を形成する工程とを備える。
【選択図】 図1
【解決手段】 半導体層の製造方法は、金属元素およびカルコゲン元素含有有機化合物を含有する原料溶液を生成する工程と、原料溶液を加熱することで、金属元素とカルコゲン元素含有有機化合物に含まれるカルコゲン元素との化合物である金属カルコゲナイドを含有する複数の微粒子を作製する工程と、複数の微粒子を取り出して加熱する工程と、加熱した複数の微粒子を溶媒に分散して半導体層形成用溶液を作製する工程と、半導体層形成用溶液を用いて皮膜を形成する工程と、皮膜を加熱して半導体層を形成する工程とを備える。
【選択図】 図1
Description
本発明は、金属カルコゲナイドを含む半導体層の製造方法およびそれを用いた光電変換装置の製造方法に関するものである。
太陽光発電等に使用される光電変換装置として、CISやCIGS等のカルコパイライト系のI−III−VI族化合物半導体、あるいは、CdTe等のII−VI族化合物半導体等の
金属カルコゲナイドによって光吸収層が形成されたものがある(例えば、特許文献1)。
金属カルコゲナイドによって光吸収層が形成されたものがある(例えば、特許文献1)。
このような金属カルコゲナイドを含む光電変換装置は、複数の光電変換セルが平面的に並設された構成を有する。各光電変換セルは、ガラス等の基板の上に、金属電極等の下部電極と、光吸収層やバッファ層等からなる光電変換層と、透明電極や金属電極等の上部電極とが、この順に積層されて構成される。また、複数の光電変換セルは、隣り合う一方の光電変換セルの上部電極と他方の光電変換セルの下部電極とが接続導体によって電気的に接続されることで、電気的に直列に接続されている。
このような金属カルコゲナイドを含む光吸収層は、下部電極上に金属カルコゲナイドの原料を含む皮膜が形成され、この皮膜が熱処理されることによって形成される。
このような金属カルコゲナイドの原料を含む皮膜としては、ヒドラジンに金属カルコゲナイドを溶解させた溶液が下部電極上に塗布されることにより形成されたものが開示されている(例えば、特許文献2)。
しかしながら、特許文献1で示されるようなヒドラジンに金属カルコゲナイドを溶解させた溶液(原料溶液とも言う)を用いて作製された半導体層は、クラックが生じやすく、光電変換効率を高めるのが困難である。
従って、本発明の目的は、クラックが少なく、高い光電変換効率を有する半導体層および光電変換装置を提供することを目的とする。
本発明の一実施形態に係る半導体層の製造方法は、金属元素およびカルコゲン元素含有有機化合物を含有する原料溶液を生成する工程と、該原料溶液を加熱することで、前記金属元素と前記カルコゲン元素含有有機化合物に含まれるカルコゲン元素との化合物である金属カルコゲナイドを含有する複数の微粒子を作製する工程と、該複数の微粒子を取り出して加熱する工程と、該加熱した複数の微粒子を溶媒に分散して半導体層形成用溶液を作製する工程と、該半導体層形成用溶液を用いて皮膜を形成する工程と、該皮膜を加熱して半導体層を形成する工程とを備える。
本発明の一実施形態に係る光電変換装置の製造方法は、第1電極層の上に上記半導体層
の製造方法によって第1半導体層を作製する工程と、該第1半導体層の上に第2電極層を作製する工程とを備える。
の製造方法によって第1半導体層を作製する工程と、該第1半導体層の上に第2電極層を作製する工程とを備える。
本発明の上記態様によれば、クラックが少なく、高い光電変換効率を有する半導体層および光電変換装置を作製することができる。
以下、本発明の一実施形態を図面に基づいて説明する。
<(1)光電変換装置の構成>
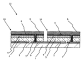
図1および図2で示されるように、光電変換装置11は、複数の光電変換セル10を備えている。複数の光電変換セル10は、基板1の上に平面的に並べられている。また、複数の光電変換セル10は、互いに電気的に直列に接続されている。
図1および図2で示されるように、光電変換装置11は、複数の光電変換セル10を備えている。複数の光電変換セル10は、基板1の上に平面的に並べられている。また、複数の光電変換セル10は、互いに電気的に直列に接続されている。
光電変換セル10は、第1電極層2、第1半導体層3、第2半導体層4、第2電極層5、第3電極層6、接続導体7、および集電電極8を含む。具体的には、基板1の上に、第1および第3電極層2,6が設けられている。第1および第3電極層2,6の上に第1半導体層3が設けられている。第1半導体層3の上に第2半導体層4が設けられている。第2半導体層4の上に第2電極層5が設けられている。そして、第2電極層5の上に集電電極8が設けられている。なお、本実施形態では、第1半導体層3が光吸収層であり、第2半導体層4がバッファ層であり、第1半導体層3と第2半導体層4とがヘテロ接合領域を形成する例を示す。但し、第2半導体層4が光吸収層であっても良い。
第1電極層2と第3電極層6とは、第1半導体層3と基板1との間に平面状に配置されており、相互に離間している。接続導体7は、1つの光電変換セル10において、第1半導体層3および第2半導体層4を含む積層体を分断するように設けられており、第2電極層5と第3電極層6とを電気的に接続している。第3電極層6は、隣接する光電変換セル10の第1電極層2と一体化されており、この第1電極層2から延伸された部分である。この構成により、隣接する光電変換セル10同士が電気的に直列に接続されている。なお、光電変換セル10では、第1電極層2と第2電極層5とで挟まれた第1半導体層3と第2半導体層4とで光電変換が行なわれる。
基板1は、光電変換セル10を支持するためのものである。基板1に用いられる材料としては、例えば、ガラス、セラミックス、樹脂、および金属等が採用され得る。
第1電極層2および第3電極層6は、基板1の上に設けられた主に良導体を含む電極層である。第1電極層2および第3電極層6に用いられる材料としては、モリブデン、アルミニウム、チタン、および金等の導電体が採用され得る。そして、第1電極層2および第3電極層6は、基板1上にスパッタリング法または蒸着法等で形成され得る。
第1半導体層3は、光を吸収して電荷を生じる光電変換を行う半導体を含んでいる。例えば、光電変換が可能な半導体としては、カルコパイライト系の化合物半導体であるI−III−VI族化合物半導体およびII−VI族化合物半導体等が適用され得る。
I−III−VI族化合物半導体とは、I−III−VI族化合物を主に含む半導体である。なお
、I−III−VI族化合物を主に含む半導体とは、半導体がI−III−VI族化合物を70mol%以上含むことをいう(以下の記載においても、「主に含む」は「70mol%以上含む」ことを意味する)。I−III−VI族化合物は、I−B族元素(11族元素とも言う)
とIII−B族元素(13族元素とも言う)とVI−B族元素(16族元素とも言う)とを主
に含む化合物である。I−III−VI族化合物としては、例えば、Cu(In,Ga)Se2(CIGSとも言う)、Cu(In,Ga)(Se,S)2(CIGSSとも言う)、およびCuInSe2(CISとも言う)等が採用され得る。なお、Cu(In,Ga)Se2は、CuとInとGaとSeとを主に含む化合物である。また、Cu(In,Ga)(Se,S)2は、CuとInとGaとSeとSとを主に含む化合物である。なお、第1半導体層3が、I−III−VI族化合物半導体を主に含んでいれば、第1半導体層3の厚さが10μm以下であっても、第1半導体層3による光電変換の効率が高められる。
、I−III−VI族化合物を主に含む半導体とは、半導体がI−III−VI族化合物を70mol%以上含むことをいう(以下の記載においても、「主に含む」は「70mol%以上含む」ことを意味する)。I−III−VI族化合物は、I−B族元素(11族元素とも言う)
とIII−B族元素(13族元素とも言う)とVI−B族元素(16族元素とも言う)とを主
に含む化合物である。I−III−VI族化合物としては、例えば、Cu(In,Ga)Se2(CIGSとも言う)、Cu(In,Ga)(Se,S)2(CIGSSとも言う)、およびCuInSe2(CISとも言う)等が採用され得る。なお、Cu(In,Ga)Se2は、CuとInとGaとSeとを主に含む化合物である。また、Cu(In,Ga)(Se,S)2は、CuとInとGaとSeとSとを主に含む化合物である。なお、第1半導体層3が、I−III−VI族化合物半導体を主に含んでいれば、第1半導体層3の厚さが10μm以下であっても、第1半導体層3による光電変換の効率が高められる。
また、II−VI族化合物半導体とは、II−VI族化合物を主に含む半導体である。II−VI族化合物は、II−B族元素(12族元素ともいう)とVI−B族元素とを主に含む化合物である。II−VI族化合物半導体としては、例えば、ZnS、ZnSe、ZnTe、CdS,CdSe、CdTe等が採用され得る。
そして、第1半導体層3は、次の工程(i)(ii)が順に行われることで形成される。
(i)第1電極層2および第3電極層6の上に、所望の半導体に主に含まれる金属元素(
ここでは、I−B族元素とIII−B族元素、またはII−B族元素等)を含む溶液(半導体
層形成用溶液とも言う)が塗布されて、乾燥される。これにより、前駆体としての皮膜(前駆体層とも言う)が形成される。本実施形態では、半導体層形成用溶液として、金属元素を含有する複数の微粒子が分散されたものが使用されることで、所望の厚みの良好な第1半導体層3が容易に形成され得る。なお、前駆体層は、異なる組成の複数層が積層されたもの(積層体とも言う)であっても良い。
ここでは、I−B族元素とIII−B族元素、またはII−B族元素等)を含む溶液(半導体
層形成用溶液とも言う)が塗布されて、乾燥される。これにより、前駆体としての皮膜(前駆体層とも言う)が形成される。本実施形態では、半導体層形成用溶液として、金属元素を含有する複数の微粒子が分散されたものが使用されることで、所望の厚みの良好な第1半導体層3が容易に形成され得る。なお、前駆体層は、異なる組成の複数層が積層されたもの(積層体とも言う)であっても良い。
(ii)前駆体層に対して熱処理が施されることで、第1半導体層3が形成される。
第2半導体層4は、第1半導体層3の上に設けられた主に半導体を含む層である。第2半導体層4の厚さは、例えば、10nm以上で且つ200nm以下とされ得る。なお、第2半導体層4が形成されず、第1半導体層3の上に第2電極層5が形成される態様であってもよい。
第2半導体層4に主に含まれている半導体と、第1半導体層3に主に含まれている半導体とは、例えば、異なる導電型を有する。例えば、第1半導体層3がp型半導体を主に含み、第2半導体層4がn型半導体を主に含む態様が採用され得る。また、第1半導体層3がn型半導体を主に含み、第2半導体層4がp型半導体を主に含む態様が採用されても良い。
第2半導体層4の電気的な抵抗率が1Ω・cm以上であれば、リーク電流が低減され得る。第2半導体層4に主に含まれる半導体の材料としては、例えば、CdS、ZnS、ZnO、In2Se3、In(OH,S)、(Zn,In)(Se,OH)、および(Zn,Mg)O等が採用され得る。なお、In(OH,S)は、InとOHとSとを主に含む化合物である。(Zn,In)(Se,OH)は、ZnとInとSeとOHとを主に含む化合物である。(Zn,Mg)Oは、ZnとMgとOとを主に含む化合物である。ここで、第2半導体層4が、第1半導体層3が吸収し得る光の波長領域に対して光透過性を有していれば、光電変換装置11に照射される光のうち、第1半導体層3まで到達する光の割合が高められ得る。
第2電極層5は、主にITO、ZnO等の材料を含む透明かつ導電性を有する膜(透明導電膜とも言う)である。そして、第2電極層5は、第1半導体層3とは異なる導電型の半導体を含んでいても良い。また、例えば、第2電極層5の厚さが0.05μm以上で且つ3.0μm以下とされれば、第2電極層5における透光性と導電性とがある程度確保され得る。第2電極層5は、スパッタリング法、蒸着法、または化学的気相成長(CVD)法等で形成され得る。第2電極層5は、第2半導体層4よりも電気的な抵抗率が低い層であり、第1半導体層3で生じた電荷を取り出す。第2電極層5が1Ω・cm未満の抵抗率と50Ω/□以下のシート抵抗とを有していれば、第2電極層5によって電荷が良好に取り出され得る。
第2電極層5が、第1半導体層3が吸収し得る光の波長領域に対して光透過性を有していれば、光電変換装置11に照射される光のうち、第1半導体層3まで到達する光の割合が高められ得る。第2電極層5の厚さが0.05μm以上で且つ0.5μmであれば、第2電極層5の光透過性が高められ、光電変換によって生じた電流が第2電極層5によって良好に伝送され得る。第2電極層5と第2半導体層4とが等しい屈折率を有していれば、第2電極層5と第2半導体層4との界面における光反射のロスが低減される。
なお、第2電極層5は、第1半導体層3で生じたキャリアのうち、一方の導電型のキャリアを取り出すためのものであるので、第2半導体層4が第2電極層5と見なされてもよい。例えば、一般に窓層と呼ばれる、第1半導体層3の上に設けられた、第1半導体層3とは異なる導電型の半導体層が第2電極層5と見なされてもよい。
光電変換装置11では、以上の構成をそれぞれ有している複数の光電変換セル10が並べられて相互に電気的に接続されている。
接続導体7は、主に導電性を有する材料を含む。この接続導体7は、第2電極層5が形成する工程において形成されても良い。すなわち、接続導体7は、第2電極層5と一体であっても良い。これにより、第2電極層5と接続導体7とが形成される工程が簡略化され、接続導体7と第2電極層5との電気的な接続の信頼性が高められ得る。あるいは、接続導体7は導電ペーストで形成されていてもよい。
このような構成により、各光電変換セル10の第1半導体層3によって光電変換が良好に行われ、接続導体7で複数の光電変換セル10が電気的に直列接続されることによって、第1半導体層3で発生した電流が取り出される。
集電電極8は、主に導電性に優れた材料を含み、第2電極層5における導電を補う。この集電電極8の存在により、第2電極層5の厚さを薄くすることが可能となり、第2電極層5における光透過性が高められ得る。つまり、第2電極層5の上に集電電極8が設けられれば、第2電極層5における光透過性が高められつつ、第2電極層5と集電電極8とによって、第1半導体層3で発生した電流が効率良く取り出され得る。その結果、光電変換セル10の発電効率が高められ得る。
集電電極8は、例えば、図1で示されるように、光電変換セル10の一端から接続導体7にかけて線状に形成されている。これにより、第1半導体層3における光電変換によって生じた電荷が第2電極層5を介して集電電極8に集電され、この電荷が接続導体7を介して隣接する光電変換セル10に良好に伝達され得る。
集電電極8の幅が、50μm以上で且つ400μm以下であれば、第1半導体層3への光が遮られ難く、集電電極8における良好な導電性も実現される。また、集電電極8は、枝分かれした複数の分岐部を有していても良い。
集電電極8は、例えば、銀等の金属粉が樹脂バインダー等に分散している金属ペーストが所定パターンとなるように印刷され、これが硬化されることで形成される。
<(2)第1半導体層の形成方法>
本実施形態では、複数の微粒子が分散している半導体層形成用溶液が用いられて、第1半導体層3が形成される。
本実施形態では、複数の微粒子が分散している半導体層形成用溶液が用いられて、第1半導体層3が形成される。
<(2−1)半導体層形成用溶液>
半導体層形成用溶液は、金属カルコゲナイドを含有する複数の微粒子を有している。微粒子に含まれる金属カルコゲナイドは、第1半導体層3の原料としての金属元素(原料金属元素とも言う)とカルコゲン元素とを含んでいる。カルコゲン元素とは、VI−B族元素のうちのS、Se、Teである。例えば、第1半導体層3がI−III−VI族化合物半導体
を主に含む場合、微粒子に含まれる金属カルコゲナイドは、例えば、I−B族元素、III
−B族元素およびカルコゲン元素を主に含む。この場合、カルコパイライト型の半導体が良好に形成され得る。なお、第1半導体層3がII−VI族化合物半導体を主に含む場合、微粒子に含まれる金属カルコゲナイドは、例えば、II−B族元素およびカルコゲン元素を主に含む。
半導体層形成用溶液は、金属カルコゲナイドを含有する複数の微粒子を有している。微粒子に含まれる金属カルコゲナイドは、第1半導体層3の原料としての金属元素(原料金属元素とも言う)とカルコゲン元素とを含んでいる。カルコゲン元素とは、VI−B族元素のうちのS、Se、Teである。例えば、第1半導体層3がI−III−VI族化合物半導体
を主に含む場合、微粒子に含まれる金属カルコゲナイドは、例えば、I−B族元素、III
−B族元素およびカルコゲン元素を主に含む。この場合、カルコパイライト型の半導体が良好に形成され得る。なお、第1半導体層3がII−VI族化合物半導体を主に含む場合、微粒子に含まれる金属カルコゲナイドは、例えば、II−B族元素およびカルコゲン元素を主に含む。
半導体層形成用溶液が生成される際には、まず、第1半導体層3の原料金属元素が、カルコゲン元素含有有機化合物を含む溶媒に溶解されて、第1半導体層3の原料金属元素を含む溶液(原料溶液とも言う)が調製される。これにより、原料金属元素およびカルコゲン元素含有有機化合物を含有する原料溶液が生成される。
カルコゲン元素含有有機化合物は、カルコゲン元素を主に含む有機化合物である。カルコゲン元素含有有機化合物として、例えば、チオール、スルフィド、ジスルフィド、チオフェン、スルホキシド、スルホン、チオケトン、スルホン酸、スルホン酸エステル、スルホン酸アミド、セレノール、セレニド、ジセレニド、セレノキシド、セレノン、テルロール、テルリド、およびジテルリド等が採用され得る。
カルコゲン元素含有有機化合物は、原料金属元素と良好な錯体を形成して、金属カルコゲナイドを容易に形成しやすくするという観点からは、金属に対する配位力の高い、チオール、スルフィド、ジスルフィド、セレノール、セレニド、ジセレニド、テルロール、テルリド、ジテルリド等が用いられてもよい。原料金属元素とカルコゲン元素含有有機化合物とが錯体を形成することにより、原料金属元素とカルコゲン元素とが接近した状態となり、金属カルコゲナイドを含む微粒子の形成がより容易となる。
上記原料溶液にはさらにルイス塩基性有機化合物が添加されてもよい。その場合、ルイス塩基性有機化合物がカルコゲン元素含有有機化合物の配位力を高め、原料金属元素とカルコゲン元素含有有機化合物との錯体形成をより促進する。
ルイス塩基性有機化合物とは、ルイス塩基となり得る官能基を有する有機化合物である。ルイス塩基となり得る官能基としては、例えば、非共有電子対を有するV-B族元素(
15族元素とも言う)を具備した官能基、および非共有電子対を有するVI-B族元素を具
備した官能基等が挙げられる。このような官能基の具体例としては、例えば、アミノ基(1〜3級アミンの何れでも良い)、カルボニル基、およびシアノ基等が挙げられる。ルイス塩基性有機化合物の具体例としては、ピリジン、アニリン、トリフェニルフォスフィン、2,4−ペンタンジオン、3−メチル−2,4−ペンタンジオン、トリエチルアミン、トリエタノールアミン、アセトニトリル、ベンジル、ベンゾイン等、およびこれらの誘導体が挙げられる。なお、ルイス塩基性有機化合物が含窒素有機化合物であれば、原料金属
元素を溶かし得る性質(溶解性とも言う)が高められ得る。また、ルイス塩基性有機化合物の沸点が100℃以上であれば、半導体層形成用溶液の塗布性が高められ得る。
15族元素とも言う)を具備した官能基、および非共有電子対を有するVI-B族元素を具
備した官能基等が挙げられる。このような官能基の具体例としては、例えば、アミノ基(1〜3級アミンの何れでも良い)、カルボニル基、およびシアノ基等が挙げられる。ルイス塩基性有機化合物の具体例としては、ピリジン、アニリン、トリフェニルフォスフィン、2,4−ペンタンジオン、3−メチル−2,4−ペンタンジオン、トリエチルアミン、トリエタノールアミン、アセトニトリル、ベンジル、ベンゾイン等、およびこれらの誘導体が挙げられる。なお、ルイス塩基性有機化合物が含窒素有機化合物であれば、原料金属
元素を溶かし得る性質(溶解性とも言う)が高められ得る。また、ルイス塩基性有機化合物の沸点が100℃以上であれば、半導体層形成用溶液の塗布性が高められ得る。
次に、原料溶液が加熱されることで、金属カルコゲナイドを含む複数の微粒子が生成される。ここで、各微粒子は、原料金属元素(例えば、I−B族元素とIII−B族元素、ま
たはII−B族元素等)とカルコゲン元素含有有機化合物に含まれるカルコゲン元素との化合物である金属カルコゲナイドを主に含有する。また、原料溶液に、カルコゲン元素含有有機化合物以外にカルコゲン元素が溶解されていてもよい。この場合、溶解したカルコゲン元素も原料金属元素と反応して微粒子と成り得る。
たはII−B族元素等)とカルコゲン元素含有有機化合物に含まれるカルコゲン元素との化合物である金属カルコゲナイドを主に含有する。また、原料溶液に、カルコゲン元素含有有機化合物以外にカルコゲン元素が溶解されていてもよい。この場合、溶解したカルコゲン元素も原料金属元素と反応して微粒子と成り得る。
なお、カルコゲン元素含有有機化合物は、微粒子を形成するためのカルコゲン元素源となるだけでなく、微粒子の表面に結合して微粒子を安定化して微粒子の凝集を低減する機能もする。よって、原料溶液において、カルコゲン元素含有有機化合物に含まれるカルコゲン元素のモル数が、原料溶液中の原料金属元素をすべてカルコゲン化するのに必要なカルコゲン元素のモル数よりも多い場合、微粒子の表面がカルコゲン元素含有有機化合物でより良好に保護され、微粒子がより安定化される。
次に、生成した複数の微粒子は、原料溶液から遠心分離等により取り出され、加熱処理が施される。加熱処理は、不活性雰囲気下または還元雰囲気下で行われる。また、加熱処理の温度は、例えば、350℃以上で且つ450℃以下に設定される。不活性雰囲気または還元雰囲気は、例えば、窒素雰囲気、水素雰囲気、および水素と窒素またはアルゴンとの混合気体の雰囲気のうち何れかであれば良い。このような複数の微粒子が加熱されることにより、微粒子に付着した有機成分が有効に熱分解される。
なお、上記原料溶液で作製した微粒子は、カルコゲン元素含有有機化合物が表面に結合した状態で安定化されているため、熱処理が施されても、微粒子同士が結合して大きな粒子となるのが有効に低減される。つまり、一般に有機成分を含む溶液中で金属カルコゲナイドを含む微粒子が形成された場合、微粒子に有機成分が絡みついた状態となる。そして、そのような微粒子を用いて形成された前駆体層は、加熱されても有機成分が十分に熱分解され難くなる。このように十分に熱分解されずに残存した有機成分は、結晶化を阻害することとなり、第1の半導体層3にクラックが発生したり、第1の半導体層3の結晶粒径が小さくなりやすい。その結果、第1の半導体層3の光電変換効率が小さくなりやすい。一方、そのような微粒子に絡みついた有機成分を熱分解により除去するために微粒子の段階で熱処理が施された場合、加熱により微粒子同士が結合して凝集し、良好な前駆体層の形成が困難になる。これに対し、本願発明では、微粒子の表面にカルコゲン元素含有有機化合物が結合して安定化しているため、カルコゲン元素含有有機化合物の有機成分が熱分解されるまで微粒子同士の結合が低減される。そのため、微粒子に絡みついて除去されにくくなった有機成分を十分に除去できるとともに微粒子の粒径を小さい粒径(1μm以下の粒径)で維持することができる。よって、そのような有機成分が除去された小さな粒径の微粒子を有する半導体層形成用溶液を用いることにより、緻密で有機成分の少ない前駆体層が形成される。そして、この前駆体層が熱処理されることにより、クラックの発生が低減され、結晶粒径の高い第1半導体層3が形成されることとなる。
このように加熱された微粒子は、有機溶媒に分散されて、半導体層形成用溶液となる。微粒子が分散される有機溶媒としては、種々のものが用いられるが、微粒子を安定に分散されるという観点からは、アミン系やアルコール系のような極性溶媒が用いられても良い。このように形成された半導体層形成用溶液が塗布等によって皮膜化されることにより前駆体層が形成される。そして、この前駆体層に熱処理が施されると、複数の微粒子が核となって、半導体の結晶成長が促進され得る。その結果、第1半導体層3の結晶性が高まり得る。
また、半導体層形成用溶液において、複数の微粒子が分散しているとともに、原料溶液が存在していれば、半導体層形成用溶液の塗布によって形成される前駆体層において、複数の微粒子の間に原料金属元素が存在し得る。これにより、前駆体層に熱処理が施される際に、複数の微粒子の間において半導体の結晶化が良好に進行し得る。その結果、第1半導体層3に含まれる半導体がより緻密なものとなり得る。そして、光電変換セル10における変換効率も容易に高められ得る。
変換効率は、光電変換装置11において太陽光のエネルギーが電気エネルギーに変換される割合を示す。例えば、変換効率は、光電変換装置11から出力される電気エネルギーの値が、光電変換装置11に入射される太陽光のエネルギーの値で除されて、100が乗じられることで導出され得る。
なお、複数の微粒子の平均粒径が1μm以下であれば、半導体層形成用溶液において、複数の微粒子の分散性が高められ、複数の微粒子の凝集が低減され得る。また、複数の微粒子の組成と、第1半導体層3の組成とが同じであれば、第1半導体層3に所望の組成以外の不純物が混入し難くなる。すなわち、第1半導体層3に含まれる半導体の純度が高められ得る。
<(2−2)半導体層形成用溶液の塗布>
半導体層形成用溶液は、基板1の上に形成された第1および第3電極層2,6の上、および第1電極層2と第3電極層6との間隙に、塗布される。この塗布の方法としては、例えば、スピンコータ、スクリーン印刷、ディッピング、スプレー、およびダイコータ等が採用され得る。また、塗布された半導体層形成用溶液は、乾燥されて前駆体層となる。この乾燥は、例えば、不活性雰囲気下または還元雰囲気下で行われる。また、乾燥時の温度は、例えば、50℃以上で且つ300℃以下に設定される。
半導体層形成用溶液は、基板1の上に形成された第1および第3電極層2,6の上、および第1電極層2と第3電極層6との間隙に、塗布される。この塗布の方法としては、例えば、スピンコータ、スクリーン印刷、ディッピング、スプレー、およびダイコータ等が採用され得る。また、塗布された半導体層形成用溶液は、乾燥されて前駆体層となる。この乾燥は、例えば、不活性雰囲気下または還元雰囲気下で行われる。また、乾燥時の温度は、例えば、50℃以上で且つ300℃以下に設定される。
<(2−3)前駆体層に対する熱処理>
前駆体層に対して熱処理が施されて、第1半導体層3が形成される。この第1半導体層3の厚さは、例えば、1.0μm以上で且つ2.5μm以下に設定される。ここでは、不活性雰囲気または還元雰囲気において熱処理が行われることで、前駆体層の酸化が低減され、第1半導体層3が良好な半導体を含むものとなる。この熱処理時では、金属カルコゲナイドの微粒子同士が互いに反応して多結晶体を形成する。不活性雰囲気または還元雰囲気は、例えば、窒素雰囲気、水素雰囲気、および水素と窒素またはアルゴンとの混合気体の雰囲気のうち何れかであれば良い。熱処理温度は、例えば、400℃以上で且つ600℃以下であれば良い。なお、前駆体層の熱処理時の雰囲気にはSe等のカルコゲン元素を含むガスが混合されていてもよい。これにより、第1半導体層3におけるVI−B族元素の含有率が所望のものに調整されやすくなる。
前駆体層に対して熱処理が施されて、第1半導体層3が形成される。この第1半導体層3の厚さは、例えば、1.0μm以上で且つ2.5μm以下に設定される。ここでは、不活性雰囲気または還元雰囲気において熱処理が行われることで、前駆体層の酸化が低減され、第1半導体層3が良好な半導体を含むものとなる。この熱処理時では、金属カルコゲナイドの微粒子同士が互いに反応して多結晶体を形成する。不活性雰囲気または還元雰囲気は、例えば、窒素雰囲気、水素雰囲気、および水素と窒素またはアルゴンとの混合気体の雰囲気のうち何れかであれば良い。熱処理温度は、例えば、400℃以上で且つ600℃以下であれば良い。なお、前駆体層の熱処理時の雰囲気にはSe等のカルコゲン元素を含むガスが混合されていてもよい。これにより、第1半導体層3におけるVI−B族元素の含有率が所望のものに調整されやすくなる。
<(3)半導体層および光電変換装置の具体例>
以下、上記一実施形態に係る製造方法によって生成され得る第1半導体層3および光電変換装置11の具体例について説明する。
以下、上記一実施形態に係る製造方法によって生成され得る第1半導体層3および光電変換装置11の具体例について説明する。
<(3−1)実施例1および比較例1の半導体層形成用溶液の作製>
まず、フェニルセレノールがアニリンに対して100mol%となるように溶解されることで、混合溶媒Mxが調整された。そして、Cu、In、およびGaが地金の状態で混合溶媒Mxに直接溶解されることで原料溶液が生成された。このとき、混合溶媒Mxに対して、Cuが2.3wt%、Inが3.2wt%およびGaが1.3wt%となるように調整された。
まず、フェニルセレノールがアニリンに対して100mol%となるように溶解されることで、混合溶媒Mxが調整された。そして、Cu、In、およびGaが地金の状態で混合溶媒Mxに直接溶解されることで原料溶液が生成された。このとき、混合溶媒Mxに対して、Cuが2.3wt%、Inが3.2wt%およびGaが1.3wt%となるように調整された。
次に、原料溶液が攪拌されながら185℃で20時間加熱されることにより、微粒子が生成した。この微粒子が遠心分離により取り出された。この取り出された微粒子の一部は、室温で自然乾燥されて比較例1用の微粒子とされた。また、残りの微粒子は、室温で自然乾燥された後、400℃で30分間加熱されることにより有機成分の熱分解が施され、実施例1用の微粒子とされた。
この時、実施例1用の微粒子の自然乾燥後の重量(M1)に対する、400℃で30分加熱後の重量(M2)の重量変化率(M2−M1)/M1は、−10.1%であり、約10%の重量が有機成分の分解により減少したことが分かった。
これらの比較例1用の微粒子および実施例1用の微粒子がアニリンに対して10wt%と成るように溶解された。比較例1用の微粒子および実施例1用の微粒子のいずれもアニリンに対し良好に分散し、透明な溶液となった。これにより、比較例1としての半導体層形成用溶液および実施例1としての半導体層形成用溶液が作製された。この比較例1としての半導体層形成用溶液中における微粒子の平均粒径は30nmであり、実施例1としての半導体層形成用溶液中における微粒子の平均粒径は35nmであった。なお、各半導体層形成用溶液中の微粒子の平均粒径は、次の工程(M1)〜(M7)が順に行われることで測定された。
<(3−1−1)粒径の測定方法>
(M1)測定対象となる半導体層形成用溶液が試験用の基板上に滴下されることで、真空中で乾燥された。これにより、試験用の基板上に複数の微粒子が分散されている状態が得られた。
(M1)測定対象となる半導体層形成用溶液が試験用の基板上に滴下されることで、真空中で乾燥された。これにより、試験用の基板上に複数の微粒子が分散されている状態が得られた。
(M2)試験用の基板上に複数の微粒子が分散されている状態が、SEMによって撮影されることで、SEM写真が得られた。
(M3)SEM写真の上に透明フィルムが重ねられ、透明フィルムの上から複数の微粒子の外縁形状がペンで描かれた。
(M4)複数の微粒子の外縁形状が描かれた透明フィルムがスキャナで読み込まれた。これにより、画像データが得られた。
(M5)所定の画像処理ソフトが用いられて、工程(M4)で得られた画像データから各微粒子が捉えられた領域の面積が算出された。
(M6)工程(M5)で算出された領域の面積から各微粒子の粒径が算出された。
(M7)工程(M6)で算出された各微粒子の粒径から、1枚のSEM写真で捉えられた複数の微粒子の平均粒径が算出された。
<(3−2)比較例2の半導体層形成用溶液の作製>
ヒドラジンに対して、セレン化銅(Cu2Se)が3.7wt%、セレン化インジウム(In2Se3)が6.5wt%、およびセレン化ガリウム(Ga2Se3)が3.5wt%となるように溶解され、比較例2としての半導体層形成用溶液が作製された。
ヒドラジンに対して、セレン化銅(Cu2Se)が3.7wt%、セレン化インジウム(In2Se3)が6.5wt%、およびセレン化ガリウム(Ga2Se3)が3.5wt%となるように溶解され、比較例2としての半導体層形成用溶液が作製された。
<(3−3)半導体層の形成>
Moを主に含む第1および第3電極層2,6が一主面上に設けられているガラス製の基板1が準備された。
Moを主に含む第1および第3電極層2,6が一主面上に設けられているガラス製の基板1が準備された。
実施例1、比較例1および比較例2としての各半導体層形成用溶液が、第1および第3電極層2,6の上面、および第1電極層2と第3電極層6との間隙に、ブレード法によって塗布された後に、乾燥が施されることで、所望の厚さの前駆体層が形成された。ここでは、ブレード法による塗布と乾燥とが数回繰り返されることで、厚さ2μmの前駆体層が形成された。次に、室温から約550℃まで1時間で昇温され、550℃で1時間保持された後に、自然冷却される熱処理が、前駆体層に対して施されることで、CIGSを主に含む第1半導体層3が形成された。
<(3−4)半導体層の評価方法>
実施例1、比較例1および比較例2としての半導体層形成用溶液が用いられて形成された各第1半導体層3が対象とされて、SEMの表面観察によって、20μm×20μmの正方形領域のクラックの発生数が測定された。その結果、比較例1では54個、比較例2では73個であるのに対し、実施例1では2個であり、実施例1の半導体層形成用溶液により形成された第1半導体層3はクラックが少なく優れていることが分かった。
実施例1、比較例1および比較例2としての半導体層形成用溶液が用いられて形成された各第1半導体層3が対象とされて、SEMの表面観察によって、20μm×20μmの正方形領域のクラックの発生数が測定された。その結果、比較例1では54個、比較例2では73個であるのに対し、実施例1では2個であり、実施例1の半導体層形成用溶液により形成された第1半導体層3はクラックが少なく優れていることが分かった。
<(3−5)光電変換装置の作製>
酢酸カドミウムおよびチオ尿素がアンモニアに溶解されて形成された溶液に、実施例1、比較例1および比較例2の半導体層形成用溶液で作製された第1半導体層3が形成された各基板1が浸漬された。これにより、第1半導体層3の上に厚さが50nmのCdSを主に含む第2半導体層4が形成された。次に、第2半導体層4の上に、スパッタリング法によって第2電極層5が形成された。第2電極層5は、AlがドープされたZnOの透明な膜とされることで、光電変換装置11が作製された。
酢酸カドミウムおよびチオ尿素がアンモニアに溶解されて形成された溶液に、実施例1、比較例1および比較例2の半導体層形成用溶液で作製された第1半導体層3が形成された各基板1が浸漬された。これにより、第1半導体層3の上に厚さが50nmのCdSを主に含む第2半導体層4が形成された。次に、第2半導体層4の上に、スパッタリング法によって第2電極層5が形成された。第2電極層5は、AlがドープされたZnOの透明な膜とされることで、光電変換装置11が作製された。
<(3−6)光電変換装置の評価方法>
実施例1、比較例1および比較例2の半導体層形成用溶液で作製された光電変換装置が対象とされて、定常光ソーラーシミュレーターによって変換効率が測定された。ここでは、光電変換装置11の受光面に対する光の照射強度が100mW/cm2であり且つエアマス(AM)が1.5である条件下で変換効率が測定された。その結果、比較例1では10%、比較例2では8%であるのに対し、実施例1では14%であり、実施例1の半導体層形成用溶液により形成された第1半導体層3はクラックの発生が低減された結果、リーク電流が低減され、光電変換効率が高くなることが分かった。
実施例1、比較例1および比較例2の半導体層形成用溶液で作製された光電変換装置が対象とされて、定常光ソーラーシミュレーターによって変換効率が測定された。ここでは、光電変換装置11の受光面に対する光の照射強度が100mW/cm2であり且つエアマス(AM)が1.5である条件下で変換効率が測定された。その結果、比較例1では10%、比較例2では8%であるのに対し、実施例1では14%であり、実施例1の半導体層形成用溶液により形成された第1半導体層3はクラックの発生が低減された結果、リーク電流が低減され、光電変換効率が高くなることが分かった。
<(4)その他>
なお、本発明は上述の実施形態に限定されるものではなく、本発明の要旨を逸脱しない範囲内で種々の変更を施すことは何等差し支えない。
なお、本発明は上述の実施形態に限定されるものではなく、本発明の要旨を逸脱しない範囲内で種々の変更を施すことは何等差し支えない。
例えば、光電変換装置は、バッファ層が設けられず、第2電極層5が第1半導体層3と異なる導電型(例えば、n型)の半導体層とされたものであっても良い。
また、光電変換装置は、集電電極8が設けられていないものであっても良い。
また、上記一実施形態では、第1および第3電極層2,6が層状の形態を有していたが、これに限られない。例えば、第1および第3電極層2,6がグリッド状等といったその他の形態を有する電極部(第1電極部とも言う)であっても良い。
また、光電変換装置は、第2電極層5が設けられず、第2半導体層4の上に集電電極8が設けられたものであっても良い。
従って、例えば、光電変換装置では、第1電極部を含む第1層の上に、第1半導体層3を含む第2層が形成され、第2層の上に、第2電極層5および集電電極8のうちの少なく
とも1つの電極部(第2電極部とも言う)を含む第3層が形成されれば良い。
とも1つの電極部(第2電極部とも言う)を含む第3層が形成されれば良い。
また、半導体層形成用溶液に原料溶液が含まれていない態様も考えられ得る。
なお、第1半導体層3以外の他の半導体層が半導体層形成用溶液が用いられて形成されても良い。
なお、上記一実施形態および各種変形例をそれぞれ構成する全部または一部を、適宜、矛盾しない範囲で組み合わせ可能であることは、言うまでもない。
1 基板
2 第1電極層
3 第1半導体層
4 第2半導体層
5 第2電極層
6 第3電極層
7 接続導体
8 集電電極
10 光電変換セル
11 光電変換装置
2 第1電極層
3 第1半導体層
4 第2半導体層
5 第2電極層
6 第3電極層
7 接続導体
8 集電電極
10 光電変換セル
11 光電変換装置
Claims (4)
- 金属元素およびカルコゲン元素含有有機化合物を含有する原料溶液を生成する工程と、該原料溶液を加熱することで、前記金属元素と前記カルコゲン元素含有有機化合物に含まれるカルコゲン元素との化合物である金属カルコゲナイドを含有する複数の微粒子を作製する工程と、
該複数の微粒子を取り出して加熱する工程と、
該加熱した複数の微粒子を溶媒に分散して半導体層形成用溶液を作製する工程と、
該半導体層形成用溶液を用いて皮膜を形成する工程と、
該皮膜を加熱して半導体層を形成する工程と
を備える半導体層の製造方法。 - 前記原料溶液において、前記カルコゲン元素含有有機化合物に含まれるカルコゲン元素のモル数を、前記金属元素をすべてカルコゲン化するのに必要なカルコゲン元素のモル数よりも多くする請求項1記載の半導体層の製造方法。
- 前記金属元素としてI−B族元素およびIII−B族元素を含ませるとともに、
前記半導体層にI−III−VI族化合物半導体を含ませる請求項1または2に記載の半導体
層の製造方法。 - 第1電極層の上に請求項1乃至3のいずれかに記載の半導体層の製造方法によって第1半導体層を作製する工程と、
該第1半導体層の上に第2電極層を作製する工程と
を備える光電変換装置の製造方法。
Priority Applications (1)
| Application Number | Priority Date | Filing Date | Title |
|---|---|---|---|
| JP2010290090A JP2012138477A (ja) | 2010-12-27 | 2010-12-27 | 半導体層の製造方法および光電変換装置の製造方法 |
Applications Claiming Priority (1)
| Application Number | Priority Date | Filing Date | Title |
|---|---|---|---|
| JP2010290090A JP2012138477A (ja) | 2010-12-27 | 2010-12-27 | 半導体層の製造方法および光電変換装置の製造方法 |
Publications (1)
| Publication Number | Publication Date |
|---|---|
| JP2012138477A true JP2012138477A (ja) | 2012-07-19 |
Family
ID=46675667
Family Applications (1)
| Application Number | Title | Priority Date | Filing Date |
|---|---|---|---|
| JP2010290090A Pending JP2012138477A (ja) | 2010-12-27 | 2010-12-27 | 半導体層の製造方法および光電変換装置の製造方法 |
Country Status (1)
| Country | Link |
|---|---|
| JP (1) | JP2012138477A (ja) |
Citations (6)
| Publication number | Priority date | Publication date | Assignee | Title |
|---|---|---|---|---|
| JP2008192542A (ja) * | 2007-02-07 | 2008-08-21 | Nippon Oil Corp | カルコパイライトナノ粒子の製造方法及び光電変換素子 |
| JP2010105887A (ja) * | 2008-10-31 | 2010-05-13 | Dowa Electronics Materials Co Ltd | カルコゲン化合物粉の製造方法 |
| JP2010111555A (ja) * | 2008-11-10 | 2010-05-20 | Kyocera Corp | 化合物半導体粒子の製法および化合物半導体粒子、ならびに化合物半導体膜 |
| JP2010132521A (ja) * | 2008-11-10 | 2010-06-17 | Dowa Holdings Co Ltd | カルコゲン化合物粉 |
| JP2010141307A (ja) * | 2008-11-11 | 2010-06-24 | Kyocera Corp | 薄膜太陽電池の製法 |
| WO2010098369A1 (ja) * | 2009-02-27 | 2010-09-02 | 国立大学法人名古屋大学 | 半導体ナノ粒子及びその製法 |
-
2010
- 2010-12-27 JP JP2010290090A patent/JP2012138477A/ja active Pending
Patent Citations (6)
| Publication number | Priority date | Publication date | Assignee | Title |
|---|---|---|---|---|
| JP2008192542A (ja) * | 2007-02-07 | 2008-08-21 | Nippon Oil Corp | カルコパイライトナノ粒子の製造方法及び光電変換素子 |
| JP2010105887A (ja) * | 2008-10-31 | 2010-05-13 | Dowa Electronics Materials Co Ltd | カルコゲン化合物粉の製造方法 |
| JP2010111555A (ja) * | 2008-11-10 | 2010-05-20 | Kyocera Corp | 化合物半導体粒子の製法および化合物半導体粒子、ならびに化合物半導体膜 |
| JP2010132521A (ja) * | 2008-11-10 | 2010-06-17 | Dowa Holdings Co Ltd | カルコゲン化合物粉 |
| JP2010141307A (ja) * | 2008-11-11 | 2010-06-24 | Kyocera Corp | 薄膜太陽電池の製法 |
| WO2010098369A1 (ja) * | 2009-02-27 | 2010-09-02 | 国立大学法人名古屋大学 | 半導体ナノ粒子及びその製法 |
Similar Documents
| Publication | Publication Date | Title |
|---|---|---|
| JP5052697B2 (ja) | 光電変換装置 | |
| JP5340314B2 (ja) | 化合物半導体の製造方法および光電変換装置の製造方法ならびに半導体形成用溶液 | |
| JP5383826B2 (ja) | 半導体層の製造方法、および光電変換装置の製造方法 | |
| WO2011129322A1 (ja) | 光電変換装置、および光電変換装置の製造方法 | |
| JP5409960B2 (ja) | 光電変換装置 | |
| JP5451899B2 (ja) | 光電変換装置 | |
| JP5318281B2 (ja) | 光電変換装置 | |
| JP5570650B2 (ja) | 半導体層の製造方法および光電変換装置の製造方法 | |
| JP2012138477A (ja) | 半導体層の製造方法および光電変換装置の製造方法 | |
| JP5566335B2 (ja) | 光電変換装置の製造方法 | |
| JP2011249560A (ja) | 半導体層の製造方法および光電変換装置の製造方法 | |
| JP5683377B2 (ja) | 半導体層の製造方法および光電変換装置の製造方法 | |
| JP2012160514A (ja) | 金属カルコゲナイド層の製造方法および光電変換装置の製造方法 | |
| JP6039695B2 (ja) | 光電変換装置 | |
| JP6162592B2 (ja) | 光電変換装置の製造方法 | |
| JP2012114250A (ja) | 光電変換装置の製造方法 | |
| JP2012195553A (ja) | 半導体層の製造方法および光電変換装置の製造方法 | |
| US20140224333A1 (en) | Photoelectric conversion device | |
| JP2015070020A (ja) | 光電変換装置の製造方法 | |
| JP2012231070A (ja) | 光電変換装置および光電変換装置の製造方法 | |
| JP2011151182A (ja) | 光電変換装置、および光電変換装置の製造方法 | |
| JPWO2013122165A1 (ja) | 化合物粒子、化合物粒子の製造方法、半導体層の製造方法および光電変換装置の製造方法 | |
| JPWO2014017354A1 (ja) | 光電変換装置 | |
| WO2014002796A1 (ja) | 光電変換装置および光電変換装置の製造方法 | |
| JP2012227377A (ja) | 半導体層の製造方法および光電変換装置の製造方法 |
Legal Events
| Date | Code | Title | Description |
|---|---|---|---|
| A621 | Written request for application examination |
Free format text: JAPANESE INTERMEDIATE CODE: A621 Effective date: 20131015 |
|
| A977 | Report on retrieval |
Free format text: JAPANESE INTERMEDIATE CODE: A971007 Effective date: 20140326 |
|
| A131 | Notification of reasons for refusal |
Free format text: JAPANESE INTERMEDIATE CODE: A131 Effective date: 20140408 |
|
| A02 | Decision of refusal |
Free format text: JAPANESE INTERMEDIATE CODE: A02 Effective date: 20140805 |