JP2012106929A - 多孔質体の製造方法 - Google Patents
多孔質体の製造方法 Download PDFInfo
- Publication number
- JP2012106929A JP2012106929A JP2012021808A JP2012021808A JP2012106929A JP 2012106929 A JP2012106929 A JP 2012106929A JP 2012021808 A JP2012021808 A JP 2012021808A JP 2012021808 A JP2012021808 A JP 2012021808A JP 2012106929 A JP2012106929 A JP 2012106929A
- Authority
- JP
- Japan
- Prior art keywords
- sintering
- porous body
- puncher
- particles
- raw material
- Prior art date
- Legal status (The legal status is an assumption and is not a legal conclusion. Google has not performed a legal analysis and makes no representation as to the accuracy of the status listed.)
- Pending
Links
- 238000004519 manufacturing process Methods 0.000 title claims abstract description 56
- 238000005245 sintering Methods 0.000 claims abstract description 204
- 239000002245 particle Substances 0.000 claims abstract description 172
- 239000000843 powder Substances 0.000 claims abstract description 102
- 239000002994 raw material Substances 0.000 claims abstract description 99
- 239000000919 ceramic Substances 0.000 claims abstract description 61
- 239000011148 porous material Substances 0.000 claims abstract description 59
- 238000000034 method Methods 0.000 claims abstract description 46
- 238000006073 displacement reaction Methods 0.000 claims abstract description 21
- 239000011261 inert gas Substances 0.000 claims abstract description 4
- 125000006850 spacer group Chemical group 0.000 claims description 36
- 238000010438 heat treatment Methods 0.000 claims description 24
- PNEYBMLMFCGWSK-UHFFFAOYSA-N aluminium oxide Inorganic materials [O-2].[O-2].[O-2].[Al+3].[Al+3] PNEYBMLMFCGWSK-UHFFFAOYSA-N 0.000 claims description 15
- 239000000463 material Substances 0.000 claims description 9
- MCMNRKCIXSYSNV-UHFFFAOYSA-N Zirconium dioxide Chemical compound O=[Zr]=O MCMNRKCIXSYSNV-UHFFFAOYSA-N 0.000 claims description 6
- 238000001816 cooling Methods 0.000 claims description 6
- 239000007921 spray Substances 0.000 claims description 4
- HBMJWWWQQXIZIP-UHFFFAOYSA-N silicon carbide Chemical compound [Si+]#[C-] HBMJWWWQQXIZIP-UHFFFAOYSA-N 0.000 claims description 3
- 229910010271 silicon carbide Inorganic materials 0.000 claims description 3
- 230000014759 maintenance of location Effects 0.000 abstract 1
- 230000000630 rising effect Effects 0.000 abstract 1
- 238000005485 electric heating Methods 0.000 description 36
- OKTJSMMVPCPJKN-UHFFFAOYSA-N Carbon Chemical compound [C] OKTJSMMVPCPJKN-UHFFFAOYSA-N 0.000 description 28
- 229910052799 carbon Inorganic materials 0.000 description 18
- 229910002804 graphite Inorganic materials 0.000 description 15
- 239000010439 graphite Substances 0.000 description 15
- 239000011230 binding agent Substances 0.000 description 14
- 238000001914 filtration Methods 0.000 description 12
- 239000007789 gas Substances 0.000 description 12
- 238000011049 filling Methods 0.000 description 11
- 238000013001 point bending Methods 0.000 description 10
- 238000012545 processing Methods 0.000 description 10
- 238000000926 separation method Methods 0.000 description 10
- 230000000052 comparative effect Effects 0.000 description 9
- 238000009826 distribution Methods 0.000 description 9
- 230000007797 corrosion Effects 0.000 description 7
- 238000005260 corrosion Methods 0.000 description 7
- 239000007788 liquid Substances 0.000 description 7
- 229910052574 oxide ceramic Inorganic materials 0.000 description 7
- 229910052581 Si3N4 Inorganic materials 0.000 description 6
- 210000003739 neck Anatomy 0.000 description 6
- 239000011224 oxide ceramic Substances 0.000 description 6
- 230000035699 permeability Effects 0.000 description 6
- HQVNEWCFYHHQES-UHFFFAOYSA-N silicon nitride Chemical compound N12[Si]34N5[Si]62N3[Si]51N64 HQVNEWCFYHHQES-UHFFFAOYSA-N 0.000 description 6
- 239000002253 acid Substances 0.000 description 5
- 239000011521 glass Substances 0.000 description 5
- 238000009434 installation Methods 0.000 description 5
- 239000000428 dust Substances 0.000 description 4
- 230000000694 effects Effects 0.000 description 4
- 230000005855 radiation Effects 0.000 description 4
- 239000000126 substance Substances 0.000 description 4
- OKKJLVBELUTLKV-UHFFFAOYSA-N Methanol Chemical compound OC OKKJLVBELUTLKV-UHFFFAOYSA-N 0.000 description 3
- 230000002159 abnormal effect Effects 0.000 description 3
- 230000015572 biosynthetic process Effects 0.000 description 3
- 239000003054 catalyst Substances 0.000 description 3
- 239000000470 constituent Substances 0.000 description 3
- 230000006866 deterioration Effects 0.000 description 3
- 239000010419 fine particle Substances 0.000 description 3
- 238000000227 grinding Methods 0.000 description 3
- 238000003825 pressing Methods 0.000 description 3
- 238000010079 rubber tapping Methods 0.000 description 3
- 239000003513 alkali Substances 0.000 description 2
- 230000015556 catabolic process Effects 0.000 description 2
- 239000003795 chemical substances by application Substances 0.000 description 2
- 238000004040 coloring Methods 0.000 description 2
- 238000011109 contamination Methods 0.000 description 2
- 238000006731 degradation reaction Methods 0.000 description 2
- 238000006392 deoxygenation reaction Methods 0.000 description 2
- 239000012535 impurity Substances 0.000 description 2
- 238000005259 measurement Methods 0.000 description 2
- 238000005979 thermal decomposition reaction Methods 0.000 description 2
- 238000007088 Archimedes method Methods 0.000 description 1
- 229910052582 BN Inorganic materials 0.000 description 1
- PZNSFCLAULLKQX-UHFFFAOYSA-N Boron nitride Chemical compound N#B PZNSFCLAULLKQX-UHFFFAOYSA-N 0.000 description 1
- 206010021143 Hypoxia Diseases 0.000 description 1
- 229910004298 SiO 2 Inorganic materials 0.000 description 1
- 239000006061 abrasive grain Substances 0.000 description 1
- 230000002411 adverse Effects 0.000 description 1
- 238000009933 burial Methods 0.000 description 1
- 229910010293 ceramic material Inorganic materials 0.000 description 1
- 238000001311 chemical methods and process Methods 0.000 description 1
- 238000006243 chemical reaction Methods 0.000 description 1
- 230000003749 cleanliness Effects 0.000 description 1
- 239000002131 composite material Substances 0.000 description 1
- 238000009770 conventional sintering Methods 0.000 description 1
- 238000005336 cracking Methods 0.000 description 1
- 238000005520 cutting process Methods 0.000 description 1
- 238000005238 degreasing Methods 0.000 description 1
- 238000000280 densification Methods 0.000 description 1
- 230000001419 dependent effect Effects 0.000 description 1
- 238000009792 diffusion process Methods 0.000 description 1
- 238000004090 dissolution Methods 0.000 description 1
- 238000005516 engineering process Methods 0.000 description 1
- 238000011156 evaluation Methods 0.000 description 1
- 230000002349 favourable effect Effects 0.000 description 1
- 238000010304 firing Methods 0.000 description 1
- 229910000765 intermetallic Inorganic materials 0.000 description 1
- 238000003754 machining Methods 0.000 description 1
- QSHDDOUJBYECFT-UHFFFAOYSA-N mercury Chemical compound [Hg] QSHDDOUJBYECFT-UHFFFAOYSA-N 0.000 description 1
- 229910052753 mercury Inorganic materials 0.000 description 1
- 238000002156 mixing Methods 0.000 description 1
- 229910052575 non-oxide ceramic Inorganic materials 0.000 description 1
- 239000011225 non-oxide ceramic Substances 0.000 description 1
- 238000012856 packing Methods 0.000 description 1
- 238000002459 porosimetry Methods 0.000 description 1
- 238000002360 preparation method Methods 0.000 description 1
- 238000003672 processing method Methods 0.000 description 1
- 238000011160 research Methods 0.000 description 1
- 239000012508 resin bead Substances 0.000 description 1
- 239000004065 semiconductor Substances 0.000 description 1
- 238000012360 testing method Methods 0.000 description 1
- 238000009827 uniform distribution Methods 0.000 description 1
Images
Landscapes
- Porous Artificial Stone Or Porous Ceramic Products (AREA)
Abstract
【課題】高純度セラミックス粒子を焼結助剤無添加で、従って、多孔質体として高純度を保持したまま結合し、気孔率と気孔径を同時に制御したバインダレス化焼結体からなる多孔質体の製造方法を提供する。
【解決手段】純度99.5%以上のセラミックス粒子であって、それらの平均粒径が10μm〜50μmであり、かつ平均粒径の0.5倍粒径以下の粒子と平均粒径の2.5倍以上の粒子を除いた残りの粒子が、95重量%以上であるセラミックス粒子を原料粉末14として設置するステップと、加圧通電加熱焼結法、又は加圧焼結法で前記原料粉末を焼結するステップと、を備え、真空中又は不活性ガス雰囲気中にあって、加圧される場合の加圧力12が10MPaから60MPaであり、1200℃以上の所定の焼結温度まで昇温速度30℃/minから45℃/minで昇温させ、焼結型10における多孔質体の変位が停止してからの保持時間を2時間以内とする。
【選択図】図1
【解決手段】純度99.5%以上のセラミックス粒子であって、それらの平均粒径が10μm〜50μmであり、かつ平均粒径の0.5倍粒径以下の粒子と平均粒径の2.5倍以上の粒子を除いた残りの粒子が、95重量%以上であるセラミックス粒子を原料粉末14として設置するステップと、加圧通電加熱焼結法、又は加圧焼結法で前記原料粉末を焼結するステップと、を備え、真空中又は不活性ガス雰囲気中にあって、加圧される場合の加圧力12が10MPaから60MPaであり、1200℃以上の所定の焼結温度まで昇温速度30℃/minから45℃/minで昇温させ、焼結型10における多孔質体の変位が停止してからの保持時間を2時間以内とする。
【選択図】図1
Description
本発明は、多孔質体の製造方法に係り、詳しくは、高温での使用が可能であり、かつ化学的に安定で耐薬品性に優れた濾過や除塵などのフィルタや触媒単体として用いることのでき、実質的に結合材としてガラス等の焼結助剤成分を含まない高純度であり、かつ安定した気孔径および気孔率を有する多孔質体の製造方法に関するものである。
また、本発明は、原料粉末であるセラミックス粒子の粒径(サイズ)や形状に依存せずに、加圧・通電加熱焼結法を用いて、焼結助剤を用いないバインダレス化焼結、好ましくは、焼結助剤を全く用いない完全なバインダレス化焼結により、多孔質体からの原料粉末粒子や不純物などの離脱、および通気孔の不均一さによる気体や液体の流れに及ぼす影響をなくした、例えば、完全になくした多孔質体の製造方法に関するものである。
また、本発明は、原料粉末であるセラミックス粒子の粒径(サイズ)や形状に依存せずに、加圧・通電加熱焼結法を用いて、焼結助剤を用いないバインダレス化焼結、好ましくは、焼結助剤を全く用いない完全なバインダレス化焼結により、多孔質体からの原料粉末粒子や不純物などの離脱、および通気孔の不均一さによる気体や液体の流れに及ぼす影響をなくした、例えば、完全になくした多孔質体の製造方法に関するものである。
無機質多孔質体は、固液分離用フィルタや、除塵用もしくは液中の微粒子除去用等の濾過、フィルタリング用途や、触媒単体等のケミカルプロセスだけでは無く、食品や電気、電子、半導体、機械産業等の分野に幅広く用いられてきている。特に、セラミックスからなる多孔質体は、耐熱性、耐薬品性に優れることから高温もしくは腐食環境下で多く使用されてきている。
セラミックスは、微細な原料粉末ほど低温で焼結が可能となり、粒径1μm以下の原料粉末では、焼結性が大幅に向上することが知られている、一方、原料粉末粒径が大きくなるほどに、焼結性が低下してしまう。このため、セラミックス製多孔質体を製造する際、焼結性に優れた微細原料粉末を使用する場合には、通気孔形成剤として樹脂ビーズや有機バインダ等の有機物類やカーボン類を添加して多孔質体が作られてきている。しかしながら、気孔形成剤が凝集し易く、均一分散が困難であり、通気孔の形成や気孔径、気孔率の制御が困難である。
一方、粒径数μmを越える原料粉末粒子を用い、粒子間の空隙を通気孔とする多孔質体も種々検討されてきているが、当該粒径原料粉末では、焼結性が劣るため、単独では焼結が困難であり、焼結性を向上させるために、結合材としてガラス成分等の焼結助剤成分を添加し、焼結を助長させることが行われている。また、焼結時に圧力を負荷する加圧焼結や、加圧・通電加熱焼結も開発されており、特に、焼結助剤添加と加圧通電加熱法の両方の効果を組み合わせた方法において、焼結温度保持前に原料粉末の変位を停止することにより、機械的特性に優れた多孔質体が開発されている(特許文献1参照)。
すなわち、上述したように、これまでの焼結によるセラミックス製多孔質体は、例えば特許文献2および3に開示されているように、製造時における歩留り向上を目的として、原料粉末にY2O3やMgO、C、SiO2などの多量のバインダ(焼結助剤)を添加し、粒子同士を強固に接合することが不可欠である。このため、多孔質体に存在する通気孔が不連続であったり、気孔径(サイズ)や分布が不均一であることに起因して、多孔質体を通過する気体の流れを厳密に制御することは困難である。また、純度が高い原料粉末を用いても、多孔質体の製造時に用いるバインダ成分が遊離したり、バインダと原料粉末とのネッキングが脆弱であるために原料粉末が離脱することにより悪影響を及ぼすことになる。
また、従来の焼結によるセラミックス製多孔質体は、トレ−ドオフの関係にある機械的特性と気孔径(サイズ)/分布とのバランスをとることは不可能であり、必然的に前者を維持するために、後者の特性を犠牲にした形となっている。
これらの問題を解決する方法としては、例えば特許文献4に開示されているように、加圧・通電加熱焼結法を用いて、線材の焼結により多孔質体を作製する方法があるが、セラミックスで当該多孔質体を作製することは、原材料であるセラミックス製線材の入手ならびにそれを用いた製造面において困難性がある。
これらの問題を解決する方法としては、例えば特許文献4に開示されているように、加圧・通電加熱焼結法を用いて、線材の焼結により多孔質体を作製する方法があるが、セラミックスで当該多孔質体を作製することは、原材料であるセラミックス製線材の入手ならびにそれを用いた製造面において困難性がある。
また、上述したように、特許文献1には、セラミックス粉末を用いて、加圧・通電加熱焼結法により多孔質体を作製することが記載されている。この製法は、ダイス内に充填した原料粉末に加圧・通電することで、粉末粒子間でグロー放電を発生させ、それによって生じたジュール熱により、焼結を進行させるものである。加圧・通電加熱焼結法は、他の焼結手段に比べて低温かつ短時間で緻密な焼結体を得ることができる。通常は、セラミックスや金属間化合物等の各種難焼結材料の緻密化が、比較的低温度、低圧力、かつ短時間で可能であり、傾斜機能材料、複合材料等の焼結に応用されている。しかし、これまでの技術では、目的とする多孔質体を工業的に歩留まり良く作製することは困難であるとともに、多孔質体の気孔径を大きくすることを目的として、例えば100μm以上の粒径が大きなセラミックス粉末に対して、特に、難焼結性セラミックスの場合には、完全なバインダレス化したセラミックス製多孔質体を作製することはできない。
ところで、上述したように、粒径の大きなセラミックス粉末、特に、難焼結性セラミックスの場合、焼結助剤としてガラス等の焼結助剤成分を含有することから、多孔質体として高純度を維持することが不可能であり、さらに、この焼結助剤成分は、一般的に耐薬品性に乏しいため、強酸、強アルカリ環境下では結合部から腐食し、多孔質体の強度低下や原料粉末粒子の脱落などを発生させてしまうという問題があった。また、焼結温度保持前に原料粉末粒子の変位を停止する加圧・通電加熱法では、気孔率と気孔径を同時に制御しようとした場合、変位停止のタイミングである焼結に伴う変位の開始点の判断が困難であり、加圧保持時間が粒子間のネック形成に大きく影響を与えるため工業的見地から安定した製品を作り出すことに困難さを有しているという問題があった。
これまでのセラミックス多孔質体は、多孔質体の強度を維持させるために、高温で軟化するガラス質の焼結助剤を多量に添加する必要があったため、多孔質体を製造する段階において、焼結助剤が過度に溶解して気孔が目詰まりすることに起因して、生成する気孔径/率を均一に制御することが困難であるという問題があった。また、焼結助剤成分は、原料粉末と異なるために、特に極めて高い清浄度が不可欠な分野などにおいては、気体への焼結助剤成分の飛散や混入を完全に防止することは不可能であるという問題があった。さらに、この焼結助剤による影響を避けるために、焼結助剤を低減させた場合には、焼結体の強度が脆弱となるために、焼結後における切断・研削などの加工工程や、その後の製品として使用中において多孔質体から原料粉末粒子が容易に離脱することにより、コンタミネーション(汚染もしくは混交)を誘発してしまうという問題があった。これらの諸問題により、これまでの製造技術ではセラミックス製多孔質体の用途が大きく制限されてしまい、大きな問題となっていた。
本発明の第1の課題は、このような上記従来技術に鑑みてなされたものであり、その第1の課題は、難焼結材料である高純度セラミックス粒子を焼結助剤無添加で、つまり多孔質体として高純度を保持したまま結合し、気孔率と気孔径を同時に制御した多孔質体の製造方法を提供することにある。
また、本発明の第2の課題は、上記従来技術の問題点を解消し、セラミックス原料粉末の種類や粒径やサイズに依存せずに、焼結助剤を用いないバインダレス化、特に、焼結助剤を一切用いない完全なバインダレス化を図ると共に、加圧・通電加熱焼結法を用いる際の冶具類に対して、上下スペーサの設置やダイスのクリアランスなどに関して大幅な改良を施すことにより、加工時や使用時において粒子の離脱のない連続気孔を有した多孔質体を歩留り良く多数枚製造できる簡便な多孔質体の製造方法を提供することにある。
また、本発明の第2の課題は、上記従来技術の問題点を解消し、セラミックス原料粉末の種類や粒径やサイズに依存せずに、焼結助剤を用いないバインダレス化、特に、焼結助剤を一切用いない完全なバインダレス化を図ると共に、加圧・通電加熱焼結法を用いる際の冶具類に対して、上下スペーサの設置やダイスのクリアランスなどに関して大幅な改良を施すことにより、加工時や使用時において粒子の離脱のない連続気孔を有した多孔質体を歩留り良く多数枚製造できる簡便な多孔質体の製造方法を提供することにある。
本発明者らは、このような上記従来技術に鑑み、難焼結材料である高純度セラミックス粒子を焼結助剤無添加で、つまり多孔質体として高純度を保持したまま結合し、気孔率と気孔径を同時に制御した多孔質体を製造するために、鋭意研究した結果、原料粉末粒子として、純度99.5%のセラミックス粒子を用い、かつ平均粒径が10μm〜50μmでありかつ平均粒径の0.5倍粒径以下の粒子と平均粒径の2.5倍粒径以上の粒子を除いた残りの粒子が95重量%以上である原料粉末粒子を用いることにより焼結工程において、焼結温度を保持する際に原料の変位を停止する操作をすることなく高純度多孔質体を製造し得ることを見いだし、その結果、高純度多孔質体を製造できることを知見し、本発明に至ったものである。
すなわち、本発明の第1の態様は、焼結型で多孔質体を製造する方法であって、純度99.5%以上のセラミックス粒子であって、それらの平均粒径が10μm〜50μmであり、かつ平均粒径の0.5倍粒径以下の粒子と平均粒径の2.5倍以上の粒子を除いた残りの粒子が、95重量%以上であるセラミックス粒子を原料粉末として設置するステップと、加圧通電加熱焼結法、又は加圧焼結法で前記原料粉末を焼結するステップと、を備え、前記加圧通電加熱焼結法、又は前記加圧焼結法は、真空中又は不活性ガス雰囲気中にあって、加圧される場合の加圧力を10MPaから60MPaとし、1200℃以上の所定の焼結温度まで昇温速度30℃/minから45℃/minで昇温させ、前記焼結型における前記多孔質体の変位が停止してからの保持時間を2時間以内として行うことで、結合材として焼結助剤成分を含まない高純度多孔質体を製造することを特徴とする多孔質体の製造方法を提供するものである。
また、本発明の第2の態様として、前記焼結型は、ダイス、上部パンチャ、及び下部パンチャからなり、前記焼結型には、前記上部パンチャの前記ダイスより突き出した上部突き出し部と前記下部パンチャの前記ダイスより突き出した下部突き出し部とに対して、上部スペーサ及び下部スペーサがそれぞれ設置されており、前記焼結型を用いる際、前記上部スペーサ及び前記下部スペーサの厚さが、目的とする相対密度に応じて決定されることを特徴とする多孔質体の製造方法を提供するものである。
さらに、焼結前における前記上部突き出し部の突き出し量と前記下部突き出し部の突き出し量が同一であり、かつその量が0.5〜15mmであることが好ましい。
さらに、焼結前における前記上部突き出し部の突き出し量と前記下部突き出し部の突き出し量が同一であり、かつその量が0.5〜15mmであることが好ましい。
また、前記焼結型を用いる際、前記ダイスと前記上部パンチャ及び前記下部パンチャとの間には0.1μm〜500μmのクリアランスが確保されていることが好ましい。
また、1枚の多孔質体の厚さのバラツキが、5%以下であることが好ましい。
また、1枚の多孔質体の厚さのバラツキが、5%以下であることが好ましい。
また、前記焼結型の中に0.5から5mmの厚さを有したセパレータが設置されることで、1回の焼結により2枚以上の多孔質体が得られ、それらの相対密度のバラつきが5%以内の範囲であることが好ましい。
また、前記焼結するステップは、前記多孔質体の目的とする相対密度が50%未満の場合には無加圧で、50%以上の場合には加圧されて行われることが好ましい。
また、前記セラミックス粒子を設置するステップの前に、前記ダイスの内壁、前記上部パンチャの内壁、及び前記下部パンチャの内壁のぞれぞれに対して、予め離型用シートを設置するステップ、又は予め離型性スプレーを塗布するステップを備えることが好ましい。
また、前記セラミックス粒子は、炭化珪素、アルミナ、ジルコニアのいずれか1つであることが好ましい。
また、前記セラミックス粒子は、アルミナ粒子であり、前記焼結するステップは、真空中において、加圧力を60MPaとし、室温から1430℃まで、40℃/minの速度で昇温させ、1430℃で1時間保持し、その後除荷して500℃まで自然冷却することが好ましい。
また、前記セラミックス粒子は、アルミナ粒子であり、前記焼結するステップは、真空中において、加圧力を60MPaとし、室温から1430℃まで、40℃/minの速度で昇温させ、1430℃で1時間保持し、その後除荷して500℃まで自然冷却することが好ましい。
本発明の第1の態様によれば、生成気孔径は2〜25μm、気孔率は10〜50%とフィリング等に好適な特性な特性を持つ多孔質体の製造方法を提供することができる。本発明によって製造された多孔質体によれば、実質上ガラス成分を含まないため、高温、もしくは強酸、強アルカリ環境下でも、腐食劣化の懸念を少なくすることができる。つまり、本発明の第1の態様によれば、このように腐食劣化の懸念が少ない多孔質体を容易に製造することができる。
また、本発明の第2の態様によれば、セラミックス原料粉末の種類や粒径やサイズに依存せずに、焼結助剤を用いないバインダレス化、特に、焼結助剤を一切用いない完全なバインダレス化を図るとともに、加圧・通電加熱焼結法を用いる際の冶具類に対して上下スペーサの設置やダイスのクリアランスなどに関して大幅な改良を施すことにより、加工時や使用時において粒子の離脱のない連続気孔を有した多孔質体を歩留り良く多数枚製造することができる。
また、本発明の第2の態様によれば、原料粉末に多量のバインダを添加して粒子同士を強固に接合する従来技術の多孔質体の通気孔の不連続性や粒径やサイズや分布の不均一性に起因する種々の問題や、バインダ成分の遊離や原料粉末粒子の離脱などの種々の問題を解消することができ、加圧・通電加熱焼結法を用い、原料粉末粒子の接点を局所加熱することにより、粒子間のネッキングを高効率に行うことで、焼結助剤を用いないバインダレス化、特に、焼結助剤を一切用いない完全なバインダレス化をなし得た多孔質体を作製できたことにより、焼結助剤の添加に伴う原料入手や作業に要する費用の低減ならびに、焼結助剤の使用環境中への離脱を防止できる。
また、本発明第2の態様によれば、原料粉末の粒子間における結合力が極めて強固であるため、完全なバインターレス化を行なった多孔質体であるにも係わらず、原料粉末粒子の離脱がない多孔質体の製造が実現できる。
また、本発明第2の態様によれば、原料粉末の粒子間における結合力が極めて強固であるため、完全なバインターレス化を行なった多孔質体であるにも係わらず、原料粉末粒子の離脱がない多孔質体の製造が実現できる。
また、本発明の第2の態様によれば、加圧・通電加熱焼結時に用いる焼結型の上下パンチャ部に対して、焼結に伴う変位を物理的に完全に停止させるスペーサを設置し、同一の焼結体厚さの中で焼結体の粒子間のネッキングを集中的に促進させるため、極めて歩留りの高く、高強度な多孔質体の製造を可能としている。
また、本発明の第2の態様において、焼結型の中に焼結体同士を分離して良好な離型性を有することを目的とするセパレータを設置することにより、2枚以上の多孔質体を歩留り良く製造することを可能としている。
また、本発明の第2の態様において、焼結型の中に焼結体同士を分離して良好な離型性を有することを目的とするセパレータを設置することにより、2枚以上の多孔質体を歩留り良く製造することを可能としている。
以下に、本発明に係る多孔質体の製造方法を詳細に説明する。
まず、本発明の第1の態様に係る多孔質体の製造方法によって製造された多孔質体について説明する。
まず、本発明の第1の態様に係る多孔質体の製造方法によって製造された多孔質体について説明する。
まず、本発明の前提となる技術である加圧・通電加熱焼結について説明する。
本発明において用いることのできる加圧・通電加熱焼結は、基本的に、パルス的に印加される電圧により焼結粒子間にミクロ的なプラズマ現象を発生させ、自己発熱効果により焼結を効率的に促進させる手法であり、ダイスとパンチャを装置の所定位置にセットし、上下スペーサを介して加圧後に加熱または通電を開始し、焼結の進行に伴って焼結体が収縮することにより変位が進行し、最高温度に到達してそこで保持されるまで、あるいは冷却時においても常に一定の加圧力を負荷する。このため、従来の加圧・通電加熱焼結では、必要以上の過度の変位が焼結体に対して発生するために、粒子間のネックが過剰に成長して、多孔質体における通気孔の埋没や変形、不完全な連続通気孔が誘発されることが指摘されていた。
本発明の前提となる本出願人の一人に係る特許文献1の発明は、この点を鑑み改良なされたものであり、焼結温度の保持時において変位を生じさせないように、焼結の進行により生じる変位の発生直後に昇温を止めると共に、加圧力を一定にして、変位がそれ以上に進まないようにする。これにより無機質多孔質体で、構成粒子の接点のみの接合が初めて可能となるとしている。さらに、変位が開始された直後10分以内に原料の変位を停止することが好ましく、特に、変位が開始された直後に変位を停止させることが好ましいとしているが、焼結に伴う開始点の判断が困難であり、気孔率と気孔径を同時に制御しようとした場合保持時間が多孔質体組織に大きく影響するため工業的見地から安定した製品を作り出すことに困難さを有していた。
本発明において用いることのできる加圧・通電加熱焼結は、基本的に、パルス的に印加される電圧により焼結粒子間にミクロ的なプラズマ現象を発生させ、自己発熱効果により焼結を効率的に促進させる手法であり、ダイスとパンチャを装置の所定位置にセットし、上下スペーサを介して加圧後に加熱または通電を開始し、焼結の進行に伴って焼結体が収縮することにより変位が進行し、最高温度に到達してそこで保持されるまで、あるいは冷却時においても常に一定の加圧力を負荷する。このため、従来の加圧・通電加熱焼結では、必要以上の過度の変位が焼結体に対して発生するために、粒子間のネックが過剰に成長して、多孔質体における通気孔の埋没や変形、不完全な連続通気孔が誘発されることが指摘されていた。
本発明の前提となる本出願人の一人に係る特許文献1の発明は、この点を鑑み改良なされたものであり、焼結温度の保持時において変位を生じさせないように、焼結の進行により生じる変位の発生直後に昇温を止めると共に、加圧力を一定にして、変位がそれ以上に進まないようにする。これにより無機質多孔質体で、構成粒子の接点のみの接合が初めて可能となるとしている。さらに、変位が開始された直後10分以内に原料の変位を停止することが好ましく、特に、変位が開始された直後に変位を停止させることが好ましいとしているが、焼結に伴う開始点の判断が困難であり、気孔率と気孔径を同時に制御しようとした場合保持時間が多孔質体組織に大きく影響するため工業的見地から安定した製品を作り出すことに困難さを有していた。
このような装置的制御の困難さを補い、気孔率と気孔径を同時に制御しうるためには粒子間のネック生成を均一化するのと、ネック成長を均一化するのとが必須となる。この両者に影響しうるパラメータは、原料粉末粒子の焼結性であり、焼結助剤の存在と原料粉末粒子径である。焼結助剤を添加した場合、その分布が不均一であれば、言及するまでもなく、部分的焼結が加速され、通気孔の閉塞の他、焼結助剤成分による通気孔埋没が生じやすく、焼結助剤が均一に分布している場合では、焼結が均一に進行するが故に、焼結制御のための変位制御が不可欠となる。また、焼結助剤成分が原料粉末粒子にコーティングされている場合も同様であり、焼結性が向上するが故に、変位制御が必要となる。
本発明の第1の態様に係る多孔質体の製造方法によって製造された多孔質体では、構成要件として、焼結駆動力を向上させる焼結助剤を添加させないこと、および、結合体を構成するセラミックス粒子の純度が99.5%以上であること、ならびに、結合体を構成するセラミックス粒子の平均粒径が10μmから50μmであり、かつ平均粒径の0.5倍粒径以下の粒子と平均粒径の2.5倍粒径以上の粒子を除いた残りの粒子を、95重量%以上とすることで、焼結前の粒子充填性が均等化され、焼結時に粒子間のネック生成とネック成長の均一化が図れ、結果として、局所的な過剰焼結が抑制され、気孔率と気孔径を併せて制御することが可能となる。特に、平均粒径の0.5倍粒径以下の原料粉末粒子の量を3%以下にすることが好ましい。
ここで、本発明の第1の態様で用いられる原料粉末としては、焼結助剤を添加することなく焼結でき、純度、平均粒径、粒度分布などが本発明の限定範囲を満足するセラミックス系原料粉末であれば、どのようなものでも良いが、その中でも、酸化物セラミックス系原料粉末であるのが好ましい。なお、本発明の限定範囲を満足する酸化物セラミックス系原料粉末であれば、全ての材種を対象とすることができる。ここで、セラミックス系原料粉末としては、エンジニアセラミックスの中では熱分解の少ない窒化珪素以外のものが好ましい。ところで、窒化珪素などのような非酸化物系セラミックスの場合には、そのほとんどが、難焼結性であり、原料粒子径の微細化もしくは焼結助剤の添加無くしては、実効的に焼結不可能であるものが多く、本発明において限定される平均粒径の範囲および焼結助剤の無添加を満たさず、本発明の範囲外となるものが多いので、本発明の対象とするセラミックス粒子は、必要に応じて、窒化珪素以外のエンジニアセラミックス粒子や、酸化物セラミックス粒子を代表例として説明する。
本発明において、原料粉末として用いられるセラミックス粒子の純度を99.5%以上に限定する理由は、耐食性環境下での寿命を考慮したからであり、99.5%未満では、高温腐食環境下では含有する不純物成分により本来持つ耐食性が発揮されにくいからである。
また、セラミックス粒子の平均粒径を10μm〜50μmに限定する理由は、原料平均粒子径が10μm未満の場合、加圧通電加熱焼結法によらず、一般的な加圧焼結法でも焼結可能となるが、焼結性が優れるが故に組織制御が困難であり、気孔径および気孔率共にバラツキが大きくなり、固液分離用フィルタや除塵用もしくは液中の微粒子除去用等の濾過、フィルタリング用途として不適となるからである。また、原料粒子径が3μm以下となれば、無加圧の常圧焼結でも、多孔質体製造は可能となるが、生成気孔径が小さく、また、焼結性に富むが故に、気孔率の制御が困難となり、上記同様の用途としては不適となる。
一方、原料平均粒子径が50μm超の場合、粒子充填性の均一性が劣り、気孔径/率の制御が困難であり焼結性が劣るため通電加熱焼結に於いても多孔質体として充分な強度発現が困難であるからである。
また、セラミックス粒子の平均粒径を10μm〜50μmに限定する理由は、原料平均粒子径が10μm未満の場合、加圧通電加熱焼結法によらず、一般的な加圧焼結法でも焼結可能となるが、焼結性が優れるが故に組織制御が困難であり、気孔径および気孔率共にバラツキが大きくなり、固液分離用フィルタや除塵用もしくは液中の微粒子除去用等の濾過、フィルタリング用途として不適となるからである。また、原料粒子径が3μm以下となれば、無加圧の常圧焼結でも、多孔質体製造は可能となるが、生成気孔径が小さく、また、焼結性に富むが故に、気孔率の制御が困難となり、上記同様の用途としては不適となる。
一方、原料平均粒子径が50μm超の場合、粒子充填性の均一性が劣り、気孔径/率の制御が困難であり焼結性が劣るため通電加熱焼結に於いても多孔質体として充分な強度発現が困難であるからである。
さらに、平均粒径の0.5倍粒径以下の粒子と平均粒径の2.5倍粒径以上の粒子を除いた残りの粒子を、95重量%以上に限定する理由は、粒度分布がブロードで95重量%未満となる場合には、平均粒径が10μmから50μmで酸化物セラミックスであっても、焼結前の初期充填が不均一となり、焼結時に局所的に粒子間ネックが過剰に成長し気孔の埋没、閉塞が発生し生成する気孔径が小さく気孔率も小さくなるからである。
また、本発明に用いられるセラミックス粒子は、球状を含み、アスペクト比が1以上1.2以下のセラミックス粒子であるのが好ましい。
ここで、セラミックス粒子の形状を、球状を含み、アスペクト比が1以上1.2以下とするのが好ましい理由は、構成粒子の充填均一性の向上のためであり、アスペクト比が1.2超の場合、生成気孔径の制御が困難となるからである(扁平粒子増による生成気孔径の不均一化)からである。
ここで、セラミックス粒子の形状を、球状を含み、アスペクト比が1以上1.2以下とするのが好ましい理由は、構成粒子の充填均一性の向上のためであり、アスペクト比が1.2超の場合、生成気孔径の制御が困難となるからである(扁平粒子増による生成気孔径の不均一化)からである。
また、本発明によって製造された多孔質体を構成するセラミックス粒子間の空隙として生成される通気孔の平均気孔径は、2μm〜25μmであるのが好ましく、また、通気孔の気孔率は、10%〜50%であるのが好ましい。
ここで、セラミックス粒子の粒子間の通気孔の平均気孔径を、2μm〜25μmの範囲とするのが好ましい理由は、フィルタリングにおいて好適な気孔径範囲内であり、通気孔の平均気孔径が2μm未満の場合、通気性に乏しくフィルタリング用途に於いて好ましくないからであり、通気孔の平均気孔径が25μm超の場合、気孔率と併せた制御が著しく困難となるからである。
また、セラミックス粒子の粒子間の通気孔の気孔率を、10%〜50%の範囲とするのが好ましい理由は、フィルタリング等の通気を重視したからであり、通気孔の気孔率が10%未満の場合、通気性が著しく低下しフィルタリング用途として不適となるからであり、通気孔の気孔率が50%超の場合、多孔質体の強度的に低下し好ましくないからである。
ここで、セラミックス粒子の粒子間の通気孔の平均気孔径を、2μm〜25μmの範囲とするのが好ましい理由は、フィルタリングにおいて好適な気孔径範囲内であり、通気孔の平均気孔径が2μm未満の場合、通気性に乏しくフィルタリング用途に於いて好ましくないからであり、通気孔の平均気孔径が25μm超の場合、気孔率と併せた制御が著しく困難となるからである。
また、セラミックス粒子の粒子間の通気孔の気孔率を、10%〜50%の範囲とするのが好ましい理由は、フィルタリング等の通気を重視したからであり、通気孔の気孔率が10%未満の場合、通気性が著しく低下しフィルタリング用途として不適となるからであり、通気孔の気孔率が50%超の場合、多孔質体の強度的に低下し好ましくないからである。
また、本発明によって製造された多孔質体は、加圧通電加熱焼結、もしくは加圧焼結で焼結されたものであるのが好ましい。
なお、本発明の第1の態様の多孔質体の製造方法も含め、多孔質体の製造方法については、本発明の第2の態様の多孔質体の製造方法と共に後述する。
本発明の第1の態様に係る多孔質体の製造方法によれば、原料粉末セラミックス粒子および多孔質体には、実質的に焼結助剤成分を含まないため、強酸、強アルカリ環境下での固液分離用フィルターや除塵用もしくは液中の微粒子除去用等の濾過、フィルタリング用途並びに触媒単体としても好適なセラミックス系多孔質体を製造することが可能である。
なお、本発明の第1の態様の多孔質体の製造方法も含め、多孔質体の製造方法については、本発明の第2の態様の多孔質体の製造方法と共に後述する。
本発明の第1の態様に係る多孔質体の製造方法によれば、原料粉末セラミックス粒子および多孔質体には、実質的に焼結助剤成分を含まないため、強酸、強アルカリ環境下での固液分離用フィルターや除塵用もしくは液中の微粒子除去用等の濾過、フィルタリング用途並びに触媒単体としても好適なセラミックス系多孔質体を製造することが可能である。
次に、本発明の第2の態様によって製造された多孔質体及び第2の態様に係る多孔質体の製造方法を添付の図面に示す好適実施形態に基づいて以下に詳細に説明する。
まず、本発明の第2の態様に係る多孔質体の製造方法について説明する。
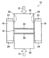
図1は、本発明に係る多孔質体の製造方法に用いられる加圧・通電加熱処理用焼結型の一実施形態の概略を示す模式的断面図である。
以下では、図1に示す加圧・通電加熱処理用焼結型を用いて、1枚の多孔質体を製造する場合について説明する。
まず、本発明の第2の態様に係る多孔質体の製造方法について説明する。
図1は、本発明に係る多孔質体の製造方法に用いられる加圧・通電加熱処理用焼結型の一実施形態の概略を示す模式的断面図である。
以下では、図1に示す加圧・通電加熱処理用焼結型を用いて、1枚の多孔質体を製造する場合について説明する。
図1に示す加圧・通電加熱処理用焼結型10は、本発明の多孔質体を加圧・通電加熱処理方法によって作製するために、本発明の多孔質体の製造方法を実施する際に用いられ、矢印12で示される加圧力および通電加熱のための電力の印加を行う加圧・通電加熱焼結装置(具体的な構成は図示せず)内に設置されるものであって、原料粉末14であるセラミックス粒子を充填する冶具類からなり、固定されたダイス16と、このダイス16に内挿され、原料粉末14を両側から挟みこむ上部パンチャ18および下部パンチャ20と、上部パンチャ18および下部パンチャ20の突き出し部において、ダイス16の上面および底面に設けられ、目的とする多孔質体の密度に応じて、その厚さが調整される上部および下部スペーサ22および24と、原料粉末14と接するダイス16の内壁に設置される離型用シート26ならびに上部パンチャ18の下面および下部パンチャ20の上面に設置される離型用シート28および28とを備える。
なお、この焼結型10をその内部に設置して、加圧・通電加熱処理方法による多孔質体の製造を行う加圧・通電加熱焼結装置12は、この焼結型10に充填された原料粉末14を上部パンチャ18および下部パンチャ20を介して加圧力を印加する加圧装置(図示せず)と、この焼結型10に充填された原料粉末14に上部パンチャ18および下部パンチャ20を介して通電して、原料粉末14を加熱する通電加熱装置(図示せず)とを備える。
なお、この焼結型10をその内部に設置して、加圧・通電加熱処理方法による多孔質体の製造を行う加圧・通電加熱焼結装置12は、この焼結型10に充填された原料粉末14を上部パンチャ18および下部パンチャ20を介して加圧力を印加する加圧装置(図示せず)と、この焼結型10に充填された原料粉末14に上部パンチャ18および下部パンチャ20を介して通電して、原料粉末14を加熱する通電加熱装置(図示せず)とを備える。
図1に示す加圧・通電加熱処理用焼結型10を用いた本発明の第2の態様に係る多孔質体の製造方法を説明する。
まず、図1に示す焼結型10を構成するために、ダイス16、上部パンチャ18および下部パンチャ20、上部スペーサ22および下部スペーサ24、ならびに離型用シート26、28および28を用意する。
このダイス16、上下部パンチャ18および20、ならびに上下部スペーサ22および24は、グラファィト製であるが、原料粉末14に対する電流密度を向上させるために、高温に耐えうる窒化珪素やアルミナなどの絶縁性の材料を単独で使用しても良いし、グラファイトと併用しても良い。また、離型用シート26、28および28は、カーボン製が好ましいが、離型用シートの代わりに、カーボンや窒化ホウ素などの離型性スプレーを塗付して、離型層26、28および28を形成しても良い。
まず、図1に示す焼結型10を構成するために、ダイス16、上部パンチャ18および下部パンチャ20、上部スペーサ22および下部スペーサ24、ならびに離型用シート26、28および28を用意する。
このダイス16、上下部パンチャ18および20、ならびに上下部スペーサ22および24は、グラファィト製であるが、原料粉末14に対する電流密度を向上させるために、高温に耐えうる窒化珪素やアルミナなどの絶縁性の材料を単独で使用しても良いし、グラファイトと併用しても良い。また、離型用シート26、28および28は、カーボン製が好ましいが、離型用シートの代わりに、カーボンや窒化ホウ素などの離型性スプレーを塗付して、離型層26、28および28を形成しても良い。
本発明の第2の態様において、多孔質体を製造する際に用いる焼結方法として、加圧・通電加熱焼結方法を用いると共に、焼結を行う際に使用する焼結型10の内壁(ダイス16の内壁)とパンチャ(上下部パンチャ18、20)との間のクリアランスを0.1μmから500μmの範囲で確保し、上下部パンチャ18、20の突き出し部に対して、多孔質体の密度に応じた厚さのスペーサ(上下部スペーサ22、24)を設置し、目的とする相対密度(例えば、設定された相対密度に対して、5%以内の密度範囲内)を確保することができ、製品としての歩留りを大幅に向上できる。
なお、このクリアランスは、離型用シート26としてカーボンシートを設置した場合においても、原料粉末14がそのクリアランス部分から漏れることによる通電ムラおよび焼結ムラを防止する観点においては、0.1μmから0.5μmであるのが好ましい。このクリアランスを0.1μm〜0.5μmに制限する理由は、上下部パンチャ18および20と、ダイス16との間のクリアランスが広すぎる場合には、原料粉末14が粉漏れを起こすことにより通電ムラを生じ、逆に、クリアランスが狭すぎる場合には、離型用シート26が破けて離型が困難となる可能性が高いからである。
なお、このクリアランスは、離型用シート26としてカーボンシートを設置した場合においても、原料粉末14がそのクリアランス部分から漏れることによる通電ムラおよび焼結ムラを防止する観点においては、0.1μmから0.5μmであるのが好ましい。このクリアランスを0.1μm〜0.5μmに制限する理由は、上下部パンチャ18および20と、ダイス16との間のクリアランスが広すぎる場合には、原料粉末14が粉漏れを起こすことにより通電ムラを生じ、逆に、クリアランスが狭すぎる場合には、離型用シート26が破けて離型が困難となる可能性が高いからである。
さらに、上下部スペーサ22および24は、目的とする多孔質体の密度に応じて、その厚さを任意に変更できるが、上下部パンチャ18および20の突き出し量は、0.5mmから15mmのいずれの量でも良いが、その部分での異常放電を防止することを考慮すると、5mmから10mmであるのが好ましく、また、異常放電ならびに加圧時におけるダイス16の割れを防止するためには、3mmから8mmにすることが、より好ましい。
また、上下部スペーサ22および24における直径方向のサイズは、上下部パンチャ18、20の突き出し部における異常放電を防止すると共に、焼結時における電流値の増大を抑制する観点においては、上下部パンチャ18および20の外径側に接することなく、一体物の場合には、直径が上下部パンチャ18および20の外形プラス0.5mmからダイス16の外径サイズであることが好ましい。さらに、設置を容易にするために、上下部スペーサ22および24をそれぞれ2分割にすることも好ましい。
より好ましくは、上下部スペーサ22および24の設置による加圧面積が大きくなることに伴う通電量増加を軽減させるために、加圧時における上下部スペーサ22および24の損傷を防止できる範囲内で、上下部スペーサ22および24の直径方向に対する幅を狭くすることが望まれる。
また、上下部スペーサ22および24における直径方向のサイズは、上下部パンチャ18、20の突き出し部における異常放電を防止すると共に、焼結時における電流値の増大を抑制する観点においては、上下部パンチャ18および20の外径側に接することなく、一体物の場合には、直径が上下部パンチャ18および20の外形プラス0.5mmからダイス16の外径サイズであることが好ましい。さらに、設置を容易にするために、上下部スペーサ22および24をそれぞれ2分割にすることも好ましい。
より好ましくは、上下部スペーサ22および24の設置による加圧面積が大きくなることに伴う通電量増加を軽減させるために、加圧時における上下部スペーサ22および24の損傷を防止できる範囲内で、上下部スペーサ22および24の直径方向に対する幅を狭くすることが望まれる。
次に、前述したダイス16の内壁に離型用シート26を設置した後、下部パンチャ20を入れ、この後、下部パンチャ20のパンチャ径と同一サイズの離型用シート28を設置し、原料粉末14を充填する。この際、原料粉末14の充填度合いを高めるため、バイブレータ(図示せず)などを用いて振動を加えても良い。
次に、原料粉末14の上に上部パンチャ18のパンチャ径と同一サイズの離型用シート28を設置した後、上部パンチャ18を設置する。
次に、原料粉末14の上に上部パンチャ18のパンチャ径と同一サイズの離型用シート28を設置した後、上部パンチャ18を設置する。
次に、加圧・通電加熱焼結装置12に設置する際に、上下部パンチャ18および20が容易に移動するのを防止するために、ハンドプレス(図示せず)などにより100kgf/cm2程度の予備加圧を負荷する。この場合、通電ムラを防止するために、上下パンチャ18および20の突き出し量を同一にすることが好ましい。また、それを容易にするために、上下パンチャ18および20の突き出し部に対して、所定の厚さのスペーサ22
を設置した後に予備加圧を行なうことも好ましい。
を設置した後に予備加圧を行なうことも好ましい。
次に、上記により予備加圧を行なったダイス16を加圧・通電加熱焼結装置12にセットする。一般的に、セラミックスの原料粉末14を用いた多孔質体を作製する際において、焼結温度は1200℃以上となるため、温度制御はシースタイプの熱電対よりも放射温度計を用いることが好ましい。
次に、目的とする密度に相当する多孔質体の厚さを確保するために、上下パンチャ18および20の突き出し部に対して、グラファイト製スペーサ22および24を設置する。このグラファイト製スペーサ22および24は、一体物でも2分割のものでもどちらでも構わないが、その内径は上下部パンチャ18および20の外周部と接触することなく、それから0.5mm以上大きく、その外径はダイス16の外径と同一であることが好ましい。
次に、目的とする密度に相当する多孔質体の厚さを確保するために、上下パンチャ18および20の突き出し部に対して、グラファイト製スペーサ22および24を設置する。このグラファイト製スペーサ22および24は、一体物でも2分割のものでもどちらでも構わないが、その内径は上下部パンチャ18および20の外周部と接触することなく、それから0.5mm以上大きく、その外径はダイス16の外径と同一であることが好ましい。
次に、加圧・通電加熱焼結装置12により焼結を行なう。焼結を行なう際の雰囲気は、真空中で行なうが、酸化物系セラミックスの場合のように、真空中において脱酸素による酸素欠損による着色の可能性がある場合には、ArやN2などの不活性ガス雰囲気中で行なうことが好ましい。また、所定の焼結温度までの昇温速度は。1℃/minから80℃/minであるが、設定温度に対するオーバーシュートや作製効率を考慮すると、好ましくは、30℃/minから45℃/minである。また、焼結の際における加圧力は、多孔質体の相対密度が50%未満の場合には、無加圧で、50%以上の場合には、加圧を行い、その加圧力は10MPaから60MPaであることが好ましい。さらに、所定の温度に到達し、上下部スペーサ22および24に接触して変位が停止してから0から2hの範囲で保持時間を設定するが、過焼結による過度の粒子間ネッキングの成長により、多孔質体の通気性不良を防止するためには、0から1hの範囲内であることが望ましい。
次に、焼結処理後における冷却は、加圧を行なった焼結の際には圧力を約50%まで下げた上体で行なうが、焼結体へのダメージを完全に防止するためには、圧力を完全に除去することが好ましい。
次に、得られた多孔質体は、焼結に伴う反応により、その表面に離型用シート26、28および28が付着しているが、平面研削加工、あるいは大気炉を用いて500から600℃で0.5から1h加熱処理することにより除去することができる。また、酸化物系セラミックスを焼結した際には、真空雰囲気による脱酸素、あるいは、焼結中のカーボンの拡散により黒く着色することがあるが、大気炉を用いて1000℃で1hの加熱処理を行なうことにより、黒い着色を完全になくすことができる。
次に、得られた多孔質体は、焼結に伴う反応により、その表面に離型用シート26、28および28が付着しているが、平面研削加工、あるいは大気炉を用いて500から600℃で0.5から1h加熱処理することにより除去することができる。また、酸化物系セラミックスを焼結した際には、真空雰囲気による脱酸素、あるいは、焼結中のカーボンの拡散により黒く着色することがあるが、大気炉を用いて1000℃で1hの加熱処理を行なうことにより、黒い着色を完全になくすことができる。
なお、上述した図1に示す加圧・通電加熱処理用焼結型を用いる例では、1枚の多孔質体を製造する場合について説明したが、図2に示すように、1枚以上のセパレータを用いて、2枚以上の多孔質体を製造する場合にも同様な方法で製造することができることはもちろんである。
図2に、1枚のセパレータを用いて、2枚の多孔質体を製造するのに用いられる加圧・通電加熱処理用焼結型を示す。
図2に、1枚のセパレータを用いて、2枚の多孔質体を製造するのに用いられる加圧・通電加熱処理用焼結型を示す。
図2に示す焼結型11の場合には、図1に示す焼結型10のように、ダイス16、上部パンチャ18および下部パンチャ20、上部スペーサ22および下部スペーサ24、ならびに離型用シート26、28および28を用意するのに加え、2枚の多孔質体として焼結される原料粉末14および14を分離するセパレータ32と、原料粉末14と接するセパレータ32の上下面に設置される離型用シート34および34とを用意する。なお、セパレータ32は、上部パンチャ18のパンチャ径と同一サイズであり、離型用シート34は、セパレータ32の径と同一サイズであり、したがって、離型用シート28と同一のものを用いることができる。
この2枚以上の多孔質体を製造する製造方法では、2つの原料粉末14(焼結体)の間に、0.5mmから5mm厚のセパレータ32を設置することにより、2枚以上の多孔質体(焼結体)における相対密度のバラツキを5%以内に抑えることが可能である。ここで、セパレータ32の厚さが、0.5mm未満では、加圧時において割れが発生し、圧力ムラに伴う焼結ムラや焼結体の形状ムラを引き起こし、5mm超では、セパレータへの通電量が増加することにより、原料粉末以外への電力消費が過多となり、効率的な焼結ができなくなる。本発明において、よりよく焼結するためには、セパレータ32は、3mmから5mm厚のものがより好ましい。
この2枚以上の多孔質体を製造する製造方法では、2つの原料粉末14(焼結体)の間に、0.5mmから5mm厚のセパレータ32を設置することにより、2枚以上の多孔質体(焼結体)における相対密度のバラツキを5%以内に抑えることが可能である。ここで、セパレータ32の厚さが、0.5mm未満では、加圧時において割れが発生し、圧力ムラに伴う焼結ムラや焼結体の形状ムラを引き起こし、5mm超では、セパレータへの通電量が増加することにより、原料粉末以外への電力消費が過多となり、効率的な焼結ができなくなる。本発明において、よりよく焼結するためには、セパレータ32は、3mmから5mm厚のものがより好ましい。
次に、図2に示す焼結型11では、図1に示す焼結型10と同様に、ダイス16の内壁に離型用シート26を設置し、下部パンチャ20を入れた後、下部パンチャ20上に離型用シート28を設置し、原料粉末14を充填する。
続いて、原料粉末14の上に離型用シート34を設置した後、セパレータ32を設置し、さらに、セパレータ32上に離型用シート34を設置し、原料粉末14を充填する。
次に、原料粉末14の上に離型用シート28を設置した後、上部パンチャ18を設置する。
構成された焼結型11を加圧・通電加熱焼結装置12に設置し、続いて、同様にして、焼結装置12により焼結を行なう。
こうして、セパレータ32によって分割された2つの原料粉末14、14を同時に焼結して、2枚の多孔質体を製造することができる。
続いて、原料粉末14の上に離型用シート34を設置した後、セパレータ32を設置し、さらに、セパレータ32上に離型用シート34を設置し、原料粉末14を充填する。
次に、原料粉末14の上に離型用シート28を設置した後、上部パンチャ18を設置する。
構成された焼結型11を加圧・通電加熱焼結装置12に設置し、続いて、同様にして、焼結装置12により焼結を行なう。
こうして、セパレータ32によって分割された2つの原料粉末14、14を同時に焼結して、2枚の多孔質体を製造することができる。
本発明の第2の態様に係る多孔質体の製造方法は、基本的に以上のように構成される。
上述したように、本発明の第1の態様に係る多孔質体の製造方法は、加圧・通電加熱焼結、もしくは加圧焼結で焼結するものであり、上述した第2の態様に係る多孔質体の製造方法と同様に行うことができるし、また、従来の加圧焼結方法と同様に行うことができる。
上述したように、本発明の第1の態様に係る多孔質体の製造方法は、加圧・通電加熱焼結、もしくは加圧焼結で焼結するものであり、上述した第2の態様に係る多孔質体の製造方法と同様に行うことができるし、また、従来の加圧焼結方法と同様に行うことができる。
次に、本発明の第2の態様に係る多孔質体の製造方法によって製造された多孔質体について説明する。
なお、本発明の第2の態様において、原料粉末14として用途に応じたセラミックス原料粉末粒子を選定することにより、その粒径が10μm〜50μmであれば、その種類や形状などに依存しないで、焼結助剤を一切含まない完全なバインダレス化をなし得たバインダレス焼結体であり、気孔径が、2μm〜25μmであり、その分布が均一であり、かつ連続気孔を有する多孔質体を製造することができる。
ここで、原料粉末14であるセラミックス粒子としては、本発明の第1の態様において説明したものと同様なものを用いることができ、アルミナ、ジルコニアなどの酸化物セラミックスの他、炭化珪素、窒化珪素などもあげることができるが、エンジニアセラミックスの中では熱分解の少ない窒化珪素以外のものが好ましい。
なお、本発明の第2の態様において、原料粉末14として用途に応じたセラミックス原料粉末粒子を選定することにより、その粒径が10μm〜50μmであれば、その種類や形状などに依存しないで、焼結助剤を一切含まない完全なバインダレス化をなし得たバインダレス焼結体であり、気孔径が、2μm〜25μmであり、その分布が均一であり、かつ連続気孔を有する多孔質体を製造することができる。
ここで、原料粉末14であるセラミックス粒子としては、本発明の第1の態様において説明したものと同様なものを用いることができ、アルミナ、ジルコニアなどの酸化物セラミックスの他、炭化珪素、窒化珪素などもあげることができるが、エンジニアセラミックスの中では熱分解の少ない窒化珪素以外のものが好ましい。
なお、本発明の第2の態様によって製造された多孔質体において、原料粉末として用いられるセラミックス粒子の平均粒径は、10〜50μmであり、バインダレス焼結体の気孔径が、2〜25μmであり、その分布が均一であり、かつバインダレス焼結体の気孔が連続気孔である。
この原料粉末粒子の平均粒径を10〜50μmに限定する理由は、平均粒径が10μm未満の場合、生成される気孔径が小さく、通気性に乏しいからであり、第1の態様によって製造された多孔質体と同様な理由があるからである。
この原料粉末粒子の平均粒径を10〜50μmに限定する理由は、平均粒径が10μm未満の場合、生成される気孔径が小さく、通気性に乏しいからであり、第1の態様によって製造された多孔質体と同様な理由があるからである。
また、本態様によって製造された多孔質体においては、焼結体の相対密度に依存せずに、50μm以上の砥粒を用いた砥石での平面研削時および使用中において、焼結体を構成するセラミックス粒子の離脱がないのが好ましい。
その理由は、機械加工により形状を任意に変更できるからである。
また、本態様よって製造された多孔質体においては、任意に設定した相対密度に対して、5%以内の密度範囲内であるのが好ましい。
その理由は、通気性を均一にでき、ムラをなくすことができるからである。
その理由は、機械加工により形状を任意に変更できるからである。
また、本態様よって製造された多孔質体においては、任意に設定した相対密度に対して、5%以内の密度範囲内であるのが好ましい。
その理由は、通気性を均一にでき、ムラをなくすことができるからである。
なお、本態様よって製造された多孔質体において、さらに、原料粉末として用いられるセラミックス粒子の純度、平均粒径、粒度分布、アスペクト比、通気孔の平均気孔径および気孔率等は、上述の限定範囲を満足するのが好ましいのはもちろんである。
本発明の多孔質体の製造方法は、基本的に以上のように構成される。
本発明の多孔質体の製造方法は、基本的に以上のように構成される。
以下に、本発明の多孔質体の製造方法を実施例に基いて具体的に説明する。
(実施例1〜7)
まず、本発明の第1の態様の多孔質体の製造方法に従って多孔質体を製造した。
本発明の実施例1〜7のアルミナ原料粒子は、いずれも市販の丸み状、球状原料粉末(昭和電工社製丸み状アルミナASシリーズにPVAを添加し、スプレードライヤ後、大気中、脱脂工程を経た1300℃の仮焼粉を用い、乾式篩により所定粒度に調整した分級品を用いた。
(実施例1〜7)
まず、本発明の第1の態様の多孔質体の製造方法に従って多孔質体を製造した。
本発明の実施例1〜7のアルミナ原料粒子は、いずれも市販の丸み状、球状原料粉末(昭和電工社製丸み状アルミナASシリーズにPVAを添加し、スプレードライヤ後、大気中、脱脂工程を経た1300℃の仮焼粉を用い、乾式篩により所定粒度に調整した分級品を用いた。
加圧・通電加熱焼結は、図1に示す焼結型10を用いて、以下の様に実施した。離型用カーボンシート26および28、28をそれぞれグラファイト製ダイス16の内面および両上下部パンチャ18および20の表面に設置して、所定の粒度に分級したアルミナ粒子を型内に充填した。この際に、充填性向上のために好ましい場合には、振動を加えた。
その後、100kgf/cm2程度の仮押し後、加圧・通電加熱焼結装置内にセットし、加圧通電加熱焼結法により、1200〜1500℃で、いずれも10〜60MPaの範囲内の圧力で加圧した。
その後、100kgf/cm2程度の仮押し後、加圧・通電加熱焼結装置内にセットし、加圧通電加熱焼結法により、1200〜1500℃で、いずれも10〜60MPaの範囲内の圧力で加圧した。
焼結体の評価は、以下の手法により実施した。
気孔率測定:アルキメデス法により気孔率を算出した。
気孔径測定:水銀圧入法により細孔分布測定を行い平均気孔径を求めた
(micrometrics社製ポアサイザ9310型)
アスペクト比:粒子をメタノールに添加後、超音波分散(42kHz)させ、試料板に滴下し、乾燥後、走査型電子顕微鏡により、アルミナ粒子を100ヶ観察し、長径/短径比を求めた。
実施結果を表1に示す。
気孔率測定:アルキメデス法により気孔率を算出した。
気孔径測定:水銀圧入法により細孔分布測定を行い平均気孔径を求めた
(micrometrics社製ポアサイザ9310型)
アスペクト比:粒子をメタノールに添加後、超音波分散(42kHz)させ、試料板に滴下し、乾燥後、走査型電子顕微鏡により、アルミナ粒子を100ヶ観察し、長径/短径比を求めた。
実施結果を表1に示す。
表1において、アルミナ粒子の平均粒径が、本発明の第1の態様の請求範囲外である10μm未満の場合(比較例1、2)は、加圧通電加熱焼結法に寄らずに焼結は可能であるが、生成する通気孔の平均気孔径は、非常に小さく、かつ気孔率も小さいため、好ましくない。平均粒径が本態様の請求範囲内であっても、平均粒径の1/2径以下の粒径が多い(8.9%および15%)の比較例3および5は、生成する通気孔の気孔率が小さくなりすぎるため不適である。平均粒径が、本態様の請求範囲外である50μm超となる比較例4は、気孔径、気孔率とも大きすぎて不適となる。粒度分布は、本態様の請求範囲内であっても、アスペクト比が本態様の請求範囲外となる比較例6は、生成する通気孔の気孔率は本発明の範囲に入るものの、平均気孔径が小さすぎるため不適となる。
これらの比較例に対して、本発明の実施例である本発明例1〜7は、いずれも生成気孔径は、2〜25μm、気孔率は、10〜50%の範囲であり、フィルタリング等に好適な特性を示した。
なお、原料粒子として、アドマテックス社製アドマファイン、もしくは平均粒径1μmのアルミナ原料粉末(純度99.5%)によりASシリーズと同様な分級品を用いて焼結体を作製したが、表1内に示した実施例1〜7の特性はASシリーズと同一であった。
これらの比較例に対して、本発明の実施例である本発明例1〜7は、いずれも生成気孔径は、2〜25μm、気孔率は、10〜50%の範囲であり、フィルタリング等に好適な特性を示した。
なお、原料粒子として、アドマテックス社製アドマファイン、もしくは平均粒径1μmのアルミナ原料粉末(純度99.5%)によりASシリーズと同様な分級品を用いて焼結体を作製したが、表1内に示した実施例1〜7の特性はASシリーズと同一であった。
以下に、本発明の第2の態様の多孔質体の製造方法に従って多孔質体を製造した。
(実施例8)
図1に示す加圧・通電加熱用焼結型10を用いて、φ50mm×6mm厚の多孔質体を作製した。
ここで、本実施例における原料粉末14は、市販の異形状α系アルミナ粉末で、その平均粒径は、約20μmであった。焼結に用いたダイス16ならびに上下部パンチャ18、20は、市販のグラファィトである。剥離用カーボンシート26をグラファイト製ダイス16中のダイス内壁に設置し、下部パンチャ20を入れた後、同径の剥離用カーボンシート28を設置し、バインダを一切含まない原料粉末14を37.5g充填した。その後、原料粉末14の充填度を平均化するためにバイブレータによりタッピング処理を行ない、上部パンチャ18と同径の剥離用カーボンシート28を設置し、上部パンチャ18を入れた。その後、ハンドプレスを用いて予備加圧を負荷した。
上下部パンチャ18および20の突き出し部に対して、4.5mm厚のグラファィト製スペーサ22、24をそれぞれ設置し、加圧・通電加熱焼結装置12の所定の位置にセットした。
(実施例8)
図1に示す加圧・通電加熱用焼結型10を用いて、φ50mm×6mm厚の多孔質体を作製した。
ここで、本実施例における原料粉末14は、市販の異形状α系アルミナ粉末で、その平均粒径は、約20μmであった。焼結に用いたダイス16ならびに上下部パンチャ18、20は、市販のグラファィトである。剥離用カーボンシート26をグラファイト製ダイス16中のダイス内壁に設置し、下部パンチャ20を入れた後、同径の剥離用カーボンシート28を設置し、バインダを一切含まない原料粉末14を37.5g充填した。その後、原料粉末14の充填度を平均化するためにバイブレータによりタッピング処理を行ない、上部パンチャ18と同径の剥離用カーボンシート28を設置し、上部パンチャ18を入れた。その後、ハンドプレスを用いて予備加圧を負荷した。
上下部パンチャ18および20の突き出し部に対して、4.5mm厚のグラファィト製スペーサ22、24をそれぞれ設置し、加圧・通電加熱焼結装置12の所定の位置にセットした。
焼結の際の温度制御は、放射温度計を用い、その雰囲気は、10−2Torr以下の真空とした。また、焼結時における加圧力は、60MPaとし、設定した焼結温度での保持終了まで維持した。室温から1430℃まで40℃/minの速度で昇温し、1430℃で1hの保持を行った。冷却時においては、完全に除荷し、500℃まで自然冷却を行った後、大気開放し、ダイス16を取り出し離型した。
作製した多孔質体の評価に関しては、焼結体のサイズの計測、密度算出、JIS R1601に準拠した3点曲げ試験、目視による粒子離脱の有無の確認を行なった。その結果、多孔質体のサイズは、φ50mm×6mm厚で、相対密度77%で、直径方向に対するバラツキが5%以内、3点曲げ強度が190MPaで、加工ならびに気体通過時における粒子の離脱がなかった。
作製した多孔質体の評価に関しては、焼結体のサイズの計測、密度算出、JIS R1601に準拠した3点曲げ試験、目視による粒子離脱の有無の確認を行なった。その結果、多孔質体のサイズは、φ50mm×6mm厚で、相対密度77%で、直径方向に対するバラツキが5%以内、3点曲げ強度が190MPaで、加工ならびに気体通過時における粒子の離脱がなかった。
(実施例9)
図1に示す加圧・通電加熱用焼結型10を用いて、φ50mm×6mm厚の多孔質体を作製した。
ここで、本実施例における原料粉末14は、市販の球状α系アルミナ粉末であること以外は、全て実施例8と同一であった。
作製した多孔質体を評価すると、そのサイズはφ50mm×6mm厚で、相対密度77%で、直径方向に対するバラツキが5%以内、3点曲げ強度が190MPaで、加工ならびに気体通過時における粒子の離脱がなかった。
図1に示す加圧・通電加熱用焼結型10を用いて、φ50mm×6mm厚の多孔質体を作製した。
ここで、本実施例における原料粉末14は、市販の球状α系アルミナ粉末であること以外は、全て実施例8と同一であった。
作製した多孔質体を評価すると、そのサイズはφ50mm×6mm厚で、相対密度77%で、直径方向に対するバラツキが5%以内、3点曲げ強度が190MPaで、加工ならびに気体通過時における粒子の離脱がなかった。
(実施例10)
図1に示す加圧・通電加熱用焼結型10を用いて、φ50mm×6mm厚の多孔質体を作製した。
ここで、本実施例における原料粉末14は、市販の球状α系アルミナ粉末で、平均粒径は、約200μmであること以外は、全て実施例8と同一であった。
作製した多孔質体を評価すると、そのサイズはφ50mm×6mm厚で、相対密度77%で、直径方向に対するバラツキが5%以内、3点曲げ強度が190MPaで、加工ならびに気体通過時における粒子の離脱がなかった。
図1に示す加圧・通電加熱用焼結型10を用いて、φ50mm×6mm厚の多孔質体を作製した。
ここで、本実施例における原料粉末14は、市販の球状α系アルミナ粉末で、平均粒径は、約200μmであること以外は、全て実施例8と同一であった。
作製した多孔質体を評価すると、そのサイズはφ50mm×6mm厚で、相対密度77%で、直径方向に対するバラツキが5%以内、3点曲げ強度が190MPaで、加工ならびに気体通過時における粒子の離脱がなかった。
(実施例11)
図2に示す加圧・通電加熱用焼結型11を用いて、φ50mm×6mm厚の多孔質体を2枚作製した。
ここで、本実施例における原料粉末14とダイス16、パンチャ18、20、剥離用カーボンシート26、28、28は、実施例8と同一であった。
剥離用カーボンシート26をグラファイト製ダイス16中のダイス内壁に設置し、下部パンチャ20を入れた後、同径のカーボンシート28を設置し、バインダを一切含まない原料粉末14を37.5g充填した。その後、原料粉末14の充填度を平均化するためにバイブレーターによりタッピング処理を行ない、下部パンチャ18と同径のカーボンシート34を設置し、3mm厚のグラファィト製セパレータ32を乗せ、その上に、上部パンチャ18と同径のカーボンシート34を設置し、さらに、原料粉末14を37.5g充填した。その後、上部パンチャ18と同径のカーボンシート28を設置し、上部パンチャ18を入れ、ハンドプレスを用いて、予備加圧を負荷した。
上下部パンチャ18、20の突き出し部に対して、7.8mm厚のグラファィト製スペーサ22、24をそれぞれ設置し、加圧・通電加熱焼結装置12の所定の位置にセットした。
図2に示す加圧・通電加熱用焼結型11を用いて、φ50mm×6mm厚の多孔質体を2枚作製した。
ここで、本実施例における原料粉末14とダイス16、パンチャ18、20、剥離用カーボンシート26、28、28は、実施例8と同一であった。
剥離用カーボンシート26をグラファイト製ダイス16中のダイス内壁に設置し、下部パンチャ20を入れた後、同径のカーボンシート28を設置し、バインダを一切含まない原料粉末14を37.5g充填した。その後、原料粉末14の充填度を平均化するためにバイブレーターによりタッピング処理を行ない、下部パンチャ18と同径のカーボンシート34を設置し、3mm厚のグラファィト製セパレータ32を乗せ、その上に、上部パンチャ18と同径のカーボンシート34を設置し、さらに、原料粉末14を37.5g充填した。その後、上部パンチャ18と同径のカーボンシート28を設置し、上部パンチャ18を入れ、ハンドプレスを用いて、予備加圧を負荷した。
上下部パンチャ18、20の突き出し部に対して、7.8mm厚のグラファィト製スペーサ22、24をそれぞれ設置し、加圧・通電加熱焼結装置12の所定の位置にセットした。
焼結の際の温度制御は、放射温度計を用い、その雰囲気は、10−2Torr以下の真空とした。また、焼結時における加圧力は、60MPaとし、設定した焼結温度での保持終了まで維持した。室温から1430℃まで40℃/minの速度で昇温し、1430℃で1hの保持を行った。冷却時においては、完全に除荷し、500℃まで自然冷却を行った後、大気開放し、ダイス16を取り出し、離型した。
作製した多孔質体を評価すると、上下2枚の多孔質体のサイズは、いずれもφ50mm×6mm厚で、相対密度77%で、直径方向に対するバラツキが5%以内、3点曲げ強度が190MPaで、加工ならびに気体通過時における粒子の離脱がなく、バラツキが極めて少ない多孔質体であることがわかった。
作製した多孔質体を評価すると、上下2枚の多孔質体のサイズは、いずれもφ50mm×6mm厚で、相対密度77%で、直径方向に対するバラツキが5%以内、3点曲げ強度が190MPaで、加工ならびに気体通過時における粒子の離脱がなく、バラツキが極めて少ない多孔質体であることがわかった。
(実施例12)
図1に示す加圧・通電加熱用焼結型10を用いて、φ100mm×6mm厚の多孔質体を作製した。
ここで、本実施例における原料粉末14と、ダイス16、パンチャ18、20、剥離用カーボンシート26、28、28は、実施例8と同一であった。
剥離用カーボンシート26をグラファイト製ダイス16中のダイス内壁に設置し、下部パンチャ20を入れた後、下部パンチャ20と同径のカーボンシート28を設置し、バインダを一切含まない原料粉末14を150g充填した。その後、原料粉末14の充填度を平均化するためにバイブレータによりタッピング処理を行ない、上部パンチャ20と同径のカーボンシート28を設置した後、上部パンチャ20を入れ、ハンドプレスを用いて予備加圧を負荷した。
上下のパンチャー突き出し部に対して、3.2mm厚のグラファィト製スペーサーをそれぞれ設置し、加圧・通電加熱焼結装置12の所定の位置にセットした。
図1に示す加圧・通電加熱用焼結型10を用いて、φ100mm×6mm厚の多孔質体を作製した。
ここで、本実施例における原料粉末14と、ダイス16、パンチャ18、20、剥離用カーボンシート26、28、28は、実施例8と同一であった。
剥離用カーボンシート26をグラファイト製ダイス16中のダイス内壁に設置し、下部パンチャ20を入れた後、下部パンチャ20と同径のカーボンシート28を設置し、バインダを一切含まない原料粉末14を150g充填した。その後、原料粉末14の充填度を平均化するためにバイブレータによりタッピング処理を行ない、上部パンチャ20と同径のカーボンシート28を設置した後、上部パンチャ20を入れ、ハンドプレスを用いて予備加圧を負荷した。
上下のパンチャー突き出し部に対して、3.2mm厚のグラファィト製スペーサーをそれぞれ設置し、加圧・通電加熱焼結装置12の所定の位置にセットした。
焼結の際の温度制御は、放射温度計を用い、その雰囲気は10−2Torr以下の真空とした。また、焼結時における加圧力は、40MPaとし、設定した焼結温度での保持終了まで維持した。室温から1440℃まで40℃/minの速度で昇温し、1440℃で1hの保持を行った。冷却時においては、完全に除荷し、500℃まで自然冷却を行った後、大気開放し、ダイス16を取り出し、離型した。
作製した多孔質体を評価すると、そのサイズはφ100mm×6mm厚で、相対密度77%で、直径方向に対するバラツキが5%以内、3点曲げ強度が190MPaで、加工ならびに気体通過時における粒子の離脱がなかった。
作製した多孔質体を評価すると、そのサイズはφ100mm×6mm厚で、相対密度77%で、直径方向に対するバラツキが5%以内、3点曲げ強度が190MPaで、加工ならびに気体通過時における粒子の離脱がなかった。
(実施例13)
図1に示す加圧・通電加熱用焼結型10を用いて、φ100mm×8mm厚の多孔質体を作製した。
実施例12に対して、原料粉末の充填量が196.7g、グラファイト製上下部スペーサ22、24を4.2mm厚に変更して、多孔質体の作製を行なった。
作製した多孔質体を評価すると、そのサイズは、φ100mm×8mm厚で、相対密度77%、直径方向に対するバラツキが5%以内、3点曲げ強度が190MPaで、加工ならびに気体通過時における粒子の離脱がなかった。
図1に示す加圧・通電加熱用焼結型10を用いて、φ100mm×8mm厚の多孔質体を作製した。
実施例12に対して、原料粉末の充填量が196.7g、グラファイト製上下部スペーサ22、24を4.2mm厚に変更して、多孔質体の作製を行なった。
作製した多孔質体を評価すると、そのサイズは、φ100mm×8mm厚で、相対密度77%、直径方向に対するバラツキが5%以内、3点曲げ強度が190MPaで、加工ならびに気体通過時における粒子の離脱がなかった。
(実施例14)
図1に示す加圧・通電加熱用焼結型10を用いて、φ100mm×10mm厚の多孔質体を作製した。
実施例12に対して、原料粉末の充填量が246g、グラファイト製上下部スペーサ22、24を5.2mm厚に変更して、多孔質体の作製を行なった。
作製した多孔質体を評価すると、そのサイズは、φ100mm×10mm厚で、相対密度77%で、直径方向に対するバラツキが5%以内、3点曲げ強度が190MPaで、加工ならびに気体通過時における粒子の離脱がなかった。
図1に示す加圧・通電加熱用焼結型10を用いて、φ100mm×10mm厚の多孔質体を作製した。
実施例12に対して、原料粉末の充填量が246g、グラファイト製上下部スペーサ22、24を5.2mm厚に変更して、多孔質体の作製を行なった。
作製した多孔質体を評価すると、そのサイズは、φ100mm×10mm厚で、相対密度77%で、直径方向に対するバラツキが5%以内、3点曲げ強度が190MPaで、加工ならびに気体通過時における粒子の離脱がなかった。
(比較例7)
実施例8と同一のバインダーを全く含まない原料粉末14、ならびに、ダイス16や上下部スペーサ22、24を含む全ての冶具類からなる図1に示す焼結型10を用い、焼結法としてホットプレス装置により、1430℃で1h、60MPaの条件で焼結を行なったところ、得られた多孔質体は、ハンドリングができないほど脆弱であり、実施例8と同等の多孔質体を得るには至らなかった。
実施例8と同一のバインダーを全く含まない原料粉末14、ならびに、ダイス16や上下部スペーサ22、24を含む全ての冶具類からなる図1に示す焼結型10を用い、焼結法としてホットプレス装置により、1430℃で1h、60MPaの条件で焼結を行なったところ、得られた多孔質体は、ハンドリングができないほど脆弱であり、実施例8と同等の多孔質体を得るには至らなかった。
(比較例8)
グラファイト製の上下部スペーサ22、24を用いないこと以外は実施例11と同様の焼結型11を用い、同一の条件で焼結を行なったところ、得られた多孔質体は、いずれも加工ならびに気体通過時における粒子の離脱はなかったが、上下2枚の焼結多孔質体のサイズは、それぞれφ50mm×5mm厚、φ50mm×6mm厚で、相対密度は90、77%で、直径方向に対するバラツキが5%以上、3点曲げ強度が210、185MPaとなり、実施例11と同等のバラツキの少ない多孔質体を得るには至らなかった。
グラファイト製の上下部スペーサ22、24を用いないこと以外は実施例11と同様の焼結型11を用い、同一の条件で焼結を行なったところ、得られた多孔質体は、いずれも加工ならびに気体通過時における粒子の離脱はなかったが、上下2枚の焼結多孔質体のサイズは、それぞれφ50mm×5mm厚、φ50mm×6mm厚で、相対密度は90、77%で、直径方向に対するバラツキが5%以上、3点曲げ強度が210、185MPaとなり、実施例11と同等のバラツキの少ない多孔質体を得るには至らなかった。
(比較例9)
実施例8と同一の原料粉末に対して焼結助剤であるY2O3を5%添加したセラミックス原料粉末粒子を用い、実施例8と同一のダイス16や上下部スペーサ22、24を含む全ての冶具類からなる図1に示す焼結型10を用い、かつ同一の焼結法を用いて、焼結を行なったところ、作製られた焼結多孔質体は、加工ならびに気体通過時における粒子の離脱がない状態となったが、焼結多孔質体のサイズは、φ50mm×6mm厚で、相対密度87%で、直径方向に対するバラツキが10%以内、3点曲げ強度が175MPaで、実施例8と同等の通気性に優れた多孔質体を得るには至らなかった。
実施例8と同一の原料粉末に対して焼結助剤であるY2O3を5%添加したセラミックス原料粉末粒子を用い、実施例8と同一のダイス16や上下部スペーサ22、24を含む全ての冶具類からなる図1に示す焼結型10を用い、かつ同一の焼結法を用いて、焼結を行なったところ、作製られた焼結多孔質体は、加工ならびに気体通過時における粒子の離脱がない状態となったが、焼結多孔質体のサイズは、φ50mm×6mm厚で、相対密度87%で、直径方向に対するバラツキが10%以内、3点曲げ強度が175MPaで、実施例8と同等の通気性に優れた多孔質体を得るには至らなかった。
(比較例10)
実施例10と同一のバインダを全く含まない平均粒径200μm球状の原料粉末、および、ダイス16や上下部スペーサ22、24を含む全ての冶具類からなる図1に示す焼結型10を用い、焼結法としてホットプレス装置により、1430℃で1h、60MPaの条件で焼結を行なったところ、得られた多孔質体は、ハンドリングができないほど脆弱であり、実施例10と同等の多孔質体を得るには至らなかった。
以上の結果から、本発明の効果は明らかである。
実施例10と同一のバインダを全く含まない平均粒径200μm球状の原料粉末、および、ダイス16や上下部スペーサ22、24を含む全ての冶具類からなる図1に示す焼結型10を用い、焼結法としてホットプレス装置により、1430℃で1h、60MPaの条件で焼結を行なったところ、得られた多孔質体は、ハンドリングができないほど脆弱であり、実施例10と同等の多孔質体を得るには至らなかった。
以上の結果から、本発明の効果は明らかである。
以上説明したように、本発明の多孔質体は、実質上ガラス成分を含まないため、高温、もしくは強酸、強アルカリ環境下でも、腐食劣化の懸念を少なくすることができる。また、本発明は、このように腐食劣化の懸念が少ない多孔質体を容易に製造することができる。
さらに、本発明は、セラミックス原料粉末の種類や粒径サイズに依存せずに、焼結助剤を用いないバインダーレス化、特に、焼結助剤を一切用いない完全なバインダーレス化を図るとともに、加圧・通電加熱焼結方法を用いる際の冶具類からなる焼結型に対して上下部スペーサの設置やダイスのクリアランスなどに関して大幅な改良を施すことにより、加工時や使用時において粒子の離脱のない連続気孔を有した多孔質体を歩留り良く製造することができ、また、1枚でも、同時に多数枚でも製造することができる。
従って、本発明は、高温、もしくは強酸、強アルカリ環境下でも、腐食劣化の懸念が少ない用途の多孔質体として極めて有用であり、また、その品質および機能が全体で均一であることが要求される焼結多孔質体などの製造において極めて有用であり、本発明の産業上の利用可能性は、極めて高い。
さらに、本発明は、セラミックス原料粉末の種類や粒径サイズに依存せずに、焼結助剤を用いないバインダーレス化、特に、焼結助剤を一切用いない完全なバインダーレス化を図るとともに、加圧・通電加熱焼結方法を用いる際の冶具類からなる焼結型に対して上下部スペーサの設置やダイスのクリアランスなどに関して大幅な改良を施すことにより、加工時や使用時において粒子の離脱のない連続気孔を有した多孔質体を歩留り良く製造することができ、また、1枚でも、同時に多数枚でも製造することができる。
従って、本発明は、高温、もしくは強酸、強アルカリ環境下でも、腐食劣化の懸念が少ない用途の多孔質体として極めて有用であり、また、その品質および機能が全体で均一であることが要求される焼結多孔質体などの製造において極めて有用であり、本発明の産業上の利用可能性は、極めて高い。
10,11 加圧・通電加熱処理用焼結型
12 加圧・通電加熱焼結装置
14 原料粉末
16 ダイス
18,20 上部、下部パンチャ
22,24 上部、下部スペーサ
26,28,34 離型用シート
32 セパレータ
12 加圧・通電加熱焼結装置
14 原料粉末
16 ダイス
18,20 上部、下部パンチャ
22,24 上部、下部スペーサ
26,28,34 離型用シート
32 セパレータ
Claims (10)
- 焼結型で多孔質体を製造する方法であって、
純度99.5%以上のセラミックス粒子であって、それらの平均粒径が10μm〜50μmであり、かつ平均粒径の0.5倍粒径以下の粒子と平均粒径の2.5倍以上の粒子を除いた残りの粒子が、95重量%以上であるセラミックス粒子を原料粉末として設置するステップと、
加圧通電加熱焼結法、又は加圧焼結法で前記原料粉末を焼結するステップと、を備え、
前記加圧通電加熱焼結法、又は前記加圧焼結法は、真空中又は不活性ガス雰囲気中にあって、加圧される場合の加圧力を10MPaから60MPaとし、1200℃以上の所定の焼結温度まで昇温速度30℃/minから45℃/minで昇温させ、前記焼結型における前記多孔質体の変位が停止してからの保持時間を2時間以内として行うことで、結合材として焼結助剤成分を含まない高純度多孔質体を製造することを特徴とする多孔質体の製造方法。 - 前記焼結型は、ダイス、上部パンチャ、及び下部パンチャからなり、
前記焼結型には、前記上部パンチャの前記ダイスより突き出した上部突き出し部と前記下部パンチャの前記ダイスより突き出した下部突き出し部とに対して、上部スペーサ及び下部スペーサがそれぞれ設置されており、
前記焼結型を用いる際、前記上部スペーサ及び前記下部スペーサの厚さが、目的とする相対密度に応じて決定されることを特徴とする請求項1に記載の多孔質体の製造方法。 - 前記焼結型を用いる際、焼結前における前記上部突き出し部の突き出し量と前記下部突き出し部の突き出し量が同一であり、かつその量が0.5〜15mmであることを特徴とする請求項2に記載の多孔質体の製造方法。
- 前記焼結型は、ダイス、上部パンチャ、及び下部パンチャからなり、
前記焼結型を用いる際、前記ダイスと前記上部パンチャ及び前記下部パンチャとの間には0.1μm〜500μmのクリアランスが確保されていることを特徴とする請求項1〜3のいずれかに記載の多孔質体の製造方法。 - 1枚の多孔質体の厚さのバラツキが、5%以下であることを特徴とする請求項1〜4のいずれかに記載の多孔質体の製造方法。
- 前記焼結型の中に0.5から5mmの厚さを有したセパレータが設置されることで、1回の焼結により2枚以上の多孔質体が得られ、それらの相対密度のバラつきが5%以内の範囲であることを特徴とする請求項1〜5のいずれかに記載の多孔質体の製造方法。
- 前記焼結するステップは、前記多孔質体の目的とする相対密度が50%未満の場合には無加圧で、50%以上の場合には加圧されて行われることを特徴とする請求項1〜6のいずれかに記載の多孔質体の製造方法。
- 前記焼結型は、ダイス、上部パンチャ、及び下部パンチャからなり、
さらに、前記セラミックス粒子を設置するステップの前に、前記ダイスの内壁、前記上部パンチャの内壁、及び前記下部パンチャの内壁のぞれぞれに対して、予め離型用シートを設置するステップ、又は予め離型性スプレーを塗布するステップを備える特徴とする請求項1〜7のいずれかに記載の多孔質体の製造方法。 - 前記セラミックス粒子は、炭化珪素、アルミナ、ジルコニアのいずれか1つであることを特徴とする請求項1〜8のいずれかに記載の多孔質体の製造方法。
- 前記セラミックス粒子は、アルミナ粒子であり、
前記焼結するステップは、真空中において、加圧力を60MPaとし、室温から1430℃まで、40℃/minの速度で昇温させ、1430℃で1時間保持し、その後除荷して500℃まで自然冷却することを特徴とする請求項1〜9のいずれかに記載の多孔質体の製造方法。
Priority Applications (1)
| Application Number | Priority Date | Filing Date | Title |
|---|---|---|---|
| JP2012021808A JP2012106929A (ja) | 2012-02-03 | 2012-02-03 | 多孔質体の製造方法 |
Applications Claiming Priority (1)
| Application Number | Priority Date | Filing Date | Title |
|---|---|---|---|
| JP2012021808A JP2012106929A (ja) | 2012-02-03 | 2012-02-03 | 多孔質体の製造方法 |
Related Parent Applications (1)
| Application Number | Title | Priority Date | Filing Date |
|---|---|---|---|
| JP2007072928A Division JP5092135B2 (ja) | 2007-03-20 | 2007-03-20 | 多孔質体およびその製造方法 |
Publications (1)
| Publication Number | Publication Date |
|---|---|
| JP2012106929A true JP2012106929A (ja) | 2012-06-07 |
Family
ID=46492990
Family Applications (1)
| Application Number | Title | Priority Date | Filing Date |
|---|---|---|---|
| JP2012021808A Pending JP2012106929A (ja) | 2012-02-03 | 2012-02-03 | 多孔質体の製造方法 |
Country Status (1)
| Country | Link |
|---|---|
| JP (1) | JP2012106929A (ja) |
Cited By (5)
| Publication number | Priority date | Publication date | Assignee | Title |
|---|---|---|---|---|
| CN106867016A (zh) * | 2017-03-29 | 2017-06-20 | 华南理工大学 | 一种制备开孔性多孔聚合物材料的烧结方法及装置 |
| CN110608611A (zh) * | 2019-10-31 | 2019-12-24 | 中南大学 | 一种具有梯度晶粒的碳化硼轴承的制备方法 |
| CN112250466A (zh) * | 2020-10-29 | 2021-01-22 | 中北大学 | 一种电子烟具加热用多孔导电陶瓷材料及其制备方法 |
| WO2022072703A1 (en) * | 2020-10-03 | 2022-04-07 | Heraeus Conamic North America Llc | Apparatus for preparation of sintered ceramic body of large dimension |
| CN116096515A (zh) * | 2020-10-03 | 2023-05-09 | 贺利氏科纳米北美有限责任公司 | 具有大尺寸的烧结陶瓷体及其制造方法 |
Citations (2)
| Publication number | Priority date | Publication date | Assignee | Title |
|---|---|---|---|---|
| JP2003171185A (ja) * | 2001-12-04 | 2003-06-17 | Miyagi Prefecture | 無機質系多孔質体およびその製造方法 |
| JP2005112658A (ja) * | 2003-10-07 | 2005-04-28 | Chubu Electric Power Co Inc | 金属酸化物焼結体の製造方法、及び金属酸化物焼結体 |
-
2012
- 2012-02-03 JP JP2012021808A patent/JP2012106929A/ja active Pending
Patent Citations (2)
| Publication number | Priority date | Publication date | Assignee | Title |
|---|---|---|---|---|
| JP2003171185A (ja) * | 2001-12-04 | 2003-06-17 | Miyagi Prefecture | 無機質系多孔質体およびその製造方法 |
| JP2005112658A (ja) * | 2003-10-07 | 2005-04-28 | Chubu Electric Power Co Inc | 金属酸化物焼結体の製造方法、及び金属酸化物焼結体 |
Cited By (10)
| Publication number | Priority date | Publication date | Assignee | Title |
|---|---|---|---|---|
| CN106867016A (zh) * | 2017-03-29 | 2017-06-20 | 华南理工大学 | 一种制备开孔性多孔聚合物材料的烧结方法及装置 |
| CN106867016B (zh) * | 2017-03-29 | 2023-02-14 | 华南理工大学 | 一种制备开孔性多孔聚合物材料的烧结方法及装置 |
| CN110608611A (zh) * | 2019-10-31 | 2019-12-24 | 中南大学 | 一种具有梯度晶粒的碳化硼轴承的制备方法 |
| CN110608611B (zh) * | 2019-10-31 | 2021-04-06 | 中南大学 | 一种具有梯度晶粒的碳化硼轴承的制备方法 |
| WO2022072703A1 (en) * | 2020-10-03 | 2022-04-07 | Heraeus Conamic North America Llc | Apparatus for preparation of sintered ceramic body of large dimension |
| CN116096515A (zh) * | 2020-10-03 | 2023-05-09 | 贺利氏科纳米北美有限责任公司 | 具有大尺寸的烧结陶瓷体及其制造方法 |
| EP4221949A1 (en) * | 2020-10-03 | 2023-08-09 | Heraeus Conamic North America LLC | Apparatus for preparation of sintered ceramic body of large dimension |
| US12515372B2 (en) | 2020-10-03 | 2026-01-06 | Heraeus Covantics North America Llc | Apparatus for preparation of sintered ceramic body of large dimension |
| CN112250466A (zh) * | 2020-10-29 | 2021-01-22 | 中北大学 | 一种电子烟具加热用多孔导电陶瓷材料及其制备方法 |
| CN112250466B (zh) * | 2020-10-29 | 2022-06-28 | 中北大学 | 一种电子烟具加热用多孔导电陶瓷材料及其制备方法 |
Similar Documents
| Publication | Publication Date | Title |
|---|---|---|
| KR101483921B1 (ko) | 냉각판, 그 제조방법 및 반도체 제조 장치용 부재 | |
| TWI445682B (zh) | Alumina sintered body, and its manufacturing method and semiconductor manufacturing device parts | |
| JP4426245B2 (ja) | 金属酸化物焼結体の製造方法、及び金属酸化物焼結体 | |
| CN112407936A (zh) | 一种多孔真空吸盘及其制备方法 | |
| JP2006128603A (ja) | セラミックス部材及びその製造方法 | |
| JP3830382B2 (ja) | セラミック焼結体およびその製造方法 | |
| JP2012106929A (ja) | 多孔質体の製造方法 | |
| JP3880977B2 (ja) | 真空チャック | |
| JP6014439B2 (ja) | 静電チャックおよびその製造方法 | |
| JP5092135B2 (ja) | 多孔質体およびその製造方法 | |
| KR102890629B1 (ko) | 질화규소 기판 | |
| JP2004315358A (ja) | 多孔質アルミナ焼結体およびその製造方法 | |
| JPWO2020090832A1 (ja) | 窒化ケイ素基板の製造方法および窒化ケイ素基板 | |
| JP2019011238A (ja) | 焼成用道具材 | |
| JP6025586B2 (ja) | セッターの製造方法 | |
| KR101571230B1 (ko) | 반도체 방열판용 Mo 소결 부품 및 그것을 사용한 반도체 장치 | |
| JP6366976B2 (ja) | 多孔質セラミックス製の熱処理用部材 | |
| JP6236314B2 (ja) | 炭化珪素接合体及びその製造方法 | |
| CN115650759B (zh) | 一种应用于气体传感器封装的多孔氧化铝陶瓷薄片及其制备方法 | |
| JP7211476B2 (ja) | 窒化珪素基板 | |
| JP2023030139A (ja) | 窒化珪素基板 | |
| JP2022159414A (ja) | 窒化珪素基板 | |
| KR20210052250A (ko) | 복합 소결체 및 복합 소결체의 제조 방법 | |
| JP7318835B2 (ja) | 窒化珪素基板 | |
| JP2016084260A (ja) | セラミック基体 |
Legal Events
| Date | Code | Title | Description |
|---|---|---|---|
| A621 | Written request for application examination |
Free format text: JAPANESE INTERMEDIATE CODE: A621 Effective date: 20120223 |
|
| A521 | Written amendment |
Free format text: JAPANESE INTERMEDIATE CODE: A523 Effective date: 20120223 Free format text: JAPANESE INTERMEDIATE CODE: A821 Effective date: 20120223 |
|
| A02 | Decision of refusal |
Free format text: JAPANESE INTERMEDIATE CODE: A02 Effective date: 20140701 |
