JP2012062008A - 車両用シート - Google Patents

車両用シート Download PDF

Info

Publication number
JP2012062008A
JP2012062008A JP2010209494A JP2010209494A JP2012062008A JP 2012062008 A JP2012062008 A JP 2012062008A JP 2010209494 A JP2010209494 A JP 2010209494A JP 2010209494 A JP2010209494 A JP 2010209494A JP 2012062008 A JP2012062008 A JP 2012062008A
Authority
JP
Japan
Prior art keywords
seat
transmission block
load transmission
width direction
frame
Prior art date
Legal status (The legal status is an assumption and is not a legal conclusion. Google has not performed a legal analysis and makes no representation as to the accuracy of the status listed.)
Granted
Application number
JP2010209494A
Other languages
English (en)
Other versions
JP5538155B2 (ja
Inventor
Jogen Yamaki
状元 山木
Hiroyuki Kaku
裕之 郭
Current Assignee (The listed assignees may be inaccurate. Google has not performed a legal analysis and makes no representation or warranty as to the accuracy of the list.)
Honda Motor Co Ltd
TS Tech Co Ltd
Original Assignee
Honda Motor Co Ltd
TS Tech Co Ltd
Priority date (The priority date is an assumption and is not a legal conclusion. Google has not performed a legal analysis and makes no representation as to the accuracy of the date listed.)
Filing date
Publication date
Application filed by Honda Motor Co Ltd, TS Tech Co Ltd filed Critical Honda Motor Co Ltd
Priority to JP2010209494A priority Critical patent/JP5538155B2/ja
Publication of JP2012062008A publication Critical patent/JP2012062008A/ja
Application granted granted Critical
Publication of JP5538155B2 publication Critical patent/JP5538155B2/ja
Expired - Fee Related legal-status Critical Current
Anticipated expiration legal-status Critical

Links

Images

Landscapes

  • Seats For Vehicles (AREA)

Abstract

【課題】荷重伝達ブロックの背部側でのシート表皮の皺の発生を抑制して、外観品質の向上を図ることのできる車両用シートを提供する。
【解決手段】シートバックフレームの車幅方向外側の側部フレーム部13cに荷重伝達ブロック18を設け、側部フレーム部13cと荷重伝達ブロック18の外側をシート表皮28によって覆う。荷重伝達ブロック18の背面側にシート表皮28の形状だしを行うカバー部材45を設ける。
【選択図】図11

Description

この発明は、車両側方から入力される衝撃荷重を車体の幅方向内側領域に伝達する機能を備えた車両用シートに関するものである。
衝突時等に車両側方から入力される衝撃荷重を、シートを介して車体の幅方向内側に伝達するものが知られている(例えば、特許文献1参照)。
この車両用シートは、シートバックの外側骨格部をなすシートバックフレームが矩形枠状に形成され、シートバックフレームの車幅方向外側の側部フレーム部に、シート幅方向の外側に突出して、車体側部から入力された衝撃荷重をシートバックフレームに伝達する荷重伝達ブロックが取り付けられている。また、シートバックフレームにはパッド材が取り付けられており、荷重伝達ブロックは、シートバックフレームやパッド材とともに外面側がシート表皮によって覆われている。
特開平8−156668号公報
しかし、この従来の車両用シートにおいては、荷重伝達ブロックが複数の金属成形品を接合して形成される場合等には、荷重伝達ブロックの背面から側方にかけてが複雑に入り組んだ凹凸形状となり易い。このため、従来の車両用シートにおいては、荷重伝達ブロックの背面側部分でシート表皮に皺ができ易く、見栄えの低下を生じることが懸念されている。
そこでこの発明は、荷重伝達ブロックの背部側でのシート表皮の皺の発生を抑制して、外観品質の向上を図ることのできる車両用シートを提供しようとするものである。
この発明に係る車両用シートでは、上記課題を解決するために以下の手段を採用した。
請求項1に係る発明は、シートバック(例えば、実施形態のシートバック3)の外側骨格部をなすシートバックフレーム(例えば、実施形態のシートバックフレーム13)と、該シートバックフレームの車幅方向外側の側部フレーム部(例えば、実施形態の側部フレーム部13c)に設置されて、車体側部から入力された衝撃荷重を前記シートバックフレームに伝達する荷重伝達ブロック(例えば、実施形態の第1の荷重伝達ブロック18)と、前記シートバックフレームと前記荷重伝達ブロックの外側を覆うシート表皮(例えば、実施形態のシート表皮28)と、を備えた車両用シートにおいて、前記荷重伝達ブロックの背面側に前記シート表皮の形状だしを行うカバー部材(例えば、実施形態のカバー部材45)が設けられていることを特徴とするものである。
請求項1に係る発明によれば、荷重伝達ブロックの背面側に設けられたカバー部材によってシート表皮の形状だしが行われるため、荷重伝達ブロックの背部側でのシート表皮の皺の発生をカバー部材によって防止し、外観品質を向上させることができる。
この発明の一実施形態の車両用シートを前方側から見た斜視図である。 この発明の一実施形態の車両用シートの骨格部を前方側から見た斜視図である。 この発明の一実施形態の車両用シートの図2のA部をE方向から見た斜視図である。 この発明の一実施形態の車両用シートの図2のA部の分解斜視図である。 この発明の一実施形態の車両用シートの図3のC−C断面に対応する断面図である。 この発明の一実施形態の車両用シートの図2のB部に対応する部位の拡大斜視図である。 この発明の一実施形態の車両用シートの図6のD―D断面に対応する断面図である。 この発明の一実施形態の車両用シートの骨格部を後方側から見た分解斜視図である。 この発明の一実施形態の車両用シートの骨格部を前方側から見た分解斜視図である。 この発明の一実施形態の車両用シートの骨格部を後方側から見た分解斜視図である。 この発明の一実施形態の車両用シートの図1のG−G断面に対応する断面図である。 この発明の他の実施形態の車両用シートの骨格部を後方側から見た分解斜視図である。 この発明の他の実施形態の車両用シートの骨格部を前方側から見た分解斜視図である。 この発明の他の実施形態の車両用シートの骨格部を前方側から見た分解斜視図である。 この発明の他の実施形態の車両用シートの図1のG−G断面に対応する断面図である。
以下、この発明の一実施形態を図面に基づいて説明する。なお、図面において、矢印Fは車両前方を指すものとする。
図1は、車両の前席左側に配置された車両用シート1を前部側斜め上方から見た斜視図であり、図2は、同車両用シート1の骨格部を前部側斜め上方から見た斜視図である。
車両用シート1は、乗員の臀部を支持するシートクッション2と、このシートクッション2の後端部に連結されて、乗員の腰部及び背部を支持するシートバック3と、そのシートバック3の上部に支持されて、乗員の頭部及び首部を支持する図示しないヘッドレストとを備えている。
シートクッション2は、図2に示すように、前後のパイプ材5A,5Bと側部のプレート材6A,6Bによって矩形枠状に形成されたクッションフレーム7を備え、そのクッションフレーム7がシートレール8,8を介して車体フロア9に前後スライド可能に取り付けられている。クッションフレーム7は、その上面側にウレタンフォーム等から成る図示しないパッド材が装着され、これらの外側が合成繊維や皮革等から成るシート表皮26(図1参照)によって覆われている。
シートバック3は、図2に示すように、上部フレーム部13aと左右の側部フレーム部13c,13dと下部フレーム部13bとからなる略矩形枠形状のシートバックフレーム13を備えている。シートバックフレーム13は、その前面側にウレタンフォーム等から成るパッド材27(図11参照)が装着され、これらの外側が合成繊維や皮革等から成るシート表皮28(図1参照)によって覆われている。
上部フレーム部13aと下部フレーム部13bは車幅方向に延出するパイプ材によって形成され、左右の側部フレーム部13c,13dはパイプ材の外側に断面略コ字状のプレート材である側部プレート14a,14bが接合された構造とされている。各フレーム部13c,13a,13d,13bのパイプ材は一体の骨格パイプ12が略矩形状に曲げられて形成されている。
ただし、骨格パイプ12は、図2に示すように、一端12Aが車幅方向内側の側部フレーム部13d(以下、「内側側部フレーム部13d」と呼ぶ。)に位置され、他端12Bが下部フレーム部13bに位置され、その中間部が上部フレーム部13aと車幅方向外側の側部フレーム部13c(以下、「外側側部フレーム部13c」と呼ぶ。)に亙って延在しているが、骨格パイプ12の一端12Aは内側側部フレーム部13dの下端から所定距離上方に離間した位置から始まり、他端12Bは内側側部フレーム13dの手前で終わっている。つまり、骨格パイプ12の下部フレーム部13bを構成する部分は、内側側部フレーム部13dとの間に離間スペースSを形成している。
また、この実施形態の場合、外側側部フレーム部13cと内側側部フレーム部13dを構成する各側部プレート14a,14bは、それぞれ複数枚のプレート材が接合されて構成されている。
ところで、車幅方向外側と内側の各側部プレート14a,14bの下端は、下部フレーム部13bよりも下方まで延出しており、この各側部プレート14a,14bの下端の近傍が、クッションフレーム7の両側のプレート材6A,6Bの後端領域の内側に配置され、傾動軸15を介してクッションフレーム7の後端部に傾動可能に連結されている。この傾動軸15はリクライニング機構の軸を構成し、クッションフレーム7の両側のプレート材6A,6Bに跨るように車幅方向に沿って延出している。
なお、図中16,17は、シートバック3の図示しないパッド材を支持するために、外側側部フレーム部13cと内側側部フレーム部13dに取り付けられた支持マットと支持ワイヤである。
図3,図4は、外側側部フレーム部13cの下半領域と下部フレーム部13bの連設部の近傍を示す図であり、図5は、図3のC−C断面に対応する断面図である。また、図6は、内側側部フレーム部13dの下半領域と下部フレーム部13bの連設部の近傍を示す図であり、図7は、図6のD―D断面に対応する断面図である。
外側側部フレーム部13cを成す側部プレート14aの車幅方向外側の面には、車幅方向外側に突出して、側面衝突時等に車体側部(例えば、センターピラー)から入力された衝撃荷重をシートバックフレーム13に伝達する第1の荷重伝達ブロック18(荷重伝達ブロック)が取り付けられている。
第1の荷重伝達ブロック18は、金属製の略矩形の半割り容器状の前部ブロック18Aと後部ブロック18Bの周縁部が相互に接合されて成り、上下方向に長い略長方形状の断面が車幅方向外側に向かって延出している。前部ブロック18Aの前面は、エアバッグ装置30(図1参照)が取り付けられる取付座18aとされ、また、前部ブロック18Aの車幅方向内側の縁部には上下に離間して一対の窪み部19,19が形成されている。前部ブロック18Aの内側の縁部はこの窪み部19,19によって上下方向に亙って波打ち、それによって車幅方向の剛性の向上が図られている。また、各窪み部19の底壁の車幅方向内側領域には、車幅方向内側に向かって突出する舌片部20(図4参照)が設けられている。
第1の荷重伝達ブロック18は、側部プレート14aの車幅方向外側の面に重ねられ、側部プレート14aとの当接部の周域が側部プレート14aに対して溶接によって固定されている。ただし、図4に示すように、側部プレート14a上の第1の荷重伝達ブロック18の舌片部20に対応する位置には、長孔状の貫通孔21,21が形成され、この貫通孔21,21を通して各舌片部20が骨格パイプ12に対して直接溶接固定されている。
また、図4に示すように、クッションフレーム7の車幅方向外側のプレート材6Aの後端部には、傾動軸15の外周域を囲む円筒状のボス部22が突設され、このボス部22に第2の荷重伝達ブロック23が取り付けられている。この第2の荷重伝達ブロック23は、車両の側面衝突時等に車体側部の下部領域から入力された衝撃荷重をシートバックフレーム13の下端領域(傾動軸15の存在する領域)に直接伝達する部材であり、車幅方向に延出する複数の筒状断面が並列に配置されたハニカム構造とされ、全体が樹脂によって短軸円柱状に形成されている。
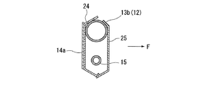
ところで、傾動軸15よりも上方に配置されている下部フレーム部13bには、シート幅方向の両縁部が外側側部フレーム部13cと内側側部フレーム部13dに結合された金属製のリヤアンダープレート24(板状強度部材)が結合されている。このリヤアンダープレート24は、上縁部が下部フレーム部13bの後部側上面に溶接固定され、図5に示すように、その溶接固定部から下方に延出する領域が傾動軸15の後方側を覆い、さらに下縁部が前方側に屈曲して傾動軸15の下方を覆うようになっている。この実施形態の場合、リヤアンダープレート24は傾動軸15よりも低い位置まで下端全域が延出している。また、リヤアンダープレート24の両側の下縁部は傾動軸15よりも低い位置を含む範囲で外側側部フレーム部13cと内側側部フレーム部13dの各側部プレート14a,14bに溶接固定されている。
また、この実施形態の場合、下部フレーム部13bを構成する骨格パイプ12には、図3に示すように、外側側部フレーム部13c(側部プレート14a)に向かって斜め上方に屈曲する傾斜部12aが設けられている。リヤアンダープレート24の車幅方向外側の縁部は、この傾斜部12aに沿うようにその上端部の高さが側端部に向かって次第に高くなっている。なお、下部フレーム部13bを構成する骨格パイプ12の他端12Bは、図6に示すように、内側側部フレーム部13dまで延出していないが、リヤアンダープレート24の車幅方向内側の縁部は、車幅方向外側の縁部と同様に、その上端部の高さが側端部に向かって次第に高くなっている。
また、下部フレーム部13bと傾動軸15の前方側には、金属製のフロントアンダープレート25(板状補強部材)が配置されている。このフロントアンダープレート25は、図5に示すように、上端部が下部フレーム部13bの前部側上面に溶接固定されるとともに、シート幅方向の両縁部が外側側部フレーム部13cと内側側部フレーム部13dの各側部プレート14a,14bに溶接固定されている。なお、フロントアンダープレート25の上端部はリヤアンダープレート24の上端部に溶接固定するようにしても良い。そして、フロントアンダープレート25の下部フレーム部13bから下方に延出する領域は傾動軸15の前方側を覆い、さらに下縁部が傾動軸15よりも低い位置で後方側に屈曲して、傾動軸15の下方を覆う位置でリヤアンダープレート24の下端に溶接固定されている。なお、フロントアンダープレート25の車幅方向外側の縁部は、リヤアンダープレート24と同様に、その上端部の高さが側端部に向かって次第に高くなっているが、フロントアンダープレート25の車幅方向内側の縁部は、傾動軸15の前面から上面に亙る領域が切り欠かれている。
フロントアンダープレート25は、図5に示すように、リヤアンダープレート24とともに車幅方向に延出する閉断面を構成している。このフロントアンダープレート25とリヤアンダープレート24とによる閉断面は、傾動軸15の周囲を覆い、かつ外側側部フレーム部13cと内側側部フレーム部13dの下端部同士を連結している。
図8〜図10は、外側側部フレーム部13cと第1の荷重伝達ブロック18に他の部品が取り付けられる状態を示す斜視図であり、図11は、図1のG−G断面に対応する断面図である。
これらの図に示すように、第1の荷重伝達ブロック18の前面側にはエアバッグ装置30が取り付けられ、第1の荷重伝達ブロック18の後面側には、樹脂製のカバー部材45が取り付けられている。
エアバッグ装置30は、図11に示すように、衝撃を感知してガスを発生するイフレータ31と、インフレータ31のガス圧を受けて展開する折り畳まれた袋体32を備え、これらが上下方向に長尺なバッグケース33に収容されている。バッグケース33は、車体前方に指向する前面が、袋体32の展開により、側部プレート14a側のコーナーをヒンジ支点として展開口34を前方側に開く蓋部とされている。バッグケース33は、その後面が第1の荷重伝達ブロック18の前部ブロック18Aの前面の取付座18aにボルトナット等の固定手段によって固定されている。
一方、カバー部材45は、第1の荷重伝達ブロック18よりも一回り大きい正面視が略長方形状の半割りの箱型形状に形成され、第1の荷重伝達ブロック18の後面と周囲を覆った状態で第1の荷重伝達ブロック18の背面にビス35によって固定されるようになっている。カバー部材45の外面は滑らかな面によって形成されている。また、カバー部材45は、第1の荷重伝達ブロック18の背面にビス止めされるに際して、側部プレート14aの後部側の屈曲壁36の後面に跨って固定される。カバー部材45は、このようにして取り付けられると、側部プレート14aの後部からエアバッグ装置30のバッグケース33の外端部の近傍部にかけてを滑らかな面によって覆うことになる。
ところで、側部プレート14aとエアバッグ装置30の前面側には、図11に示すようにパッド材27が配置され、このパッド材27の外面側がシート表皮28によって覆われている。そして、パッド材27を覆ったシート表皮28の車幅方向外側の端縁は、バッグケース33とカバー部材45の外側面をさらに覆い、側部プレート14aの後端に係止部材37を介して係止されている。このとき、カバー部材45は、エアバッグ装置30から側部プレート14aの後端に亙る領域においてシート表皮28の形状出しを行う(皺のない連続形状を作り出す)ように機能する。
また、シート表皮28のうちのバッグケース33の展開口34の前方側位置には、図11に示すように、エアバッグ装置30の袋体32の展開時に、展開圧によって破断される破断境界部50が上下方向に沿うように設けられている。そして、シート表皮28の裏面のうちの、破断境界部50のシート幅方向内側の縁部と外側の縁部には、内側力布51と外側力布52がそれぞれ縫合されている。内側力布51と外側力布52は、エアバッグ装置30の展開時に破断境界部50の両縁に張力を付与して、破断境界部50からの破断を促すための布部材であり、これらの各基端部は内側支持ワイヤ53と外側支持ワイヤ54を介して外側側部フレーム部13cに連結されている。
外側側部フレーム部13cの側部プレート14aには、図8に示すように、シート幅方向の内側に膨出するように支持フレーム55が取り付けられ、この支持フレーム55に内側支持ワイヤ53と外側支持ワイヤ54の各基端部が固定されている。
内側支持ワイヤ53は、図9に示すように、内側力布51が取り付けられる取付部53aが、側部プレート14aの前方側に配置されるとともに、取付部53aを挟む上下の端部が側部プレート14aの内側面に沿って後方側に延出し、その状態で後方側の支持フレーム55に固定されている。
一方、外側支持ワイヤ54は、外側力布52が取り付けられる取付部54aが、第1の荷重伝達ブロック18の車幅方向外側の前端領域に配置されるとともに、取付部54aを挟む上下の端部が、第1の荷重伝達ブロック18の後面(後部ブロック18Bの後面)に這わせて後方側の支持フレーム55に固定されている。外側支持ワイヤ54の第1の荷重伝達ブロック18の後面に這わせる部分は、カバー部材45が第1の荷重伝達ブロック18に固定されるときに、カバー部材45と第1の荷重伝達ブロック18との間で挟持される。
以上の構成において、車両の側面衝突時に衝撃荷重が車体側部に入力され、車体側部が車幅方向内側に変形すると、その変形した車体側部が第1の荷重伝達ブロック18と第2の荷重伝達ブロック23のうちの少なくとも一方に当接し、衝撃荷重がシートバックフレーム13の外側側部フレーム部13cに伝達される。
こうして、外側側部フレーム部13cに衝撃荷重が入力されると、車幅方向に延出するリヤアンダープレート24とフロントアンダープレート25が、その衝撃荷重を下部フレーム部13bとともに内側側部フレーム部13dの下端に伝達する。内側側部フレーム部13dに伝達された荷重は、シートバックフレーム13全体の車幅方向内側への移動とともに車幅方向中央のコンソールボックス(図示せず)を介してフロアトンネル(図示せず)に速やかに伝達される。
一方、車両の側面衝突時に衝撃がセンサによって感知されると、エアバッグ装置30のインフレータ31がガスを発生して袋体32を前方に展開させる。こうして袋体32が展開すると、バッグケース33の展開口34が開いて袋体32が内側力布51と外側力布52の間を前進し、このときの展開圧が内側力布51と外側力布52を通してシート表皮28の破断境界部50に作用し、シート表皮28がこの部位で破断することになる。これにより、袋体32がシートバック3の車幅方向外側の側部で前方に展開し、シートに着座した乗員の側部が袋体32によって保護される。
以上のように、この車両用シート1は、第1の荷重伝達ブロック18が、複雑に入り組んだ凹凸形状を持つ金属成形品を組み合わせて構成されているにも拘わらず、この第1の荷重伝達ブロック18の背面側に樹脂製のカバー部材45が取付けられているため、第1の荷重伝達ブロック18の背部側から側方に亙る領域にシート表皮28の皺が発生するのを未然に防止することができる。したがって、車両用シート1を採用することにより、外観品質を向上させることができる。
図12〜図15は、この発明の他の実施形態を示すものである。この他の実施形態
は、内側力布51と外側力布52の取付部の構造が異なるだけで、他の部分は上記の実施形態とほぼ同様の構造とされている。したがって、上記の実施形態と同一部分に同一符号を付して重複する説明を省略するものとする。
図12〜図14は、外側側部フレーム部13cと第1の荷重伝達ブロック18に他の部品が取り付けられる状態を示す斜視図であり、図15は、図1のG−G断面に対応する断面図である。
第1の荷重伝達ブロック18の前面側と後面側には、上記の実施形態と同様のエアバッグ装置30と樹脂製のカバー部材45がそれぞれ取り付けられている。
図15に示すように、内側力布51と外側力布52の各端部は、内側支持ワイヤ153と外側支持ワイヤ154を介して外側側部フレーム部13cに支持されているが、内側支持ワイヤ153は外側側部フレーム部13cの側部プレート14aに係止固定され、外側支持ワイヤ154は第1の荷重伝達ブロック18に係止固定されている。
内側支持ワイヤ153は、図13に示すように、内側力布51が取り付けられる取付部153aが、側部プレート14aの前方側に配置されるとともに、取付部153aを挟む上下の端部が、側部プレート14aに設けられた一対の長孔状の係止孔56,56に車幅方向外側から挿入されている。側部プレート14aの係止孔156,156は、エアバッグ装置30に隣接する部位に上下に離間して設けられている。内側支持ワイヤ153の上下の各端部には、図15に示すように、略U字状の係止フック153bが設けられ、その各係止フック153bが対応する係止孔56の前側の縁部に係止されている。係止孔56,56は、内側支持ワイヤ153を側部プレート14a(外側側部フレーム部13c)の外側面に当接させた状態で係止するワイヤ係止部を構成している。内側支持ワイヤ153のうちの、係止孔56,56から車幅方向外側に引き出されて取付部153aに連続する部位は側部プレート14aの外側面に沿って前方に延出しているが、この部位は、図14に示すように、第1の荷重伝達ブロック18に固定されるエアバッグ装置30のバッグケース33と側部プレート14aとの間で挟持される。
一方、外側支持ワイヤ154は、図12に示すように、外側力布52が取り付けられる取付部154aが、第1の荷重伝達ブロック18の車幅方向外側の前端領域に配置されるとともに、取付部154aを挟む上下の各端部が第1の荷重伝達ブロック18の後面(後部ブロック18Bの後面)に這わせて配置され、その各端部が第1の荷重伝達ブロック18の後面に係止固定されている。具体的には、外側支持ワイヤ154の各端部には、略L字状に屈曲した係止フック154bが設けられ、この各係止フック154bが第1の荷重伝達ブロック18の後部面に設けられた対応する係止孔57に挿入され、その各係止孔57の縁部に係止されている。
第1の荷重伝達ブロック18の後部面には、図12に示すように、上下に離間して一対の開口58,58が設けられている。上記の各係止孔57は、この各開口58に連続するように各開口58の車幅方向外側の辺に溝状に連続して形成されている。外側支持ワイヤ154の係止フック154bは開口58側から係止孔57内に案内され、各係止孔57の縁部に係止されている。外側支持ワイヤ154の第1の荷重伝達ブロック18の後面に這わせた部分は、カバー部材45が第1の荷重伝達ブロック18に固定されるときに、カバー部材45と第1の荷重伝達ブロック18との間で挟持される。
なお、カバー部材45の裏面(第1の荷重伝達ブロック18の後面に対向する側の面)には、図13に示すように、上下方向に延出する補強リブ59が設けられている。この補強リブ59は、カバー部材45が第1の荷重伝達ブロック18に固定されたときに、外側支持ワイヤ154の各係止フック154bの付根部の内側の近傍に配置され、各係止フック154bの開口58方向への変位を規制する。
ここで、上記の各実施形態から抽出し得る他の発明について以下に列記する。
(a) 特許請求の範囲の請求項1に記載の車両用シートにおいて、
前記シートバックフレームの車幅方向外側の側部フレーム部に設置されるとともに、前記荷重伝達ブロックよりも前方側に展開口(例えば、実施形態の展開口34)を有するエアバッグ装置(例えば、実施形態のエアバッグ装置30)を備え、
前記荷重伝達ブロックの前面に、前記エアバッグ装置の取付座(例えば、実施形態の取付座18a)が設けられていることを特徴とする車両用シート。
(b) 前記(a)に記載の車両用シートにおいて、
前記エアバッグ装置が、前記シートバックフレームと荷重伝達ブロックとともに前記シート表皮によって覆われるともに、
前記シート表皮の前記エアバッグ装置の前方位置に設けられて前記エアバッグ装置の展開により破断される破断境界部(例えば、実施形態の破断境界部50)と、
前記シート表皮の前記破断境界部のシート幅方向内側の縁部と前記車幅方向外側の側部フレーム部とを連結する内側力布(例えば、実施形態の内側力布51)と、
前記シート表皮の前記破断境界部のシート幅方向外側の縁部と前記車幅方向外側の側部フレーム部または前記荷重伝達ブロックとを連結する外側力布(例えば、実施形態の外側力布52)と、
前記外側力布を前記車幅方向外側の側部フレーム部または前記荷重伝達ブロックに係止させる支持ワイヤ(例えば、実施形態の外側支持ワイヤ54)と、を備え、
前記支持ワイヤが、前記荷重伝達ブロックと前記カバー部材の間から車幅方向外側に引き出され、当該支持ワイヤの引き出された部位に前記外側力布が支持されていることを特徴とする車両用シート。
なお、この発明は上記の実施形態に限定されるものではなく、その要旨を逸脱しない範囲で種々の設計変更が可能である。
1…車両用シート
3…シートバック
13…シートバックフレーム
13c…側部フレーム部
18…第1の荷重伝達ブロック(荷重伝達ブロック)
28…シート表皮
45…カバー部材

Claims (1)

  1. シートバックの外側骨格部をなすシートバックフレームと、
    該シートバックフレームの車幅方向外側の側部フレーム部に設置されて、車体側部から入力された衝撃荷重を前記シートバックフレームに伝達する荷重伝達ブロックと、
    前記シートバックフレームと前記荷重伝達ブロックの外側を覆うシート表皮と、を備えた車両用シートにおいて、
    前記荷重伝達ブロックの背面側に前記シート表皮の形状だしを行うカバー部材が設けられていることを特徴とする車両用シート。
JP2010209494A 2010-09-17 2010-09-17 車両用シート Expired - Fee Related JP5538155B2 (ja)

Priority Applications (1)

Application Number Priority Date Filing Date Title
JP2010209494A JP5538155B2 (ja) 2010-09-17 2010-09-17 車両用シート

Applications Claiming Priority (1)

Application Number Priority Date Filing Date Title
JP2010209494A JP5538155B2 (ja) 2010-09-17 2010-09-17 車両用シート

Publications (2)

Publication Number Publication Date
JP2012062008A true JP2012062008A (ja) 2012-03-29
JP5538155B2 JP5538155B2 (ja) 2014-07-02

Family

ID=46058166

Family Applications (1)

Application Number Title Priority Date Filing Date
JP2010209494A Expired - Fee Related JP5538155B2 (ja) 2010-09-17 2010-09-17 車両用シート

Country Status (1)

Country Link
JP (1) JP5538155B2 (ja)

Citations (2)

* Cited by examiner, † Cited by third party
Publication number Priority date Publication date Assignee Title
JP2003159161A (ja) * 2001-11-29 2003-06-03 Tachi S Co Ltd 前後倒し可能なシート・バック
JP2010018190A (ja) * 2008-07-11 2010-01-28 Honda Motor Co Ltd 車両用シート

Patent Citations (2)

* Cited by examiner, † Cited by third party
Publication number Priority date Publication date Assignee Title
JP2003159161A (ja) * 2001-11-29 2003-06-03 Tachi S Co Ltd 前後倒し可能なシート・バック
JP2010018190A (ja) * 2008-07-11 2010-01-28 Honda Motor Co Ltd 車両用シート

Also Published As

Publication number Publication date
JP5538155B2 (ja) 2014-07-02

Similar Documents

Publication Publication Date Title
JP5550646B2 (ja) 車両用シート
CN102310794B (zh) 座椅靠背框架
US9849856B1 (en) Side airbag energy management system
JP2010018191A (ja) 車両の荷重伝達体
JP2019031166A (ja) 乗物用シート
JP5564375B2 (ja) 車両用シート
JP5852709B2 (ja) 車両用シート
JP5959361B2 (ja) 乗物用シート
JP5538155B2 (ja) 車両用シート
JP5563393B2 (ja) 車両用シート
JP5538154B2 (ja) 車両用シート
JP5202580B2 (ja) 車両用シート
JP5410859B2 (ja) 車両用シートのシートバックフレーム
JP5548515B2 (ja) 車両用シート
JP4673415B2 (ja) 車両用シート
JP2009154851A (ja) 車両のシート間の荷重伝達部構造
JP5277205B2 (ja) シートバックフレーム構造
JP5123902B2 (ja) 車両用シートのシートバックフレーム
JP5577204B2 (ja) 車両用シート
JP5572461B2 (ja) 車両用シート
JP7259735B2 (ja) シートサイドシールド
JP2011131755A (ja) サイドエアバッグ取付構造
JP4712881B2 (ja) 車両用シート
JP2019031165A (ja) 乗物用シート
JP6092339B2 (ja) 車両用シート

Legal Events

Date Code Title Description
A621 Written request for application examination

Free format text: JAPANESE INTERMEDIATE CODE: A621

Effective date: 20121206

A977 Report on retrieval

Free format text: JAPANESE INTERMEDIATE CODE: A971007

Effective date: 20131227

A131 Notification of reasons for refusal

Free format text: JAPANESE INTERMEDIATE CODE: A131

Effective date: 20140107

A521 Request for written amendment filed

Free format text: JAPANESE INTERMEDIATE CODE: A523

Effective date: 20140310

TRDD Decision of grant or rejection written
A01 Written decision to grant a patent or to grant a registration (utility model)

Free format text: JAPANESE INTERMEDIATE CODE: A01

Effective date: 20140401

R150 Certificate of patent or registration of utility model

Ref document number: 5538155

Country of ref document: JP

Free format text: JAPANESE INTERMEDIATE CODE: R150

A61 First payment of annual fees (during grant procedure)

Free format text: JAPANESE INTERMEDIATE CODE: A61

Effective date: 20140428

R250 Receipt of annual fees

Free format text: JAPANESE INTERMEDIATE CODE: R250

R250 Receipt of annual fees

Free format text: JAPANESE INTERMEDIATE CODE: R250

R250 Receipt of annual fees

Free format text: JAPANESE INTERMEDIATE CODE: R250

R250 Receipt of annual fees

Free format text: JAPANESE INTERMEDIATE CODE: R250

R250 Receipt of annual fees

Free format text: JAPANESE INTERMEDIATE CODE: R250

R250 Receipt of annual fees

Free format text: JAPANESE INTERMEDIATE CODE: R250

LAPS Cancellation because of no payment of annual fees