JP2012046292A - エレベータ巻上げ機設置装置 - Google Patents

エレベータ巻上げ機設置装置 Download PDF

Info

Publication number
JP2012046292A
JP2012046292A JP2010188541A JP2010188541A JP2012046292A JP 2012046292 A JP2012046292 A JP 2012046292A JP 2010188541 A JP2010188541 A JP 2010188541A JP 2010188541 A JP2010188541 A JP 2010188541A JP 2012046292 A JP2012046292 A JP 2012046292A
Authority
JP
Japan
Prior art keywords
movable
hoisting machine
long hole
fixed
side long
Prior art date
Legal status (The legal status is an assumption and is not a legal conclusion. Google has not performed a legal analysis and makes no representation as to the accuracy of the status listed.)
Withdrawn
Application number
JP2010188541A
Other languages
English (en)
Inventor
Satoshi Fujii
聡 藤井
Current Assignee (The listed assignees may be inaccurate. Google has not performed a legal analysis and makes no representation or warranty as to the accuracy of the list.)
Toshiba Elevator and Building Systems Corp
Original Assignee
Toshiba Elevator Co Ltd
Priority date (The priority date is an assumption and is not a legal conclusion. Google has not performed a legal analysis and makes no representation as to the accuracy of the date listed.)
Filing date
Publication date
Application filed by Toshiba Elevator Co Ltd filed Critical Toshiba Elevator Co Ltd
Priority to JP2010188541A priority Critical patent/JP2012046292A/ja
Publication of JP2012046292A publication Critical patent/JP2012046292A/ja
Withdrawn legal-status Critical Current

Links

Images

Landscapes

  • Lift-Guide Devices, And Elevator Ropes And Cables (AREA)
  • Cage And Drive Apparatuses For Elevators (AREA)

Abstract

【課題】巻上げ機を効率よく設置する。
【解決手段】実施形態によれば、エレベータ巻上げ機設置装置の巻上げ機設置架台10は、かごレールの上部に取り付けられた板状で、張り出した端部が水平に開口し上下に貫通する固定側長穴21c、22cが形成されて、上面に巻上げ機を設置可能である。可動架台30は、水平に開口し上下に貫通する可動側長穴が形成された板状で、上面に載せられた巻上げ機を固定用ボルトによって固定される。固定側長穴21c、22cおよび可動側長穴31a、31bの開口部同士が対向する状態で連結されて1つの貫通長穴が形成される。巻上げ機が貫通長穴に沿って可動側長穴31a、31bの側から固定側長穴21c、22cの側に水平に移動して巻上げ機設置架台10に固定される。
【選択図】 図7

Description

本発明の実施形態は、エレベータの巻上げ機を設置するためのエレベータ巻上げ機設置装置に関する。
機械室を有さないエレベータは、通常、昇降路内の上方に巻上げ機が設置される。昇降路内には、乗りかごおよび釣合い錘が上下移動するためのレールが複数取り付けられている。巻上げ機は、これらのレールの上方に固定されるマシンベッド上に設置される。
上記複数のレールには、乗りかごを上下移動させるための一対のかごレール、および釣合い錘を上下移動させるための一対のカウンタウェイトレール等が含まれる。
特開2000−34072号公報
巻上げ機は、通常、マシンベッド上の設置位置に高さ位置が同じ平面内で且つ当該設置位置とは異なる位置で、揚重機等で下方から上方に揚重される。この後に、巻上げ機は、マシンベッド上の所定位置まで水平に移動させる必要がある。
当該水平移動は、作業者により行われることが多い。当該水平移動の作業は、昇降路上方で行われるため、危険を伴うことが多い。このため、当該巻上げ機を所定の位置に設置するための水平移動の作業は、慎重に行う必要があり、巻上げ機を設置する作業の効率を下げる要因になる。
本発明に係る実施形態は、上記課題を解決するためのものであり、その目的は、エレベータに係る巻上げ機の設置作業を安全且つ効率よくできるようにすることである。
上記目的を達成するための実施形態に係るエレベータ巻上げ機設置装置は、昇降路内の上方の所定位置に配置された巻上げ機と、前記巻上げ機の下方の前記昇降路内を上下移動可能に構成された乗りかごと、前記巻上げ機下方の前記昇降路内を上下移動可能で、前記乗りかごが上方へ移動するときに下方に移動して前記乗りかごが下方に移動するときに上方に移動するように構成された釣合い錘と、前記昇降路内で上下に延びて互いに水平方向間隙を保ちながら平行に配置された少なくとも2本の単レールからなり、前記乗りかごおよび前記釣合い錘のうち一方が、前記各単レールに沿って上下移動可能に構成されたレール対と、を有するエレベータで、前記巻上げ機を前記所定位置に取り付けるためのエレベータ巻上げ機設置装置において、前記レール対の上部に直接的または間接的に取り付けられた水平な板状で、水平に張り出した一方の端部が水平に開口し上下に貫通する固定側長穴が形成されて、上面に前記巻上げ機を設置可能な巻上げ機設置架台と、一方の端部が水平に開口し上下に貫通する可動側長穴が形成された水平な板状で、上面に前記巻上げ機を固定可能で、上面に載せられた前記巻上げ機が前記可動側長穴を貫通するように配置された締結部材によって前記上面に固定可能で、前記巻上げ機が固定された状態で前記昇降路内を上下移動可能に構成された可動架台と、を有し、前記可動架台が昇降路上方にあるときに、前記固定側長穴および前記可動側長穴それぞれの開口部同士が対向する状態で連結されて1つの貫通長穴が形成されて、前記巻上げ機が前記貫通長穴に沿って前記可動側長穴の側から固定側長穴の側に水平に移動して前記巻上げ機設置架台に固定されるように構成されていること、を特徴とする。
本発明に係る第1の実施形態のエレベータ巻上げ機設置装置が設置されるエレベータの概略正面図である。 図1の部分上面図で、巻上げ機、かごレールおよびカウンタウェイトレールを示している。 図1のエレベータ巻上げ機設置装置の可動架台を示す上面図である。 図3の可動架台のIV−IV矢視の概略正面図である。 図4の支持部材および巻上げ機設置架台の概略上面図である。 図3の可動架台に取り付けられた巻上げ機が可動架台と共に揚重機で揚重されている状態を示す概略正面図である。 図6の巻上げ機設置架台に、可動架台が連結された状態を示す概略正面図である。 図7のVIII−VIII矢視の概略正面図である。 図8の巻上げ機を、可動架台から巻上げ機設置架台に平行移動させる状態を示す部分正面図である。 図9の巻上げ機が巻上げ機設置架台上に移動した後に、第1および第2固定側長穴の開口部に外れ止めを取り付けた状態を示す上面図である。 本発明に係る第2の実施形態のエレベータ巻上げ機設置装置の可動架台を示す上面図である。 図11の可動架台が巻上げ機設置架台に取り付けられた状態を示す上面図である。 図12の軸部材および第1脚部等を示す概略正面図である。 本発明に係る第3の実施形態のエレベータ巻上げ機設置装置の可動架台の概略上面図である。 図14の可動架台によって巻上げ機設置架台上に設置される巻上げ機を示す上面図である。 図14の可動架台が巻上げ機設置架台に取り付けられた状態を示す上面図である。
以下、実施形態について、図面を参照して説明する。
[第1の実施形態]
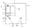
第1の実施形態のエレベータ巻上げ機設置装置について、図1〜図10を用いて説明する。図1は、本実施形態のエレベータ巻上げ機設置装置が設置されるエレベータの概略正面図である。図1では、かごレール7およびカウンタウェイトレール8の図示は省略している。図2は、図1の部分上面図で、巻上げ機1、かごレール7およびカウンタウェイトレール8を示している。図2では、巻上げ機設置架台10および可動架台30を仮想的に2点鎖線で示している。また、巻上げ機1が所定位置に設置される前の状態を2点鎖線で仮想的に示している。
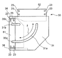
図3は、図1のエレベータ巻上げ機設置装置の可動架台30を示す上面図である。なお、図3では、巻上げ機1の第1〜第4脚部1a〜1dの位置を2点鎖線により仮想的に示し、巻上げ機1本体の図示は省略している。図4は、図3の可動架台30のIV−IV矢視の概略正面図で、巻上げ機設置架台10および支持部材11を2点鎖線により仮想的に示している。図5は、図4の支持部材11および巻上げ機設置架台10の概略上面図である。
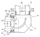
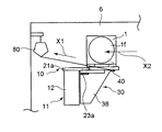
図6は、図3の可動架台30に取り付けられた巻上げ機1が可動架台30と共に揚重機80で揚重されている状態を示す概略正面図である。図7は、図6の巻上げ機設置架台10に、可動架台30が連結された状態を示す概略正面図である。なお、図7では、巻上げ機1の図示は省略している。図8は、図7のVIII−VIII矢視の概略正面図である。
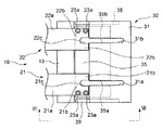
図9は、図8の巻上げ機1を、可動架台30から巻上げ機設置架台10に平行移動させる状態を示す部分正面図である。図10は、図9の巻上げ機1が巻上げ機設置架台10上に移動した後に、第1および第2固定側長穴21c、22cの開口部に外れ止め17を取り付けた状態を示す上面図である。なお、図10では、巻上げ機1の輪郭線と、第1および第3脚部1a、1cを仮想的に示している。
先ず、本実施形態のエレベータ巻上げ機設置装置および当該装置が設置されるエレベータの構成について説明する。
本実施形態のエレベータ巻上げ機設置装置が設置されるエレベータは、昇降路6内を上下移動可能に構成された乗りかご3および釣合い錘4(図1)と、これらが上下方向に走行するためのかごレール7およびカウンタウェイトレール8(図2)を有する。
また当該エレベータは、巻上げ機1と、この巻上げ機1を設置するためのエレベータ巻上げ機設置装置と、を有する。
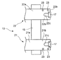
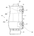
巻上げ機1は、エレベータ巻上げ機設置装置により昇降路6上方の所定位置に設置される。この巻上げ機1は、駆動力を発生させる駆動用モータ(図示せず)を備え、かごレール7の上部に配置されている。この巻上げ機1には、メインシーブ1fが取り付けられている。このメインシーブ1fは、駆動用モータの回転力が伝達される。このメインシーブ1fの回転軸は、水平に配置される。メインシーブ1fには、メインロープ2が懸架されて、当該メインロープ2によって、乗りかご3および釣合い錘4が吊られている(図1)。
巻上げ機1の下部には、4個の脚部、すなわち、第1脚部1a、第2脚部1b、第3脚部1cおよび第4脚部1dが設けられている(図3)。第1〜第4脚部1a〜1dそれぞれの下面には、ボルト穴が形成されている。
乗りかご3は、メインロープ2が懸架されたかごシーブ(図示せず)が取り付けられている。この乗りかご3は、メインロープ2を介してメインシーブ1fの回転駆動力が伝達されて、昇降路6内に鉛直に配置されたかごレール7に沿って走行する。
釣合い錘4は、昇降路6内を上下移動可能で、乗りかご3が上方へ移動するときに下方に移動して、乗りかご3が下方に移動するときに上方に移動する。この釣合い錘4は、カウンタウェイトレール8に沿って走行する。
かごレール7は、2つのレール、すなわち、第1レール7aおよび第2レール7bからなる。これらの第1レール7aおよび第2レール7bは、昇降路6内で上下に延びて、互いに水平方向間隙を保ちながら平行に配置される。乗りかご3は、第1および第2レール7a、7bの間を上下移動する。
カウンタウェイトレール8は、昇降路6内で且つかごレール7とは別の位置に配置された第3レール8aおよび第4レール8bからなる。釣合い錘4は、これらのレールの間を上下移動する。
エレベータ巻上げ機設置装置は、巻上げ機設置架台10と、この巻上げ機設置架台10を支持する支持部材11と、巻上げ機1を昇降路6の下方から上方に持ち上げるための可動架台30と、を有する(図4)。
以下、エレベータ巻上げ機設置装置の巻上げ機設置架台10上の設置位置に、巻上げ機1が固定されているものとして説明する。
支持部材11は、詳細な図示は省略しているが、かごレール7の上部に固定される。この支持部材11は、鉛直に配置される板材(鉛直板材12)と、これらの鉛直板材12を連結する水平板材13と、を有する。この例では、2枚の鉛直板材12が互いに間隔をあけて平行に配置され、これらを連結する水平板材13の上に巻上げ機設置架台10が固定される。巻上げ機設置架台10は、当該鉛直板材12や水平板材13等を含む支持部材11によって支持される。
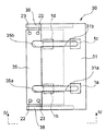
巻上げ機設置架台10は、2つの水平な板状の設置架台、すなわち、第1設置架台21および第2設置架台22を有する(図5)。第1設置架台21および第2設置架台22は、図7における上下方向に互いに間隔をあけて配列される。第1設置架台21および第2設置架台22の板厚は、ほぼ同じで、これらの板厚は、後述する巻上げ機固定部材31の板厚よりも薄い。
第1設置架台21は、支持部材11の水平板材13に固定される第1固定部21aと、この第1固定部21aと一体に形成されて支持部材11から水平に張り出す第1張出部21bと、を有する。また、第2設置架台22は、支持部材11の水平板材13に固定される第2固定部22aと、この第2固定部22aと一体に形成されて支持部材11から水平に張り出す第2張出部22bと、を有する。
第1固定部21aは、支持部材11の水平板材13上にボルト等により固定される。第1張出部21bには、第1固定側長穴21cと、図5の上方端部に2つの連結用穴23が形成される。第1固定側長穴21cは、第1張出部21bの一方の端部が水平方向に開口し、且つ、上下に貫通する。この第1固定側長穴21cは、水平方向に開口する部位から直線状に延びている。すなわち、この第1固定側長穴21cは、上方から見るとU字形状である。
第2固定部22aは、第1固定部21aと同様に、支持部材11の水平板材13上にボルト等により固定される。第2張出部22bには、第2固定側長穴22cと、図5の下方端部に2つの連結用穴23が形成される。第2固定側長穴22cは、第2張出部22bの一方の端部が水平方向に開口し、且つ、上下に貫通する。この第2固定側長穴22cは、第1固定側長穴21cと同様の形状で、互いに平行に形成される。
巻上げ機1は、巻上げ機1の第1および第2脚部1a、1bそれぞれの下面が、第1および第2固定側長穴21c、22cそれぞれの底部にある位置で、固定される。当該位置が、巻上げ機1の所定の設置位置になる。第3および第4脚部1c、1dは、第1および第2固定部21a、22a上に配置される。詳細な図示は省略しているが、第3および第4脚部1c、1dも、第1および第2固定部21a、22aの上面にボルト等で固定される(図3)。
本実施形態の巻上げ機1は、以上の構成により、巻上げ機設置架台10上の当該設置位置に固定される。当該設置位置に固定された巻上げ機1は、乗りかご3および釣合い錘4等を駆動するための駆動力を供給可能になる。
一方、エレベータ巻上げ機設置装置の可動架台30は、巻上げ機1が固定可能な巻上げ機固定部材31と、この巻上げ機固定部材31に取り付けられて巻上げ機設置架台10に連結可能な連結部材35と、巻上げ機固定部材31の強度を保つ補強部材38と、を有する。
巻上げ機固定部材31は、巻上げ機設置架台10に接触可能な水平な板状である。この巻上げ機固定部材31は、2つの可動側長穴、すなわち、第1可動側長穴31aおよび第2可動側長穴31bが形成されている。上述したように、当該巻上げ機固定部材31の板厚は、第1および第2設置架台21、22の板厚よりも厚い。
第1可動側長穴31aは、巻上げ機固定部材31の一方(図3の左方)の端部が水平方向に開口し、且つ、上下に貫通する。この第1可動側長穴31aは、水平方向に開口する部位から面内を直線状に延びている。すなわち、この第1可動側長穴31aは、上方から見るとU字形状である。第2可動側長穴31bは、第1可動側長穴31aと同様の形状で、第1可動側長穴31aと互いに平行になるように形成されている。
これらの第1可動側長穴31aおよび第2可動側長穴31bの間隔は、第1固定側長穴21cおよび第2固定側長穴22c同士の間隔に同じになるように形成されている。
連結部材35は、巻上げ機固定部材31の下面に溶接等により取り付けられた板状で、第1および第2可動側長穴31a、31bの開口部がある側(図3の左方)に取り付けられている。この連結部材35には、第3可動側長穴35aおよび第4可動側長穴35bが形成されている。
第3可動側長穴35aは、連結部材35の一方(図3の右方)の端部が水平方向に開口し、且つ、上下に貫通する。この第3可動側長穴35aは、水平方向に開口する部位から面内を直線状に延びている。すなわち、この第3可動側長穴35aは、上方から見るとU字形状である。この第3可動側長穴35aの開口部は、第1可動側長穴31aと同じ位置になるように形成されている。すなわち、第1可動側長穴31aおよび第3可動側長穴35aを上から見ると、1つの貫通長穴が形成される。第4可動側長穴35bは、第3可動側長穴35aと同様の形状で、第2可動側長穴31bと共に1つの貫通長穴を形成する。
補強部材38は、巻上げ機固定部材31の下面に溶接等により取り付けられた板状の部材である。この例では、2個の補強部材38が、図3の上下方向に互いに間隔をあけて取り付けられている。これらの補強部材38は、可動架台30が巻上げ機設置架台10に連結されるときに、支持部材11の鉛直面が形成された部位に接触可能である。これにより、可動架台30および巻上げ機設置架台10に連結するときに、巻上げ機固定部材31が支持される強度が向上する。巻上げ機設置架台10および可動架台30の連結作業については後で説明する。
巻上げ機固定部材31の上面には、巻上げ機1が固定可能である。以下に、巻上げ機1が可動架台30の上に固定されている状態について説明する。
巻上げ機1は、巻上げ機固定部材31の上面にあるときに、巻上げ機1の第1および第2脚部1a、1bは第1可動側長穴31aの一部を覆うように配置され、第3および第4脚部1c、1dは、第2可動側長穴31bの一部を覆うように配置される(図3)。
第1および第2脚部1a、1bの下穴のボルト穴には、第1可動側長穴31aを貫通するように配置された締結部材、この例では固定用ボルト40が取り付けられる。同様に、第3および第4脚部1c、1dの下穴のボルト穴には、第2可動側長穴31bを貫通する固定用ボルト40が取り付けられる。これにより、第1〜第4脚部1a〜1dが、第1および第2可動側長穴31a、31bの一部を塞ぐ状態で、巻上げ機固定部材31の上面に固定される。
巻上げ機1が固定された可動架台30は、揚重機80等により、昇降路6内を上下移動可能に構成される。
続いて、本実施形態のエレベータ巻上げ機設置装置を用いて、巻上げ機1を所定位置に設置する手順について説明する。
先ず、昇降路6の下方で、水平に置かれた可動架台30に巻上げ機1を取り付ける。
当該取付け作業は、先ず、第1脚部1aおよび第2脚部1bの下面が第1可動側長穴31aの一部を塞ぐように、且つ、第3脚部1cおよび第4脚部1dの下面が第2可動側長穴31bの一部を塞ぐように、巻上げ機固定部材31の上面に巻上げ機1を配置する(図3)。次に、可動架台30の下方から2個の固定用ボルト40を第1可動側長穴31aに貫通させて、第1脚部1aおよび第2脚部1bそれぞれの下面のボルト穴に取り付ける。
同様に、巻上げ機1固定部の下方から2個の固定用ボルト40を第2可動側長穴31bに貫通させて、第3脚部1cおよび第4脚部1dそれぞれの下面のボルト穴に取り付ける。これにより、可動架台30に巻上げ機1を設置する作業が完了する。
可動架台30に巻上げ機1が取り付けられた後に、これらを揚重機80により昇降路6上方へ移動させる(図6)。昇降路6の上方に持ち上げられた可動架台30の連結部材35の上面が、第1および第2張出部21b、22bの下面に接する状態になるまで、可動架台30を持ち上げる。
次に、巻上げ機設置架台10および可動架台30を連結する。当該連結作業は、先ず、連結部材35の連結用穴23が、第1および第2張出部21b、22bの連結用穴23と上下方向位置が重なるように配置する。この後に、連結部材35と、第1および第2張出部21b、22bそれぞれとの、連結用穴23に連結ボルト23aを挿入してナットで固定する(図7)。その結果、巻上げ機固定部材31の上面が、巻上げ機設置架台10の上面よりも高くなる状態で、可動架台30および巻上げ機設置架台10が互いに連結される。
なお、このとき、支持部材11の鉛直面に補強板材が接した状態が保たれて、可動架台30および巻上げ機設置架台10の連結強度を補強している。
巻上げ機設置架台10および可動架台30が連結されているとき、これらの上方から見たときに、第1固定側長穴21cの開口部と第1可動側長板の開口部とが対向して連結されて、1つの貫通長穴を形成する。同様に、第2固定側長穴22cの開口部と第2可動側長板の開口部とが対向して連結されて、1つの貫通長穴を形成する。すなわち、巻上げ機設置架台10および可動架台30が連結されると、2つの貫通長穴が形成される(図7)。
この後に、第2および第4脚部1b、1dを固定している固定用ボルト40を取り外す。また、第1および第3脚部1a、1cを固定している固定用ボルト40の締結を少し緩めた状態にする。
これにより、第1脚部1aに取り付けられている固定用ボルト40が、第1可動側長穴31aおよび第1固定側長穴21cを含む貫通長穴の長手方向に沿って移動可能になる。また、第3脚部1cに取り付けられている固定用ボルト40が、第2可動側長穴31bおよび第2固定側長穴22cを含む貫通長穴の長手方向に沿って移動可能になる。
すなわち、巻上げ機1は、2つの貫通長穴の長手方向に沿って、平行移動可能な状態になる。第1および第3脚部1a、1cに取り付けられた固定用ボルト40が緩められた状態で、揚重機80により、図9における矢印X1の方向に巻上げ機1を引っ張る。その結果、巻上げ機1は、可動架台30から巻上げ機設置架台10の方向(図9の矢印X2)に水平に移動する。このとき、第1および第3脚部1a、1cが第1および第2固定側長穴21c、22cの底部にそれぞれ到達するまで、巻上げ機1を平行移動させる(図9)。
第1および第3脚部1a、1cが当該底部にある状態、すなわち、巻上げ機1の所定の設置位置にある状態で、第1および第3脚部1a、1cに取り付けられた固定用ボルト40を締め付ける。この後に、第1および第2固定側長穴21c、22cそれぞれの開口部付近に、外れ止め17を取り付ける(図10)。このとき、巻上げ機1を、所定の設置位置に固定する作業が完了する。
その後、可動架台30を巻上げ機設置架台10から取り外す。当該可動架台30は、揚重機80により昇降路6の下方まで移動する。
以上の手順により、巻上げ機1を所定の設置位置に設置する作業が完了する。
以上の説明からわかるように、本実施形態によれば、巻上げ機設置架台10および可動架台30の上にある巻上げ機1は、移動方向が2個の貫通長穴に沿って移動することができる。すなわち、巻上げ機1の移動方向を貫通長穴の長手方向に制限することができる。このため、昇降路6の上方で巻上げ機1を移動させる作業が容易になる。また、巻上げ機1が落下する危険も低減するため、当該作業の安全性が向上する。
したがって、エレベータに係る巻上げ機1の設置作業を安全且つ効率よく行うことが可能になる。
[第2の実施形態]
第2の実施形態のエレベータ巻上げ機設置装置について、図11〜図13を用いて説明する。図11は、本実施形態のエレベータ巻上げ機設置装置の可動架台30を示す上面図である。図12は、図11の可動架台30が巻上げ機設置架台10に取り付けられた状態を示す上面図である。図13は、図12の軸部材52および第1脚部1a等を示す概略正面図である。
なお、本実施形態は、第1の実施形態(図1〜図10)の変形例であって、第1の実施形態と同一部分または類似部分には、同一符号を付して、重複説明を省略する。
本実施形態の巻上げ機設置架台10は、第1の実施形態と同様に構成されている。
本実施形態の可動架台30は、第1および第3可動側長穴31a、35aの一方の側面(図11における下方の側面)には、所定のピッチのラック51が形成されている。このラック51は、第1可動側長穴31aから第3可動側長穴35aに連続的に形成されている。
また、可動架台30は、第1および第3可動側貫通穴31a、35aを貫通するように配置される鉛直の軸部材52を有する。この軸部材52は、ラック51と係合可能なピニオン53を有する。この軸部材52の上端は、第1脚部1aの下面に軸受55により回転可能に支持される(図13)。また、この軸部材52は、ピニオン53がラック51に係合するように、図12の下方に押されている。
一方、第2および第4可動側長穴31b、35bの一方の側面(図11における下方に側面)にも、第1および第3可動側長穴31a、35bと同様に、ラック51が形成されている。
また、第3脚部1cの下面には、第1脚部1aと同様に、軸部材52が回転可能に取り付けられている。当該軸部材52にも、第2および第4可動側長穴31b、35bに形成されたラック51に係合可能なピニオン53が設けられている。
巻上げ機設置架台10および可動架台30が連結された状態で、第1および第3脚部1a、1cに回転可能に取り付けられた軸部材52の頭部52aを、工具等により図12における矢印Y1の方向に回転させる。これにより、長穴に形成されたラック51と、軸部材52のピニオン53が互いに係合しながら、巻上げ機1は、図12における矢印Y2の方向に平行移動する。
これにより、揚重機80等を用いずに巻上げ機1を平行移動することが可能になり、第1の実施形態に比べて、巻上げ機1の設置作業が容易になる。
[第3の実施形態]
第3の実施形態のエレベータ巻上げ機設置装置について、図14〜図16を用いて説明する。図14は、本実施形態のエレベータ巻上げ機設置装置の可動架台30の概略上面図である。図15は、図14の可動架台30によって巻上げ機設置架台10上に設置される巻上げ機1を示す上面図である。なお、図14では、可動架台30上にあって回転する前の巻上げ機1を、2点鎖線により仮想的に示している。図16は、図14の可動架台30が巻上げ機設置架台10に取り付けられた状態を示す上面図である。なお、図16では、巻上げ機1の図示は省略している。
本実施形態は、第1の実施形態(図1〜図10)の変形例であって、第1の実施形態と同一部分または類似部分には、同一符号を付して、重複説明を省略する。
巻上げ機1を揚重するときの巻上げ機1の回転軸方向と、巻上げ機設置架台10に巻上げ機1を設置するときの当該回転軸方向とが、異なることがある。この場合、巻上げ機1を昇降路6の上方に持ち上げた後に、巻上げ機1の回転軸方向を変えるように移動させる必要がある。
本実施形態のエレベータ巻上げ機設置装置は、可動架台30に固定された巻上げ機1の回転軸方向と、巻上げ機設置架台10に固定された巻上げ機1の回転軸方向とが、互いに垂直である。この可動架台30は、巻上げ機設置架台10に設置された後に、巻上げ機1の回転軸方向を変更可能である。
可動架台30の巻上げ機固定部材31に形成された第1可動側長穴31aは、第2可動側長穴31bの底部を中心とする4分の1円弧状である。
この巻上げ機固定部材31は、2つの連結部材35、すなわち、第1連結部材61および第2連結部材62を有する。第1連結部材61は、第1の実施形態で説明した連結部材35と同様の形状で、巻上げ機設置架台10の第1および第2張出部21b、22bに連結可能である。第2連結部材62は、後述する仮固定部材70に連結可能で、複数の連結用穴23が形成される。
仮固定部材70は、昇降路6の上方に配置されて、可動架台30が所定の高さまで持ち上げられたときに、可動架台30の第2連結部材62と連結可能である。第2連結部材62および仮固定部材70は、連結用穴23に連結ボルト23aを挿入し、ナット等で固定する。第2連結部材62が仮固定部材70に連結された状態で、第1連結部材61は、第1および第2張出部21b、22bに連結することができる。
ここで、巻上げ機固定部材31に巻上げ機1を取り付ける状態を説明する。
巻上げ機1の第1脚部1aが、第1可動側長穴31aの底部(図13の上方の端部)を覆うように配置して、第3脚部1cは、第2可動側長穴31bの底部を覆うように配置する。第1および第3脚部1a、1cは、固定用ボルト40で固定される。
第2および第4脚部1b、1dは、巻上げ機固定部材31の上面に配置される。本実施形態では、第2および第4脚部1b、1dは固定していないが、別途固定部材を設けてもよい。
第1および第3脚部1a、1cが固定された状態で、可動架台30は揚重機80により昇降路6の上方に持ち上げられる。
この後に、第2連結部材62および仮固定部材70を連結する。また、第1連結部材61を、第1および第2張出部21b、22bに連結する。
第1および第3脚部1a、1cに取り付けられた固定用ボルト40を緩め、第3脚部1cに取り付けられた固定用ボルト40を中心に、第1脚部1aを水平に回転させる。このとき、第1脚部1aに取りつけられた固定用ボルト40は、第1可動側長穴31aに沿って図14の矢印Zの方向に移動する。その結果、巻上げ機1の回転軸方向は、図14における左右方向から上下方向に変更される。
巻上げ機1が回転移動した後に、巻上げ機1を図14における左方に移動させる。
この後に、第1の実施形態と同様に、第1〜第4脚部1a〜1dを固定して、可動架台30の連結を解除する。
以上の説明からわかるように、巻上げ機1の回転軸方向を変更させる場合でも、第1の実施形態と同様の効果を得ることが可能になる。
[その他の実施形態]
上記実施形態の説明は、本発明を説明するための例示であって、特許請求の範囲に記載の発明を限定するものではない。また、本発明の各部構成は上記実施形態に限らず、特許請求の範囲に記載の技術的範囲内で種々の変形が可能である。
例えば、第1可動側長穴31a等は、直線状または円弧状に形成されているが、これに限らない。巻上げ機1を移動させた方向に沿って形成させればよい。
巻上げ機設置架台10等は、かごレール7の上部に取り付けられているが、これに限らない。カウンタウェイトレール8の上部に配置してもよい。
1…巻上げ機、1a…第1脚部、1b…第2脚部、1c…第3脚部、1d…第4脚部、1f…メインシーブ、2…メインロープ、3…乗りかご、4…釣合い錘、6…昇降路、7…かごレール、7a…第1レール、7b…第2レール、8…カウンタウェイトレール、8a…第3レール、8b…第4レール、10…巻上げ機設置架台、11…支持部材、12…鉛直板材、13…水平板材、17…外れ止め、21…第1設置架台、21a…第1固定部、21b…第1張出部、21c…第1固定側長穴、22…第2設置架台、22a…第2固定部、22b…第2張出部、22c…第2固定側長穴、23…連結用穴、23a…連結ボルト、30…可動架台、31…巻上げ機固定部材、31a…第1可動側長穴、31b…第2可動側長穴、35…連結部材、35a…第3可動側長穴、35b…第4可動側長穴、38…補強部材、40…固定用ボルト、51…ラック、52…軸部材、52a…頭部、53…ピニオン、55…軸受、61…第1連結部材、62…第2連結部材、70…仮固定部材、80…揚重機

Claims (5)

  1. 昇降路内の上方の所定位置に配置された巻上げ機と、
    前記巻上げ機の下方の前記昇降路内を上下移動可能に構成された乗りかごと、
    前記巻上げ機下方の前記昇降路内を上下移動可能で、前記乗りかごが上方へ移動するときに下方に移動して前記乗りかごが下方に移動するときに上方に移動するように構成された釣合い錘と、
    前記昇降路内で上下に延びて互いに水平方向間隙を保ちながら平行に配置された少なくとも2本の単レールからなり、前記乗りかごおよび前記釣合い錘のうち一方が、前記各単レールに沿って上下移動可能に構成されたレール対と、
    を有するエレベータで、前記巻上げ機を前記所定位置に取り付けるためのエレベータ巻上げ機設置装置において、
    前記レール対の上部に直接的または間接的に取り付けられた水平な板状で、水平に張り出した一方の端部が水平に開口し上下に貫通する固定側長穴が形成されて、上面に前記巻上げ機を設置可能な巻上げ機設置架台と、
    一方の端部が水平に開口し上下に貫通する可動側長穴が形成された水平な板状で、上面に前記巻上げ機を固定可能で、上面に載せられた前記巻上げ機が前記可動側長穴を貫通するように配置された締結部材によって前記上面に固定可能で、前記巻上げ機が固定された状態で前記昇降路内を上下移動可能に構成された可動架台と、
    を有し、
    前記可動架台が昇降路上方にあるときに、前記固定側長穴および前記可動側長穴それぞれの開口部同士が対向する状態で連結されて1つの貫通長穴が形成されて、
    前記巻上げ機が前記貫通長穴に沿って前記可動側長穴の側から固定側長穴の側に水平に移動して前記巻上げ機設置架台に固定されるように構成されていること、
    を特徴とするエレベータ巻上げ機設置装置。
  2. 前記可動側長穴および前記固定側長穴それぞれは直線的に延びる長穴で、前記貫通長穴は長手方向が直線的に延びるように形成されていること、を特徴とする請求項1に記載のエレベータ巻上げ機設置装置。
  3. 前記可動側長穴の一部に湾曲部が形成されていることを特徴とする請求項1に記載のエレベータ巻上げ機設置装置。
  4. 前記湾曲部は、前記可動架台の上面を含む平面内の所定位置を中心とする部分円弧状であること、を特徴とする請求項3に記載のエレベータ巻上げ機設置装置。
  5. 前記可動側長穴の側面には、所定のピッチのラックが形成されて、
    前記締結部材は、鉛直に延びる軸状で、側面に前記ラックに係合するピニオンが取り付けられて、
    前記締結部材を鉛直軸周りに回転させることで、前記ラックおよびピニオンの係合によって、巻上げ機が前記可動側長穴の長手方向に平行移動可能に構成されていること、
    を特徴とする請求項1ないし請求項4のいずれか一項に記載のエレベータ巻上げ機設置装置。
JP2010188541A 2010-08-25 2010-08-25 エレベータ巻上げ機設置装置 Withdrawn JP2012046292A (ja)

Priority Applications (1)

Application Number Priority Date Filing Date Title
JP2010188541A JP2012046292A (ja) 2010-08-25 2010-08-25 エレベータ巻上げ機設置装置

Applications Claiming Priority (1)

Application Number Priority Date Filing Date Title
JP2010188541A JP2012046292A (ja) 2010-08-25 2010-08-25 エレベータ巻上げ機設置装置

Publications (1)

Publication Number Publication Date
JP2012046292A true JP2012046292A (ja) 2012-03-08

Family

ID=45901638

Family Applications (1)

Application Number Title Priority Date Filing Date
JP2010188541A Withdrawn JP2012046292A (ja) 2010-08-25 2010-08-25 エレベータ巻上げ機設置装置

Country Status (1)

Country Link
JP (1) JP2012046292A (ja)

Cited By (1)

* Cited by examiner, † Cited by third party
Publication number Priority date Publication date Assignee Title
CN110467094A (zh) * 2019-09-21 2019-11-19 中科鼎盛电梯科技江苏有限公司 一种固定稳定的无基坑加装电梯用曳引机及安装方法

Cited By (1)

* Cited by examiner, † Cited by third party
Publication number Priority date Publication date Assignee Title
CN110467094A (zh) * 2019-09-21 2019-11-19 中科鼎盛电梯科技江苏有限公司 一种固定稳定的无基坑加装电梯用曳引机及安装方法

Similar Documents

Publication Publication Date Title
JP5951104B2 (ja) エレベータの改修方法
CN1962387B (zh) 建造电梯设备的方法及用于该目的的电梯设备
US10252889B2 (en) Method of installing a machine in an elevator system
JP2011126628A (ja) エレベータ点検台
EP2043938B1 (en) Elevators
JP6422570B2 (ja) 機械室レスエレベータ
JP2012046287A (ja) エレベータ巻上げ機支持機構
JP2012046292A (ja) エレベータ巻上げ機設置装置
JP6022007B1 (ja) ブレーキ着脱治具
JP2007210703A (ja) マシンルームレスエレベータの巻上機据付装置および据付工法
CN106163960A (zh) 电梯的底坑出入装置
JP5930842B2 (ja) エレベータの据付方法及び据付用治具
JP4978218B2 (ja) エレベータの据付装置及び据付方法
JP4279389B2 (ja) 工事用エレベータの鉄塔組立・解体装置
JP5483722B2 (ja) エレベータ巻上機の据付方法
WO2019155605A1 (ja) エレベーター用作業台及びエレベーター
CN111232807B (zh) 电梯用品起重装置
JP2025028539A (ja) エレベーター装置
JP2006182461A (ja) 仮設昇降装置
KR100688362B1 (ko) 엘리베이터의 구동장치
JP2018090408A (ja) マシンルームレスエレベータの非常用駆動装置および非常用駆動方法
JP6358115B2 (ja) エレベータ装置
JP2016023065A (ja) エレベータ装置
JP2006213489A (ja) 工事用エレベーター類におけるトップシーブユニットのクライミング方法及び同方法に用いるトップシーブユニット
JP5681284B2 (ja) エレベータ

Legal Events

Date Code Title Description
A300 Withdrawal of application because of no request for examination

Free format text: JAPANESE INTERMEDIATE CODE: A300

Effective date: 20131105