JP2012024970A - インクジェット記録装置及びインクジェット記録方法 - Google Patents

インクジェット記録装置及びインクジェット記録方法 Download PDF

Info

Publication number
JP2012024970A
JP2012024970A JP2010163890A JP2010163890A JP2012024970A JP 2012024970 A JP2012024970 A JP 2012024970A JP 2010163890 A JP2010163890 A JP 2010163890A JP 2010163890 A JP2010163890 A JP 2010163890A JP 2012024970 A JP2012024970 A JP 2012024970A
Authority
JP
Japan
Prior art keywords
recording
ink
recording head
data
recorded
Prior art date
Legal status (The legal status is an assumption and is not a legal conclusion. Google has not performed a legal analysis and makes no representation as to the accuracy of the status listed.)
Granted
Application number
JP2010163890A
Other languages
English (en)
Other versions
JP2012024970A5 (ja
JP5791242B2 (ja
Inventor
Yasunari Fujimoto
康徳 藤元
Masato Kawakami
正人 川上
Takeshi Honma
猛 本間
Current Assignee (The listed assignees may be inaccurate. Google has not performed a legal analysis and makes no representation or warranty as to the accuracy of the list.)
Canon Inc
Original Assignee
Canon Inc
Priority date (The priority date is an assumption and is not a legal conclusion. Google has not performed a legal analysis and makes no representation as to the accuracy of the date listed.)
Filing date
Publication date
Application filed by Canon Inc filed Critical Canon Inc
Priority to JP2010163890A priority Critical patent/JP5791242B2/ja
Priority to US13/183,604 priority patent/US8740336B2/en
Priority to CN201110199734.3A priority patent/CN102343712B/zh
Priority to RU2011130377/12A priority patent/RU2505415C2/ru
Priority to EP11005960.7A priority patent/EP2409843B1/en
Publication of JP2012024970A publication Critical patent/JP2012024970A/ja
Publication of JP2012024970A5 publication Critical patent/JP2012024970A5/ja
Application granted granted Critical
Publication of JP5791242B2 publication Critical patent/JP5791242B2/ja
Active legal-status Critical Current
Anticipated expiration legal-status Critical

Links

Images

Classifications

    • BPERFORMING OPERATIONS; TRANSPORTING
    • B41PRINTING; LINING MACHINES; TYPEWRITERS; STAMPS
    • B41JTYPEWRITERS; SELECTIVE PRINTING MECHANISMS, i.e. MECHANISMS PRINTING OTHERWISE THAN FROM A FORME; CORRECTION OF TYPOGRAPHICAL ERRORS
    • B41J2/00Typewriters or selective printing mechanisms characterised by the printing or marking process for which they are designed
    • B41J2/005Typewriters or selective printing mechanisms characterised by the printing or marking process for which they are designed characterised by bringing liquid or particles selectively into contact with a printing material
    • B41J2/01Ink jet
    • B41J2/21Ink jet for multi-colour printing
    • B41J2/2107Ink jet for multi-colour printing characterised by the ink properties
    • BPERFORMING OPERATIONS; TRANSPORTING
    • B41PRINTING; LINING MACHINES; TYPEWRITERS; STAMPS
    • B41JTYPEWRITERS; SELECTIVE PRINTING MECHANISMS, i.e. MECHANISMS PRINTING OTHERWISE THAN FROM A FORME; CORRECTION OF TYPOGRAPHICAL ERRORS
    • B41J2/00Typewriters or selective printing mechanisms characterised by the printing or marking process for which they are designed
    • B41J2/005Typewriters or selective printing mechanisms characterised by the printing or marking process for which they are designed characterised by bringing liquid or particles selectively into contact with a printing material
    • B41J2/01Ink jet
    • B41J2/205Ink jet for printing a discrete number of tones
    • B41J2/2052Ink jet for printing a discrete number of tones by dot superpositioning, e.g. multipass doubling
    • BPERFORMING OPERATIONS; TRANSPORTING
    • B41PRINTING; LINING MACHINES; TYPEWRITERS; STAMPS
    • B41JTYPEWRITERS; SELECTIVE PRINTING MECHANISMS, i.e. MECHANISMS PRINTING OTHERWISE THAN FROM A FORME; CORRECTION OF TYPOGRAPHICAL ERRORS
    • B41J2/00Typewriters or selective printing mechanisms characterised by the printing or marking process for which they are designed
    • B41J2/005Typewriters or selective printing mechanisms characterised by the printing or marking process for which they are designed characterised by bringing liquid or particles selectively into contact with a printing material
    • B41J2/01Ink jet
    • B41J2/205Ink jet for printing a discrete number of tones
    • B41J2/2056Ink jet for printing a discrete number of tones by ink density change
    • BPERFORMING OPERATIONS; TRANSPORTING
    • B41PRINTING; LINING MACHINES; TYPEWRITERS; STAMPS
    • B41JTYPEWRITERS; SELECTIVE PRINTING MECHANISMS, i.e. MECHANISMS PRINTING OTHERWISE THAN FROM A FORME; CORRECTION OF TYPOGRAPHICAL ERRORS
    • B41J2/00Typewriters or selective printing mechanisms characterised by the printing or marking process for which they are designed
    • B41J2/005Typewriters or selective printing mechanisms characterised by the printing or marking process for which they are designed characterised by bringing liquid or particles selectively into contact with a printing material
    • B41J2/01Ink jet
    • B41J2/21Ink jet for multi-colour printing
    • B41J2/2132Print quality control characterised by dot disposition, e.g. for reducing white stripes or banding

Landscapes

  • Engineering & Computer Science (AREA)
  • Quality & Reliability (AREA)
  • Ink Jet (AREA)
  • Ink Jet Recording Methods And Recording Media Thereof (AREA)

Abstract

【課題】超浸透インクと緩浸透インクとを用いて記録を行う記録方法及び記録装置において、光学濃度の低下を抑制するインクジェット記録装置及びインクジェット記録方法を提供する。
【解決手段】本発明のインクジェット記録装置は、内部領域へ、相対的に記録媒体への浸透性が低い緩浸透インクと、緩浸透インクよりも記録媒体への浸透性の高い超浸透インクとを記録媒体に吐出して記録を行う。緩浸透インクと超浸透インクは同系色である。緩浸透インクによって記録される記録領域と、超浸透インクによって記録される記録領域とが、少なくとも接し、緩浸透インクを超浸透インクよりも先に記録媒体に吐出して記録を行う。
【選択図】図6

Description

本発明は、記録媒体上にインクを吐出することによって画像を記録するインクジェット記録装置及びインクジェット記録方法に関する。
近年、出力装置として、インクを記録ヘッドから吐出して記録を行う形式の記録装置が広く普及している。このような記録装置の中には、記録ヘッドに形成されている吐出口からインク滴を吐出し、記録媒体上にドットを形成することによって画像を記録するものがある。インク滴で記録媒体上にドットを形成する記録では、ある領域を一色でほぼ塗りつぶす場合には、高いドット記録密度で一定の記録領域にドットが打ち込まれる。そのような場合に、一定の大きさの記録領域に対して過度に大量のインク滴が吐出されると、インクが記録領域外に滲み、記録画像の外形が明確に示された記録を行うことができないという課題があった。
このような課題を解決するために、特許文献1には、記録領域が外周領域と内部領域とに分けられ、それぞれの記録領域に応じて記録に用いるインクを異ならせる形式のインクジェット記録装置について開示されている。特許文献1に開示された記録装置においては、外周領域では相対的に浸透性の低いインク(比較的記録媒体に浸透しにくいインク;以下、緩浸透インク)が用いられてドットが形成される。また、内部領域では相対的に浸透性の高いインク(比較的記録媒体に浸透しやすいインク;以下、超浸透インク)と、浸透性の低い緩浸透インクの両方が用いられてドットが形成される。このように、内部領域に対しては記録媒体への浸透性の異なる二種類のインクが用いられて記録が行われるので、浸透性の低い緩浸透インクのみによって記録が行われる場合に比べて記録媒体の乾燥に必要な時間が短縮され記録の高速化を図ることができる。また、内部領域が超浸透インクのみによって記録が行われる場合に比べて滲みを少なくすることができ、記録によって得られる画像の品質の低下を抑えることができる。
特開2002−113850号公報
特許文献1に開示された記録装置によって記録が行われる場合には、内部領域で浸透性の異なる二種類のインクが交互に千鳥状に並べられるようにドットが形成されて記録が行われている。そのため、内部領域では、超浸透インクによって形成されたドットと、緩浸透インクによって形成されたドットとが混在している。しかしながら、特許文献1に開示された記録装置による記録画像の内部領域では、記録媒体への浸透性の異なるインクによるドットが交互に並べられているが、記録媒体に対してインクを打ち込む順番については規定されていない。従って、記録領域に、超浸透インクが打ち込まれた後に、緩浸透インクが打ち込まれる可能性がある。そのような場合には、内部領域で、記録媒体に打ち込まれた超浸透インクにおける染料や顔料等の色材成分が記録媒体の中の深い部分へ引き込まれてしまい、ドットの濃度が低くなってしまう場合がある。そのため、記録画像の一部で濃度が不足し、これによって記録画像の品質が低下する虞がある。このような課題は、インクに含まれる色材が染料の場合にも発生することがあるが、顔料を色材に利用した場合に顕著であった。
そこで、本発明は上記の事情に鑑み、超浸透インクと緩浸透インクとを用いて記録を行うインクジェット記録装置及びインクジェット記録方法において、光学濃度の低下を抑制する記録方法および記録装置を提供することを目的とする。
本発明のインクジェット記録装置は、第1のインクと、前記第1のインクと同系色で且つ前記第1のインクよりも浸透性の高い第2のインクとを吐出可能な記録ヘッドを、記録媒体に対して相対走査させることにより前記記録媒体に画像の記録を行うインクジェット記録装置であって、前記記録媒体において、記録が行われない非記録領域と隣接する外周領域に対して前記第2のインクを用いずに前記第1のインクを用いて記録を行い、前記外周領域と隣接する内部領域に対して前記第1のインクと前記第2のインクを用い、かつ、前記第1のインクを前記第2のインクよりも先に前記内部領域に吐出して記録を行うように、前記記録ヘッドからのインクの吐出を制御する記録制御手段を備えることを特徴とする。
本発明のインクジェット記録装置及びインクジェット記録方法によれば、光学濃度の低下を抑制することができるので、記録画像の品質の低下を抑えることができる。
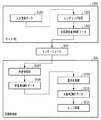
本発明の第一実施形態に係るインクジェット記録装置について模式的に示した斜視図である。 (a)は、図1のインクジェット記録装置に用いられている記録ヘッドについて模式的に示した平面図であり、(b)は、(a)の記録ヘッドからインクの吐出される順序について説明するために示した説明図である。 図1のインクジェット記録装置による記録を制御するための制御系について概略構成を示したブロック図である。 図1のインクジェット記録装置とホストPCとで構成される画像処理システムでの画像データ処理におけるデータの流れについて概略構成を示した機能ブロック図である。 図4のブロック図におけるエッジ処理についてさらに詳細に説明するためにデータの流れについて概略構成を示したブロック図である。 第一実施形態で記録される記録領域の記録データを、それぞれの領域ごとに振り分けるデータの分配について説明するための説明図である。 本発明の第二実施形態に係るインクジェット記録装置によって記録が行われる際の、エッジ処理について説明するためにデータの流れについて概略構成を示したブロック図である。 第二実施形態で記録される記録領域の記録データを、それぞれの領域ごとに振り分けるデータの分配について説明するための説明図である。 本発明の第三実施形態で記録される記録領域の記録データを、それぞれの領域ごとに振り分けるデータの分配について説明するための説明図である。 (a)は、本発明の第四実施形態のインクジェット記録装置に用いられている記録ヘッドについて模式的に示した平面図であり、(b)、(c)は、(a)の記録ヘッドから吐出されるインクの順序について説明するために示した説明図である。 図10の記録ヘッドによって記録が行われるときの、記録ヘッドの位置と、記録媒体における記録対象領域の位置との間の関係について示した説明図である。 第四実施形態に係るインクジェット記録装置によって記録が行われる際の、エッジ処理について説明するためにデータの流れについて概略構成を示したブロック図である。 第四実施形態で記録される記録領域の記録データを、それぞれの領域ごとに振り分けるデータの分配について説明するための説明図である。 (a)、(b)は、第四実施形態で記録を行う記録ヘッドから、インクを吐出する順序について説明するために示した説明図である。 本発明の第五実施形態で記録される記録領域の記録データを、それぞれの領域ごとに振り分けるデータの分配について説明するための説明図である。 (a)は、本発明の第四実施形態のインクジェット記録装置に用いられている記録ヘッドについて模式的に示した平面図であり、(b)、(c)は、(a)の記録ヘッドから吐出されるインクの順序について説明するために示した説明図である。
以下、本発明の実施形態に係るインクジェット記録装置について、図面を参照しながら説明する。
(第一実施形態)
図1は、本発明を適用可能なカラーインクジェット記録装置の第一実施形態に係る構成を示す模式的な斜視図である。インクタンク207〜212は、6つのインク(ブラック(緩浸透インク)、ブラック(超浸透インク)、ブラック(緩浸透インク)、シアン、マゼンタ、イエロー:Ke、Km、Ke、C、M、Y)をそれぞれ収容している。これら6つのインクタンク207〜212からのインクを記録ヘッド201〜206に対して供給可能に構成されている。記録ヘッド201〜206は、6つのインクに対応して設けられ、インクタンク207〜212から供給されるインクをそれぞれ吐出できるように構成されている。6つの記録ヘッド201〜206のうち、ブラックのインクを吐出する記録ヘッドは、記録ヘッド201、202、203である。さらにこれらのブラックのインクを吐出する記録ヘッドのうち、本実施形態では、記録ヘッド201、203が、比較的記録媒体に浸透しにくいインク(以下、緩浸透インク)を吐出する。また、記録ヘッド202が、比較的記録媒体に浸透しやすいインク(以下、超浸透インク)を吐出する。
搬送ローラ103は、補助ローラ104とともに記録媒体(記録用紙)107を挟持しながら回転して記録媒体107を搬送するとともに、記録媒体107を保持する役割も担っている。キャリッジ106は、インクタンク207〜212及び記録ヘッド201〜206を搭載可能であって、これら記録ヘッド及びインクタンクを搭載しながらX方向沿って往復移動可能に構成されている。このキャリッジ106の往復移動中に記録ヘッドからインクが吐出され、これにより記録媒体に画像が記録される。記録ヘッド201〜204の回復動作時等の非記録動作時には、このキャリッジ106は図中の点線で示したホームポジション位置hに待機するように制御される。
図1に示すホームポジションhに待機している記録ヘッド201〜206は、記録開始命令が入力されると、キャリッジ106と共に図中X方向に移動しつつ、インクを吐出して記録媒体107上に画像を記録する。この記録ヘッドの1回の移動(走査)によって、記録ヘッド201〜206の吐出口の配列範囲に対応した幅を有する領域に対して記録が行われる。
キャリッジ106の主走査方向(Xの正の方向)への1回の走査に伴う記録が終了すると、キャリッジ106はホームポジションhへ向かう、主走査方向の逆方向(Xの負の方向)へ走査する。そこでまた記録ヘッド201〜206が走査を行いながら、記録ヘッド201〜206から記録媒体へインクを吐出することによって記録を行う。前回の記録走査が終了してから続く記録走査が始まる前には、搬送ローラ103が回転して、主走査方向と交差する副走査方向(Y方向)へと記録媒体が搬送される。このように記録ヘッドの記録走査と記録媒体の搬送とを繰り返すことにより記録媒体107に対する画像の記録が完成する。記録ヘッド201〜206からインクを吐出する記録動作は、後述の制御手段による制御に基づいて行われる。
上記の例では、インクタンク207〜212と記録ヘッド201〜206とを分離可能にキャリッジ106に搭載する構成を示した。しかし、インクタンク207〜212と記録ヘッド201〜206とが一体となったカートリッジをキャリッジに搭載する形態を採用してもよい。さらに、一つの記録ヘッドから複数色のインクを吐出可能な複数色一体型の記録ヘッドをキャリッジに搭載する形態を採用してもよい。
以下、記録装置のデータ生成方法を説明する。図3は、図1に示したインクジェット記録装置の記録制御系回路の概略構成を示すブロック図である。インクジェット記録装置600は、インターフェイス400を介して、ホストコンピュータ(以下、ホストPC)1200等のデータ供給装置に接続されている。データ供給装置から送信される各種データや記録に関連する制御信号等は、インクジェット記録装置600の記録制御部500に入力される。記録制御部500は、インターフェイス400を介して入力された制御信号に従って後述のモータドライバ403、404やヘッドドライバ405を制御する。また、記録制御部500は、入力される画像データの処理や後述のヘッド種別信号発生回路405より入力される信号の処理を行う。401は、記録媒体107の搬送のために搬送ローラ103を回転させるための搬送モータである。402は、記録ヘッド201〜206を搭載するキャリッジ106を往復移動させるためのキャリッジモータである。403、404は、搬送モータ401、キャリッジモータ402をそれぞれ駆動するためのモータドライバである。405は記録ヘッド201〜206を駆動するヘッドドライバであり、記録ヘッドの数に対応して複数設けられている。また、406はヘッド種別信号発生回路であり、キャリッジ106に搭載されている記録ヘッド201〜206の種類や数を示す信号を記録制御部500に供給する。
図4はインクジェット記録装置とホストPCとで構成される画像処理システムにおける画像データ処理を行う概略構成を示す機能ブロック図である。インクジェット記録装置の記録制御部500は、インターフェイス400を介して、プリンタドライバがインストールされたホストPC1200より転送されるデータ処理を行う。
ホストPC1200では、アプリケーションから入力画像データ1000を受け取り、受け取った入力画像データ1000を1200dpi(dots/inch)の解像度でレンダリング処理1001を行う。これによって、記録用多値RGBデータ1002が生成される。本実施形態では、記録用多値RGBデータ1002は256値のデータである。生成された記録用多値RGBデータ1002は、記録制御部500に転送される。記録制御部500では、記録用多値RGBデータ1002を多値(256値)KCMYデータ1008に変換するための色変換処理1007を行う。次いで、多値(256値)KCMYデータ1008を量子化処理1009(例えば、誤差拡散)によって量子化(2値化)する。これにより、2値化されたKCMYデータが生成される。本実施形態では、解像度1200dpiの2値化されたKCMYデータが生成される。
このうちの2値化されたブラックデータに対して、エッジ処理を行う。図5はエッジ処理を示す図である。まず、非エッジ部検出処理2001を行う。2値ブラックデータのうちの、非エッジ部のデータ、つまり、非エッジ部データ2003が生成される。2値ブラックデータのうちの、非エッジ部データに該当しなかったデータを、エッジ部データ2103とする。エッジ部は、記録が行われない非記録領域に隣接する外周領域であり、その外周領域に囲まれた内部領域が非エッジ部である。本実施形態では、2値化されたブラックデータのうち、エッジ部を形成するために記録されるエッジ画素として、記録対象領域の最も外側の部分(外縁)から1画素(1ドット)が選択される。それ以外のデータについては、非エッジ部データとして記録に用いられる。
エッジ部データ及び非エッジ部データが生成されると、エッジ部データ及び非エッジ部データのそれぞれのデータに基づいて、インクが吐出されて記録が行われる。ここで、記録媒体へインクを吐出する順序について図2を参照して説明する。
図2(a)に、図1の記録ヘッド201〜206のうちブラックのインクを吐出する記録ヘッド201〜203について示す。記録ヘッド201、203から記録するインクは緩浸透インク(比較的記録媒体に浸透しにくいインク;以下、緩浸透インク)(第1のインク)である。また、記録ヘッド202から記録するインクは超浸透インク(比較的記録媒体に浸透しやすいインク;以下、超浸透インク)(第2のインク)である。これらの緩浸透インクと超浸透インクとは、記録媒体に記録されたときに同一の色として視認される。本実施形態では、記録ヘッドとして、緩浸透インクを吐出可能な記録ヘッド201(第1の記録ヘッド)と、超浸透インクを吐出可能な記録ヘッド202(第2の記録ヘッド)と、緩浸透インクを吐出可能な記録ヘッド203(第3の記録ヘッド)とを有している。すなわち、本実施形態では、吐出口列として、緩浸透インクを吐出可能な吐出口列(第1の吐出口列、第3の吐出口列)と、超浸透インクを吐出可能な吐出口列(第2の吐出口列)とを有している。
図2(b)に示されるように、−X方向に記録ヘッドを走査させる場合には、記録ヘッド201から内部領域(非エッジ部)と外周領域(エッジ部)の両方に対して緩浸透インク(図の211)を記録する。その後、内部領域(非エッジ部)に対して、記録ヘッド202から超浸透インク(図の212)を記録する。そして、外周領域(エッジ部)に対して、記録ヘッド203から緩浸透インク(図の213)を記録する。一方、X方向に記録ヘッドを走査させる場合には、図2(c)に示されるように、記録ヘッド203から内部領域(非エッジ部)と外周領域(エッジ部)の両方に対して緩浸透インク(図の223)を記録する。その後、内部領域(非エッジ部)に対して記録ヘッド202から超浸透インク(図の222)を記録する。そして、外周領域(エッジ部)に対して記録ヘッド201から緩浸透インク(図の221)を記録する。
内部領域への記録では、−X方向への記録時に記録ヘッド202から吐出した超浸透インク212は、先行して記録されている緩浸透インク211の上へ重ねて記録される。また、X方向への記録時に記録ヘッド202から吐出される超浸透インク222は、先行して記録されている緩浸透インク223の上へ重ねて記録される。このとき、緩浸透インク211、223は浸透しにくいインクであるから浸透速度は遅く、超浸透インク212、222が記録媒体表面に着弾するまで、記録媒体表面に留まっている。緩浸透インク211、223と超浸透インク212、222が記録媒体表面で混合することにより、両者の浸透速度が平均化される。このとき、緩浸透インクのみで記録した箇所よりも浸透速度が速くなる。すなわち、画像の内部領域に対し、浸透速度が遅い緩浸透インクで記録した後に浸透速度が速い超浸透インクで記録することで、緩浸透インクのみで記録した場合よりも色材が記録媒体の内部に浸透するため、耐擦過性や耐マーカー性を向上させることができる。
このように、内部領域への記録を行う場合、緩浸透インクと超浸透インクとが記録媒体上で少なくとも接するように、緩浸透インクを超浸透インクよりも先に記録媒体に吐出して記録を行う(内部領域記録シーケンス)。
また、外周領域については、緩浸透インクを吐出する記録ヘッド201及び記録ヘッド203からインクを吐出して記録を行う(外周領域記録シーケンス)。
仮にインクの色材が記録媒体の表面を越えて過度に盛り上がっている場合には、記録媒体上における色材の盛り上がった部分が指等に対して接触する虞がある。記録媒体の表面よりも上方に大きく盛り上がった部分の色材が指等に接触すると、記録画像が汚れ、記録画像の品質が低下する可能性がある。また、文字を形成する色材が記録媒体の表面よりも上方に過度に盛り上がった状態で、マーカーによってその文字が上からなぞられた場合、記録媒体の表面から盛り上がった部分の色材がマーカーによって汚され、記録画像の品質が低下する可能性がある。インクの色材が記録媒体内部に十分に浸透していれば、記録媒体の表面から過度に盛り上がることが抑えられ、指等の接触があった場合や記録画像の上をマーカーによってなぞられた場合にも、記録画像は汚されずに記録画像の品質が高く保たれる。
また、内部領域に対し、緩浸透インクに続いて超浸透インクで記録することで、超浸透インクに続いて緩浸透インクを吐出して記録を行う場合や、超浸透インクのみによって記録を行う場合よりも記録画像の光学濃度を上げることができる。
非エッジ部データ2003は、緩浸透インクを吐出する記録ヘッドと超浸透インクを吐出する記録ヘッドとの両方の記録ヘッドによって記録される。このうち、緩浸透インクを吐出する記録ヘッドについては、キャリッジ及び記録ヘッドの走査方向に応じて記録を担当する記録ヘッドを異ならせる。記録ヘッドの走査方向がX方向のときは、図2(c)のように記録ヘッド203によって緩浸透インク223を吐出する。また、記録ヘッドの走査方向が−X方向であれば、図2(b)のように記録ヘッド201によって緩浸透インク211を吐出する。このように、緩浸透インクの吐出を二つの記録ヘッドに振り分けて記録が行われている。こうすることで、図2(a)に示されるように、記録ヘッドの走査方向に関わらず、超浸透インクを吐出する記録ヘッド202よりも走査方向の前方に、緩浸透インクを吐出する記録ヘッド201、203のうちのいずれかが位置することになる。従って、記録ヘッド202から記録されるよりも前に、記録ヘッド201もしくは記録ヘッド203からの記録を行うことができる。このように、記録ヘッドの走査方向に関わらず、緩浸透インクで記録した後に超浸透インクで記録することができる。このように、内部領域への記録においては、記録ヘッド201が走査方向の前方にあるときには、記録ヘッド201及び記録ヘッド202からインクを吐出して記録を行う記録シーケンス(第1の記録シーケンス)を行う。また、記録ヘッド203が走査方向の前方にあるときには、記録ヘッド202及び記録ヘッド203からインクを吐出して記録を行う記録シーケンス(第2の記録シーケンス)を実行させる。
本実施形態では、エッジ部データ2003の記録においては、緩浸透インクを吐出する2つの記録ヘッドを用いて記録したが、1つの記録ヘッドのみによって記録することも可能である。例えば、エッジ部データ2003は、ヘッド走査方向がX方向である場合には記録ヘッド201のみから記録し、−X方向である場合には記録ヘッド203のみから記録する。これにより、既に超浸透インクが着弾した内部領域の滲みを視認しにくくすることができる効果もある。
図6を用いて、それぞれの領域ごとに、データを記録ヘッド201、202、203に振り分けてデータの分配を行う工程について説明する。本図において、1マスは記録データ上の1画素を示しており、1画素に1つのインクドットが打ち込まれる。詳しくは後述するが、図6は記録ヘッド201〜203にデータを振り分けるための説明図であり、図6(c)、(g)、(j)は、記録ヘッド201に対応している。同様に、図6(d)、(h)、(k)は記録ヘッド202、図6(e)、(i)、(l)は記録ヘッド203に対応している。図6(a)は、本実施形態で記録される記録領域の記録データの全体について示した図である。図6(a)に示される記録対象領域は、外縁から所定の画素数だけ内側の領域である外周領域と、外周領域よりも内側の内部領域とを有している。図6(a)〜(l)の中央部横方向に示される点線は、記録ヘッドの走査方向が異なる領域の境界を示す。点線より上部は、記録ヘッドの走査方向がX方向(図6での右方向)の際に記録される画素であり、点線より下部は、記録ヘッドの走査方向が−X方向(図6での左方向)の際に記録される画素である。非エッジ部検出処理2001が行われると、2値化された記録データから、図6(f)に示す画素を形成するための非エッジ部データ2003と図6(b)に示す画素を形成するためのエッジ部データ2103が生成される。
図6(b)〜(e)に示されるエッジ部データ2103の記録について説明する。図6(b)に示されるエッジ部データ2103は、緩浸透インクを吐出する記録ヘッド201及び203によって記録される。X方向への走査時には、記録ヘッド203が記録ヘッド201よりも走査方向の前方に位置する。従って、一回の走査で記録領域の記録を行いながら、図6(e)の上半分に示される画像が記録ヘッド203によって記録され、次いで同じ領域に対して、図6(c)の上半分に示される画像が記録ヘッド201によって記録される。X方向への走査が行われると、記録ヘッドの移動方向が折り返されて−X方向への走査が行われる。記録ヘッドの−X方向の走査時には、記録ヘッド201が記録ヘッド203よりも走査方向前方に位置している。従って、図6(c)の下半分に示される画像が記録ヘッド201によって記録され、次いで同じ領域に対して、図6(e)の下半分に示される画像が記録ヘッド203によって記録される。
次に、図6(f)〜(i)に示される非エッジ部データ2003の記録について説明する。図6(f)に、非エッジ部データ2003を示す。非エッジ部データ2003は、図6(a)に示される記録データ全体からエッジ部データ2103の部分を除いた領域の記録データである。
図6(f)の非エッジ部データ2003は、緩浸透インクを吐出する記録ヘッド201及び記録ヘッド203と、超浸透インクを吐出する記録ヘッド202との両方が用いられて記録が行われる。このとき、非エッジ部データ2003については、それぞれの記録領域で、記録される順序として、先に緩浸透インクによって記録された後に超浸透インクによる記録が行われる。
記録ヘッドがX方向へ走査する際には、図6(f)〜(i)の上半分の領域に対して記録が行われる。このとき、記録ヘッド203から緩浸透インクが吐出されると共に、記録ヘッド202から超浸透インクが吐出されて記録が行われる。このとき、記録ヘッド203は、記録ヘッド201よりも走査方向の前方に位置することになる。従って、一回の走査で記録領域の記録を行いながら、緩浸透インクを記録ヘッド203から所定領域に吐出し、続いてその部分に記録ヘッド202によって超浸透インクを吐出することが可能である。
X方向への走査が行われると、記録ヘッドの移動方向が折り返されて−X方向への走査が行われる。−X方向へ記録ヘッドの走査が行われる際には、緩浸透インクを吐出する記録ヘッド201と、超浸透インクを吐出する記録ヘッド202が用いられて記録が行われる。このとき、記録ヘッド201は、記録ヘッド202よりも走査方向の前方に位置することになる。従って、−X方向への走査においても、一回の走査で記録領域の記録を行いながら、緩浸透インクを記録ヘッド201から所定領域に吐出し、続いてその部分に記録ヘッド202によって超浸透インクを吐出することができる。このように、図6(f)に示される非エッジ部データ2003のうちのX方向に走査する際に記録される上半分のデータは、超浸透インクを吐出する記録ヘッド202及び緩浸透インクを吐出する記録ヘッド203へ振り分けられる。このとき、記録ヘッド202へ振り分けられるデータは図6(h)の上半分であり、記録ヘッド203へ振り分けられるデータは図6(i)の上半分である。また、非エッジ部データ2003のうちの−X方向に走査する際に記録される下半分のデータは、緩浸透インクを吐出する記録ヘッド201及び超浸透インクを吐出する記録ヘッド202へ振り分けられる。同様に、記録ヘッド201に振り分けられるデータは図6(g)の下半分であり、記録ヘッド202へ振り分けられるデータは図6(h)の下半分である。
以上から、それぞれの記録ヘッドが記録するデータは、以下の通りである。記録ヘッド201で記録するデータは、エッジ部データ図6(c)と非エッジ部データ図6(g)の論理和(図6(j))である。記録ヘッド202で記録するデータは、エッジ部データ図6(d)と非エッジ部データ図6(h)の論理和(図6(k))である。記録ヘッド203で記録するデータは、エッジ部データ図6(e)と非エッジ部データ図6(i)の論理和(図6(l))である。
また、本発明には、上述のようなインクジェット記録方法により、記録媒体の記録対象領域に対しインクジェット記録装置によってインクを吐出させて記録を行う際に、インクジェット記録装置を制御させるプログラムが含まれる。
本実施形態で使用されるインクの組成は次の通りである。なお、各成分の割合は質量部で示したものである(各成分の合計は100質量部)。
(超浸透インク)
顔料分散液 50質量部
グリセリン 10質量部
ポリエチレングリコール1000 1質量部
アセチレノールE100(川研ファインケミカル製) 1質量部
水 残部
(緩浸透インク)
顔料分散液 50質量部
グリセリン 10質量部
ポリエチレングリコール1000 1質量部
アセチレノールE100(川研ファインケミカル製) 0.03質量部
水 残部
また、上記顔料分散液は、次のようにして得たものである。
[顔料分散液]
表面積が230m2/gでDBP吸油量が70ml/100gのカーボンブラック10gとp−アミノ安息香酸3.41gとを水72gによく混合した後、これに硝酸1.62gを滴下して70℃で攪拌した。数分後5gの水に1.07gの亜硝酸ナトリウムを溶かした溶液を加え、更に1時間攪拌した。得られたスラリーを東洋濾紙No.2(アドバンティス社製)でろ過し、顔料粒子を十分に水洗し、90℃のオーブンで乾燥させた後、この顔料に水を足して顔料濃度10質量%の顔料水溶液を作成した。以上の方法により、表面にフェニル基を介して親水性基が結合したアニオン性に帯電した自己分散型カーボンブラックが分散した顔料分散液を得た。
本実施形態で採用したインク組成は、本発明が適用できる1例であり、同系色で、相対的な浸透性が異なる2つのインクを用いればよい。
本実施形態で用いた色材は自己分散型顔料と呼ばれるものであり、顔料粒子に親水基が付いたものである。一方で、樹脂分散型顔料と呼ばれる、顔料粒子に樹脂が付いており、その樹脂の親水基が水溶性を発揮するものもある。発明者らの検討によれば、本発明を適用するためには、より望ましくは自己分散型顔料を使用した方が良いが、樹脂分散型顔料でも発明の効果は得られた。
超浸透インクおよび緩浸透インクの浸透性の違いは、表面張力によって規定される。超浸透インクの表面張力は緩浸透インクの表面張力よりも小さく、かつ、超浸透インクの表面張力は20mN/m以上40mN/m以下、緩浸透インクの表面張力は40mN/m以上 60mN/m以下であれば、本発明の効果が得られた。表面張力を制御するために、本実施形態においては、アセチレノールE100(商品名;川研ファインケミカル社製)(エチレンオキサイド−2,4,7,9−テトラメチル−5−デシン−4,7−ジオール(ethylene oxide−2,4,7,9−tetramethyl−5−decyne−4,7−diol))という界面活性剤が用いられる。この界面活性剤によって、超浸透インクと緩浸透インクの浸透性を相対的に変化させているが、そのほかの溶剤によって変化させても良い。
このように、外周領域(エッジ部)に対しては緩浸透インクによって記録を行うことで、記録画像の滲みが低減されて記録画像の品質の低下を抑えつつ、画像の濃度を上げることができる。また、内部領域(非エッジ部)に対しては、緩浸透インクに続いて超浸透インクで記録することで、超浸透インクの記録媒体内部への浸透の度合いを抑制させることができる。従って、記録媒体の表面にインクの色材を多く残留させることができるので、内部領域の光学濃度を上げることができる。また、緩浸透インクのみによって記録が行われる場合に比べて、インクの色材が記録媒体の表面から盛り上がって残ることが抑えられる。従って、記録媒体の表面よりも上方に残ったインクの色材が、ユーザーの手やその他のものに接触することによって記録画像が汚れ、記録画像の品質を低下させることを抑えることができる。このように、記録媒体の表面よりも上方に盛り上がって残るインクを低減させることで、記録画像の耐擦過性及び耐マーカー性を向上させることができる。
(第二実施形態)
次に、本発明の第二実施形態に係るインクジェット記録装置による記録について説明する。なお、上記第一実施形態と同様に構成される部分については図中同一符号を付して説明を省略し、異なる部分についてのみ説明する。
第一実施形態では、エッジ部で緩浸透インクが打ち込まれると共に、非エッジ部の全てにおいて、先に緩浸透インクが打ち込まれ、その後に同一領域に対してインクを重ねるように超浸透インクが打ち込まれて記録が行われている。これに対して第二実施形態では、スループットを向上させるために、エッジ部及び非エッジ部で、一部のデータが間引かれて記録されている。そして、非エッジ部において、緩浸透インクにより記録されたドットと超浸透インクにより記録されたドットとが合わせられて互いに補完することで全体の記録画像が得られるように記録が行われている。本実施形態では、非エッジ部において、緩浸透インクによって記録された領域と超浸透インクによって記録された領域とが隣接するように記録が行われている。
個々の吐出口から連続的にインクを吐出する際には、インクの吐出を行うために記録素子に一旦エネルギーが加えられ、それから再度エネルギーが記録素子に加えられるのに一定の時間が必要となる。また、インクを吐出した後に、個々のノズルへインクを補給するためにインクのリフィル時間が必要となる。また、一定の時間ごとに、一定量の記録データを記憶領域に送信するための時間が必要になる。ここで、1回の走査で1つの記録ヘッドが記録可能なドットの数(以下、走査解像度とも言う)は、記録ヘッドの構成に強く依存する。記録ヘッドの構成を変えてその記録ヘッドの走査解像度を上げようとすると、記録ヘッドの構造を大きく変える必要があり、そこでコストアップをもたらしてしまう。
そこで、本実施形態では、1つの記録ヘッドが一回の走査で分担する記録ヘッドの走査方向(X方向又は−X方向)に関する記録可能なドットの数を、一つの記録ヘッドのみで記録する場合のn分の1としている。これだけではデータが欠落してしまうため、本実施形態では複数並べられた記録ヘッドに記録データを振り分けることにより、記録データを複数の記録ヘッドによって相互に補うこととしている。本実施形態では特に、1つの記録ヘッドが一回の走査で分担する記録ヘッドの走査方向に関する記録可能なドットの数を、一つの記録ヘッドのみで記録する場合の2分の1としている。そして、記録ヘッドのそれぞれにおける画素の数を、単一の記録ヘッドからインクを吐出することで形成される画素の数の2分の1としている。このように、本実施形態では、記録媒体に記録ヘッドからインクを吐出させる記録データを、それぞれの記録ヘッドに振り分けることで、一つの記録ヘッド当たりのインクの吐出数に対応する記録データの画素数を減少させている。
第二実施形態のフローでは、第一実施形態のフローと比較してエッジ処理以降が異なるので、図7および図8を用いてエッジ処理について説明する。ここで、2値化されたブラックデータについて、図8(a)に示す。図8(a)の中央部から横方向に示される点線は、記録ヘッドの走査方向が異なる領域の境界を示す。点線より上部は、記録ヘッドの走査方向がX方向(図8での右方向)のときに記録される画素であり、点線より下部は、記録ヘッドの走査方向が−X方向(図8での左方向)のときに記録される画素である。本実施形態では、記録ヘッド201、202、203における記録媒体の搬送方向に沿った長さは、図8(a)の縦方向の両端部の間の長さの半分であり、点線から縦方向の一方の端部までの長さである。
また、詳しくは後述するが、図8は記録ヘッド201〜203にデータを振り分けるための説明図であり、図8(c)、(g)、(j)は、記録ヘッド201に対応している。同様に、図8(d)、(h)、(k)は記録ヘッド202に、図8(e)、(i)、(l)は記録ヘッド203に対応している。
まず、非エッジ部検出処理2001を行う。2値化されたブラックデータのうちの、内部領域のデータ、つまり、非エッジ部データ2003が生成される。2値ブラックデータのうちの、非エッジ部データに該当しなかったデータを、エッジ部データ2103とする。非エッジ部検出処理2001を行って得られた非エッジ部データ2003及びエッジ部データ2103について、図8(f)及び図8(b)に示す。本実施形態では、外周領域(エッジ部)の幅を2画素分とする。
本実施形態のエッジ部データ2103は、そのデータのカラム位置に応じて、2つの記録ヘッドへ振り分けられる。エッジ部データ2103のうち奇数カラムのデータについては記録ヘッド201によって記録され、偶数カラムのデータについては記録ヘッド203によって記録される。ここでは、「奇数カラム」、「偶数カラム」とは、データにおけるカラムの位置について、左端部のカラムから奇数番目のカラムか偶数番目のカラムかのことを言うものとする。
非エッジ部データ2003においては、そのデータのカラム位置だけでなく、キャリッジ106及び記録ヘッド201〜206の走査方向に応じて、3つの記録ヘッドへデータが振り分けられる。非エッジ部への記録において走査方向がX方向である場合には、図8(h)、(i)に示されるように、奇数カラムのデータを記録ヘッド202、偶数カラムのデータを記録ヘッド203で記録する。走査方向が−X方向である場合には、図8(g)、(h)に示されるように、奇数カラムのデータを記録ヘッド201、偶数カラムのデータを記録ヘッド202で記録する。
図8(b)のエッジ部データ2103を記録する場合には、そのカラム位置に応じて、図8(c)の奇数カラムのデータを記録ヘッド201によって記録し、図8(e)の偶数カラムのデータを記録ヘッド203で記録する。従って、エッジ部データ2103は、全て緩浸透インクによって記録される。
図8(f)の非エッジ部データ2103の記録においては、走査方向がX方向(点線よりも上部の領域)の記録の際には、偶数カラムのデータを記録ヘッド203によってまず記録し、同じ走査で奇数カラムのデータを記録ヘッド202によって記録する。走査方向が−X方向(点線よりも下部の領域)の記録の際には、奇数カラムのデータを記録ヘッド201によって記録し、偶数カラムのデータを記録ヘッド202によって記録する。このように、走査方向の前方の記録ヘッドで緩浸透インクによる記録が行われ、それと同じ走査で走査方向の後方の記録ヘッドで超浸透インクによる記録が行われる。従って、先に緩浸透インクにより記録が行われ、その後に超浸透インクによる記録が行われる。
非エッジ部データ2103の上部下部を合わせて、図8(g)〜(i)に示す。また、非エッジ部データ2103の記録において、記録ヘッド201で記録するデータを図8(g)に示し、記録ヘッド202で記録するデータを図8(h)に示し、記録ヘッド203で記録するデータを図8(i)に示す。以上から、第二実施形態において、それぞれの記録ヘッドが記録するデータは、以下の通りである。記録ヘッド201で記録するデータは、エッジ部データ図8(c)と非エッジ部データ図8(g)の論理和(図8(j))である。記録ヘッド202で記録するデータは、エッジ部データ図8(d)と非エッジ部データ図8(h)の論理和(図8(k))である。記録ヘッド203で記録するデータは、エッジ部データ図8(e)と非エッジ部データ図8(i)の論理和(図8(l))である。
図8に示されるように、それぞれの記録ヘッド201〜203がそれぞれの走査で記録するデータは走査方向に関して間引かれており、第一実施形態と比較して、一回の走査で記録可能なデータのうちの半分のデータを記録する。このため、走査ごとの、記録データをデータ記憶領域に転送するデータ転送のための時間やインクのリフィル時間が半分で済むため、記録ヘッドの走査速度を2倍に上げることができる。例えば、走査解像度が1200dpiである構成をとった場合の走査速度が25ips(inches/second)である場合には、走査解像度を600dpiへ下げることができる。このため、記録ヘッドの走査速度を50ipsまで上げることが可能となり、記録にかかる時間も短くなる。従って、本実施形態の記録方法によって記録を行うことにより、記録ヘッドの走査速度を向上させることができるので、記録のスループットを向上させることができる。また、それと共に、内部領域の耐擦過性を向上させることができる。
本実施形態では、非エッジ部(内部領域)に対して、先行して緩浸透インクを吐出し、カラム位置によって間引かれたデータを記録する。その後、緩浸透インクの吐出が間引かれた部分に対し、超浸透インクを吐出して記録する。このとき、緩浸透インクで記録される記録領域(第1の記録領域)と、超浸透インクで記録される記録領域(第2の記録領域)とが、少なくとも一部が接するように記録されている。緩浸透インクによって記録される記録領域と、超浸透インクによって記録される記録領域とが接することで、記録媒体表面で緩浸透インクと超浸透インクとが混合される。これにより、内部領域の耐擦過性及び耐マーカー性を向上させると共に、記録画像の光学濃度を増大させることができる。
また、スループットの向上のために、X方向と−X方向の両方の双方向記録で、緩浸透インクの後に超浸透インクを吐出するのであれば、それぞれの方向への記録で緩浸透インクと超浸透インクとを吐出するための二つの記録ヘッドが必要である。従って、X方向への記録と、−X方向への記録との両方で、緩浸透インクを吐出した後に超浸透インクを吐出するためには、通常、合計4つの記録ヘッドが必要とされると考えられる。しかしながら、本実施形態のインクジェット記録装置における記録ヘッドの配置構成では、超浸透インクを吐出する記録ヘッドが一つ配置されているだけである。すなわち、X方向への走査の際の記録と、−X方向への走査の際の記録とで、超浸透インクを吐出する記録ヘッドを共用している。これにより、超浸透インクを吐出する記録ヘッドの個数を減少させ、インクジェット記録装置の構成を簡素化させている。これにより、インクジェット記録装置を小型化すると共に、インクジェット記録装置の製造コストを低く抑えることができる。
なお、本実施形態では、内部領域(非エッジ部)への記録において、最後続の記録ヘッド、すなわち−X方向への走査での記録ヘッド203、X方向への走査での記録ヘッド201からは、インクの吐出を行っていないが、本発明はこれに限定されない。最後続の記録ヘッドからインクの吐出を行う場合、耐擦過性及び耐マーカー性が低下する可能性があるが、それを許容できるのであれば、最後続の記録ヘッドからインクの吐出を行っても良い。その場合には、記録画像の光学濃度をさらに増加させることができる。最後続の記録ヘッドを用いて記録を行うかどうかについては、設計時に、記録装置の製品ごとに調整すれば良い。
このように、本実施形態では、内部領域(非エッジ部)への記録において、緩浸透インク及び超浸透インクの記録を、カラムごとに分けて記録を行う。このとき、内部領域においては、記録媒体にインクが付与される際に、第一実施形態のように、緩浸透インクの上に超浸透インクが重ねられるように記録媒体上の同じ位置(画素)にインクの吐出が行われなくとも良く、異なる位置でもよい。本発明は、緩浸透インクが超浸透インクよりも先に内部領域に吐出されればよいため、記録媒体上で緩浸透インクのドットと超浸透インクのドットとが隣接するようにインクの吐出が行われれば良い。緩浸透インクのドットと超浸透インクのドットが、記録媒体上で少なくとも一部が重なるようにそれぞれの記録ヘッドからインクを吐出するためのデータを生成しても良い。このように記録が行われることでも本発明の効果を得ることができる。なお、本実施形態では、カラムごとに超浸透インクによって形成されるドットと緩浸透インクにより形成されるドットが使い分けられているが、本発明はこれに限定されない。超浸透インクによって形成されるドットと緩浸透インクにより形成されるドットが、千鳥格子状に分けられても良いし、その他の分け方が採用されても良い。
(第三実施形態)
次に、本発明の第三実施形態に係るインクジェット記録装置による記録について説明する。なお、上記第一実施形態及び第二実施形態と同様に構成される部分については図中同一符号を付して説明を省略し、異なる部分についてのみ説明する。
第一実施形態及び第二実施形態では、外周の縁部から1画素もしくは2画素の幅を記録領域におけるエッジ部として記録画像を形成している。これに対して本実施形態では、エッジ部として4画素が選択されて記録を行う。図9を用いて、それぞれのデータの記録ヘッドへの分配について説明する。
画像の記録がより高解像度になると、エッジ部の幅(以下、エッジ画素数と呼ぶ)もそれに応じてより増加させた方が望ましい。エッジ画素数は、解像度によっておおよそ決定される記録ヘッドからのインクの吐出量に依存する。例えば、600×600dpiの解像度でインクの吐出を行う記録ヘッドによって画像を形成する場合には、記録ヘッドから吐出するインクの量(すなわち吐出量)として、15〜30pl程度のインク吐出量が選択されて記録装置が設計されることが多い。この場合の普通紙でのドット径は、60μm程度であることが多い。
また、例えば1200×1200dpiの解像度でインクの吐出を行うことのできる記録ヘッドによって画像を形成する場合には、記録ヘッドから吐出するインクの量(すなわち吐出量)として、4〜15pl程度が選択されて記録装置が設計されることが多い。この場合、記録媒体上に吐出されたインクによるドット径は、普通紙上で30μm程度であることが多い。
内部領域のインクが外周領域を超えて記録したい画像よりもはみ出ることは望ましくない。そのため、緩浸透インクによって形成された外周領域がある程度の幅を有していることが好ましい。内部領域の外側にある程度の幅を有する外周領域が形成されていることで、内部領域に吐出される超浸透インクによる滲みが外周領域を超えて、外周領域の外側にはみ出すことが抑えられる。解像度が高くなっても、超浸透インクによる滲みが外周領域を超えないように、外周領域の幅が保たれることが望ましい。上述の例の600×600dpiと1200×1200dpiとの解像度の記録の例で考慮すると、600×600dpiの場合にエッジ画素数が十分であれば、1200×1200dpiでのエッジ画素数は600×600dpiの場合の2倍程度であれば良い。このように解像度に応じて画素数を選択することで、外周領域(エッジ部)の幅が保たれ、外周領域を超える内部領域からの超浸透インクによる滲みを抑えることができる。そのため、記録画像の品質の低下を抑えることができる。このように、エッジ部の領域の幅(外周領域の幅)が内部領域に打ち込まれる超浸透インクと外部領域に打ち込まれる緩浸透インクの浸透性の差によって決められ、画素数は解像度に応じて決定されることが望ましい。そのため、記録ヘッドによるインク吐出の解像度が高解像度に設定されている場合には、それに応じてエッジ部を形成する画素数を増加させることが望ましい。
(第四実施形態)
次に、本発明の第四実施形態に係るインクジェット記録装置による記録について説明する。なお、上記第一実施形態ないし第三実施形態と同様に構成される部分については図中同一符号を付して説明を省略し、異なる部分についてのみ説明する。
第一実施形態ないし第三実施形態における記録装置では、緩浸透インクを吐出する二つの記録ヘッドと、超浸透インクを吐出する一つの記録ヘッドとの計三つの記録ヘッドが用いられて記録が行われている。これに対して本実施形態における記録装置では、緩浸透インクを吐出する一つの記録ヘッドと、超浸透インクを吐出する一つの記録ヘッドとの計二つの記録ヘッドのみを用いて記録を行う。本実施形態では、第一実施形態ないし第三実施形態の記録ヘッドと比較して若干スループットが落ちるが、記録ヘッドの数が少なくて済むため、記録装置のコストを低減させることができる。
以下、本実施形態に係る記録装置の記録ヘッド301〜305について説明する。本実施形態の記録ヘッド301〜305は、それぞれ5つのインク(ブラック(緩浸透インク)、ブラック(超浸透インク)、シアン、マゼンタ、イエロー:Ke、Km、Ke、C、M、Y)を吐出可能に構成されている。記録ヘッド301〜305のうち、ブラックのインクを吐出する記録ヘッドは、記録ヘッド301、302である。さらにこれらのブラックのインクを吐出する記録ヘッドのうち、記録ヘッド301が、比較的記録媒体に浸透しにくい緩浸透インクを吐出する。また、記録ヘッド302が、比較的記録媒体に浸透しやすい超浸透インクを吐出する。
また、説明のため、記録ヘッド301、302を記録媒体の搬送方向に2分割し、領域ごとにインクを吐出する2パス記録の形態を用いて説明する。記録ヘッド301の上半分(記録媒体の搬送方向の上流側)を301aとし、下半分(記録媒体の搬送方向の下流側)を301b、記録ヘッド302の上半分を302a、下半分を302bとする。
ここで、走査開始方向という判断基準について説明する。例えば本実施形態の記録装置が2パス双方向記録の形式である場合には、記録ヘッドの一回の走査が終わるごとに、記録ヘッドが記録できる幅の半分の距離だけ、記録媒体を搬送する。記録媒体を固定して考えた方が理解し易いので、記録媒体を固定として、図11を用いて説明する。
本実施形態では、同一の記録対象領域に対して記録ヘッドが複数回走査することで記録対象領域上を複数回通過し、その度にインクの吐出が行われ、複数回の走査によって画像が記録されるマルチパス方式のインクジェット記録装置を用いている。本実施形態の2パス記録では、記録ヘッドが同一の記録対象領域に対して2回の走査を行うことで画像を記録する。
また、本実施形態では、記録ヘッドに形成された複数の吐出口が、複数の領域に区画されている。記録媒体の搬送方向に沿って区画された半分の吐出口が一回目の走査で記録対象領域上を通過し、二回目の走査で残りの吐出口が記録対象領域上を通過する。そのため、二回の走査で記録対象領域の画像の記録が完成する。この記録対象領域における画像のうち、内部領域に対しては、先に緩浸透インクを吐出する記録ヘッドに形成された複数の吐出口のうち、区画された一部の吐出口からインクを吐出して記録が行われる(第3の記録シーケンス)。そして、その後に、超浸透インクを吐出する記録ヘッドに形成された複数の吐出口のうち、区画された一部の吐出口からインクを吐出して記録が行われる(第4の記録シーケンス)。
記録ヘッドをX方向に走査させて領域(1)を記録した後、記録媒体を搬送させて、その後、記録ヘッドを−X方向に走査させて領域(1)および(2)を記録する。それから再び記録媒体を搬送し、記録ヘッドをX方向に走査して領域(2)および(3)を記録する。これらの走査と記録媒体の搬送とを繰り返すことで、画像データを記録媒体へ記録する。
ここで、領域(1)に着目すると、記録ヘッドのX方向の走査による記録に引き続いて、−X方向の走査による記録が行われる。また、領域(2)に着目すると、記録ヘッドの−X方向の走査による記録に引き続いて、X方向の走査による記録が行われる。すなわち、記録媒体に対して最初に記録が行われるときの記録ヘッドの走査方向は、記録媒体上の領域によって異なる。領域(1)や(3)のように、最初に記録が行われる際の記録ヘッドの走査方向がX方向である場合、本明細書上では、「走査開始方向がX方向である」と表現する。同様に、領域(2)や(4)のように、最初に記録が行われる際の記録ヘッドの走査方向が−X方向である場合、本明細書上では、「走査開始方向が−X方向である」と表現する。
ここで図10を参照して、記録媒体にインクを付与する順序について説明する。図10(a)に記録ヘッド301〜305のうちブラックのインクを吐出する記録ヘッド301、302を示す。このうち、記録ヘッド301は緩浸透インクを吐出する記録ヘッドであり、記録ヘッド302は超浸透インクを吐出する記録ヘッドである。図10(b)、(c)にそれぞれの記録ヘッドからインクを吐出する順序について示す。図10(b)は−X方向への走査によって記録が開始された記録領域のインクが付与される順序について示されている。また、図10(c)はX方向への走査によって記録が開始された記録領域のインクが付与される順序について示されている。
図10(b)を用いて、記録媒体における走査開始方向が−X方向である領域に対する記録について説明する。一回目の走査で、内部領域と外周領域に記録ヘッド301aから緩浸透インク311aを吐出すると共に、内部領域に記録ヘッド302aから超浸透インク312aを吐出する。一回の走査を終えると、記録媒体が所定距離搬送され、そこで走査方向が切り替わり、記録ヘッド301〜305はX方向へ走査しながらインクの吐出を行う。記録ヘッドがX方向へ走査を行う際には、外周領域に対し、記録ヘッド301bによって緩浸透インク311bの吐出を行いながら記録が行われる。
次に、図10(c)を用いて、記録媒体における走査開始方向がX方向である領域に対する記録について説明する。一回目の走査で、内部領域と外周領域に記録ヘッド301aから緩浸透インク321aを吐出する。一回の走査が終わると、記録媒体が所定距離搬送され、そこで走査方向が切り替わり、記録ヘッドが−X方向に走査しながらインクの吐出を行う。記録ヘッドが−X方向へ走査を行う際には、外周領域に記録ヘッド301bから緩浸透インク321bを吐出すると共に、内部領域に記録ヘッド302bから超浸透インク322bを吐出する。本実施形態では、緩浸透インクを吐出する記録ヘッド301bは、外周領域のみにインクの吐出を行い、超浸透インクを吐出する記録ヘッド302a、302bは、内部領域にのみインクの吐出を行う。
次に、2値化されたブラックデータについて行われるエッジ処理について説明する。図12に、エッジ処理の工程の図を示す。まず、非エッジ部検出処理5001を行う。2値化されたブラックデータのうちの、非エッジ部のデータ、つまり、非エッジ部データ5003が生成される。2値化されたブラックデータのうちの、非エッジ部データに該当しなかったデータを、エッジ部データ5103とする。本実施形態では、エッジ画素として、2画素を選択する。本実施形態では、記録ヘッドの走査開始方向に応じて、データをそれぞれの記録ヘッドに分配する。
エッジ部データ5103は、記録ヘッド走査開始方向がX方向の領域であれば、奇数カラムのデータは記録ヘッド301aで記録し、偶数カラムのデータは記録ヘッド301bで記録する。記録ヘッド走査開始方向が−X方向の領域であれば、奇数カラムのデータは記録ヘッド301bで記録し、偶数カラムのデータは記録ヘッド301aで記録する。
非エッジ部データ5003は、記録ヘッドの走査開始方向がX方向の領域であれば、奇数カラムのデータは記録ヘッド301aで記録し、偶数カラムのデータは記録ヘッド302bで記録する。記録ヘッドの走査開始方向が−X方向の領域であれば、奇数カラムのデータは記録ヘッド302aで記録し、偶数カラムのデータは記録ヘッド301aで記録する。
図13を用いて、これらの関係を説明する。前述の実施形態と同様に、図13(c)、(h)、(l)は、記録ヘッド301aに対応している。同様に、図13(d)、(i)、(m)は記録ヘッド302aに、図13(e)、(j)、(n)は記録ヘッド301bに、図13(f)、(k)、(o)は記録ヘッド302bに対応している。
2値化されたブラックデータにより記録媒体に打ち込まれる画素について図13(a)に示す。図13(a)から中央部横方向に延びるように示される点線は、記録ヘッドの走査開始方向が変化する位置を示す。
点線より上部は、図11での領域(1)や(3)のような記録ヘッドの走査開始方向がX方向(図13での右方向)の領域であり、点線より下部は、図11での領域(2)や(4)のような記録ヘッドの走査開始方向が−X方向(図13での左方向)の領域である。記録データは、非エッジ部検出処理2001が行われて、非エッジ部データ5003とエッジ部データ5103が生成される。
図13(b)に、図13(a)に示される2値化されたブラックデータのうち、エッジ部データ5103について示す。エッジ部データ5103のうち、記録ヘッドの走査開始方向がX方向の領域(点線より上部)であれば、奇数カラムのデータは記録ヘッド301aに振り分けられて記録される(図13(c))。また、エッジ部データ5103のうち、記録ヘッドの走査開始方向がX方向の領域における偶数カラムのデータは記録ヘッド301bに振り分けられて記録される(図13(e))。エッジ部データ5103のうち、記録ヘッドの走査開始方向が−X方向の領域(点線より下部)であれば、奇数カラムのデータは記録ヘッド301bに振り分けられて記録される(図13(e))。また、エッジ部データ5103のうち、記録ヘッドの走査開始方向が−X方向の領域における偶数カラムのデータは記録ヘッド301aに振り分けられて記録される(図13(c))。
図13(g)に、図13(a)に示される2値化されたブラックデータのうち、非エッジ部データ5003について示す。図13(g)に示される非エッジ部データ5003のうち、記録ヘッドの走査開始方向がX方向の領域(点線より上部)における、奇数カラムのデータについては記録ヘッド301aに振り分けられる。そして、記録ヘッド301aに振り分けられたデータに応じて、記録ヘッド301aによって記録される(図13(h))。また、非エッジ部データ5003のうち、記録ヘッドの走査開始方向がX方向の領域における、偶数カラムのデータについては記録ヘッド302bに振り分けられ、記録ヘッド302bによって記録される(図13(k))。
また、非エッジ部データ5003のうち、記録ヘッドの走査開始方向が−X方向の領域(点線より下部)であれば、奇数カラムのデータについては記録ヘッド302aに振り分けられて記録される(図13(i))。非エッジ部データ5003のうち、記録ヘッドの走査開始方向が−X方向の領域における偶数カラムのデータについては、記録ヘッド301aに振り分けられて記録される(図13(h))。
以上から、それぞれの記録ヘッドが記録するデータは、以下の通りである。記録ヘッド301aによって記録されるデータは、エッジ部データ図13(c)と非エッジ部データ図13(h)との論理和の図13(l)である。記録ヘッド302aによって記録されるデータは、エッジ部データ図13(d)と非エッジ部データ図13(i)との論理和の図13(m)である。また、記録ヘッド301bによって記録されるデータは、エッジ部データ図13(e)と非エッジ部データ図13(j)との論理和の図13(n)である。また、記録ヘッド302bによって記録されるデータは、エッジ部データ図13(f)と非エッジ部データ図13(k)との論理和の図13(o)である。
図13に示されるように、それぞれの記録ヘッド301、302によって記録されるデータは主走査方向(図1のX方向、図13での横方向)に関して間引かれており、一回の走査につき、記録されるデータのうちの半分のデータについての記録が行われる。このため、一回の走査で全ての記録データについての記録が行われる場合に比べて記録ヘッドへのデータ転送にかかる時間やリフィル時間が半分で済む。そのため、記録ヘッドの主走査速度を2倍に上げることができる。例えば、記録ヘッドの走査解像度が1200dpiである構成をとった場合の主走査速度が25ipsである場合には、一回の走査で記録される記録データが間引かれることで記録されるドット数が600dpiに下げることができる。これにより、記録ヘッドの主走査速度を50ipsまで上げることが可能となる。このため、記録全体にかかる時間が短縮化され、記録のスループットが向上する。
図14を参照してさらに説明する。図14(a)及び図14(b)において、走査開始方向は、領域(1)及び領域(3)ではX方向、領域(2)では−X方向である。本実施形態では、走査開始方向がX方向か−X方向かに関わらず、外周領域(エッジ部)への記録においては、記録ヘッド301aからのインクの吐出に引き続いて記録ヘッド301bからインクの吐出を行う。記録ヘッド301a及び記録ヘッド301bの両方の記録ヘッドからインクの吐出を行って記録が行われることで、一回の走査で記録されるドット数を低減させても、その分をお互いの記録ヘッドからのインクの吐出によって補完できる。内部領域への記録においては、全ての領域で記録ヘッド301aから緩浸透インクの吐出が行われる。ここでの記録では、データの半分が間引かれており、記録ヘッド301aからのインクの吐出によって記録されなかった部分について補完するために、他の記録ヘッドによってインクの吐出が行われる。
図14(a)の領域(1)に示されるように、走査開始方向が−X方向である場合には、記録ヘッド301aからのインクの吐出が行われる走査と同一の走査のときに記録ヘッド302aからのインクの吐出によって記録が行われる。このとき、記録ヘッド302aは、記録ヘッド301aよりも走査方向の後方に位置しているので、記録ヘッド301aからの緩浸透インクによるインクの吐出が行われてから、記録ヘッド302aからの超浸透インクによるインクの吐出が行われる。そのため、記録媒体へのインクの吐出が行われる順序としては、緩浸透インクによるインクの吐出が行われた後に超浸透インクによるインクの吐出が行われる。
また、図14(a)、(b)に示されるように、走査開始方向がX方向である場合には、一回目の走査での記録の際に、記録ヘッド302aからのインクの吐出は行われずに、記録ヘッド301aからのインクの吐出が行われる。走査開始方向がX方向である場合に、記録ヘッド302aからのインクの吐出によって記録が行われないのは、記録ヘッド301aから緩浸透インクを記録する以前に、超浸透インクを吐出する記録ヘッド302aが記録対象領域を通過してしまうからである。すなわち、このような場合には、本発明の構成要件であるところの、緩浸透インクに続いての超浸透インクによる記録を行うことができない。
記録ヘッド301aからのインクの吐出による記録が行われ、一回の走査を終えると、走査方向が切り替えられて−X方向に走査する。このとき、図14(b)の領域(2)に示されるように、内部領域では記録ヘッド302bによって超浸透インクによるインクの吐出が行われて記録が行われる。
このように、走査開始方向がX方向であっても−X方向であっても、記録ヘッド302a、302bから吐出される超浸透インクは、先行して記録されている緩浸透インクの後に記録される。本実施形態において、先に吐出されている緩浸透インクのドットと、後から吐出される超浸透インクのドットとは、記録データ上で重複あるいは隣接しており、それぞれの記録データが少なくとも相互に接している。
このとき、緩浸透インクは浸透速度が相対的に遅いインクであるから、記録ヘッド302a、302bから吐出される超浸透インクが記録媒体表面に着弾するまで、記録媒体表面に留まっている。緩浸透インクと超浸透インクがお互いに接することで、それぞれが混合されて両者の浸透速度が平均化される。すなわち、緩浸透インクのみで記録した箇所よりも、浸透速度が速くなる。このように、画像の内部領域(非エッジ部)の一部に対して、浸透速度が遅いインクの後に浸透速度が速いインクを用いて記録を行うことにより、浸透速度が遅い緩浸透インクのみで記録する場合よりも耐擦過性を向上させることができる。
また、さらに記録ヘッド301bから吐出した緩浸透インクは、記録ヘッド301aによって先行して記録されている緩浸透インクの上へ記録される。このとき緩浸透インクは浸透速度が遅いインクであるから、最後続の記録ヘッドから吐出されるインクが記録媒体表面に着弾するまで、記録媒体表面に留まっている。緩浸透インクと緩浸透インクが記録媒体表面で混合しても、浸透速度は速くはならず、遅い浸透速度のインクが2滴記録されただけである。画像の外周領域(エッジ部)に、浸透速度が遅いインクで記録することにより、画像端部のシャープネスを向上させることができ、文字品位や線品位が向上する。また、内部領域へ緩浸透インクに続いて超浸透インクで記録することで、超浸透インクのみによって記録が行われる場合と比較して内部領域の光学濃度を増大させることができる。
以上説明したように、本実施形態では、緩浸透インクを吐出する記録ヘッドと超浸透インクを吐出する記録ヘッドとのそれぞれの記録ヘッドについて、記録ヘッドを複数の領域に分割している。これにより、それぞれの記録ヘッドに形成された複数の吐出口が複数の領域に区画される。そして、内部領域への記録においては、緩浸透インクを吐出する記録ヘッドのうちの一部の領域が先に記録対象領域上を通過し、その後超浸透インクを吐出する記録ヘッドの一部が記録対象領域上を通過する。それぞれの記録ヘッドが記録領域上を通過するときにインクを記録領域に吐出することで記録が行われる。
記録ヘッドが走査を行いながら走査方向に関わらず記録対象領域に緩浸透インクを先に吐出し、その後記録対象領域に超浸透インクを吐出する場合には、通常、記録ヘッドが4つ必要とされると考えられる。しかしながら、第四実施形態では複数回の走査によって記録画像が形成されるマルチパス形式の記録装置が用いられ、それぞれの記録ヘッドに形成された複数の吐出口が複数の領域に区画されている。そして、記録ヘッドの走査方向に関わらず、緩浸透インクを吐出する記録ヘッドの一部によって記録対象領域を記録した後に、超浸透インクを吐出する記録ヘッドの一部によって記録対象領域を記録することが可能に形成されている。
このように、本実施形態では、緩浸透インクを吐出する一つの記録ヘッドと、超浸透インクを吐出する一つの記録ヘッドとの計二つの記録ヘッドを用いて記録を行う。第一実施形態ないし第三実施形態の記録ヘッドに比較して若干スループットが低下するが、記録ヘッドの数が少なくて済むため、記録装置のコストを低減させることができる。
なお、緩浸透インクを吐出する記録ヘッドと超浸透インクを吐出する記録ヘッドとのそれぞれの記録ヘッドにおいて、複数の吐出口が二つの領域に区分されて分割されることとしたが、本発明はこれに限定されない。緩浸透インクを吐出する記録ヘッドと超浸透インクを吐出する記録ヘッドのそれぞれが、二つ以上の領域に分割されたとしても良い。このとき、緩浸透インクを吐出した後に超浸透インクを吐出するように順序が定められるのであれば、それぞれの記録ヘッドの領域の分割は二つでなくとも良い。また、本実施形態では2パス記録の例を用いて説明したが、本実施形態はこれに限るものではなく、3パス記録や4パス記録のような場合であってもよい。この場合も、記録対象領域に対する1走査目の記録において、先に緩浸透インクを吐出し、その後に超浸透インクを吐出するように記録ヘッドを制御すればよい。
(第五実施形態)
次に、本発明の第五実施形態に係るインクジェット記録装置による記録について説明する。なお、上記第一実施形態ないし第四実施形態と同様に構成される部分については図中同一符号を付して説明を省略し、異なる部分についてのみ説明する。
上述した第一実施形態ないし第四実施形態では、記録ヘッドから吐出されるインクの種類としてブラックのみが吐出される例について説明した。第五実施形態では、カラーインクによる記録と並行してブラックインクによる記録が行われる場合について説明する。
カラーインクによって記録された画像とブラックインクによって記録された画像とがお互いに隣接して記録される場合には、それぞれの画像が隣接している部分については、エッジ部として記録するのではなく非エッジ部として記録を行う方が良いことが多い。カラー画像の記録と並行してブラックインクの記録を行う場合の、記録データの生成方法について図15に示す。
図15(a)において、斜線部はカラー画像のデータであり、黒塗り部は図8(a)と同様に、ブラックインクにより記録される部分の2値化された記録データである。図15(b)にエッジ部データ2103について示し、図15(f)に非エッジ部データ2003について示す。第二実施形態の図8と比較すると、図15(b)に示されるように、カラーインクによる記録される記録データと隣接している部分において、ブラック単独のデータではエッジと考えられていた部分の一部(右端部)が非エッジ部としてデータ生成されている。
また、カラーの緩浸透インクとブラックの緩浸透インクとで記録媒体への浸透性ついて比較したときにカラーインクの浸透性の方が高い場合には、ブラックインクにおける相対的な浸透性をより高くした方が望ましい。そのような場合には、記録媒体に浸透しなかったブラックインクがカラーインクによって記録される部分のインクに混じり、ブラックインクがカラーインクによって記録される領域に流れ出してしまう可能性がある。そのため、ブラックインクとカラーインクとが隣接する領域でブラックインクによる記録対象領域を緩浸透インクのみで記録すると、記録画像の品質が低下する可能性がある。このような事態が発生することを防ぐために、ブラックインクの記録領域とカラーインクの記録領域とが隣接している場合には、ブラックインクにおける相対的な浸透性をより高くした方が画像品位が向上すると考えられる。
(第六実施形態)
次に、本発明の第六実施形態に係るインクジェット記録装置による記録について説明する。なお、上記第一実施形態ないし第五実施形態と同様に構成される部分については図中同一符号を付して説明を省略し、異なる部分についてのみ説明する。
第二実施形態ないし第五実施形態では、記録データを複数の記録ヘッドに振り分けることで、1つの記録ヘッドが分担する一回の走査での記録の際の走査方向(主走査方向)に関する記録可能なデータ上のドット数をデータ記録解像度の2分の1とした。こうすることで、記録ヘッドの走査速度を増大させ、記録の際のスループットを向上させている。これに加え、本実施形態では、緩浸透インクを吐出するための記録ヘッドの個数を増加させることで1つの記録ヘッドが分担する記録ヘッドの主走査方向(X方向)における記録すべきドット数をさらに減少させている。これにより、記録ヘッドの走査速度をさらに向上させ、記録のスループットを向上させることができる。
図16を用いて、記録ヘッドの構成と、インクの付与順序について説明する本実施形態では、記録ヘッドを計5つ用いている。超浸透インクを吐出する記録ヘッド412を挟むように、緩浸透インクを吐出する記録ヘッド411L、411R、413L、413Rが、記録ヘッド412の両側部に配置されている。本実施形態では、記録ヘッド412の図16における左側に記録ヘッド411L、411Rが配置され、記録ヘッド412の図16における右側に記録ヘッド413L、413Rが配置されている。
本実施形態の記録装置によって記録されるときには、内部領域(非エッジ部)へは、先に緩浸透インクを吐出する2つの記録ヘッドによるインクの吐出が行われる。このとき、記録ヘッドの走査方向がX方向であれば記録ヘッド413R及び記録ヘッド413Lが用いられ、−X方向であれば411L及び記録ヘッド411Rが用いられる。そして、その後に、記録ヘッド412から超浸透インクを吐出して記録を行う。また、外周領域への記録においては、緩浸透インクを吐出する記録ヘッドのうち走査方向の後方に配置された記録ヘッド(X方向であれば411Rもしくは411L、−X方向であれば413Lもしくは413R)からインクを吐出して記録を行う。
(第七実施形態)
次に、本発明の第七実施形態に係るインクジェット記録装置による記録について説明する。なお、上記第一実施形態ないし第六実施形態と同様に構成される部分については図中同一符号を付して説明を省略し、異なる部分についてのみ説明する。
本実施形態では、緩浸透インクの色材濃度を、超浸透インクの色材濃度よりも薄くすることとする。記録画像の外周領域においては、緩浸透インクのみが記録されることになる。そのため、記録媒体の表面を越えて盛り上がった部分が発生し易い。そのような部分においては、記録媒体上の色材が指等に対して接触し、記録画像が汚れ、記録画像の品質が低下する可能性がある。また、マーカーによって画像上をなぞったときに、色材がマーカーによって汚され、記録画像の品質が低下する可能性がある。
従って、外周領域において記録媒体の表面よりも色材が盛り上がることを防ぐために、本実施形態では外周領域へ記録する緩浸透インクの色材濃度を減少させている。これにより、記録画像における外周部分の耐マーカー性や擦過性を向上させることができる。本実施形態で使用したインクの組成は次に示す通りである。なお、各成分の割合は質量部で示したものである(各成分の合計は100質量部)。
(緩浸透インク2)
顔料分散液 20質量部
グリセリン 10質量部
ポリエチレングリコール1000 1質量部
アセチレノールE100(川研ファインケミカル製) 0.03質量部
水 残部
(第八実施形態)
次に、本発明の第八実施形態に係るインクジェット記録装置による記録について説明する。なお、上記第一実施形態ないし第七実施形態と同様に構成される部分については図中同一符号を付して説明を省略し、異なる部分についてのみ説明する。
本実施形態では、第七実施形態のインク組成によって形成されたインクを採用しつつ、ブラックインクによる記録とカラーインクによる記録とが並行して行われる場合について説明する。第五実施形態で説明したように、ブラックインクによって記録される領域とカラーインクによって記録される領域とが隣接している場合には、それらの領域が接している部分については、エッジ部とせずに非エッジ部とする方が良いことが多い。本実施形態においても、ブラックインクによって記録される領域とカラーインクによって記録される領域とが接している部分については、エッジ部とせずに非エッジ部として記録し、緩浸透インクだけでなく超浸透インクも用いて記録を行う。
(第九実施形態)
次に、本発明の第九実施形態に係るインクジェット記録装置による記録について説明する。なお、上記第一実施形態ないし第八実施形態と同様に構成される部分については図中同一符号を付して説明を省略し、異なる部分についてのみ説明する。
本実施形態においても、第七実施形態のインク組成によって形成されたインクを採用しつつ、ブラックインクによる記録とカラーインクによる記録とが並行して行われる場合について説明する。第五実施形態及び第八実施形態のように、ブラックインクによって記録される領域とカラーインクによって記録される領域とが隣接している場合には、それらの領域が接している部分については、エッジ部とせずに非エッジ部とする方が良いことが多い。
しかしながら、本実施形態のように色材濃度が低い緩浸透インクを用いた記録装置においては、ブラックインクによって記録される領域とカラーインクによって記録される領域とが隣接しているかどうかを判定する機能が省略されても良い。通常、ブラックインクの記録領域とカラーインクの記録領域とが隣接している部分において、ブラックインクによって記録される領域のエッジ部へ緩浸透インクを用いて記録が行われると、緩浸透インクがブラック側からカラー側へにじみ出す場合がある。そのため、ブラックインクのキレが低下する場合が生じることが多い。しかしながら、本実施形態のように、色材濃度が低い緩浸透インクが用いられた場合には、カラーインク側にブラックインクが滲み出した場合に記録画像の品質の低下が目立ち難い。従って、ブラックインクがカラーインクに滲み出した場合の記録画像の品質の低下を抑えることができる。
(他の実施形態)
なお、上述の実施形態では、同系色のインクとしてブラックインクについて緩浸透インクと超浸透インクとを用いて記録を行う例について説明した。この同系色のインクとは、色材濃度が異なっていてもよく、前述したように緩浸透インクの色材濃度が超浸透インクの色材濃度よりも低くなっていることが好ましい。また、本発明は上述の実施形態に限定されず、他の色についても緩浸透インクと超浸透インクとを用いて記録を行うこととしても良い。このとき、緩浸透インクによる記録が行われた後に超浸透インクによる記録が行われるようにすれば良い。
また、上述の実施形態では、双方向記録を行う場合について説明したが、本発明はこれに限るものではなく、双方向記録よりもスループットが低下することを考慮すれば、片方向記録でもよい。この場合、緩浸透インクを吐出する記録ヘッドが、超浸透インクを吐出する記録ヘッドよりも走査方向前方に位置する構成であれば、内部領域に対して超浸透インクよりも緩浸透インクを先に吐出することができるため、本発明の効果を得ることができる。
また、上述の実施形態は、記録媒体に対して記録ヘッドが走査して記録を行う例を用いて説明したが、本発明はこれに限るものではなく、記録ヘッドと記録媒体の相対走査により記録が行われるものであればよい。すなわち、記録ヘッドに対して記録媒体が移動するものであってもよい。また、本発明は、上述の実施形態のように記録ヘッドをインク色毎に備える形態に限るものではなく、インクを吐出する吐出口列をインク色ごとに有する1つまたは複数の記録ヘッドの形態であってもよい。
また、本明細書において、「記録」とは、文字、図形等有意の情報を形成する場合のみならず、有意無意を問わずに用いられる。また、人間が視覚で知覚し得るように顕在化したものであるか否かを問わず、広く記録媒体上に画像、模様、パターン等を形成する、または記録媒体の加工を行う場合も表すものとする。
また、「記録装置」とは、プリンタ、プリンタ複合機、複写機、ファクシミリ装置などのプリント機能を有する装置、ならびにインクジェット技術を用いて物品の製造を行なう製造装置を含む。
また、「記録媒体」とは、一般的な記録装置で用いられる紙のみならず、広く、布、プラスチック・フィルム、金属板、ガラス、セラミックス、木材、皮革等、インクを受容可能なものを表すものとする。
さらに、「インク」(「液体」と言う場合もある)とは、上記「記録」の定義と同様広く解釈されるべきものである。記録媒体上に付与されることによって、画像、模様、パターン等の形成または記録媒体の加工、或いはインクの処理(例えば記録媒体に付与されるインク中の色材の凝固または不溶化)に供され得る液体を表すものとする。
201、202、203、301、302、401L、401R、402、403L、403R 記録ヘッド
2103、5103 エッジ部データ
2003、5003 非エッジ部データ

Claims (11)

  1. 第1のインクと、前記第1のインクと同系色で且つ前記第1のインクよりも浸透性の高い第2のインクとを吐出可能な記録ヘッドを、記録媒体に対して相対走査させることにより前記記録媒体に画像の記録を行うインクジェット記録装置であって、
    前記記録媒体において、記録が行われない非記録領域と隣接する外周領域に対して前記第2のインクを用いずに前記第1のインクを用いて記録を行い、前記外周領域と隣接する内部領域に対して前記第1のインクと前記第2のインクを用い、かつ、前記第1のインクを前記第2のインクよりも先に前記内部領域に吐出して記録を行うように、前記記録ヘッドからのインクの吐出を制御する記録制御手段
    を備えることを特徴とするインクジェット記録装置。
  2. 前記記録ヘッドは、前記第1のインクを吐出可能な第1の吐出口列と、前記第2のインクを吐出可能な第2の吐出口列と、前記第1のインクを吐出可能な第3の吐出口列とを含み、前記記録ヘッドが走査する走査方向に沿って、前記第1の吐出口列と前記第3の吐出口列との間に前記第2の吐出口列が配置されることを特徴とする請求項1に記載のインクジェット記録装置。
  3. 前記記録制御手段は、前記内部領域に対して、前記第1の吐出口列が前記走査方向前方にある走査では前記第1の吐出口列及び前記第2の吐出口列を用い、前記第3の吐出口列が前記走査方向前方にある走査では前記第2の吐出口列及び前記第3の吐出口列を用いて記録を行うことを特徴とする請求項2に記載のインクジェット記録装置。
  4. 前記記録制御手段は、前記外周領域に対して、前記第1の吐出口列及び前記第3の吐出口列を用いて記録を行うことを特徴とする請求項2または3に記載のインクジェット記録装置。
  5. 前記記録制御手段は、前記内部領域に対して、前記第1のインクと前記第2のインクとが記録媒体上の同じ位置に重なって記録が行われるように前記記録ヘッドからのインクの吐出を制御することを特徴とする請求項1から4のいずれか1項に記載のインクジェット記録装置。
  6. 前記記録制御手段は、前記内部領域に対して、前記第1のインクと前記第2のインクとが記録媒体上の異なる位置で且つ各々隣接する位置に記録が行われるように、前記記録ヘッドからのインクの吐出を制御することを特徴とする請求項1から4のいずれか1項に記載のインクジェット記録装置。
  7. 前記同系色はブラックであることを特徴とする請求項1から6のいずれか1項に記載のインクジェット記録装置。
  8. インクの色材は自己分散型顔料であることを特徴とする請求項1から7のいずれかに記載のインクジェット記録装置。
  9. 前記第1のインクの色材濃度は前記第2のインクの色材濃度よりも低いことを特徴とする請求項1から8のいずれか1項に記載のインクジェット記録装置。
  10. 前記記録ヘッドは、前記記録媒体の所定領域に対して複数回の走査で記録を行い、
    前記記録制御手段は、前記複数回の走査のうち前記所定領域に対して前記第1のインク及び第2のインクを用いて記録を行う最初の走査では、前記内部領域に対して前記第1のインクを前記第2のインクよりも先に前記内部領域に吐出して記録を行うように、前記記録ヘッドからのインクの吐出を制御することを特徴とする請求項1に記載のインクジェット記録装置。
  11. 第1のインクと、前記第1のインクと同系色で且つ前記第1のインクよりも浸透性の高い第2のインクとを吐出可能な記録ヘッドを、記録媒体に対して相対走査させることにより前記記録媒体に画像の記録を行うインクジェット記録方法であって、
    前記記録媒体において、記録が行われない非記録領域と隣接する外周領域に対して前記第2のインクを用いずに前記第1のインクを用いて記録を行い、前記外周領域と隣接する内部領域に対して前記第1のインクと前記第2のインクを用い、かつ、前記第1のインクを前記第2のインクよりも先に前記内部領域に吐出して記録を行うように、前記記録ヘッドからのインクの吐出を制御する記録制御工程
    を備えることを特徴とするインクジェット記録方法。
JP2010163890A 2010-07-21 2010-07-21 インクジェット記録装置、インクジェット記録方法及びインクジェット記録ヘッド Active JP5791242B2 (ja)

Priority Applications (5)

Application Number Priority Date Filing Date Title
JP2010163890A JP5791242B2 (ja) 2010-07-21 2010-07-21 インクジェット記録装置、インクジェット記録方法及びインクジェット記録ヘッド
US13/183,604 US8740336B2 (en) 2010-07-21 2011-07-15 Ink jet printing apparatus and ink jet printing method
CN201110199734.3A CN102343712B (zh) 2010-07-21 2011-07-18 喷墨打印装置和喷墨打印方法
RU2011130377/12A RU2505415C2 (ru) 2010-07-21 2011-07-20 Устройство струйной печати и способ струйной печати
EP11005960.7A EP2409843B1 (en) 2010-07-21 2011-07-20 Ink jet printing apparatus and ink jet printing method

Applications Claiming Priority (1)

Application Number Priority Date Filing Date Title
JP2010163890A JP5791242B2 (ja) 2010-07-21 2010-07-21 インクジェット記録装置、インクジェット記録方法及びインクジェット記録ヘッド

Publications (3)

Publication Number Publication Date
JP2012024970A true JP2012024970A (ja) 2012-02-09
JP2012024970A5 JP2012024970A5 (ja) 2013-09-05
JP5791242B2 JP5791242B2 (ja) 2015-10-07

Family

ID=44545422

Family Applications (1)

Application Number Title Priority Date Filing Date
JP2010163890A Active JP5791242B2 (ja) 2010-07-21 2010-07-21 インクジェット記録装置、インクジェット記録方法及びインクジェット記録ヘッド

Country Status (5)

Country Link
US (1) US8740336B2 (ja)
EP (1) EP2409843B1 (ja)
JP (1) JP5791242B2 (ja)
CN (1) CN102343712B (ja)
RU (1) RU2505415C2 (ja)

Cited By (1)

* Cited by examiner, † Cited by third party
Publication number Priority date Publication date Assignee Title
JP2013166368A (ja) * 2012-01-20 2013-08-29 Canon Inc 画像処理方法及び画像処理装置

Families Citing this family (8)

* Cited by examiner, † Cited by third party
Publication number Priority date Publication date Assignee Title
US11673155B2 (en) 2012-12-27 2023-06-13 Kateeva, Inc. Techniques for arrayed printing of a permanent layer with improved speed and accuracy
KR102777021B1 (ko) 2012-12-27 2025-03-05 카티바, 인크. 정밀 공차 내로 유체를 증착하기 위한 인쇄 잉크 부피 제어를 위한 기법
US12330178B2 (en) 2012-12-27 2025-06-17 Kateeva, Inc. Techniques for arrayed printing of a permanent layer with improved speed and accuracy
EP3079911B1 (en) * 2013-12-12 2020-07-29 Kateeva, Inc. Ink-based layer fabrication using halftoning to control thickness
JP6593622B2 (ja) * 2015-03-20 2019-10-23 セイコーエプソン株式会社 記録装置
JP2020015225A (ja) * 2018-07-25 2020-01-30 キヤノン株式会社 記録装置および記録方法
US11642880B2 (en) * 2020-09-14 2023-05-09 Assa Abloy Ab Ink jet printer overspray techniques
EP4347267A4 (en) * 2021-06-04 2024-07-24 Hewlett-Packard Development Company, L.P. PRINTING SYSTEMS TO PRODUCE OPTIMIZED IMAGES

Citations (5)

* Cited by examiner, † Cited by third party
Publication number Priority date Publication date Assignee Title
JPH07149036A (ja) * 1993-08-26 1995-06-13 Fuji Xerox Co Ltd インクジェット記録方法、カラー画像処理方法、カラー画像処理装置、インクジェット記録装置
JPH08281975A (ja) * 1995-02-13 1996-10-29 Canon Inc インクジェットヘッド、インクジェットカートリッジおよびプリント装置ならびにインクジェットプリント方法
JPH08295034A (ja) * 1995-04-27 1996-11-12 Canon Inc カラー記録装置
JP2002113850A (ja) * 2000-10-06 2002-04-16 Fuji Xerox Co Ltd インクジェット記録装置
JP2009234273A (ja) * 2009-07-14 2009-10-15 Canon Inc インクジェット記録装置および記録ヘッド

Family Cites Families (12)

* Cited by examiner, † Cited by third party
Publication number Priority date Publication date Assignee Title
US5568169A (en) 1994-10-19 1996-10-22 Xerox Corporation Method and apparatus using two different black inks to reduce intercolor bleeding and provide high quality edge definition with thermal ink jet systems
JP3320292B2 (ja) 1995-02-13 2002-09-03 キヤノン株式会社 インクジェットプリント装置およびインクジェットプリント方法
JPH10100452A (ja) 1996-09-28 1998-04-21 Seiko Epson Corp インクジェット記録装置
JP4683585B2 (ja) * 1999-09-17 2011-05-18 キヤノン株式会社 インクセット
US6805422B2 (en) 2000-06-27 2004-10-19 Canon Kabushiki Kaisha Ink jet recording method, recording apparatus and data processing method
JP4194226B2 (ja) 2000-06-27 2008-12-10 キヤノン株式会社 インクジェット記録装置および画像データ補正方法
JP2003220693A (ja) * 2002-01-29 2003-08-05 Fuji Xerox Co Ltd 画像形成方法、及び画像形成装置
JP2004291627A (ja) 2003-03-11 2004-10-21 Canon Inc インクジェット記録装置およびインク記録方法
JP4315207B2 (ja) 2007-03-08 2009-08-19 セイコーエプソン株式会社 印刷制御装置、印刷装置
JP5932199B2 (ja) 2007-05-11 2016-06-08 キヤノン株式会社 インクセット、インクジェット記録方法、インクカートリッジ、記録ユニット、インクジェット記録方法、及び水性インク
US7988277B2 (en) 2007-05-11 2011-08-02 Canon Kabushiki Kaisha Ink set, ink jet recording method, ink cartridge, recording unit, ink jet recording method, and aqueous ink
JP5164826B2 (ja) 2008-12-25 2013-03-21 キヤノン株式会社 画像処理装置および画像処理方法

Patent Citations (5)

* Cited by examiner, † Cited by third party
Publication number Priority date Publication date Assignee Title
JPH07149036A (ja) * 1993-08-26 1995-06-13 Fuji Xerox Co Ltd インクジェット記録方法、カラー画像処理方法、カラー画像処理装置、インクジェット記録装置
JPH08281975A (ja) * 1995-02-13 1996-10-29 Canon Inc インクジェットヘッド、インクジェットカートリッジおよびプリント装置ならびにインクジェットプリント方法
JPH08295034A (ja) * 1995-04-27 1996-11-12 Canon Inc カラー記録装置
JP2002113850A (ja) * 2000-10-06 2002-04-16 Fuji Xerox Co Ltd インクジェット記録装置
JP2009234273A (ja) * 2009-07-14 2009-10-15 Canon Inc インクジェット記録装置および記録ヘッド

Cited By (1)

* Cited by examiner, † Cited by third party
Publication number Priority date Publication date Assignee Title
JP2013166368A (ja) * 2012-01-20 2013-08-29 Canon Inc 画像処理方法及び画像処理装置

Also Published As

Publication number Publication date
US8740336B2 (en) 2014-06-03
EP2409843B1 (en) 2014-09-10
US20120019583A1 (en) 2012-01-26
RU2505415C2 (ru) 2014-01-27
CN102343712B (zh) 2014-10-22
CN102343712A (zh) 2012-02-08
RU2011130377A (ru) 2013-01-27
JP5791242B2 (ja) 2015-10-07
EP2409843A1 (en) 2012-01-25

Similar Documents

Publication Publication Date Title
JP5791242B2 (ja) インクジェット記録装置、インクジェット記録方法及びインクジェット記録ヘッド
US7625065B2 (en) Ink jet print head and ink jet printing apparatus
JP4383778B2 (ja) インクジェット記録装置および記録ヘッド
US20100328388A1 (en) Inkjet printer, inkjet printing method and program
JP2006341406A (ja) インクジェット記録システム
JP4208652B2 (ja) インクジェット記録装置及びインクジェット記録方法
JP2004058284A (ja) インクジェット記録方法およびインクジェット記録装置
JPH10226055A (ja) インクジェット記録装置および記録方法
US8721021B2 (en) Inkjet printing apparatus and printing method
JP2004338312A (ja) 画像形成方法
EP0845356B1 (en) Ink-jet printing apparatus for performing printing with ink and printing ability improving liquid
US6585363B1 (en) Ink-jet printing apparatus and printing method
JP2011177967A (ja) インクジェット記録装置およびインクジェット記録方法
JP2006168073A (ja) インクジェット記録システム
JP2008307722A (ja) 記録装置及びその記録方法
CN100569529C (zh) 打印设备和打印方法
JP5063506B2 (ja) インクジェット記録装置およびインクジェット記録方法
JP5570107B2 (ja) インクジェット記録装置およびインクジェット記録方法
US6231175B1 (en) Ink-jet printing apparatus and ink-jet printing method
JP2006256009A (ja) インクジェット記録方法
JP2007038671A (ja) インクジェット記録装置およびインクジェット記録方法
JP3367963B2 (ja) インクジェット記録方法
JP4850935B2 (ja) インクジェット記録装置および記録ヘッド
JP2012024971A (ja) 記録装置および記録方法
JP2012024973A (ja) インクジェット記録装置およびインクジェット記録方法

Legal Events

Date Code Title Description
A521 Written amendment

Free format text: JAPANESE INTERMEDIATE CODE: A523

Effective date: 20130722

A621 Written request for application examination

Free format text: JAPANESE INTERMEDIATE CODE: A621

Effective date: 20130722

A977 Report on retrieval

Free format text: JAPANESE INTERMEDIATE CODE: A971007

Effective date: 20140213

A131 Notification of reasons for refusal

Free format text: JAPANESE INTERMEDIATE CODE: A131

Effective date: 20140218

A521 Written amendment

Free format text: JAPANESE INTERMEDIATE CODE: A523

Effective date: 20140418

A131 Notification of reasons for refusal

Free format text: JAPANESE INTERMEDIATE CODE: A131

Effective date: 20150120

A521 Written amendment

Free format text: JAPANESE INTERMEDIATE CODE: A523

Effective date: 20150319

TRDD Decision of grant or rejection written
A01 Written decision to grant a patent or to grant a registration (utility model)

Free format text: JAPANESE INTERMEDIATE CODE: A01

Effective date: 20150707

A61 First payment of annual fees (during grant procedure)

Free format text: JAPANESE INTERMEDIATE CODE: A61

Effective date: 20150804

R151 Written notification of patent or utility model registration

Ref document number: 5791242

Country of ref document: JP

Free format text: JAPANESE INTERMEDIATE CODE: R151