JP2012024910A - 突切りバイト - Google Patents

突切りバイト Download PDF

Info

Publication number
JP2012024910A
JP2012024910A JP2010168888A JP2010168888A JP2012024910A JP 2012024910 A JP2012024910 A JP 2012024910A JP 2010168888 A JP2010168888 A JP 2010168888A JP 2010168888 A JP2010168888 A JP 2010168888A JP 2012024910 A JP2012024910 A JP 2012024910A
Authority
JP
Japan
Prior art keywords
cut
steel pipe
parting
chip
tool
Prior art date
Legal status (The legal status is an assumption and is not a legal conclusion. Google has not performed a legal analysis and makes no representation as to the accuracy of the status listed.)
Granted
Application number
JP2010168888A
Other languages
English (en)
Other versions
JP5607451B2 (ja
Inventor
Keiji Tanaka
計司 田中
Naoya Hirose
尚弥 廣瀬
Current Assignee (The listed assignees may be inaccurate. Google has not performed a legal analysis and makes no representation or warranty as to the accuracy of the list.)
Tanitec Corp
Original Assignee
Tanitec Corp
Priority date (The priority date is an assumption and is not a legal conclusion. Google has not performed a legal analysis and makes no representation as to the accuracy of the date listed.)
Filing date
Publication date
Application filed by Tanitec Corp filed Critical Tanitec Corp
Priority to JP2010168888A priority Critical patent/JP5607451B2/ja
Publication of JP2012024910A publication Critical patent/JP2012024910A/ja
Application granted granted Critical
Publication of JP5607451B2 publication Critical patent/JP5607451B2/ja
Expired - Fee Related legal-status Critical Current
Anticipated expiration legal-status Critical

Links

Images

Landscapes

  • Cutting Tools, Boring Holders, And Turrets (AREA)

Abstract

【課題】 鋼管等の切断時におけるバリによって欠損が発生しないようにする。
【解決手段】 板状の台金と、台金の先端部に接合されたチップ23とを有する突切りバイト21であって、台金のチップ23の先端部分における左右の面取り24A・24Bについて、その面取り幅、面取り角度が互いに相違し、また更に突切り面に傾斜をつけることで、鋼管等の切断時において、バリが鋼管等のクロップ側(切り落とし側)の切断面に発生するようにして、該バリを鋼管のクロップ側部分と共に落下させ、該バリが前記バイトに接触することを防止する。
【選択図】 図6

Description

本発明は、旋盤等の切削機械に装着されてシームレス鋼管等の鋼管類の切断や各種棒材の切断、或いは溝切り加工等に用いられる突切りバイトに関する。
図1に示すように、突切りバイト1は、所定長の板状台金2(シャンク)の先端部2aに硬質チップ3がロウ付け等によって接合されたものであり、図2に示すように、硬質チップ3の両側面6(横逃げ面)には、その先端部6aから基部6bに向かって幅が徐々に狭くなるように傾斜α1(ラジアル角)が付され、また図3に示すように、硬質チップ3の両側面6には、その前部5aから後部5bに向かって幅が徐々に狭くなるように傾斜α2(タンジェンシャル角)が付されており、また硬質チップ3の刃幅Wは台金2の厚みtよりも厚くなっており、そして、台金2の厚みtはその全長にわたって同一となっていた。
そして、前述した突切りバイト1で鋼管の切断を行う場合、図4に示すように、旋盤等の切削機械のチャック(図示せず)に前記突切りバイト1をセットした上、鋼管Pをクランプ7で固定した後、鋼管Pをその円周方向にさせつつ、その外周面PFに直角方向から前記突切りバイト1における硬質チップ3の刃先3aを当接させて、最終的に突切りバイト1の刃先3aが鋼管Pの全厚を切削することで切断が完了した。
特開2001−150205号公報
前述した突切りバイト1は、通常、図5に示すように、チップ3における左右の面取り8A・8Bが、その幅W1・W2および傾斜角度α3・α4において左右対称となされ、また通常、突切り面10は水平状であった。しかしながら、このような構造の突切りバイト1によって鋼管Pの切断を行った場合、該鋼管Pの最終的な切断完了の際に、鋼管Pの内周部分が突切りバイト1によって完全に突ききられず、鋼管Pの切断面S1・S2に略C形のバリが発生した。そして、このバリが鋼管Pを切断した際におけるその先端側の切り落とし部分P1(以下、「クロップ」という)の切断面S1に発生している場合は、該クロップ側P1の落下と共に、バリも突切りバイト1から離れるため、バリが突切りバイト1に衝突することはないが、バリがクロップP1側と反対側、すなわち鋼管PのクランプP2側の切断面S2に発生した場合には、クランプされた鋼管Pは切削機械の停止後においても惰性でしばらく回転し続け、その間、前記バリが隣接する突切りバイト1を連続的に多数回たたくこととなり、その結果、突切りバイト1が欠損するという問題があった。
本発明の目的は、鋼管等の切断の際に、必ずそのクロップ側の切断端面にバリが発生し、鋼管のクランプ側の切断端面には前記バリが発生しないようにして、欠損を確実に防止可能とした突切りバイトを提供することにある。
請求項1記載の本発明は、略板状の台金と、台金の先端部に接合されたチップとを有する突切りバイトにおいて、バイトの形状が、ワークのクロップ側よりもクランプ側を早く突き切るように左右非対称となされている突切りバイトである。
本発明における突切りバイトには、チップが台金に一体にロウ付けされているものの他、チップが台金にビスで固定されたり、或いは嵌め入れられている所謂、スローアウェイ方式のものも含まれる。
請求項2記載の本発明は、前記請求項1記載の突切りバイトについて、チップの面取り幅がクランプ側よりもクロップ側を広くすることで、チップが非対称となされているものである。
請求項3記載の本発明は、前記請求項1または請求項2記載の突切りバイトについて、チップの面取り角度がクロップ側をクランプ側よりも大きくすることでチップが非対称となされていることを特徴とするものである。
請求項4記載の本発明は、前記請求項2または請求項3記載の突切りバイトについて、チップの面取り形状が直線状となっているものである。
請求項5記載の本発明は、前記請求項2または請求項3記載の突切りバイトについて、チップの面取り形状がR状となっているものである。
請求項6記載の本発明は、前記請求項2または請求項3記載の突切りバイトについて、チップの面取り形状が、一側が直線状となされ、他側がアール状となっているものである。
請求項7記載の本発明は、前記請求項1〜請求項6のうちのいずれか一項記載の突切りバイトについて、突切り面がクランプ側からクロップ側に向かって下がった傾斜面となされていることを特徴とするものである。
本発明の突切りバイトによれば、鋼管等の切断の際に、クロップ側よりも先にクランプ側が突切られるため、バリは必ずクロップ側の切断端面に発生し、そのため該バリは鋼管等におけるクロップと共に切り落とされ、その結果、従来のように、鋼管等の切断の際に発生するバリによって、バイトのチップが欠損することがない。
突切りバイトの基本形態を示す側面図である。 同バイトの正面図である。 同バイトの平面図である。 同バイトによる鋼管の切断状態を示す正面図である。 突切りバイトにおける従来の刃先形状を示す正面図である。 実施形態1に係る突切りバイトによる鋼管の切断状態を示す正面図である。 図6のバイトにおけるチップ先端部分の拡大正面図である。 実施形態2に係る突切りバイトによる鋼管の切断状態を示す正面図である。 図8のバイトにおけるチップ先端部分の拡大正面図である。 実施形態3に係る突切りバイトによる鋼管の切断状態を示す正面図である。 実施形態4に係る突切りバイトによる鋼管の切断状態を示す正面図である。 実施形態5に係る突切りバイトの正面図である。 図12の突切りバイトにおけるチップ先端部分の拡大正面図である。 実施形態6に係る突切りバイトの正面図である。 図14の突切りバイトにおけるチップ先端部分の拡大正面図である。
次に、本発明の実施形態を図面にしたがって説明するが、突切りバイトはワークや切削条件等によって種々の形態があり、本発明は、本実施形態に限定されるものではない。
突切りバイトの全体的な形態は、前述した図1〜図3に記載のものと同様である。そして、以下に述べる各実施形態は、硬質チップ3について適用されたものである。
(実施形態1)
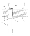
図6および図7に示すように、鋼管Pの周壁を突き切る突切りバイト21は、その先端部に固定された硬質チップ23において、その刃先の両側に形成された左右の直線状の面取り24A・24Bの形成形態が互いに異なることにより、左右非対称となされているものである。
すなわち、チップ23において、鋼管Pのクロップ側P1となる左側の面取り24Aの幅W1は鋼管Pのクランプ側(本実施形態では製品側)P2となる右側の面取り24Bの幅W2よりも広幅となされている。
一方、左側の面取り24Aの傾斜角度α3と右側の面取り24Bの傾斜角度α4は同じに設定されており、また突切り面22は水平状となされている。
そして、本実施形態では、前述した通り、チップ23において、鋼管Pのクロップ側P1となる左側の面取り24Aの幅W1を鋼管Pのクランプ側(本実施形態では製品側)P2となる右側の面取り24Bの幅W2よりも広幅とすることによって、パイプPにおけるクランプ側P2の切断面S2がクロップ側(切り落とし側)P1の切断面S1よりも早く切断され、その結果、略C形のバリPBは必ずクロップ側P1側の切断面S1に発生し、そのため前記バリPBは鋼管Pのクロップ側P1と共に落下するため、バリPBが突切りバイト21のチップ23に接触することはなく、チップ23の欠損が確実に防止される。
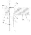
(実施形態2)
図8および図9に示すように、本実施形態に係る突切りバイト31は、その先端部に固定された硬質チップ33において、その刃先の両側に形成された左右の直線状の面取り34A・34Bの形成形態並びに突切り面32の角度(チップの逃げ面とすくい面の接線角度)によって左右非対称となされているものである。
すなわち、チップ33において、鋼管Pのクロップ側P1となる左側の面取り34Aの幅W1は鋼管Pのクランプ側(本実施形態では製品側)P2となる右側の面取り34Bの幅W2よりも広幅となされており、且つチップ33における突切り面32が右側から左側に向かって下がった傾斜状となされている。
なお、本実施形態では、左側の面取り34Aの傾斜角度α3が右側の面取り34Bの傾斜角度α4と同じに設定されている。
そして、本実施形態では、バイト31の構造を前記のようにすることによって、パイプPにおけるクランプ側P2の切断面S2がクロップ側(切り落とし側)P1の切断面S1よりも早く切断され、その結果、略C形のバリPBは必ずクロップ側P1の切断面S1に発生し、そのため前記バリPBは鋼管Pのクロップ側P1と共に落下するため、バリPBが突切りバイト31のチップ33に接触することはなく、チップ33の欠損が確実に防止される。
本実施形態では、鋼管Pのクロップ側P1となる左側の面取り34Aの幅W1は鋼管Pのクランプ側(本実施形態では製品側)P2となる右側の面取り34Bの幅W2よりも広幅となされ、且つ突切り面32に傾斜をつけることにより、前述したチップ33の欠損が防止されるようにしたが、前述した面取り幅W1・W2の左右非対称か突切り面32の角度の傾斜構造のうちのいずれかによっても同様の効果が得られる。
(実施形態3)
図10に示すように、本実施形態の突切りバイト41は、前記実施形態1の突切りバイト21において、左右の面取りをR状としたものであり、その他の点は前記実施形態1と同様である。
すなわち、突切りバイト41の硬質チップ43において、その刃先の左右の面取り44A・44BがそれぞれR状となされ、且つ左側(クロップP1側)の面取り44Aの幅が右側(クランプP2側)の面取り44Bの幅よりも広幅となされているものである。
本実施形態の突切りバイト41においても、鋼管Pにおけるクランプ側P2の切断面S2がクロップ側(切り落とし側)P1の切断面S1よりも早く切断され、その結果、略C形のバリPBは必ずクロップ側P1の切断面S1に発生し、そのため前記バリPBは鋼管Pのクロップ側P1と共に落下するため、バリPBが突切りバイト41のチップ43に接触することはなく、チップ43の欠損が確実に防止される。
(実施形態4)
図11に示すように、本実施形態の突切りバイト51は、前記実施形態2の突切りバイト31において、左右の面取りをR状としたものであり、その他の点は前記実施形態2と同様である。
すなわち、突切りバイト51の硬質チップ53において、その刃先における左右の面取り54A・54BがそれぞれR状となされており、そして、左側の面取り54Aの幅が右側の面取り54Bの幅よりも広幅となされ、且つチップ53における突切り面52が右側から左側に向かって下がった傾斜状となされている。
本実施形態の突切りバイト51においても、鋼管Pにおけるクランプ側P2の切断面S2がクロップ側(切り落とし側)P1の切断面S1よりも早く切断され、その結果、略C形のバリPBは必ずクロップ側P1の切断面S1に発生し、そのため前記バリPBは鋼管Pのクロップ側P1と共に落下するため、バリPBが突切りバイト51のチップ53に接触することはなく、チップ53の欠損が確実に防止される。
以上述べてきた実施形態において、各突切りバイト21・31・41・51の硬質チップ23・33・43・53における左右の面取りは直線状かR状のいずれかであったが、一方を直線状とし、他方をR状としても良い。
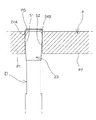
(実施形態5)
図12および図13に示すように、本実施形態の突切りバイト61は、その硬質チップ63において、左側(クロップ側)の面取り64Aの傾斜角度α3が右側(クランプ側)の面取り64Bの傾斜角度α4よりも大きく設定されており、すなわち、左側の面取り64Aを右側の面取り64Bよりも急傾斜とすることで左右非対称としたものである。
本実施形態では、鋼管のクロップ側となる左側の面取り64Aの幅W1と鋼管のクランプ側(本実施形態では製品側)となる右側の面取り64Bの幅W2とは同じ幅であり、また突切り面62には傾斜が付されておらず、水平状となされている。
本実施形態の突切りバイト61は、左右の面取り64A・面取り64Bの角度を互いに相違せしめることのみによって、前述した実施形態と同様、鋼管におけるクランプ側をクロップ側よりも先に切り落とすようにしたものである。
(実施形態6)
図14および図15に示すように、本実施形態の突切りバイト71は、その硬質チップ73において、左側の面取り74Aの傾斜角度α3が右側の面取り74Bの傾斜角度α4よりも大きく設定され、且つ鋼管Pのクロップ側P1となる左側の面取り74Aの幅W1は鋼管Pのクランプ側(本実施形態では製品側)P2となる右側の面取り74Bの幅W2よりも広幅となされている。なお、突切り面72は水平状となされている。
本実施形態の突切りバイト71によっても、前述した各実施形態の突切りバイトと同様の効果が得られる。
以上述べてきたように、突切りバイトの硬質チップにおいて、左右の面取りの幅および傾斜角度の左右非対称、或いは突切り面の傾斜のいずれか一以上を実施することで、鋼管Pにおけるクランプ側P2の切断面S2がクロップ側(切り落とし側)P1の切断面S1よりも早く切断され、その結果、硬質チップの欠損が確実に防止されるのである。
本発明の突切りバイトは、鋼管等の切断時において発生するバリによって欠損することが確実に防止され、従来の突切りバイトに比べて寿命を大幅に延ばすことができるため、この種バイトの分野において幅広い利用が期待できる。
1 突切りバイト
2 台金
3 硬質チップ
24A・24B 面取り

Claims (7)

  1. 略板状の台金と、台金の先端部に接合されたチップとを有する突切りバイトにおいて、バイトの形状が、ワークのクロップ側よりもクランプ側を早く突き切るように左右非対称となされている、突切りバイト。
  2. チップの面取り幅がクランプ側よりもクロップ側を広くすることで、チップが非対称となされている、請求項1記載の突切りバイト。
  3. チップの面取り角度がクロップ側をクランプ側よりも大きくすることで、チップが非対称となされている、請求項1または請求項2記載の突切りバイト。
  4. チップの面取り形状が直線状である請求項2または請求項3記載の突切りバイト。
  5. チップの面取り形状がR状である請求項2または請求項3記載の突切りバイト。
  6. チップの面取り形状が、一側が直線状となされ、他側がR状となされている、請求項2または請求項3記載の突切りバイト。
  7. 突切り面がクランプ側からクロップ側に向かって下がった傾斜面となされている、請求項1〜請求項6のうちのいずれか一項記載の突切りバイト。
JP2010168888A 2010-07-28 2010-07-28 突切りバイト Expired - Fee Related JP5607451B2 (ja)

Priority Applications (1)

Application Number Priority Date Filing Date Title
JP2010168888A JP5607451B2 (ja) 2010-07-28 2010-07-28 突切りバイト

Applications Claiming Priority (1)

Application Number Priority Date Filing Date Title
JP2010168888A JP5607451B2 (ja) 2010-07-28 2010-07-28 突切りバイト

Publications (2)

Publication Number Publication Date
JP2012024910A true JP2012024910A (ja) 2012-02-09
JP5607451B2 JP5607451B2 (ja) 2014-10-15

Family

ID=45778473

Family Applications (1)

Application Number Title Priority Date Filing Date
JP2010168888A Expired - Fee Related JP5607451B2 (ja) 2010-07-28 2010-07-28 突切りバイト

Country Status (1)

Country Link
JP (1) JP5607451B2 (ja)

Cited By (2)

* Cited by examiner, † Cited by third party
Publication number Priority date Publication date Assignee Title
JP2019005888A (ja) * 2017-06-23 2019-01-17 株式会社タンガロイ 切削工具
JP7751262B1 (ja) * 2025-07-29 2025-10-08 株式会社タンガロイ 切削工具

Citations (8)

* Cited by examiner, † Cited by third party
Publication number Priority date Publication date Assignee Title
JPH02122705U (ja) * 1989-03-15 1990-10-09
JP2000176708A (ja) * 1998-12-16 2000-06-27 Ngk Spark Plug Co Ltd 溝入れ用スロ―アウェイチップ
JP2001096405A (ja) * 1999-09-29 2001-04-10 Ngk Spark Plug Co Ltd 溝入れ用スローアウェイチップ及び溝入れ加工方法
JP2001212704A (ja) * 2000-01-31 2001-08-07 Ngk Spark Plug Co Ltd スローアウェイチップ
JP2002254216A (ja) * 2000-12-28 2002-09-10 Ngk Spark Plug Co Ltd スローアウェイチップ及び切削工具
US20040101374A1 (en) * 2002-06-25 2004-05-27 Seco Tools Ab Cutting insert for chip removing machining
WO2008133199A1 (ja) * 2007-04-20 2008-11-06 Mitsubishi Materials Corporation 切削インサート及び切削方法
JP2009291925A (ja) * 2008-06-09 2009-12-17 Mitsubishi Materials Corp 切削インサートおよびインサート着脱式切削工具

Patent Citations (8)

* Cited by examiner, † Cited by third party
Publication number Priority date Publication date Assignee Title
JPH02122705U (ja) * 1989-03-15 1990-10-09
JP2000176708A (ja) * 1998-12-16 2000-06-27 Ngk Spark Plug Co Ltd 溝入れ用スロ―アウェイチップ
JP2001096405A (ja) * 1999-09-29 2001-04-10 Ngk Spark Plug Co Ltd 溝入れ用スローアウェイチップ及び溝入れ加工方法
JP2001212704A (ja) * 2000-01-31 2001-08-07 Ngk Spark Plug Co Ltd スローアウェイチップ
JP2002254216A (ja) * 2000-12-28 2002-09-10 Ngk Spark Plug Co Ltd スローアウェイチップ及び切削工具
US20040101374A1 (en) * 2002-06-25 2004-05-27 Seco Tools Ab Cutting insert for chip removing machining
WO2008133199A1 (ja) * 2007-04-20 2008-11-06 Mitsubishi Materials Corporation 切削インサート及び切削方法
JP2009291925A (ja) * 2008-06-09 2009-12-17 Mitsubishi Materials Corp 切削インサートおよびインサート着脱式切削工具

Cited By (2)

* Cited by examiner, † Cited by third party
Publication number Priority date Publication date Assignee Title
JP2019005888A (ja) * 2017-06-23 2019-01-17 株式会社タンガロイ 切削工具
JP7751262B1 (ja) * 2025-07-29 2025-10-08 株式会社タンガロイ 切削工具

Also Published As

Publication number Publication date
JP5607451B2 (ja) 2014-10-15

Similar Documents

Publication Publication Date Title
JP5909565B2 (ja) ドリルおよびそれを用いた切削加工物の製造方法
JP6339764B2 (ja) 丸鋸
JP6011849B2 (ja) 段付きドリル
JP3138478U (ja) 加工バイトの改良構造
JP5607451B2 (ja) 突切りバイト
JP5898327B2 (ja) ドリルおよびそれを用いた切削加工物の製造方法
JP6499610B2 (ja) 穴明け工具
JP2011167807A (ja) 鋸刃及びその製造方法
JP2008307621A (ja) 荒切削用クリスマスカッタ
US10583505B2 (en) Circular saw blade with tips
JP2010179450A (ja) 穴加工用工具
JP2012232368A (ja) 突切りバイト
JP5845288B2 (ja) ドリルおよびそれを用いた切削加工物の製造方法
KR20170030007A (ko) 드릴 구조
JP5441224B2 (ja) 突切りバイト
JP5691424B2 (ja) ドリル
CN107824884A (zh) 用于加工汽车配件的台阶铰刀
KR101025609B1 (ko) 면치 겸용 절삭공구
JP2015051475A (ja) 切削インサート及び切削工具
JP2014050903A (ja) チップソー
CN217452437U (zh) 一种双向倒角刀
CN221639553U (zh) 一种可转位镗刀结构
JP2012240152A (ja) チップソー
KR101508113B1 (ko) 팁 일체형 바이트
JP2014000642A (ja) 座繰り加工用ドリル

Legal Events

Date Code Title Description
A621 Written request for application examination

Free format text: JAPANESE INTERMEDIATE CODE: A621

Effective date: 20130708

A977 Report on retrieval

Free format text: JAPANESE INTERMEDIATE CODE: A971007

Effective date: 20140327

A131 Notification of reasons for refusal

Free format text: JAPANESE INTERMEDIATE CODE: A131

Effective date: 20140407

A521 Request for written amendment filed

Free format text: JAPANESE INTERMEDIATE CODE: A523

Effective date: 20140512

TRDD Decision of grant or rejection written
A01 Written decision to grant a patent or to grant a registration (utility model)

Free format text: JAPANESE INTERMEDIATE CODE: A01

Effective date: 20140822

A61 First payment of annual fees (during grant procedure)

Free format text: JAPANESE INTERMEDIATE CODE: A61

Effective date: 20140828

R150 Certificate of patent or registration of utility model

Ref document number: 5607451

Country of ref document: JP

Free format text: JAPANESE INTERMEDIATE CODE: R150

R250 Receipt of annual fees

Free format text: JAPANESE INTERMEDIATE CODE: R250

R250 Receipt of annual fees

Free format text: JAPANESE INTERMEDIATE CODE: R250

LAPS Cancellation because of no payment of annual fees