JP2011240407A - 短いスライド可能なモールドを備えるエレクトロスラグ再溶解装置のスラグのレベルを連続的に検出する装置および方法 - Google Patents

短いスライド可能なモールドを備えるエレクトロスラグ再溶解装置のスラグのレベルを連続的に検出する装置および方法 Download PDF

Info

Publication number
JP2011240407A
JP2011240407A JP2011105826A JP2011105826A JP2011240407A JP 2011240407 A JP2011240407 A JP 2011240407A JP 2011105826 A JP2011105826 A JP 2011105826A JP 2011105826 A JP2011105826 A JP 2011105826A JP 2011240407 A JP2011240407 A JP 2011240407A
Authority
JP
Japan
Prior art keywords
level
electroslag remelting
slag bath
radar
slag
Prior art date
Legal status (The legal status is an assumption and is not a legal conclusion. Google has not performed a legal analysis and makes no representation as to the accuracy of the status listed.)
Granted
Application number
JP2011105826A
Other languages
English (en)
Other versions
JP5690205B2 (ja
Inventor
Harald Holzgruber
ハラルト・ホルツグルーバー
Martin Leber
マーティン・レーバー
Current Assignee (The listed assignees may be inaccurate. Google has not performed a legal analysis and makes no representation or warranty as to the accuracy of the list.)
Inteco Special Melting Technologies GmbH
Inteco Special Melting Tech GmbH
Original Assignee
Inteco Special Melting Technologies GmbH
Inteco Special Melting Tech GmbH
Priority date (The priority date is an assumption and is not a legal conclusion. Google has not performed a legal analysis and makes no representation as to the accuracy of the date listed.)
Filing date
Publication date
Application filed by Inteco Special Melting Technologies GmbH, Inteco Special Melting Tech GmbH filed Critical Inteco Special Melting Technologies GmbH
Publication of JP2011240407A publication Critical patent/JP2011240407A/ja
Application granted granted Critical
Publication of JP5690205B2 publication Critical patent/JP5690205B2/ja
Expired - Fee Related legal-status Critical Current
Anticipated expiration legal-status Critical

Links

Images

Classifications

    • BPERFORMING OPERATIONS; TRANSPORTING
    • B22CASTING; POWDER METALLURGY
    • B22DCASTING OF METALS; CASTING OF OTHER SUBSTANCES BY THE SAME PROCESSES OR DEVICES
    • B22D2/00Arrangement of indicating or measuring devices, e.g. for temperature or viscosity of the fused mass
    • B22D2/003Arrangement of indicating or measuring devices, e.g. for temperature or viscosity of the fused mass for the level of the molten metal
    • BPERFORMING OPERATIONS; TRANSPORTING
    • B22CASTING; POWDER METALLURGY
    • B22DCASTING OF METALS; CASTING OF OTHER SUBSTANCES BY THE SAME PROCESSES OR DEVICES
    • B22D11/00Continuous casting of metals, i.e. casting in indefinite lengths
    • B22D11/16Controlling or regulating processes or operations
    • B22D11/18Controlling or regulating processes or operations for pouring
    • B22D11/181Controlling or regulating processes or operations for pouring responsive to molten metal level or slag level
    • BPERFORMING OPERATIONS; TRANSPORTING
    • B22CASTING; POWDER METALLURGY
    • B22DCASTING OF METALS; CASTING OF OTHER SUBSTANCES BY THE SAME PROCESSES OR DEVICES
    • B22D11/00Continuous casting of metals, i.e. casting in indefinite lengths
    • B22D11/16Controlling or regulating processes or operations
    • B22D11/20Controlling or regulating processes or operations for removing cast stock
    • B22D11/201Controlling or regulating processes or operations for removing cast stock responsive to molten metal level or slag level
    • BPERFORMING OPERATIONS; TRANSPORTING
    • B22CASTING; POWDER METALLURGY
    • B22DCASTING OF METALS; CASTING OF OTHER SUBSTANCES BY THE SAME PROCESSES OR DEVICES
    • B22D23/00Casting processes not provided for in groups B22D1/00 - B22D21/00
    • B22D23/06Melting-down metal, e.g. metal particles, in the mould
    • B22D23/10Electroslag casting
    • CCHEMISTRY; METALLURGY
    • C22METALLURGY; FERROUS OR NON-FERROUS ALLOYS; TREATMENT OF ALLOYS OR NON-FERROUS METALS
    • C22BPRODUCTION AND REFINING OF METALS; PRETREATMENT OF RAW MATERIALS
    • C22B9/00General processes of refining or remelting of metals; Apparatus for electroslag or arc remelting of metals
    • C22B9/16Remelting metals
    • C22B9/18Electroslag remelting
    • GPHYSICS
    • G01MEASURING; TESTING
    • G01FMEASURING VOLUME, VOLUME FLOW, MASS FLOW OR LIQUID LEVEL; METERING BY VOLUME
    • G01F23/00Indicating or measuring liquid level or level of fluent solid material, e.g. indicating in terms of volume or indicating by means of an alarm
    • G01F23/22Indicating or measuring liquid level or level of fluent solid material, e.g. indicating in terms of volume or indicating by means of an alarm by measuring physical variables, other than linear dimensions, pressure or weight, dependent on the level to be measured, e.g. by difference of heat transfer of steam or water
    • G01F23/28Indicating or measuring liquid level or level of fluent solid material, e.g. indicating in terms of volume or indicating by means of an alarm by measuring physical variables, other than linear dimensions, pressure or weight, dependent on the level to be measured, e.g. by difference of heat transfer of steam or water by measuring the variations of parameters of electromagnetic or acoustic waves applied directly to the liquid or fluent solid material
    • G01F23/284Electromagnetic waves
    • GPHYSICS
    • G01MEASURING; TESTING
    • G01SRADIO DIRECTION-FINDING; RADIO NAVIGATION; DETERMINING DISTANCE OR VELOCITY BY USE OF RADIO WAVES; LOCATING OR PRESENCE-DETECTING BY USE OF THE REFLECTION OR RERADIATION OF RADIO WAVES; ANALOGOUS ARRANGEMENTS USING OTHER WAVES
    • G01S13/00Systems using the reflection or reradiation of radio waves, e.g. radar systems; Analogous systems using reflection or reradiation of waves whose nature or wavelength is irrelevant or unspecified
    • G01S13/88Radar or analogous systems specially adapted for specific applications

Landscapes

  • Engineering & Computer Science (AREA)
  • Physics & Mathematics (AREA)
  • Mechanical Engineering (AREA)
  • Electromagnetism (AREA)
  • Remote Sensing (AREA)
  • Radar, Positioning & Navigation (AREA)
  • General Physics & Mathematics (AREA)
  • Chemical & Material Sciences (AREA)
  • Manufacturing & Machinery (AREA)
  • Materials Engineering (AREA)
  • Metallurgy (AREA)
  • Organic Chemistry (AREA)
  • Fluid Mechanics (AREA)
  • Thermal Sciences (AREA)
  • Computer Networks & Wireless Communication (AREA)
  • Continuous Casting (AREA)
  • Furnace Details (AREA)
  • Manufacture And Refinement Of Metals (AREA)
  • Measurement Of Levels Of Liquids Or Fluent Solid Materials (AREA)

Abstract

【課題】スラグラインのレベルを連続的に検出することができ、かつ、スラグラインのレベルを任意に制御することのできるエレクトロスラグ再溶解装置およびエレクトロ再溶解方法を提供する。
【解決手段】本発明のエレクトロスラグ再溶解方法では、スラグ浴9の液面11のレベルが、レーダー式の測定プローブ3を用いて測定される。レーダー式の測定プローブ3は、好ましくは、エレクトロスラグ再溶解装置10のモールド蓋2または保護ガスフードに設けられる。レーダー式の測定プローブ3のレーダービーム12をスラグ浴9の液面11に当てることで得られた数値は、評価部15を介して表示したり、鋳造体の引出しを制御する制御部20の入力信号として使用したりすることができる。
【選択図】図3

Description

エレクトロスラグ再溶解装置(「ESR装置」と称されることもある)で使用される短い水冷式のスライド可能なモールド(鋳型)では、装置に過度の熱負荷やダメージが加わらないように、スラグライン(スラグの液面)のレベル(高さ)、すなわち、溶融金属ライン(溶融金属の液面)のレベルを、当該水冷式のモールドの上縁部に対してほぼ一定に保持する必要がある。これは、装置の種類にもよるが、再溶解によって得られた鋳造体を、再溶解量に応じて、固定位置に配置されたモールドから下方に連続的にまたは段階的に引き抜くことで達成される。固定されたベースプレート(底板)に鋳造体が形成される場合には、モールドは上方に引き上げられる。いずれにしろ、鋳造体は、その表面とモールドの壁との間で相対的な運動を生じながら、モールドから下に引き出されることになる。
エレクトロスラグ再溶解法では、一般的な再溶解速度に基づいて溶融金属から鋳造体を凝固させた場合、鋳造体の成長率は、直径300mm以下の小型の鋳造体で10〜15mm/分、直径1000mm以上の大型の鋳造体で1.5〜3mm/分である。したがって、開放型の再溶解装置、すなわち、蓋のない再溶解装置の場合、目視しつつ、予め所定値に調節された鋳造体の引出速度を時折再調節することにより、十分確実にモールド内のスラグラインのレベルを一定に保持することができる。
再溶解法で得られる製品の品質向上の需要に応えるために、今日のエレクトロ再溶解装置のほぼ大半が、保護ガスフード(フードとは、キャップ、カバーのような覆いのことを指す)を備える閉じた装置となっている。したがって、目視で調節することができない。スラグラインを間接的に確認する方法、例えば、鋳造に用いる溶融金属の量と実際に形成された鋳造体の引出速度とを比較してスラグラインのレベルを算出する方法なども有用ではあるが、十分とはいえない。そのため、それらのような間接的な確認方法に加えて、保護ガスフードを時折持ち上げて目視を行う必要がある。原則的には、このような方法でも、再溶解中に特に異常が生じないかぎりはスラグラインのレベルの確認を十分に行うことができる。このような従来方法の短所として、保護ガス効果が妨げられる点や、スラグ上方の空間に空気が侵入する点などが挙げられる。これは、鋳造体の品質面からみて望ましくない。
上述した運転態様のさらなる短所として、スラグのレベル(スラグの液面高さ)の急激な変化を引き起こす各種異常を、タイミング良く検出できない点が挙げられる。このような異常の例として、スラグや溶鋼の漏れなどが挙げられる。このような漏れは、通常ゆっくりと始まるが、最終的にスラグ浴の全体および金属溜まりの一部の漏出を引き起こし、スラグラインのレベルの急激な低下を招く可能性がある。また、このような漏れは、スラグ浴への電極の浸漬深さを一定に保持するコントローラが故障した場合に発生しかねない。電極が過度に深く浸漬された場合、スラグラインのレベルが予測不能に上昇する可能性がある。
さらに、各鋳造体ごとにスラグラインのレベルを異ならせたり、モールドの寿命を向上させるためにスラグラインのレベルを所定の範囲内で選択的に変化させたりできれば望ましい。これは、現在利用されている確認方法では不可能である。
以上の先行技術に関する説明を踏まえて、本発明の目的は、開放型の再溶解装置のスラグラインのレベルを連続的に検出するだけでなく、特に、保護ガスフードで閉じられた再溶解装置において、再溶解装置の制御部と作業者との協働により、以下の機能を自動的に起動させるかまたは常に実行することである:
・ スラグラインのレベルが所定値に達すると、鋳造体の引出しを開始する。
・ 鋳造体を引き出している間、スラグラインの所定値のレベルを確認しながら鋳造体の引出しを制御することにより、スラグラインのレベルをその所定値に保持する。
・ 再溶解中の各種異常を監視する。
・ 再溶解中のスラグラインのレベルを、所望の位置に変化するように制御する。
さらなる目的は、スラグレベルの急激な変化を引き起こす各種異常を即座に検出することである。そのような異常の例として、以下のものが挙げられる:
・ 溶融金属および/またはスラグの漏れと、それに伴うレベル(液面高さ)の急激な低下。
・ 再溶解中(特に、電極を変更もしくは交換した後)の電極の過度の浸漬深さと、それに伴うレベル(液面高さ)の予測不能な上昇。
鋭意研究を重ねた結果、上述の目的は、既知のレーダー式の測定プローブを、本発明に基づいて使用することにより達成できることが判明した。
本発明は、短いスライド可能なモールドを備えるESR(エレクトロスラグ再溶解)装置のスラグラインを連続的に(常に)確認する方法に関する。この方法の特徴として、既知のレーダー式のプローブ(好ましくは、モールド蓋(鋳型の蓋)または保護ガスフードに設けられる)を用い、スラグの液面に対してレーダービームをほぼ垂直に発射することにより、モールドの上縁部に対するスラグのレベル(スラグの液面高さ)を連続的に(常に)測定する点と、得られた信号を鋳造体の引出しの自動制御に利用することにより、モールド内のスラグラインの位置を一定に保持するか、またはモールド内のスラグラインの位置を所定の範囲内で選択的に変化させる点とが挙げられる。
また、本発明にかかる運転態様により、スラグラインの急激かつ顕著な変化を即座に検出して、警告(アラーム)を発したり、主制御システムによる調整の自動開始を起動させたりすることができる。
本発明では、上述の方法を実行するために、モールド蓋または保護ガスフードにレーダー式の測定プローブが取り付けられてもよく、当該レーダー式の測定プローブは、必要に応じて、水冷式のシールドハウジング内に配置される。このレーダー式の測定プローブは測定用管体を有しており、当該測定用管体から、レーダービームがスラグ浴の液面に対してほぼ垂直に当たるように案内される。測定用管体は、レーダービームを方向転換するように構成されていてもよく、例えば、曲げられている。このようにして得られた信号、すなわち、スラグのレベル(スラグの液面高さ)は、機器や表示スクリーンにおいて表示または表現(例えば、グラフィカルに)される。
また、得られた信号は、モールドからの鋳造体の引出しを制御する入力信号として利用されてもよいし、またはスラグラインのレベルが急激かつ顕著に変化した場合もしくはスラグラインのレベルが所定の閾値を上回るかもしくは下回った場合に警告を発するために利用されてもよい。
以下において、本発明を例示的な実施形態および図面を用いながら説明する。
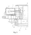
レーダー式の測定プローブが装着されたESR装置を示す平面図である。 レーダー式の測定プローブが内蔵されたシールドハウジングを含むESR装置を部分的に切欠して示す平面図と、回路構成を示すブロック図とを組み合わせた組合せ図である。 ESR装置の要部を示す縦断面図である。
図1は、レーダー式の測定プローブ3の配置の一実施形態を示す平面図である。同図において、レーダー式の測定プローブ3は、水冷式のシールドハウジング1内に収納された状態で、ESR(エレクトロスラグ再溶解)装置10の同じく水冷式のモールド蓋(鋳型の蓋)2にフランジを介して取り付けられている。
図2は、レーダー式の測定プローブ3を内部に有し、モールド蓋2にフランジを介して取り付けられたシールドハウジング1の一部切欠平面図を含む。同図において、シールドハウジング1は、モールドの内部空間の上方で曲げられて延在する測定用管体4、ガスをパージするためのパージ接続部5、およびレーダー式の測定プローブ3に給電したり測定信号を伝達したりするためのライン(配線)6を有する。同図に示すように、ライン6は、評価部15に接続されていてもよい。評価部15は、レーダー式の測定プローブ3によって得られた液面11(図3)のレベルを表示または表現するように構成されている。変形例として、またはこの構成に加えて、ライン6は、ESR装置10の制御部20に接続されていてもよい。制御部20は、スラグ浴9(図3)の液面11のレベルを一定に保持するか、またはスラグ浴9の液面11のレベルを一定時間ごとに所定の範囲内で選択的に変化させる。制御部20は、さらに、警告部21に接続されていてもよい。警告部21は、液面11のレベルが閾値を上回るか下回った際、または所定の変化速度および変化を超えて急激かつ顕著に変化した際に警告(アラーム)を発する。
図3は、シールドハウジング1およびその周辺の縦断面図である。同図からは、シールドハウジング1がレーダー式の測定プローブ3および曲げられた測定用管体4を有する様子と、測定用管体4が円錐状のホーンアンテナ7へと変化する様子とが見て取れる。同図からは、さらに、水冷式の上下スライド可能なモールド13の内壁8と、スラグ浴9の液面11(メタルライン)を見ることができる。また、同図には、レーダー式の測定プローブ3によって生成されるレーダービーム12が示されている。レーダービーム12は測定用管体4内で所定角度、例えば90°方向転換したうえで、好ましくは、液面11に対してほぼ垂直に当たる。レーダー式の測定プローブ3は公知の原理によって液面11のレベルを、好ましくは連続的に、検出する。
図示の例示的な実施形態では、シールドハウジング1は、二重壁(二重シェル)構造のハウジングとして構成されており、二重壁の内部に冷却水を流すことにより、水冷可能である。また、シールドハウジング1の外表面または内表面(二重壁の内面も含む)には、任意で、電磁場を遮断するためのミューメタル層が設けられてもよい。ミューメタル層とは、比較的高い透磁率を有する軟質金属合金のことを指す。ミューメタル層は、特には、ニッケルを約75〜80%、鉄を約15%、ならびに銅、コバルトおよびモリブデンからなる群から選択された成分を約3〜4%含み得る。
2 モールド蓋または保護ガスフード
3 レーダー式の測定プローブ
9 スラグ浴
10 エレクトロスラグ再溶解装置
11 スラグ浴の液面
12 測定プローブのレーダービーム
13 スライド可能なモールド
15 評価部
20 制御部

Claims (10)

  1. 短いスライド可能なモールド(13)を用いたエレクトロスラグ再溶解方法であって、エレクトロスラグ再溶解装置(10)のスラグ浴(9)の液面(11)のレベルが監視される、エレクトロスラグ再溶解方法において、
    前記スラグ浴(9)の液面(11)のレベルが、レーダー式の測定プローブ(3)によって測定され、
    前記レーダー式の測定プローブ(3)によって生成されたレーダービーム(12)が、前記スラグ浴(9)の液面(11)に当たるように案内され、
    得られた液面(11)のレベルが評価部(15)を介して表示もしくは表現され、および/または得られた液面(11)のレベルを、前記スライド可能なモールド(13)からの鋳造体の引出しを制御する制御部(20)の入力信号として使用することにより、前記エレクトロスラグ再溶解装置(10)の運転中の前記スラグ浴(9)の液面(11)のレベルを一定に保持するか、もしくは一定時間ごとに所定の範囲内で選択的に変化させることを特徴とする、エレクトロスラグ再溶解方法。
  2. 請求項1において、前記レーダービーム(12)を、前記スラグ浴(9)の液面(11)に対してほぼ垂直に当てることを特徴とする、エレクトロスラグ再溶解方法。
  3. 請求項1または2において、前記スラグ浴(9)の液面(11)のレベルが急激かつ顕著に変化した場合、または前記スラグ浴(9)の液面(11)のレベルが所定の閾値を上回るかもしくは下回った場合に、警告を発することを特徴とする、エレクトロスラグ再溶解方法。
  4. 請求項1から3のいずれか一項において、前記レーダー式の測定プローブ(3)を、前記エレクトロスラグ再溶解装置(10)のモールド蓋(2)または保護ガスフードに設けることを特徴とする、エレクトロスラグ再溶解方法。
  5. 請求項1から4のいずれか一項において、前記レーダー式の測定プローブ(3)により、前記スラグ浴(9)の液面(11)のレベルを連続的に測定することを特徴とする、エレクトロスラグ再溶解方法。
  6. 請求項1から5のいずれか一項に記載のエレクトロスラグ再溶解方法を実行するエレクトロスラグ再溶解装置(10)であって、スラグ浴(9)を覆うためのモールド蓋(2)または保護ガスフードを備える、エレクトロスラグ再溶解装置において、
    前記スラグ浴(9)の液面(11)のレベルを検出するレーダー式の測定プローブ(3)が、前記モールド蓋(2)または保護ガスフードに設けられており、
    前記測定プローブ(3)のレーダービーム(12)を前記スラグ浴(9)の液面(11)に当てることを特徴とする、エレクトロスラグ再溶解装置。
  7. 請求項6において、前記レーダー式の測定プローブ(3)が測定用管体(4)を有しており、前記レーダービーム(12)は、前記測定用管体(4)を介して方向転換されて前記スラグ浴(9)の液面(11)に対してほぼ垂直に当たることを特徴とする、エレクトロスラグ再溶解装置。
  8. 請求項6または7において、前記スラグ浴(9)の液面(11)のレベルを表示または表現するための評価部(15)が設けられている、エレクトロスラグ再溶解装置。
  9. 請求項6から8のいずれか一項において、前記レーダー式の測定プローブ(3)の信号が制御部(20)に供給され、当該制御部(20)が、前記信号を、スライド可能なモールド(13)からの鋳造体の引出しを制御するための入力信号として使用することを特徴とする、エレクトロスラグ再溶解装置。
  10. 請求項9において、前記制御部(20)が、前記スラグ浴(9)の液面(11)のレベルが急激かつ顕著に変化した場合、または前記スラグ浴(9)の液面(11)のレベルが所定の閾値を上回るかもしくは下回った場合に警告部(21)を起動させることを特徴とする、エレクトロスラグ再溶解装置。
JP2011105826A 2010-05-14 2011-05-11 短いスライド可能なモールドを備えるエレクトロスラグ再溶解装置のスラグのレベルを連続的に検出する装置および方法 Expired - Fee Related JP5690205B2 (ja)

Applications Claiming Priority (2)

Application Number Priority Date Filing Date Title
AT0080710A AT509736B1 (de) 2010-05-14 2010-05-14 Verfahren und vorrichtung zur kontinuierlichen erfassung des schlackenniveaus in esu-anlagen mit kurzen gleitkokillen
ATA807/2010 2010-05-14

Publications (2)

Publication Number Publication Date
JP2011240407A true JP2011240407A (ja) 2011-12-01
JP5690205B2 JP5690205B2 (ja) 2015-03-25

Family

ID=44583604

Family Applications (1)

Application Number Title Priority Date Filing Date
JP2011105826A Expired - Fee Related JP5690205B2 (ja) 2010-05-14 2011-05-11 短いスライド可能なモールドを備えるエレクトロスラグ再溶解装置のスラグのレベルを連続的に検出する装置および方法

Country Status (5)

Country Link
US (1) US20110277950A1 (ja)
EP (1) EP2386366B1 (ja)
JP (1) JP5690205B2 (ja)
CN (1) CN102253383A (ja)
AT (1) AT509736B1 (ja)

Families Citing this family (6)

* Cited by examiner, † Cited by third party
Publication number Priority date Publication date Assignee Title
CN105511419B (zh) * 2014-09-25 2018-02-27 鞍钢股份有限公司 一种连铸结晶器温度场可视化分析方法
CN105043504B (zh) * 2015-08-26 2018-06-19 上海船舶研究设计院 一种液舱的侧装式雷达液位遥测装置
AT517889B1 (de) * 2015-10-28 2017-09-15 Primetals Technologies Austria GmbH Erfassung einer Gießspiegelhöhe in einer Kokille
US10563286B2 (en) 2016-05-25 2020-02-18 Ald Vacuum Technologies Gmbh Electroslag remelting process and melting vessel
CN107167622B (zh) * 2017-06-22 2023-08-08 中国工程物理研究院流体物理研究所 一种弯式同轴探针组件
CN116479249A (zh) * 2023-04-25 2023-07-25 安徽富凯特材有限公司 一种高均质不锈合金钢的电渣重熔装置及其方法

Citations (9)

* Cited by examiner, † Cited by third party
Publication number Priority date Publication date Assignee Title
JPS57194772U (ja) * 1981-06-05 1982-12-10
JPS6372839A (ja) * 1986-09-16 1988-04-02 Daido Steel Co Ltd エレクトロスラグ再溶解におけるインゴツト引抜速度制御方法および制御装置
JPH05287400A (ja) * 1992-04-03 1993-11-02 Daido Steel Co Ltd エレクトロスラグ溶解装置における溶融スラグ液面位置制御方法
JPH07224332A (ja) * 1994-02-15 1995-08-22 Hitachi Metals Ltd エレクトロスラグ再溶解における大気からの遮蔽方法および装置
JPH1029042A (ja) * 1996-04-11 1998-02-03 Inteco Internatl Technische Beratung Gmbh チルモールドおよびこれを用いた金属再溶解方法
JPH10277706A (ja) * 1997-04-08 1998-10-20 Mitsubishi Heavy Ind Ltd ビレット連続鋳造機及び鋳造方法
JP2002523753A (ja) * 1998-08-18 2002-07-30 ユーエスエックス エンジニアーズ アンド コンサルタンツ,インコーポレーテツド 物質の厚さの測定
JP2004522852A (ja) * 2000-11-14 2004-07-29 インテコ・インターナショナーレ・テクニシェ・ベラツング・ゲゼルシャフト・ミット・ベシュレンクテル・ハフツング 導電性スラグ浴内で電極を溶解して金属インゴットまたはビレットを製造する方法およびこれを実行する装置
JP2008178908A (ja) * 2006-11-15 2008-08-07 Inteco Special Melting Technologies Gmbh 金属のエレクトロスラグ再溶解のプロセスおよびこれに使用されるインゴット・モールド

Family Cites Families (13)

* Cited by examiner, † Cited by third party
Publication number Priority date Publication date Assignee Title
WO1980001572A1 (fr) * 1979-01-31 1980-08-07 Inst Elektroswarki Patona Methode de controle automatique du niveau d'un bain de metal dans des cristallisoirs
DE3003082A1 (de) * 1979-05-16 1980-11-27 Inst Elektroswarki Patona Verfahren zur regelung der relativen verschiebung von gussblock und kokille und kokille zur durchfuehrung dieses verfahrens
JPH0616081B2 (ja) * 1988-10-06 1994-03-02 日本鋼管株式会社 距離測定装置
CA2036779A1 (en) * 1990-02-26 1991-08-27 Akio Nagamune In-furnace level meter and antenna therefor
CA2038823A1 (en) * 1990-03-30 1991-10-01 Akio Nagamune In-furnace slag level measuring method and apparatus therefor
CA2038825A1 (en) * 1990-03-30 1991-10-01 Akio Nagamune In-furnace slag level measuring apparatus
US5298887A (en) * 1991-10-04 1994-03-29 Sentech Corporation Molten metal gauging and control system employing a fixed position capacitance sensor and method therefor
NO178919C (no) * 1994-03-18 1996-07-03 Norsk Hydro As Nivåreguleringssystem for kontinuerlig eller semikontinuerlig metallstöpeutstyr
US5588324A (en) * 1994-06-14 1996-12-31 Speranza; Bernard E. Method for determining the level of a submerged layer of liquified material
EP0995523A1 (de) * 1998-10-23 2000-04-26 Alusuisse Technology & Management AG Vertikalstranggiessanlage mit optimierter Metallniveaumessung
IL159634A0 (en) * 2003-12-29 2004-06-01 E E R Env Energy Resrc Israel Transceiver unit, apparatus, system and method for detecting the level of waste in a furnace
EP1925681B1 (de) * 2006-11-15 2011-04-27 Inteco special melting technologies GmbH Verfahren zum Elektroschlacke-Umschmelzen von Metallen sowie Kokille dafür
EP2090387A1 (en) * 2008-01-18 2009-08-19 Corus Staal BV Method and apparatus for monitoring the surfaces of slag and molten metal in a mould

Patent Citations (9)

* Cited by examiner, † Cited by third party
Publication number Priority date Publication date Assignee Title
JPS57194772U (ja) * 1981-06-05 1982-12-10
JPS6372839A (ja) * 1986-09-16 1988-04-02 Daido Steel Co Ltd エレクトロスラグ再溶解におけるインゴツト引抜速度制御方法および制御装置
JPH05287400A (ja) * 1992-04-03 1993-11-02 Daido Steel Co Ltd エレクトロスラグ溶解装置における溶融スラグ液面位置制御方法
JPH07224332A (ja) * 1994-02-15 1995-08-22 Hitachi Metals Ltd エレクトロスラグ再溶解における大気からの遮蔽方法および装置
JPH1029042A (ja) * 1996-04-11 1998-02-03 Inteco Internatl Technische Beratung Gmbh チルモールドおよびこれを用いた金属再溶解方法
JPH10277706A (ja) * 1997-04-08 1998-10-20 Mitsubishi Heavy Ind Ltd ビレット連続鋳造機及び鋳造方法
JP2002523753A (ja) * 1998-08-18 2002-07-30 ユーエスエックス エンジニアーズ アンド コンサルタンツ,インコーポレーテツド 物質の厚さの測定
JP2004522852A (ja) * 2000-11-14 2004-07-29 インテコ・インターナショナーレ・テクニシェ・ベラツング・ゲゼルシャフト・ミット・ベシュレンクテル・ハフツング 導電性スラグ浴内で電極を溶解して金属インゴットまたはビレットを製造する方法およびこれを実行する装置
JP2008178908A (ja) * 2006-11-15 2008-08-07 Inteco Special Melting Technologies Gmbh 金属のエレクトロスラグ再溶解のプロセスおよびこれに使用されるインゴット・モールド

Non-Patent Citations (1)

* Cited by examiner, † Cited by third party
Title
JPN6014011829; 今井孝: '製銑・製鋼プロセスを対象としたマイクロ波レベル計の計測技術' R&D KOBE STEEL ENGINEERING REPORTS vol.57,No.3, 200712, P16-20, 株式会社神戸製鋼所 *

Also Published As

Publication number Publication date
AT509736B1 (de) 2012-03-15
CN102253383A (zh) 2011-11-23
EP2386366A2 (de) 2011-11-16
JP5690205B2 (ja) 2015-03-25
US20110277950A1 (en) 2011-11-17
AT509736A1 (de) 2011-11-15
EP2386366A3 (de) 2012-10-10
EP2386366B1 (de) 2016-08-24

Similar Documents

Publication Publication Date Title
JP5690205B2 (ja) 短いスライド可能なモールドを備えるエレクトロスラグ再溶解装置のスラグのレベルを連続的に検出する装置および方法
US20150204837A1 (en) Apparatus and Method for Predicting Slab Quality
US3834445A (en) Continuous casting mold having a breakout sensing and control device
KR101839841B1 (ko) 탕면높이 측정장치 및 측정방법
AU2012369954B2 (en) Bleedout detection system
JP5154997B2 (ja) 連続鋳造におけるブレークアウト予知方法
CN104936724A (zh) 由钛或钛合金构成的铸块的连续铸造方法
WO2022020708A1 (en) System and method for monitoring metal level during casting
KR100843937B1 (ko) 턴디쉬 용강온도 연속 감시장치
KR102935931B1 (ko) 주조 방법 및 관련 장치
JP2019098394A (ja) 鋼の品質判定方法及び鋼の品質判定装置
JP3944398B2 (ja) 連続鋳造機における鋳型内湯面レベル制御方法
JP2012148336A (ja) 鋳片の欠陥予測検知方法、鋳片の製造方法、鋳片の欠陥発生予測検知装置、該鋳片の欠陥発生予測検知装置を備えた連続鋳造設備
JP2016036825A (ja) 溶融金属注入方法
JP4618555B2 (ja) 連続鋳造における湯面制御方法及び湯面制御装置
Yenus et al. Principal component analysis of vibration signal in ladle metallurgy
JP3039254B2 (ja) 連続鋳造設備における湯面位置制御装置
US11951536B2 (en) System and method for monitoring ingot detachment from bottom block
JP5012161B2 (ja) 鋼の連続鋳造方法
JP4871023B2 (ja) 注入管の地金落下検知方法
Vazquez Tenova’s intelligent i BOF® technology, a modular package for BOF process improvement
JP5472716B2 (ja) 連続鋳造における湯面制御方法および湯面制御装置
KR100775499B1 (ko) 정련로 출강온도 측정장치
Kashakashvili et al. System for Automatically Regulating the Level of the Liquid Metal in Tundishes and Molds.
JP2012055942A (ja) 連続あるいは半連続鋳造装置の湯面レベル制御装置及び湯面高さ制御方法

Legal Events

Date Code Title Description
A621 Written request for application examination

Free format text: JAPANESE INTERMEDIATE CODE: A621

Effective date: 20130920

A131 Notification of reasons for refusal

Free format text: JAPANESE INTERMEDIATE CODE: A131

Effective date: 20140902

A521 Written amendment

Free format text: JAPANESE INTERMEDIATE CODE: A523

Effective date: 20141202

TRDD Decision of grant or rejection written
A01 Written decision to grant a patent or to grant a registration (utility model)

Free format text: JAPANESE INTERMEDIATE CODE: A01

Effective date: 20150106

A61 First payment of annual fees (during grant procedure)

Free format text: JAPANESE INTERMEDIATE CODE: A61

Effective date: 20150130

R150 Certificate of patent or registration of utility model

Ref document number: 5690205

Country of ref document: JP

Free format text: JAPANESE INTERMEDIATE CODE: R150

LAPS Cancellation because of no payment of annual fees