JP2011214283A - 複合サッシの枠体 - Google Patents
複合サッシの枠体 Download PDFInfo
- Publication number
- JP2011214283A JP2011214283A JP2010082234A JP2010082234A JP2011214283A JP 2011214283 A JP2011214283 A JP 2011214283A JP 2010082234 A JP2010082234 A JP 2010082234A JP 2010082234 A JP2010082234 A JP 2010082234A JP 2011214283 A JP2011214283 A JP 2011214283A
- Authority
- JP
- Japan
- Prior art keywords
- frame
- rail
- space portion
- reinforcing
- metal
- Prior art date
- Legal status (The legal status is an assumption and is not a legal conclusion. Google has not performed a legal analysis and makes no representation as to the accuracy of the status listed.)
- Pending
Links
Images
Landscapes
- Door And Window Frames Mounted To Openings (AREA)
- Support Devices For Sliding Doors (AREA)
Abstract
【課題】簡易な構造で断熱性及び強度の高い複合サッシの枠体を提供する。
【解決手段】上下枠及び左右の縦枠を枠組みしてなると共に、各枠は金属枠の室内側露出部分を樹脂枠にて覆ってなり、内部に内外障子2、3を引き違い状に納め、上枠10を構成する金属枠11は外障子を案内する外レール13を有し、上枠10を構成する樹脂枠12は、金属枠11の内周面及び外レール13の室内面を覆う一体形成された部材からなると共に、内障子2を案内する内レール12cを有し、内レール12cはレール空間部12dを備え、内レール12cのレール空間部12dには補強金属材14が設けられ、補強金属材14はレール空間部12d内に配置される補強部14aと、樹脂枠12のうち金属枠11の表面に当接する当接面部12gに対して当接し、当接面部12gと共に金属枠11に対してネジ止め固定される固定部14bとを有してなる。
【選択図】図3
【解決手段】上下枠及び左右の縦枠を枠組みしてなると共に、各枠は金属枠の室内側露出部分を樹脂枠にて覆ってなり、内部に内外障子2、3を引き違い状に納め、上枠10を構成する金属枠11は外障子を案内する外レール13を有し、上枠10を構成する樹脂枠12は、金属枠11の内周面及び外レール13の室内面を覆う一体形成された部材からなると共に、内障子2を案内する内レール12cを有し、内レール12cはレール空間部12dを備え、内レール12cのレール空間部12dには補強金属材14が設けられ、補強金属材14はレール空間部12d内に配置される補強部14aと、樹脂枠12のうち金属枠11の表面に当接する当接面部12gに対して当接し、当接面部12gと共に金属枠11に対してネジ止め固定される固定部14bとを有してなる。
【選択図】図3
Description
本発明は建物躯体の開口部に取付けられ引き違い状の障子を納める複合サッシの枠体に関し、特に金属枠の室内側に樹脂枠を配設してなる複合サッシの枠体に関する。
従来、建物躯体の開口部に設けられるサッシについて、金属材から構成される金属枠の室内側に樹脂材から構成される樹脂枠を配設してなる複合枠体を用いることがある。複合枠体を用いることにより、サッシの断熱性を高め、また室内側の意匠性も高めることができる。
サッシの中でも、枠体内に内外障子を引き違い状に納めてなる引き違いサッシにおいては、上下枠にそれぞれ内障子を案内する内レールと外障子を案内する外レールとが形成されている。このうち、複合枠体における上枠は、下枠と縦枠と同様に金属材の室内側露出部分を樹脂材にて被覆して構成される。
樹脂枠には、金属製の補強材が設けられ、枠体の強度を向上させるようにしている。特に、上枠において樹脂枠により構成される内レールの強度を大きくするため、内レールの内部に補強金属材を設け、この補強金属材を金属枠あるいは建物駆体に対して固定する構造が知られている。内レールに補強金属材を有した複合サッシの枠体としては、例えば特許文献1に挙げるようなものがある。
しかし、従来の複合サッシの枠体では、補強金属材を金属枠に当接させ、ネジ止め固定するようにしていたため、補強金属材が断熱されておらず、内レールの断熱性が低くなるという問題があった。これに対し、樹脂枠を分割形成し、補強金属材を分割した両樹脂枠で挟むようにした構造も知られているが、樹脂枠が分割されていると、強度が低下し、また取付作業も煩雑となる。
本発明は前記課題を鑑みてなされたものであり、簡易な構造で断熱性及び強度の高い複合サッシの枠体を提供することを目的とする。
前記課題を解決するため、本発明に係る複合サッシの枠体は、上下枠及び左右の縦枠を枠組みしてなると共に、各枠は金属枠の室内側露出部分を樹脂枠にて覆ってなり、内部に内外障子を引き違い状に納める複合サッシの枠体において、
前記上枠を構成する金属枠は前記外障子を案内する外レールを有し、前記上枠を構成する樹脂枠は、前記金属枠の内周面及び外レールの室内面を覆う一体形成された部材からなると共に、前記内障子を案内する内レールを有し、該内レールはレール空間部を備え、
前記内レールのレール空間部には補強金属材が設けられ、該補強金属材は前記レール空間部内に配置される補強部と、前記樹脂枠のうち前記金属枠の表面に当接する当接面部に対して当接し、前記当接面部と共に前記金属枠に対してネジ止め固定される固定部とを有してなることを特徴として構成されている。
前記上枠を構成する金属枠は前記外障子を案内する外レールを有し、前記上枠を構成する樹脂枠は、前記金属枠の内周面及び外レールの室内面を覆う一体形成された部材からなると共に、前記内障子を案内する内レールを有し、該内レールはレール空間部を備え、
前記内レールのレール空間部には補強金属材が設けられ、該補強金属材は前記レール空間部内に配置される補強部と、前記樹脂枠のうち前記金属枠の表面に当接する当接面部に対して当接し、前記当接面部と共に前記金属枠に対してネジ止め固定される固定部とを有してなることを特徴として構成されている。
また、本発明に係る複合サッシの枠体は、前記樹脂枠は前記レール空間部と連続する連続空間部と、該連続空間部と隔壁を介して隣接する枠空間部を備えてなることを特徴として構成されている。
さらに、本発明に係る複合サッシの枠体は、前記当接面部は前記連続空間部を形成する壁部を構成することを特徴として構成されている。
さらにまた、本発明に係る複合サッシの枠体は、前記当接面部は前記金属枠の内周面に対して当接し、前記当接面部に対して当接する前記補強金属材の固定部は前記補強部に対して直交することを特徴として構成されている。
そして、本発明に係る複合サッシの枠体は、前記補強金属材の補強部は前記レール空間部の幅より薄い板状に形成されると共に、長手方向に沿う突起状のリブを備えることを特徴として構成されている。
また、本発明に係る複合サッシの枠体は、前記補強金属材の補強部は前記レール空間部を構成する内レールの室外壁に当接し、前記リブの先端部は前記レール空間部を構成する内レールの室内壁に当接または近接することを特徴として構成されている。
本発明に係る複合サッシの枠体によれば、内レールのレール空間部には補強金属材が設けられ、補強金属材はレール空間部内に配置される補強部と、樹脂枠のうち金属枠の表面に当接する当接面部に対して当接し、当接面部と共に金属枠に対してネジ止め固定される固定部とを有してなることにより、補強金属材は樹脂部材のみに当接して金属部材に対して固着されているので、補強金属材の断熱性を確保しつつ補強強度も大きくすることができ、かつ、一つの部品で構成される樹脂上枠に補強金属材を設けることができるので、上枠の強度を確保し、取付の作業性も良好にすることができる。
また、本発明に係る複合サッシの枠体によれば、樹脂枠はレール空間部と連続する連続空間部と、連続空間部と隔壁を介して隣接する枠空間部を備えてなることにより、樹脂枠が断面中空状に形成されていて、断熱性をより高くすることができる。また、補強金属材が空間部内に配置されるので、意匠性も良好にすることができる。
さらに、本発明に係る複合サッシの枠体によれば、当接面部は連続空間部を形成する壁部を構成することにより、補強金属材の固定部を連続空間部内に配置することで、当接面部との当接をなすことができ、補強金属材の形状を簡単にして、構造を簡易化することができる。
さらにまた、本発明に係る複合サッシの枠体によれば、当接面部は金属枠の内周面に対して当接し、当接面部に対して当接する補強金属材の固定部は補強部に対して直交することにより、金属枠の外周側、あるいは樹脂枠の内周側から補強金属材を容易にネジ止め固定することができ、補強金属材の取付作業を容易にすることができる。
そして、本発明に係る複合サッシの枠体によれば、補強金属材の補強部はレール空間部の幅より薄い板状に形成されると共に、長手方向に沿う突起状のリブを備えることにより、補強金属材の軽量化を図りつつ、リブが内レールの内面に当接することで、強度も十分に確保することができる。
また、本発明に係る複合サッシの枠体によれば、補強金属材の補強部はレール空間部を構成する内レールの室外壁に当接し、リブの先端部はレール空間部を構成する内レールの室内壁に当接または近接することにより、補強金属材が内レール内において室外寄りに配置されて、断熱性をより高くすることができる。
本発明の実施形態について図面に沿って詳細に説明する。図1には本実施形態におけるサッシの縦断面図を、図2にはサッシの横断面図を、それぞれ示している。これら各図に示すように、本実施形態のサッシは、建物開口部に取付けられる枠体1内に内障子2と外障子3を引き違い状に納め、さらに外障子3の室外側には網戸4を納めてなるものである。また、枠体1は、外周面の室内外方向中間位置に、四周に渡るフィン部1aを備えており、このフィン部1aが建物駆体に対して室外側から当接しビス止めされることにより固定されている。すなわち、本実施形態のサッシは、半外付けサッシとして構成されている。
枠体1は、上枠10と下枠20及び左右の縦枠30、30を方形状に枠組みしてなるものである。各枠材は複合材から構成されている。すなわち、金属材からなる金属上枠11、金属下枠21、金属縦枠31の各室内露出部分を、樹脂上枠12、樹脂下枠22、樹脂縦枠32で覆っている。これにより、枠体1の断熱性を高くすると共に、室内側から見た意匠性も向上させている。
内障子2と外障子3は、それぞれ上框40と下框41及び左右の縦框42、42を方形状に框組みしてなる框体5内に複層ガラスからなるガラス体6を納めて構成されている。框体5は、室外側に金属材を配し、室内側に樹脂材を配した複合材からなるものである。すなわち、上框40は、室外側の金属上框40aと、その室内面に取付けられる樹脂上框40bとから構成され、下框41は、室外側の金属下框41aと、その室内面に取付けられる樹脂下框41bとから構成され、縦框42は、室外側の金属縦框42aと、その室内面に取付けられる樹脂縦框42bとから構成される。下框41の下端部には、戸車43が設けられて、障子を下枠20のレール上で走行自在となるようにしている。
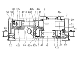
上枠10の構成についてより詳細に説明する。図3には、上枠10付近の拡大縦断面図を示している。上枠10は、前述の通り、室外側が金属上枠11で構成され、その室内側露出部分は樹脂上枠12で覆われている。金属上枠11は、断面中空状の金属枠本体11aを備え、その室内側端部から外周側に向かって突出するフィン部1aが形成されている。
金属枠本体11aの内周面側には、外障子3を案内する外レール13の室外側を構成する外レール構成部11bが突出状に形成されている。外レール構成部11bの下端部は断面略L字状となるように形成されており、外レール13の室外面及び下端面を構成する。また、金属枠本体11aの室内端部には、金属上枠11の室内側内周面を構成する室内延出部11cが形成されている。そして、金属枠本体11aの室外面は、さらに下方に延出されて室外面部11dとされている。金属上枠11のうち、金属枠本体11aの室内側面及びそれと連続するフィン部1a及び室内延出部11cが、建物駆体に沿うように取付けられる。
樹脂上枠12は、全体が一体形成されてなる樹脂部材により構成されている。樹脂上枠12は、金属上枠11の内周面を覆う断面中空状の樹脂枠本体12aを備えている。樹脂枠本体12aには、室外端部に金属上枠11の外レール構成部11bの室内面を覆い、外レール13の室内側を構成する外レール室内部12bが形成されている。外レール室内部12bは、断面中空状に形成されている。
樹脂枠本体12aの外レール室内部12bより室内側には、内周面から突出する内レール12cが形成されており、内障子2の上端部を案内する。内レール12cには、室内壁12eと室外壁12fが離隔して内部にレール空間部12dが形成されている。レール空間部12dの上部は、樹脂枠本体12aの連続空間部12hと連通し、連続空間部12hとレール空間部12dとで、断面略L次状の空間領域を形成している。また、連続空間部12hを形成する上面壁は、金属上枠11の室内延出部11cに対して当接する当接面部12gとなっている。
樹脂枠本体12aは、連続空間部12hの室内側と室外側にそれぞれ隔壁12kを介して枠空間部12iが形成されている。枠空間部12iは、室外側には3つが並設されている。このように、樹脂枠12は断面中空状に形成されているので、断熱性の高い枠体1とすることができる。また、樹脂枠本体12aの室内端部は、下方に延出された断面中空状の室内面部12jを有している。
連続空間部12hとレール空間部12dとで断面略L字状をなす空間領域には、補強金属材14が設けられる。補強金属材14は、レール空間部12d内に配置される補強部14aと、連続空間部12h内に配置される固定部14bとで、断面略L字状をなすように形成されている。補強金属材14は、上枠10のうち、内障子2と外障子3が閉じた状態における内障子2が配置される領域にのみ設けられる。
補強金属材14の補強部14aは、レール空間部12dの幅よりも薄い板状に形成されており、室内側面には長手方向に沿って突起状のリブ14cを複数備えている。補強部14aはレール空間部12d内において室外寄りに配置されて、レール空間部12dを構成する室外壁12fに当接し、リブ14cの先端部はレール空間部12dを構成する室内壁12eに近接する。また、リブ14cの先端部が室内壁12eに当接していてもよい。
補強部14aの先端部に設けられたリブ14cは、補強部14a全体の強度を向上させている。補強部14aの先端部より上方の中間位置に設けられたリブ14cは、上框40の上端位置と略同じ高さにあって、上框40が内レール12cに衝突した際における強度を向上させている。また、補強部14aの上端付近に設けられたリブ14cは、樹脂枠本体12aの内周面と略同じ高さにであって、内レール12cの根元部分に位置しており、内レール12cにおいて荷重がかかるため、従来隔壁が設けられていた部分を補強している。
また、内レール12cの室外壁12f内面には、微小な突起が2箇所に形成されており、補強金属材14が当接するようになっている。これにより、補強金属材14をスライドにより内レール12cの内部に挿入する際、摩擦を小さくして作業が容易となるようにしている。
このように、金属材からなる補強部14aが内レール12c内に設けられているので、内レール12cの強度を大きくすることができ、また補強部14aが内レール12cの室外寄りに配置されていることで、内レール12cの室内壁12eの断熱性を高くすることができると共に、リブ14cが設けられているので、強度も十分に確保することができる。
また、補強部14aの肉厚は、固定部14b側が厚く、先端側に向かって次第に薄くなるように形成されている。すなわち、荷重がかかった場合に大きな力のかかる根元部分の方が、先端部分よりも厚みが大きくなるように形成されており、これによって補強金属材14の強度を大きくしている。
補強金属材14の固定部14bは、樹脂枠本体12aの当接面部12gに対して当接した状態で、樹脂上枠12と金属上枠11に対してネジ止め固定されている。固定部14bが直接接しているのは樹脂部材のみであり、一方で固定は金属部材に対してなされているので、補強金属材14の固定強度を十分に確保しつつ、断熱性も同時に確保することができる。
補強金属材14の固定は、金属上枠11の外周面側から連続空間部12h内に向かってネジ止めすることによりなされる。ただし、樹脂上枠12の内周面側からネジ止めするようにしてもよい。
このように、一体成形されてなる樹脂上枠12のレール空間部12d及び連続空間部12hにより形成される空間領域に補強金属材14が設けられ、この補強金属材14は樹脂部材のみに当接して金属部材に対して固着されているので、補強金属材14の断熱性が確保され、かつ樹脂上枠12が一つの部品で構成されるので、強度も確保できると共に、取付の作業性も良好にすることができる。
上枠10に形成される内レール12cの一方の端部には、内障子2を全開状態としたときに内障子2の上端部に当接し、框体5が枠体1に衝突しないようにするため、ブロック状の上枠ストッパー15が設けられる。図4には、上枠10の内周面端部付近の拡大図を示している。この図に示すように、上枠ストッパー15は、内レール12cと外レール13の間の領域にネジ止め固定される基部15aと、基部15aから室内側に突出し、内レール12cを跨ぐように取付けられるレール横断部15bとを有している。このレール横断部15bが、内障子2の端部に当接自在となっている。
レール横断部15bを内レール12cの位置に取付けるため、内レール12cには切欠12mが形成される。図4の例では、内レール12cのうち縦枠30の内周面に隣接する部分は残して、レール横断部15bが配置される最小限の範囲のみを切り欠いて切欠12mを形成している。
図5には、上枠ストッパー15の取付構造の別の形態について示している。図5では、上枠10に上枠ストッパー15を設ける点では図4と同様であるが、内レール12cをレール横断部15bから縦枠30の内周面に至るまで、全て切り欠いて切欠12mを形成している。この方が容易に加工することができる一方、そのままでは上枠ストッパー15と縦枠30の内周面との間に、樹脂上枠12の中空内部が露出することとなる。これは、内レール12c内のレール空間部12dと連続空間部12hとの間が、隔壁等で仕切られていないためである。
そこで、図5に示すように、上枠ストッパー15のレール横断部15bと縦枠30の内周面との間に、スポンジ材16を設け、樹脂上枠12の中空内部が直接露出しないようにしている。
本実施形態では、サッシにつき防火性を持たせるようにしてもよい。サッシの防火性は、火事の際に樹脂部材が溶けて落ちた場合にも、障子やガラス体が脱落しないようにすることを言う。図6には、防火性を持たせた障子の縦断面図を示している。障子におけるガラス体6の固定構造を改めて詳細に説明すると、上框40と下框41には、それぞれ内周面にガラス体6を保持するための保持溝40c、41cが形成されている。上框40の保持溝40cは、室外側が金属上框40aにより、室内側が樹脂上框40bにより、構成されている。また、下框41の保持溝41cも、室外側が金属下框41aにより、室内側が樹脂下框41bにより、構成されている。
ガラス体6は、室内ガラス6aと室外ガラス6bとが、スペーサー部材6cを介して対向配置され複層ガラスとして構成されている。その外周縁にはグレチャン7が設けられ、このグレチャン7と共に框体5の保持溝40c、41cに対して挿入され、ガラス体6が固定される。
この場合において、火事で樹脂部材が金属部材から落ちた場合、ガラス体6を保持する保持溝40c、41cの室内壁が失われるので、そのままではガラス体6が脱落する。このため、金属上框40aには上落下防止材43が、金属下框41aには下落下防止材44が、それぞれ取付けられる。
上落下防止材43は、薄板が屈曲状に形成されてなり、金属上框40aに対してネジ止め固定される固定面部43aと、固定面部43aの室内端部において見付方向内側に向かう段差43bと、段差43bから室内側に向かって断面略L字状に伸びる室内保持部43cとを有している。室内保持部43cは、グレチャン7の底壁及び室内面に沿うように形成されており、樹脂上框40bが失われた場合に、ガラス体6の室内面側を保持する。
下落下防止材44も、薄板が屈曲状に形成されてなり、金属下框41aに対してネジ止め固定される固定面部44aと、固定面部44aの室内端部において見付方向内側に向かう段差44bと、段差44bから室内側に向かって断面略L字状に伸びる室内保持部44cとを有している点では、上落下防止材43と同様である。室内保持部44cは、グレチャン7の底壁及び室内面に沿うように形成されており、樹脂下框41bが失われた場合に、ガラス体6の室内面側を保持する。
また、下落下防止材44の室外側において、固定面部44aの室外端部から見付方向内側に向かう段差44dが形成され、さらに段差44dから室外側に向かって伸びる室外保持部44eも形成されている。これにより、下落下防止材44は、固定面部44a及びその周囲が断面略ハット状となるように形成されている。なお、下落下防止材44は、一体の部材でなくてもよく、少なくとも室外保持部44eに相当する部分を有する部材を、室内保持部44cを有する部材と共に固定するようにしてもよい。
火事の際、ガラス体6を構成する室内ガラス6aと室外ガラス6b及びスペーサー部材6cが、熱により分離してしまうことが考えられ、この場合でも、室内ガラス6aは下落下防止材44の室内保持部44cにより保持され、また室外ガラス6bは下落下防止材44の室外保持部44eと金属下框41aの室外面とにより保持されるので、ガラス体6の脱落を防止することができる。
樹脂部材が失われた場合における障子の枠体1からの脱落については、図1に示すように、外障子3は上辺が金属上枠11の外レール構成部11bにより支持され、内障子2は上辺が金属上枠11に固定された補強金属材14により支持される。また、図2に示すように、左右の縦枠30、30の内周面にそれぞれ形成される内周フィン33、33によって、傾倒を防止することができ、さらには、内障子2と外障子3が閉じて施錠された状態では、内障子2に設けられるクレセント45と外障子3に設けられる係合金具46とによって、一体化されており、いずれも枠体1から脱落することはない。
本発明は、他の形態のサッシにも適用することができる。図7には、外付けサッシの場合の上枠10付近の拡大縦断面図である。図1〜6で説明したサッシは、前述のように半外付けサッシであるが、図7に示すサッシは、上枠10の室内端部にフィン部1aが形成されており、図示しないが下枠20及び縦枠30についても同様である。したがって、枠体1は室内端部が建物駆体に対して固着され、サッシ全体が建物開口部から室外側に張り出すように設置されることとなる。
外付けサッシでは、金属上枠11の金属枠本体11aの室内端部にフィン部1aが形成され、金属枠本体11aの室外端部に室外面部11dが形成され、金属枠本体11aの内周面に外レール構成部11bが形成されている。樹脂上枠12は、金属枠本体11aのうち、外レール構成部11bの室内面側と、それより室内側の金属枠本体11a内周面を覆うように形成されている。
外付けサッシにおいても、樹脂上枠12には、レール空間部12dを有する内レール12cが形成され、レール空間部12dは樹脂枠本体12aの連続空間部12hと連通して断面略L字状の空間領域を形成し、該空間領域には補強金属材14が設けられる。補強金属材14は、レール空間部12dに配置される補強部14aと、樹脂枠本体12aの金属上枠11と当接する当接面部12gに対して当接し、樹脂上枠12を介して金属上枠11に対してネジ止め固定される固定部14bとを有している。
補強金属材14の固定部14bと樹脂上枠12の当接面部12g及び金属上枠11は、上枠10の内周側からネジ止め固定されている。そのため、樹脂上枠12の内周面には、ネジを挿入するための挿入孔12nが形成されており、ネジ止めを行ったら、挿入孔12nを塞ぐようにキャップ12pが取付けられる。これにより、金属上枠11に強固に固定された補強金属材14により内レール12cの強度を向上させつつ、金属部材とも断熱させることができる。
また、補強金属材14の構成はこれまで説明したものには限られない。図1〜7で説明した補強金属材14は、固定部14bが補強金属材14の上端から室内側に向かって伸びているが、固定部14bは室外側に伸びていてもよい。図8には、別の形態の補強金属材14を有した外付けサッシの上枠10付近拡大縦断面図を示している。
図8に示すように、補強金属材14の固定部14bを、補強部14aの上端から室外側に向かって伸びるように形成した場合、連続空間部12hは、レール空間部12dから室外側に向かうように形成されており、固定部14bが金属上枠11に対して当接する樹脂枠本体12aの当接面部12gに当接し、ネジ止め固定される。なお、樹脂枠本体12aの構成を図7と同様にし、連続空間部12hを構成する隔壁12kに、固定部14bを挿通させる切欠を設けてもよい。
以上、本発明の実施形態について説明したが、本発明の適用は本実施形態には限られず、その技術的思想の範囲内において様々に適用されうるものである。例えば、本実施形態では、樹脂上枠12の中空内部に補強金属材14が配置されているが、樹脂上枠12のレール空間部12dや連続空間部12hは、必ずしも閉じた中空状でなくてもよく、一部が開放した空間部として構成されていてもよい。
また、補強金属材14の構成としては、本実施形態では補強部14aと固定部14bとで断面略L字状をなすように形成しているが、内レール12cと連続空間部12hの構成に応じて、補強部14aと固定部14bが一直線状をなすように形成されていてもよいし、また断面T字状等の形状をなしていてもよい。
さらには、サッシの構成も本実施形態には限られず、例えば枠体内に2枚の内障子と2枚の外障子を設けた4枚引きサッシであってもよい。この場合、内障子と外障子が閉じた状態で、2枚の内障子が枠体の中央部に配置され、2枚の外障子がそれぞれ枠体の両端部に配置されるのが一般的であり、このとき、補強金属材は内レールのうち一方の縦枠側端部から2枚の内障子が配置された領域に渡って設けられる。
1 枠体
2 内障子
3 外障子
5 框体
6 ガラス体
7 グレチャン
10 上枠
11 金属上枠
12 樹脂上枠
12a 樹脂枠本体
12c 内レール
12d レール空間部
12g 当接面部
12h 連続空間部
13 外レール
14 補強金属材
14a 補強部
14b 固定部
20 下枠
30 縦枠
2 内障子
3 外障子
5 框体
6 ガラス体
7 グレチャン
10 上枠
11 金属上枠
12 樹脂上枠
12a 樹脂枠本体
12c 内レール
12d レール空間部
12g 当接面部
12h 連続空間部
13 外レール
14 補強金属材
14a 補強部
14b 固定部
20 下枠
30 縦枠
Claims (6)
- 上下枠及び左右の縦枠を枠組みしてなると共に、各枠は金属枠の室内側露出部分を樹脂枠にて覆ってなり、内部に内外障子を引き違い状に納める複合サッシの枠体において、
前記上枠を構成する金属枠は前記外障子を案内する外レールを有し、前記上枠を構成する樹脂枠は、前記金属枠の内周面及び外レールの室内面を覆う一体形成された部材からなると共に、前記内障子を案内する内レールを有し、該内レールはレール空間部を備え、
前記内レールのレール空間部には補強金属材が設けられ、該補強金属材は前記レール空間部内に配置される補強部と、前記樹脂枠のうち前記金属枠の表面に当接する当接面部に対して当接し、前記当接面部と共に前記金属枠に対してネジ止め固定される固定部とを有してなることを特徴とする複合サッシの枠体。 - 前記樹脂枠は前記レール空間部と連続する連続空間部と、該連続空間部と隔壁を介して隣接する枠空間部を備えてなることを特徴とする請求項1記載の複合サッシの枠体。
- 前記当接面部は前記連続空間部を形成する壁部を構成することを特徴とする請求項2記載の複合サッシの枠体。
- 前記当接面部は前記金属枠の内周面に対して当接し、前記当接面部に対して当接する前記補強金属材の固定部は前記補強部に対して直交することを特徴とする請求項1〜3のいずれか1項に記載の複合サッシの枠体。
- 前記補強金属材の補強部は前記レール空間部の幅より薄い板状に形成されると共に、長手方向に沿う突起状のリブを備えることを特徴とする請求項1〜4のいずれか1項に記載の複合サッシの枠体。
- 前記補強金属材の補強部は前記レール空間部を構成する内レールの室外壁に当接し、前記リブの先端部は前記レール空間部を構成する内レールの室内壁に当接または近接することを特徴とする請求項5記載の複合サッシの枠体。
Priority Applications (1)
| Application Number | Priority Date | Filing Date | Title |
|---|---|---|---|
| JP2010082234A JP2011214283A (ja) | 2010-03-31 | 2010-03-31 | 複合サッシの枠体 |
Applications Claiming Priority (1)
| Application Number | Priority Date | Filing Date | Title |
|---|---|---|---|
| JP2010082234A JP2011214283A (ja) | 2010-03-31 | 2010-03-31 | 複合サッシの枠体 |
Publications (1)
| Publication Number | Publication Date |
|---|---|
| JP2011214283A true JP2011214283A (ja) | 2011-10-27 |
Family
ID=44944299
Family Applications (1)
| Application Number | Title | Priority Date | Filing Date |
|---|---|---|---|
| JP2010082234A Pending JP2011214283A (ja) | 2010-03-31 | 2010-03-31 | 複合サッシの枠体 |
Country Status (1)
| Country | Link |
|---|---|
| JP (1) | JP2011214283A (ja) |
Cited By (8)
| Publication number | Priority date | Publication date | Assignee | Title |
|---|---|---|---|---|
| JP2015196978A (ja) * | 2014-03-31 | 2015-11-09 | 株式会社Lixil | 複合建具 |
| JP2015232225A (ja) * | 2014-06-10 | 2015-12-24 | Ykk Ap株式会社 | 建具 |
| JP2016188465A (ja) * | 2015-03-30 | 2016-11-04 | 旭化成ホームズ株式会社 | 樹脂サッシ |
| JP2018044435A (ja) * | 2017-12-22 | 2018-03-22 | Ykk Ap株式会社 | 建具 |
| JP2021038519A (ja) * | 2019-08-30 | 2021-03-11 | 株式会社Lixil | ガイドレールの取付構造及び建具 |
| JP2023021600A (ja) * | 2021-08-02 | 2023-02-14 | 株式会社Lixil | 建具 |
| JP2024124558A (ja) * | 2020-09-01 | 2024-09-12 | 株式会社Lixil | サッシ窓の気密/断熱構造 |
| JP7774677B2 (ja) | 2024-07-09 | 2025-11-21 | 株式会社Lixil | サッシ窓 |
-
2010
- 2010-03-31 JP JP2010082234A patent/JP2011214283A/ja active Pending
Cited By (8)
| Publication number | Priority date | Publication date | Assignee | Title |
|---|---|---|---|---|
| JP2015196978A (ja) * | 2014-03-31 | 2015-11-09 | 株式会社Lixil | 複合建具 |
| JP2015232225A (ja) * | 2014-06-10 | 2015-12-24 | Ykk Ap株式会社 | 建具 |
| JP2016188465A (ja) * | 2015-03-30 | 2016-11-04 | 旭化成ホームズ株式会社 | 樹脂サッシ |
| JP2018044435A (ja) * | 2017-12-22 | 2018-03-22 | Ykk Ap株式会社 | 建具 |
| JP2021038519A (ja) * | 2019-08-30 | 2021-03-11 | 株式会社Lixil | ガイドレールの取付構造及び建具 |
| JP2024124558A (ja) * | 2020-09-01 | 2024-09-12 | 株式会社Lixil | サッシ窓の気密/断熱構造 |
| JP2023021600A (ja) * | 2021-08-02 | 2023-02-14 | 株式会社Lixil | 建具 |
| JP7774677B2 (ja) | 2024-07-09 | 2025-11-21 | 株式会社Lixil | サッシ窓 |
Similar Documents
| Publication | Publication Date | Title |
|---|---|---|
| JP2011214283A (ja) | 複合サッシの枠体 | |
| JP5734150B2 (ja) | サッシ | |
| JP2009299440A (ja) | サッシ | |
| JP4027920B2 (ja) | 樹脂サッシ | |
| JP4594723B2 (ja) | 複合サッシの枠体 | |
| KR101565961B1 (ko) | 창호용 미들 프레임 및 이를 구비한 창호 프레임 | |
| JP5621122B2 (ja) | サッシ | |
| JP2009084823A (ja) | サッシ下枠及びサッシ | |
| JP6494365B2 (ja) | ドア | |
| JP2006233452A (ja) | 樹脂サッシ | |
| JP4583203B2 (ja) | 内倒し窓 | |
| JP4709553B2 (ja) | 複合サッシの枠体 | |
| JP4436267B2 (ja) | 内倒し窓 | |
| JP4738393B2 (ja) | サッシ | |
| JP5306716B2 (ja) | 下枠フラットサッシ | |
| JP4933038B2 (ja) | サッシ | |
| JP2009299441A (ja) | サッシ | |
| JP2009299442A (ja) | サッシ | |
| JP4771515B2 (ja) | 下枠フラットサッシ | |
| JP2013060745A (ja) | 障子 | |
| JP2005076429A (ja) | サッシのガラス固定構造 | |
| JP4465263B2 (ja) | 断熱サッシ | |
| JP5938766B2 (ja) | サッシ | |
| JP4518913B2 (ja) | サッシの開閉機構 | |
| JP5419790B2 (ja) | ドア |