JP2011190846A - 電磁ブレーキ装置 - Google Patents

電磁ブレーキ装置 Download PDF

Info

Publication number
JP2011190846A
JP2011190846A JP2010056314A JP2010056314A JP2011190846A JP 2011190846 A JP2011190846 A JP 2011190846A JP 2010056314 A JP2010056314 A JP 2010056314A JP 2010056314 A JP2010056314 A JP 2010056314A JP 2011190846 A JP2011190846 A JP 2011190846A
Authority
JP
Japan
Prior art keywords
recess
armature
insertion member
brake
flow path
Prior art date
Legal status (The legal status is an assumption and is not a legal conclusion. Google has not performed a legal analysis and makes no representation as to the accuracy of the status listed.)
Granted
Application number
JP2010056314A
Other languages
English (en)
Other versions
JP5393545B2 (ja
Inventor
Shinpei Momoki
新平 桃木
Current Assignee (The listed assignees may be inaccurate. Google has not performed a legal analysis and makes no representation or warranty as to the accuracy of the list.)
Mitsubishi Electric Corp
Original Assignee
Mitsubishi Electric Corp
Priority date (The priority date is an assumption and is not a legal conclusion. Google has not performed a legal analysis and makes no representation as to the accuracy of the date listed.)
Filing date
Publication date
Application filed by Mitsubishi Electric Corp filed Critical Mitsubishi Electric Corp
Priority to JP2010056314A priority Critical patent/JP5393545B2/ja
Publication of JP2011190846A publication Critical patent/JP2011190846A/ja
Application granted granted Critical
Publication of JP5393545B2 publication Critical patent/JP5393545B2/ja
Expired - Fee Related legal-status Critical Current
Anticipated expiration legal-status Critical

Links

Images

Landscapes

  • Braking Arrangements (AREA)
  • Cage And Drive Apparatuses For Elevators (AREA)

Abstract

【課題】本発明は、動作音を低減することができる電磁ブレーキ装置を得ることを目的とするものである。
【解決手段】挿入部材9は、制動及びブレーキ解放に伴うアーマチュア6の動作により、凹部6aに対して押し込まれたり引き出されたりする。挿入部材9及びフィールド10には、流体流路12が設けられている。流体流路12は、挿入部材9をその軸方向に貫通している。流体流路12及び凹部6a内には、油13が入れられている。流体流路12は、挿入部材9が凹部6aに押し込まれる際に凹部6a内の油13を逃がし、挿入部材9が凹部6aから引き出される際に凹部6a内に油13を導入する。流体流路12には、オリフィス16が設けられている。
【選択図】図4

Description

この発明は、例えばエレベータ巻上機等に設けられる電磁ブレーキ装置に関するものである。
従来の電磁ディスクブレーキ装置では、制動時に、制動ばねによりアーマチュアが制動板側へ押し出されることにより、ブレーキディスクに設けられたライニングがアーマチュアと制動板との間に挟まれ、制動力が印加される。また、ブレーキ解放時には、電磁マグネットによりアーマチュアが吸引されることにより、ライニングがアーマチュア及び制動板から離れる(例えば、特許文献1参照)。
特開2007−278454号公報
上記のような従来の電磁ディスクブレーキ装置では、制動時にライニングが制動板に衝突し大きな衝突音が発生する。また、ブレーキ解放時には、アーマチュアがフィールドに衝突し大きな衝突音が発生する。
この発明は、上記のような課題を解決するためになされたものであり、動作音を低減することができる電磁ブレーキ装置を得ることを目的とする。
この発明に係る電磁ブレーキ装置は、アーマチュアと、アーマチュアを吸引する電磁マグネットと、電磁マグネットから離れる方向へアーマチュアを付勢する制動ばねと、アーマチュア及び電磁マグネットのいずれか一方に取り付けられ、かつアーマチュア及び電磁マグネットの他方に形成された凹部に挿入されている挿入部材とを有するブレーキ駆動部、及びアーマチュアに設けられているライニングを備え、ブレーキ駆動部には、挿入部材が凹部に押し込まれる際に凹部内の流体を逃がし、挿入部材が凹部から引き出される際に凹部内に流体を導入する流体流路が設けられており、流体流路には、オリフィスが設けられている。
この発明の電磁ブレーキ装置は、アーマチュアの動作により挿入部材が凹部に対して押し込まれたり引き出されると、流体流路を通して、流体が凹部内から逃がされたり凹部内に導入されたりするようになっており、しかもその流体流路にオリフィスが設けられているため、アーマチュアの動作に抵抗が与えられることになり、動作音を低減することができる。
この発明の実施の形態1による電磁ブレーキ装置のブレーキ解放時の状態を示す断面図である。 図1の電磁ブレーキ装置の制動時の状態を示す断面図である。 図1の要部を拡大して示す断面図である。 図3に示した部分の制動時の状態を示す断面図である。 この発明の実施の形態2による電磁ブレーキ装置の制動時の状態を示す断面図である。 図5の電磁ブレーキ装置のブレーキ解放時の状態を示す断面図である。 この発明の実施の形態3による電磁ブレーキ装置の制動時の状態を示す断面図である。 図7の電磁ブレーキ装置のブレーキ解放時の状態を示す断面図である。
以下、この発明を実施するための形態について、図面を参照して説明する。
実施の形態1.
図1はこの発明の実施の形態1による電磁ブレーキ装置のブレーキ解放時の状態を示す断面図、図2は図1の電磁ブレーキ装置の制動時の状態を示す断面図であり、一例としてエレベータ巻上機のブレーキ装置を示している。
図において、ブレーキ回転体であるブレーキドラム1は、エレベータ巻上機のハウジング2に対して回転可能である。また、ブレーキドラム1は、駆動シーブと一体に回転される。駆動シーブには、かご及び釣合おもりを吊り下げる懸架手段(ロープ又はベルト)が巻き掛けられる。
ハウジング2には、一対の電磁ブレーキ装置3が取り付けられている。各電磁ブレーキ装置3は、ブレーキ駆動部4と、ブレーキ駆動部4により駆動されるブレーキシュー5とを有している。ブレーキシュー5には、ブレーキドラム1の外周面(制動面)に接触・離隔されるライニング5aが設けられている。制動時には、ブレーキドラム1は、その両側からライニング5aにより挟持される。
各ブレーキ駆動部4は、アーマチュア6、電磁マグネット7、複数の制動ばね8、及び複数の挿入部材9を有している。アーマチュア6は、図の左右方向へ変位可能であり、電磁マグネット7に接触・離隔される。ブレーキシュー5は、アーマチュア6に搭載されており、アーマチュア6と一体に変位される。
電磁マグネット7は、フィールド10と、フィールド10に取り付けられたブレーキコイル11とを有している。ブレーキコイル11は、フィールド10に設けられたコイル溝に嵌め込まれている。
制動ばね8は、フィールド10とアーマチュア6との間に設けられ、電磁マグネット7から離れる方向へアーマチュア6を付勢している。制動ばね8の両端部は、フィールド10及びアーマチュア6に設けられたばね受け穴に挿入されている。
ブレーキ解放時(吸引時)には、電磁マグネット7が励磁され、電磁マグネット7によりアーマチュア6が吸引されることにより、ライニング5aが制動ばね8に抗してブレーキドラム1から引き離される。
また、制動時には、ブレーキコイル11への通電が遮断されることにより、電磁マグネット7が非励磁状態にされ、制動ばね8によりライニング5aがブレーキドラム1に押し当てられる。
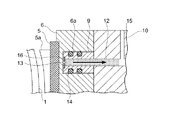
各挿入部材9は、棒状であり、その基端部はフィールド10に固定されている。また、各挿入部材9の先端部は、アーマチュア6に形成された凹部6aに挿入されている。これらの挿入部材9は、制動及びブレーキ解放に伴うアーマチュア6の動作により、凹部6aに対して押し込まれたり引き出されたりする。
制動時には、ブレーキドラム1の円周方向の接線力がライニング5aにかかる。このような接線力は、ブレーキシュー5からアーマチュア6に伝わり、アーマチュア6から挿入部材9を介してフィールド10に伝わり、フィールド10から、フィールド10をハウジング2に固定しているボルトを介してハウジング2に伝わる。即ち、挿入部材9は、アーマチュア6の変位を案内するとともに、可動部であるアーマチュア6から固定部であるフィールド10に制動時の接線力を伝えている。
図3は図1の要部を拡大して示す断面図、図4は図3に示した部分の制動時の状態を示す断面図である。挿入部材9及びフィールド10には、流体流路12が設けられている。流体流路12は、挿入部材9をその軸方向に貫通している。即ち、実施の形態1の挿入部材9は、中空円筒状である。
流体流路12及び凹部6a内には、流体(作動流体)としての油13が入れられている。流体流路12は、挿入部材9が凹部6aに押し込まれる際に凹部6a内の油13を逃がし、挿入部材9が凹部6aから引き出される際に凹部6a内に油13を導入する。
挿入部材9の外周部には、凹部6aの内周面に沿って摺動される複数のシール部材14が設けられている。シール部材14としては、例えばOリングが用いられている。シール部材14は、挿入部材9と凹部6aの内周面との間からの油13の漏れを防止する。フィールド10には、流体流路12とフィールド10外とを連通する通気孔15が設けられている。
流体流路12には、オリフィス16が設けられている。この例では、オリフィス16は、流体流路12の及び凹部6aに臨む端部、即ち挿入部材9の先端部にが設けられている。
このような電磁ブレーキ装置3では、アーマチュア6の動作により挿入部材9が凹部6aに対して押し込まれたり引き出されると、流体流路12を通して、油13が凹部6a内から逃がされたり凹部6a内に導入されたりするようになっており、しかもその流体流路12にオリフィス16が設けられているため、アーマチュア6の動作に抵抗が与えられることになる。このため、制動時にライニング5aがブレーキドラム1に衝突する際や、ブレーキ解放時にアーマチュア6がフィールド10に衝突する際の動作音を低減することができる。
実施の形態2.
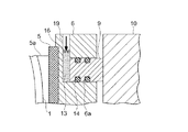
次に、図5はこの発明の実施の形態2による電磁ブレーキ装置の制動時の状態を示す断面図、図6は図5のブレーキ解放時の状態を示す断面図であり、図3及び図4と同様の部分を示している。また、電磁ブレーキ装置全体の構成は、図1及び図2と同様である。
図において、挿入部材9の基端部は、アーマチュア6に固定されている。また、挿入部材9の先端部は、フィールド10に形成された凹部10aに挿入されている。挿入部材9及びアーマチュア6には、流体流路17が設けられている。流体流路17は、挿入部材9が凹部10aに押し込まれる際に凹部10a内の油13を逃がし、挿入部材9が凹部10aから引き出される際に凹部10a内に油13を導入する。
アーマチュア6には、流体流路17とアーマチュア6外とを連通する通気孔18が設けられている。オリフィス16は、流体流路17の及び凹部10aに臨む端部、即ち挿入部材9の先端部に設けられている。他の構成は、実施の形態1と同様である。
このように、挿入部材9をアーマチュア6側に固定し、凹部10aをフィールド10に設けた構成であっても、流体流路17及びオリフィス16を設けることにより、アーマチュア6の動作に抵抗が与えられ、動作音を低減することができる。
実施の形態3.
次に、図7はこの発明の実施の形態3による電磁ブレーキ装置の制動時の状態を示す断面図、図8は図7のブレーキ解放時の状態を示す断面図であり、図3及び図4と同様の部分を示している。また、電磁ブレーキ装置全体の構成は、図1及び図2と同様である。
図において、アーマチュア6には、凹部6a内とアーマチュア6外とを連通する流体流路19が設けられている。流体流路19は、挿入部材9が凹部6aに押し込まれる際に凹部6a内の油13を逃がし、挿入部材9が凹部10aから引き出される際に凹部6a内に油13を導入する。
オリフィス16は、流体流路19の途中に設けられている。他の構成は、実施の形態1と同様である。
このように、挿入部材9に空孔を設けず、アーマチュア6のみに流体流路19を設けた構成であっても、流体流路19及びオリフィス16を設けることにより、アーマチュア6の動作に抵抗が与えられ、動作音を低減することができる。
なお、実施の形態3では、挿入部材9をフィールド10に固定し、凹部6aをアーマチュア6に形成し、アーマチュア6に流体流路19を設けたが、挿入部材9をアーマチュア6に固定し、凹部10aをフィールド10に形成し、フィールド10に凹部10a内とフィールド10外とを連通する流体流路を設けてもよい。
また、実施の形態1〜3では流体として油13を使用したが、流体は油13に限定されるものではない。例えば、オリフィス16のサイズを小さくし、かつオリフィス16の数を増やして、流体として空気を使用してもよい。このように、空気を使用した場合、油漏れの心配が無くなり、保守管理が容易になる。
さらに、実施の形態1〜3では、アーマチュア6にライニング5aが取り付けられている構成を示したが、この発明はあらゆるタイプの電磁ブレーキ装置に適用することができる。例えば、制動ばねによりアーマチュアが制動板側へ押し出されることにより、ブレーキディスクに設けられたライニングがアーマチュアと制動板との間に挟まれ、制動力が印加されるタイプの電磁ブレーキ装置にも適用することができる。
さらにまた、実施の形態1〜3では、1個のブレーキドラム1に対して2台の電磁ブレーキ装置3を用いたが、1台又は3台以上用いてもよい。
また、実施の形態1〜3では、エレベータ巻上機のブレーキ装置を示したが、この発明の電磁ブレーキ装置はエレベータ巻上機以外にも適用できる。
3 電磁ブレーキ装置、4 ブレーキ駆動部、5a ライニング、6 アーマチュア、6a,10a 凹部、7 電磁マグネット、8 制動ばね、9 挿入部材、12,17,19 流体流路、13 油(流体)、15,18 通気孔、16 オリフィス。

Claims (5)

  1. アーマチュアと、前記アーマチュアを吸引する電磁マグネットと、前記電磁マグネットから離れる方向へ前記アーマチュアを付勢する制動ばねと、前記アーマチュア及び前記電磁マグネットのいずれか一方に取り付けられ、前記アーマチュア及び前記電磁マグネットの他方に形成された凹部に挿入されている挿入部材とを有するブレーキ駆動部、及び
    前記アーマチュアに設けられているライニング
    を備え、
    前記ブレーキ駆動部には、前記挿入部材が前記凹部に押し込まれる際に前記凹部内の流体を逃がし、前記挿入部材が前記凹部から引き出される際に前記凹部内に流体を導入する流体流路が設けられており、
    前記流体流路には、オリフィスが設けられていることを特徴とする電磁ブレーキ装置。
  2. 前記挿入部材は、前記電磁マグネットに固定されており、
    前記凹部は、前記アーマチュアに形成されており、
    前記流体流路は、前記挿入部材及び前記電磁マグネットに設けられているとともに、前記挿入部材をその軸方向に貫通していることを特徴とする請求項1記載の電磁ブレーキ装置。
  3. 前記挿入部材は、前記アーマチュアに固定されており、
    前記凹部は、前記電磁マグネットに形成されており、
    前記流体流路は、前記挿入部材及び前記アーマチュアに設けられているとともに、前記挿入部材をその軸方向に貫通していることを特徴とする請求項1記載の電磁ブレーキ装置。
  4. 前記ブレーキ駆動部には、前記流体流路と前記ブレーキ駆動部外とを連通する通気孔が設けられていることを特徴とする請求項2又は請求項3記載の電磁ブレーキ装置。
  5. 前記流体流路は、前記凹部内と前記ブレーキ駆動部外とを連通するように前記ブレーキ駆動部に設けられていることを特徴とする請求項1記載の電磁ブレーキ装置。
JP2010056314A 2010-03-12 2010-03-12 電磁ブレーキ装置 Expired - Fee Related JP5393545B2 (ja)

Priority Applications (1)

Application Number Priority Date Filing Date Title
JP2010056314A JP5393545B2 (ja) 2010-03-12 2010-03-12 電磁ブレーキ装置

Applications Claiming Priority (1)

Application Number Priority Date Filing Date Title
JP2010056314A JP5393545B2 (ja) 2010-03-12 2010-03-12 電磁ブレーキ装置

Publications (2)

Publication Number Publication Date
JP2011190846A true JP2011190846A (ja) 2011-09-29
JP5393545B2 JP5393545B2 (ja) 2014-01-22

Family

ID=44795985

Family Applications (1)

Application Number Title Priority Date Filing Date
JP2010056314A Expired - Fee Related JP5393545B2 (ja) 2010-03-12 2010-03-12 電磁ブレーキ装置

Country Status (1)

Country Link
JP (1) JP5393545B2 (ja)

Cited By (4)

* Cited by examiner, † Cited by third party
Publication number Priority date Publication date Assignee Title
JP2017187127A (ja) * 2016-04-07 2017-10-12 小倉クラッチ株式会社 電磁ブレーキ
CN107750528A (zh) * 2017-11-22 2018-03-06 黎剑鸣 一种基于全水泵动力的高安全性新型园林绿化装置
CN113864362A (zh) * 2021-09-09 2021-12-31 宁波银象汽车配件制造有限公司 一种耐压高扭矩液压马达用制动器壳体
CN115030973A (zh) * 2021-03-08 2022-09-09 三菱电机株式会社 电磁铁、电磁制动器以及电梯曳引机

Citations (3)

* Cited by examiner, † Cited by third party
Publication number Priority date Publication date Assignee Title
JPH0234837U (ja) * 1988-08-30 1990-03-06
JPH05254767A (ja) * 1992-03-11 1993-10-05 Toshiba Corp 電磁ブレーキ
JP2009144777A (ja) * 2007-12-12 2009-07-02 Hitachi Ltd ブレーキ装置

Patent Citations (3)

* Cited by examiner, † Cited by third party
Publication number Priority date Publication date Assignee Title
JPH0234837U (ja) * 1988-08-30 1990-03-06
JPH05254767A (ja) * 1992-03-11 1993-10-05 Toshiba Corp 電磁ブレーキ
JP2009144777A (ja) * 2007-12-12 2009-07-02 Hitachi Ltd ブレーキ装置

Cited By (5)

* Cited by examiner, † Cited by third party
Publication number Priority date Publication date Assignee Title
JP2017187127A (ja) * 2016-04-07 2017-10-12 小倉クラッチ株式会社 電磁ブレーキ
CN107750528A (zh) * 2017-11-22 2018-03-06 黎剑鸣 一种基于全水泵动力的高安全性新型园林绿化装置
CN115030973A (zh) * 2021-03-08 2022-09-09 三菱电机株式会社 电磁铁、电磁制动器以及电梯曳引机
CN115030973B (zh) * 2021-03-08 2024-02-09 三菱电机株式会社 电磁铁、电磁制动器以及电梯曳引机
CN113864362A (zh) * 2021-09-09 2021-12-31 宁波银象汽车配件制造有限公司 一种耐压高扭矩液压马达用制动器壳体

Also Published As

Publication number Publication date
JP5393545B2 (ja) 2014-01-22

Similar Documents

Publication Publication Date Title
JP6807753B2 (ja) ブレーキ部材駆動機構
JP5911042B2 (ja) ブレーキ装置、及びそれを用いたエレベータ用巻上機
JP2005502838A (ja) 可変ばね定数の緩衝部材を備えた圧縮ばね型電磁ブレーキ装置
JP5393545B2 (ja) 電磁ブレーキ装置
JP2009537745A (ja) 零入力電流操作式電磁ばね圧ブレーキの騒音防止
JP4448996B2 (ja) 電磁ブレーキ装置
JP5495811B2 (ja) エレベータの巻上機ブレーキ
JP5263865B2 (ja) 巻上機用電動機
CN110506022B (zh) 电梯的曳引机制动器以及电梯曳引机
JP4359187B2 (ja) 電磁ブレーキ装置及びエレベーター巻上機の電磁ブレーキ装置
CN104418259B (zh) 制动装置以及使用该制动装置的电梯设备
JPWO2010143298A1 (ja) エレベータ用巻上機のブレーキ装置
JP5919856B2 (ja) エレベータ巻上機用制動装置
JP6176863B2 (ja) エレベータ用巻上機
JP5191720B2 (ja) エレベーター巻上機用制動装置
JP2004224531A (ja) エレベータのディスクブレーキ装置
JP4812544B2 (ja) エレベーター用巻上機
JP5505996B2 (ja) 電磁ブレーキ装置
JP7019080B1 (ja) エレベータ用巻上機のブレーキ装置及びエレベータ用巻上機
JP6293069B2 (ja) 電磁ブレーキ装置およびそれを用いたエレベータ装置
JP2013155001A (ja) エレベータ用ブレーキ装置
JP5178075B2 (ja) ブレーキ装置及びエレベータ装置
EP1783089A1 (en) Hoist of elevator
JP2006199408A (ja) エレベータ用巻上機
JP2024019787A (ja) 巻上機、及びエレベーター

Legal Events

Date Code Title Description
A621 Written request for application examination

Free format text: JAPANESE INTERMEDIATE CODE: A621

Effective date: 20120921

A977 Report on retrieval

Free format text: JAPANESE INTERMEDIATE CODE: A971007

Effective date: 20130612

A131 Notification of reasons for refusal

Free format text: JAPANESE INTERMEDIATE CODE: A131

Effective date: 20130625

A521 Request for written amendment filed

Free format text: JAPANESE INTERMEDIATE CODE: A523

Effective date: 20130802

TRDD Decision of grant or rejection written
A01 Written decision to grant a patent or to grant a registration (utility model)

Free format text: JAPANESE INTERMEDIATE CODE: A01

Effective date: 20130917

A61 First payment of annual fees (during grant procedure)

Free format text: JAPANESE INTERMEDIATE CODE: A61

Effective date: 20131015

R150 Certificate of patent or registration of utility model

Ref document number: 5393545

Country of ref document: JP

Free format text: JAPANESE INTERMEDIATE CODE: R150

Free format text: JAPANESE INTERMEDIATE CODE: R150

R250 Receipt of annual fees

Free format text: JAPANESE INTERMEDIATE CODE: R250

R250 Receipt of annual fees

Free format text: JAPANESE INTERMEDIATE CODE: R250

R250 Receipt of annual fees

Free format text: JAPANESE INTERMEDIATE CODE: R250

R250 Receipt of annual fees

Free format text: JAPANESE INTERMEDIATE CODE: R250

R250 Receipt of annual fees

Free format text: JAPANESE INTERMEDIATE CODE: R250

LAPS Cancellation because of no payment of annual fees