JP2010501774A - タービン・ハウジング - Google Patents

タービン・ハウジング Download PDF

Info

Publication number
JP2010501774A
JP2010501774A JP2009525081A JP2009525081A JP2010501774A JP 2010501774 A JP2010501774 A JP 2010501774A JP 2009525081 A JP2009525081 A JP 2009525081A JP 2009525081 A JP2009525081 A JP 2009525081A JP 2010501774 A JP2010501774 A JP 2010501774A
Authority
JP
Japan
Prior art keywords
housing
diffuser
insertion member
turbine
gas
Prior art date
Legal status (The legal status is an assumption and is not a legal conclusion. Google has not performed a legal analysis and makes no representation as to the accuracy of the status listed.)
Pending
Application number
JP2009525081A
Other languages
English (en)
Inventor
ヤルセル、マティアス
ディ・ピエトロ、マルコ
シュテーデリ、マルクス
ノイエンシュバンダー、ペーター
フィリプセン、ベント
Original Assignee
アーベーベー ターボ システムズ アクチエンゲゼルシャフト
Priority date (The priority date is an assumption and is not a legal conclusion. Google has not performed a legal analysis and makes no representation as to the accuracy of the date listed.)
Filing date
Publication date
Family has litigation
First worldwide family litigation filed litigation Critical https://patents.darts-ip.com/?family=38740249&utm_source=google_patent&utm_medium=platform_link&utm_campaign=public_patent_search&patent=JP2010501774(A) "Global patent litigation dataset” by Darts-ip is licensed under a Creative Commons Attribution 4.0 International License.
Application filed by アーベーベー ターボ システムズ アクチエンゲゼルシャフト filed Critical アーベーベー ターボ システムズ アクチエンゲゼルシャフト
Publication of JP2010501774A publication Critical patent/JP2010501774A/ja
Pending legal-status Critical Current

Links

Images

Classifications

    • FMECHANICAL ENGINEERING; LIGHTING; HEATING; WEAPONS; BLASTING
    • F01MACHINES OR ENGINES IN GENERAL; ENGINE PLANTS IN GENERAL; STEAM ENGINES
    • F01DNON-POSITIVE DISPLACEMENT MACHINES OR ENGINES, e.g. STEAM TURBINES
    • F01D9/00Stators
    • F01D9/02Nozzles; Nozzle boxes; Stator blades; Guide conduits, e.g. individual nozzles
    • FMECHANICAL ENGINEERING; LIGHTING; HEATING; WEAPONS; BLASTING
    • F01MACHINES OR ENGINES IN GENERAL; ENGINE PLANTS IN GENERAL; STEAM ENGINES
    • F01DNON-POSITIVE DISPLACEMENT MACHINES OR ENGINES, e.g. STEAM TURBINES
    • F01D25/00Component parts, details, or accessories, not provided for in, or of interest apart from, other groups
    • F01D25/30Exhaust heads, chambers, or the like
    • FMECHANICAL ENGINEERING; LIGHTING; HEATING; WEAPONS; BLASTING
    • F01MACHINES OR ENGINES IN GENERAL; ENGINE PLANTS IN GENERAL; STEAM ENGINES
    • F01DNON-POSITIVE DISPLACEMENT MACHINES OR ENGINES, e.g. STEAM TURBINES
    • F01D25/00Component parts, details, or accessories, not provided for in, or of interest apart from, other groups
    • F01D25/24Casings; Casing parts, e.g. diaphragms, casing fastenings
    • FMECHANICAL ENGINEERING; LIGHTING; HEATING; WEAPONS; BLASTING
    • F01MACHINES OR ENGINES IN GENERAL; ENGINE PLANTS IN GENERAL; STEAM ENGINES
    • F01DNON-POSITIVE DISPLACEMENT MACHINES OR ENGINES, e.g. STEAM TURBINES
    • F01D9/00Stators
    • F01D9/02Nozzles; Nozzle boxes; Stator blades; Guide conduits, e.g. individual nozzles
    • F01D9/026Scrolls for radial machines or engines
    • FMECHANICAL ENGINEERING; LIGHTING; HEATING; WEAPONS; BLASTING
    • F02COMBUSTION ENGINES; HOT-GAS OR COMBUSTION-PRODUCT ENGINE PLANTS
    • F02BINTERNAL-COMBUSTION PISTON ENGINES; COMBUSTION ENGINES IN GENERAL
    • F02B37/00Engines characterised by provision of pumps driven at least for part of the time by exhaust
    • FMECHANICAL ENGINEERING; LIGHTING; HEATING; WEAPONS; BLASTING
    • F04POSITIVE - DISPLACEMENT MACHINES FOR LIQUIDS; PUMPS FOR LIQUIDS OR ELASTIC FLUIDS
    • F04DNON-POSITIVE-DISPLACEMENT PUMPS
    • F04D29/00Details, component parts, or accessories
    • F04D29/40Casings; Connections of working fluid
    • F04D29/42Casings; Connections of working fluid for radial or helico-centrifugal pumps
    • F04D29/44Fluid-guiding means, e.g. diffusers
    • FMECHANICAL ENGINEERING; LIGHTING; HEATING; WEAPONS; BLASTING
    • F05INDEXING SCHEMES RELATING TO ENGINES OR PUMPS IN VARIOUS SUBCLASSES OF CLASSES F01-F04
    • F05DINDEXING SCHEME FOR ASPECTS RELATING TO NON-POSITIVE-DISPLACEMENT MACHINES OR ENGINES, GAS-TURBINES OR JET-PROPULSION PLANTS
    • F05D2250/00Geometry
    • F05D2250/70Shape

Landscapes

  • Engineering & Computer Science (AREA)
  • Mechanical Engineering (AREA)
  • General Engineering & Computer Science (AREA)
  • Chemical & Material Sciences (AREA)
  • Combustion & Propulsion (AREA)
  • Supercharger (AREA)
  • Turbine Rotor Nozzle Sealing (AREA)

Abstract

本発明の課題は、軸流タービンの流出領域を、簡単な手段によって、流体技術的に改善することである。本発明では、このことは、軸流タービンにおいて、ハウジングが、ディフューザからガス流出ハウジングまでの流出領域で、組み合わされた内側の流路と外側の流路とを有する構成部材として形成されていることによって、達成される。ディフューザの、ガス流出ハウジングへの組込みによって、空気力学的に最適化されており且つ圧力損失が最小限でも流れの最大限の減速を保証するハウジングが作られる。
【選択図】図1

Description

本発明は、過給内燃機関のための排ガス・ターボチャージャの分野に関する。
本発明は、排ガス・ターボチャージャの軸流タービンのハウジング並びにこのようなタービン・ハウジングを製造するための方法に関する。
排ガス・ターボチャージャは、内燃機関の、特に往復動機関の出力を増大させるために用いられる。この場合、排ガス・ターボチャージャは、通常、ラジアル・コンプレッサ及び半径流タービンまたは軸流タービンを有する。
所定の用途のために排ガス・ターボチャージャを設計する際に、とりわけ、タービン側を、内燃機関の要求に応じて構成する。この場合、例えば、タービンの所定の寸法、従ってタービン・ホイールの所定の寸法のために及びこの寸法に対応するタービン・ハウジングのために、ブレードの異なった高さを有するタービン・ブレードを備えることができる。用途に応じて、短いか長いブレードがブレード支持体に取り付けられる。
用途の変化に対処するために、ブレードの異なる高さを有するタービン・ブレードを、後でも、現存の排ガス・タービンに組み込むことができる。
当然ながら、ブレードの高さの変化によって、回転ブレードのすぐ付近にある複数のハウジング部分、特に、ディフューザ外壁を、適合させねばならない。このことが従来の排ガス・タービンで煩雑であることがあるのは、かなりの重量を有することがあり且つ排ガス・ターボチャージャに設けられたかなり大きなハウジング部分が、他のハウジング部分と交換されねばならない場合、特にこの場合である。
例えば DE 101 37 899 C1 から公知である、軸流タービンのガス流出ハウジングは、通常、一方の側ではほぼ半円形の横断面を有し、向かい側では流出管に結合するための丸いまたは矩形のフランジを有する収集空間として形成されている。この収集空間へ突出するディフューザは、タービン・ホイールのブレード・リングに続いて実際に軸方向に延びており、収集空間への出口の領域で、径方向の転向を被る。従来の流出ハウジングの場合、流れは、ディフューザの領域でのみ、ディフューザの正確に調整された形状に基づいて、制御されている。流れがディフューザを去って収集空間へ流れるとき、流れが、制御されない進路を行く。
独国特許第 DE 101 37 899 C1 号公報
本発明の課題は、軸流タービンの流出領域を、簡単な手段によって、流体技術的に改善することである。
このことは、本発明では、軸流タービンにおいて、ハウジングがディフューザからガス流出ハウジングまでの流出領域で、組み合わされた内側の流路と外側の流路とを有する構成部材として形成されていることによって、達成される。ディフューザの、ガス流出ハウジングへの組込みによって、空気力学的に最適化されており且つ圧力損失が最小限でも流れの最大限の遅れを保証するハウジングが作られる。
組み合わされた内側の流路と外側の流路は、ガス流出ハウジング及びディフューザ壁によって区画される。ガス流出ハウジングとディフューザ壁との間の交点は、周囲に沿って、異なった半径上にある。このことによって、流れの所望の最適化の原因である、周方向に変化する2つの部分流路が生じる。
ディフューザは、選択的に、回転ブレードの径方向外側の領域に、交換可能な挿入部材を有する。挿入部材は、必要な場合に且つタービン・ブレードの選択された高さに応じて、他の幾何学的な寸法を有する他の挿入部材と交換することができる。
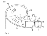
本発明により組み込まれたディフューザ及びガス流出ハウジングを有する軸流タービンの流出領域の断面図を示す。 タービン・ブレードの径方向外側の領域でディフューザに設けられている交換可能な挿入部材の部分拡大図を示す。
以下、図面を参照して、本発明に係わる装置を略示し且つ詳述する。全ての図面では、同一に作用する要素に、同一の参照符号が付される。図1は、軸流タービンの流出領域を示す。流出領域にあるハウジング1は、実質的に、タービンの近くのディフューザと、外側のガス流出ハウジング10とを有する。ディフューザは、内側のディフューザ壁12及び外側のディフューザ壁11によって区画されており、ガス流出ハウジングは、ディフューザの内側領域から出てくる、内側の流れ13を受け取り、外側の流れ14として、ガス流出ハウジングの流出フランジへ導く。タービンの流出領域におけるハウジングの課題は、多くの圧力を失うことなく、排ガスの流れ速度を遅らせることである。
ガス流出ハウジング10は、ディフューザ・ハウジングと一体的に形成されている。このことによって、内側の流れ領域13から外側の流れ領域14への空気力学的に最適な移行がなされる。ガス流出ハウジング10と、ディフューザの外壁11との間の交点の領域は、T字形である。交点Tは、周方向に分布されつつ、ディフューザ壁に沿って延びている。それ故に、外側の流路は、不均一な横断面を有する。
ディフューザが組み込まれたガス流出ハウジングは、選択的に挿入部材15を有する。挿入部材は、タービン・ブレード3の径方向外側にある領域に設けられている。図2は、この領域を拡大図で示す。所定のハウジングの寸法、従って、所定の組み込まれたディフューザ及びガス流出ハウジングを有する軸流タービンの場合に、回転ブレードの新たな高さが用いられるとき、ブレードの先端とハウジングとの間の間隔を調整するために、挿入部材15を交換することができる。かくして、簡単な方法で、且つ特に大きな物流的な及び組立技術上のコストなしに、タービンの同一の寸法を有する複数のタービン構造体が実現される。種々のハウジング部分は、小さな挿入部材であるに過ぎない。大きなディフューザを交換する必要はなく、ガス流出ハウジング全体を交換する必要もない。
挿入部材15は、図2に示すように、ディフューザ外壁と、例えばノズル・リング4またはガス流入ハウジング2との間に取り付けられる。この代わりに、挿入部材を、例えば、ねじによって、任意のハウジング部分に取り付けることができる。図2に示されているように、長さの異なったブレードのために、ブレードの適切にずらされた先端32によって、種々の挿入部材の内郭が径方向内側にずらされている。
ノズル・リング4の、外側の取付リングは、挿入部材15の、流れ方向手前に設けられている。ノズル・リングの、外側の取付リングの、その内径が、挿入部材15の内郭の内径よりも小さいことは好ましい。その差が、ブレードの先端と、挿入部材の内郭との間の間隔の0.3ないし3倍であることは好ましい。
挿入部材は、この挿入部材が径方向に所定の運動自由度を有するように、2つのハウジング部分の間に設けられていることができる。これによって、挿入部材における熱応力を阻止することができる。この場合に注意すべきことは、挿入部材が、複数の隣り合うハウジング部分によって、タービン軸に対して位置決めされていることである。このことを、挿入部材の流出側端部16にセンターピンがあることによって、達成することができることは利点である。タービン・ブレードの径方向外側では、挿入部材は、径方向に自由に膨張することができる。ただし、ギャップ17が、挿入部材と、この挿入部材の径方向外側に設けられたハウジング部分との間に設けられている場合に限る。
挿入部材の肉厚は、隣り合ったハウジング部分と比較して小さい。このことによって、素早い温度変化の場合に、熱応力を阻止することができる。更に、挿入部材の熱膨張の相違及びタービンの回転ホイールを小さく保つことができる。
挿入部材15と、外側のディフューザ壁11との間の移行部は、平らに形成されてもよいが、あるいは、出っ張った段または引っ込んだ段をもって形成されていてもよい。
かように形成された軸流タービンの製造または保守の際には、組み込まれるハウジングへの組み込みの前に、挿入部材に、タービン・ブレードの選択された長さの故に生じる所望の内径を備えることができる。稼動中にブレードの長さを変化させねばならないとき、このことに応じて、一方の挿入部材が、この挿入部材よりも大きくまたは小さい内径を有する他方の挿入部材と交換することができる。タービンの所定の寸法に関して、全ての挿入部材は、同一の外径を有し、内径のみが変化する。
1…流出領域におけるハウジング、10…ガス流出ハウジング、11…外側のディフューザ壁、12…内側のディフューザ壁、13…内側の流路、14…外側の流路、15…挿入部材、16…挿入部材の流出側端部、17…ガス流出ハウジングと挿入部材との間の径方向ギャップ、2…ガス流入ハウジング、3…タービン・ホイール、31…回転ブレード、32…ブレードの先端、33…ブレードの先端とハウジングとの間の間隔、4…ノズル・リング。

Claims (5)

  1. ディフューザ及びガス流出ハウジングを有する、軸流タービンのハウジングであって、前記ディフューザが、ガス流入ハウジングによって区画された収集空間へ突出しているハウジングにおいて、
    前記ディフューザ及び前記ガス流出ハウジングが、一体的なハウジング部分として形成されていることを特徴とするハウジング。
  2. 前記ガス流出ハウジング(10)は、交点(T)で、ディフューザ壁(11)に当たり、このディフューザ壁(11)上での前記交点(T)の位置が周方向に変化する、請求項1に記載のハウジング。
  3. 前記一体的なハウジング部分は、前記軸流タービンの回転ブレード(31)の径方向外側にある領域に、前記一体的なハウジング部分に別個の構成要素として挿入されている挿入部材(15)を有する、請求項1または2に記載のハウジング。
  4. 前記挿入部材(15)と、径方向外側に設けられたハウジング部分との間に、径方向ギャップ(17)が設けられており、前記挿入部材(15)は、ガス流出側端部(16)に、センターピンを有し、このセンターピンによって、前記挿入部材が、径方向外側に設けられたハウジング部分に位置決めされている、請求項3に記載のハウジング。
  5. 排ガス・ターボチャージャの軸流タービンを製造または保守するための方法であって、タービンの所定の大きさに対して、異なった長さの回転ブレードを使用することができる方法において、
    ディフューザが組み込まれたガス流出ハウジングへ、回転ブレードの選択された長さに調整された内径を予め有する挿入部材を挿入することを特徴とする方法。
JP2009525081A 2006-08-24 2007-08-24 タービン・ハウジング Pending JP2010501774A (ja)

Applications Claiming Priority (3)

Application Number Priority Date Filing Date Title
EP06405366 2006-08-24
EP06405365 2006-08-24
PCT/EP2007/058849 WO2008023068A2 (de) 2006-08-24 2007-08-24 Turbinengehäuse

Publications (1)

Publication Number Publication Date
JP2010501774A true JP2010501774A (ja) 2010-01-21

Family

ID=38740249

Family Applications (1)

Application Number Title Priority Date Filing Date
JP2009525081A Pending JP2010501774A (ja) 2006-08-24 2007-08-24 タービン・ハウジング

Country Status (6)

Country Link
EP (1) EP2054587B1 (ja)
JP (1) JP2010501774A (ja)
KR (1) KR101055231B1 (ja)
CN (1) CN101506476B (ja)
DE (1) DE502007002221D1 (ja)
WO (1) WO2008023068A2 (ja)

Cited By (2)

* Cited by examiner, † Cited by third party
Publication number Priority date Publication date Assignee Title
JP2014015936A (ja) * 2012-07-09 2014-01-30 Abb Turbo Systems Ag 排気ガスタービンのディフューザ
JP2015094345A (ja) * 2013-11-14 2015-05-18 三菱重工業株式会社 タービン

Families Citing this family (6)

* Cited by examiner, † Cited by third party
Publication number Priority date Publication date Assignee Title
JP6731359B2 (ja) * 2017-02-14 2020-07-29 三菱日立パワーシステムズ株式会社 排気ケーシング、及びこれを備える蒸気タービン
DE102017124467A1 (de) 2017-10-19 2019-04-25 Abb Turbo Systems Ag Diffusoranordnung einer Abgasturbine
CN109098780B (zh) * 2018-05-24 2024-05-14 中车大连机车研究所有限公司 一种涡轮增压器燃气废气进排气壳体
DE102019101602A1 (de) * 2019-01-23 2020-07-23 Man Energy Solutions Se Strömungsmaschine
SE543851C2 (en) * 2019-12-12 2021-08-10 Scania Cv Ab Exhaust additive dosing system comprising a turbocharger
CN112524383B (zh) * 2020-11-17 2022-04-19 中国航发四川燃气涡轮研究院 用于航空发动机涡轮部件试验器的轴向膨胀自补偿装置

Citations (2)

* Cited by examiner, † Cited by third party
Publication number Priority date Publication date Assignee Title
JPH08312363A (ja) * 1995-05-17 1996-11-26 Niigata Eng Co Ltd 排気タービン過給機の洗浄方法及び洗浄装置
JP2003003804A (ja) * 2001-05-23 2003-01-08 Man B & W Diesel Gmbh 排気駆動過給機の軸流タービン

Family Cites Families (5)

* Cited by examiner, † Cited by third party
Publication number Priority date Publication date Assignee Title
GB815475A (en) * 1954-09-10 1959-06-24 Henschel & Sohn Ges Mit Beschr Improvements in gas turbines with a small built-in heat exchanger
DD267079A1 (de) * 1987-12-23 1989-04-19 Bergmann Borsig Veb Austrittsgehaeuse mit radialem austritt fuer stroemungsmaschinen
US6168375B1 (en) * 1998-10-01 2001-01-02 Alliedsignal Inc. Spring-loaded vaned diffuser
DE10137899C1 (de) * 2001-08-02 2003-04-03 Man B & W Diesel Ag Strömungsmaschine
EP1574681A1 (en) * 2004-03-11 2005-09-14 Ford Global Technologies, LLC Exhaust turbine with down-pipe diffuser

Patent Citations (2)

* Cited by examiner, † Cited by third party
Publication number Priority date Publication date Assignee Title
JPH08312363A (ja) * 1995-05-17 1996-11-26 Niigata Eng Co Ltd 排気タービン過給機の洗浄方法及び洗浄装置
JP2003003804A (ja) * 2001-05-23 2003-01-08 Man B & W Diesel Gmbh 排気駆動過給機の軸流タービン

Cited By (2)

* Cited by examiner, † Cited by third party
Publication number Priority date Publication date Assignee Title
JP2014015936A (ja) * 2012-07-09 2014-01-30 Abb Turbo Systems Ag 排気ガスタービンのディフューザ
JP2015094345A (ja) * 2013-11-14 2015-05-18 三菱重工業株式会社 タービン

Also Published As

Publication number Publication date
WO2008023068A3 (de) 2008-06-19
DE502007002221D1 (de) 2010-01-14
EP2054587A2 (de) 2009-05-06
CN101506476A (zh) 2009-08-12
CN101506476B (zh) 2011-09-14
KR101055231B1 (ko) 2011-08-09
EP2054587B1 (de) 2009-12-02
KR20090035599A (ko) 2009-04-09
WO2008023068A2 (de) 2008-02-28

Similar Documents

Publication Publication Date Title
JP2010501774A (ja) タービン・ハウジング
CN110582674B (zh) 燃气涡轮发动机的燃烧区段
JP4275081B2 (ja) 可変容量型排気ターボ過給機のスクロール構造及びその製造方法
US7862295B2 (en) Device for guiding a stream of air entering a combustion chamber of a turbomachine
EP2541069B1 (en) Radial compressor diffuser pipe with bump to reduce boundary layer accumulation
EP2103780B1 (en) Cold air buffer supply tube
EP2881552B1 (de) Fluggasturbine mit einem Kerntriebwerksgehäuse mit Kühlluftröhren
EP3124743A1 (en) Nozzle guide vane and method for forming a nozzle guide vane
EP1950382A1 (en) Spoke with flow guiding element
JP2003512569A (ja) 放射状分割ディフューザ
US10815789B2 (en) Impingement holes for a turbine engine component
CN107023326B (zh) 用于在空隙控制系统中使用的歧管及制造方法
US20210003020A1 (en) Engine component with set of cooling holes
JP6360140B2 (ja) 燃焼器アセンブリ
JP2008122068A (ja) 燃焼器ドームミキサー保持手段
JP5248501B2 (ja) コンプレッサ・ハウジング
CN101372899A (zh) 具有滑动活塞组件的涡轮增压器
JP2019178861A (ja) 燃焼器アセンブリ
US9845704B2 (en) Cooled flange connection of a gas-turbine engine
US20180156450A1 (en) Fuel nozzle of a gas turbine with a swirl generator
CN113924444A (zh) 制造用于涡轮机的火焰管的方法
KR20240158146A (ko) 축방향 압축기용 추출 임펠러
US7007475B2 (en) Conical helical of spiral combustor scroll device in gas turbine engine
US20130022444A1 (en) Low pressure turbine exhaust diffuser with turbulators
JP6147777B2 (ja) 吸気整流装置、これを備えたコンプレッサ

Legal Events

Date Code Title Description
A131 Notification of reasons for refusal

Free format text: JAPANESE INTERMEDIATE CODE: A131

Effective date: 20110201

A601 Written request for extension of time

Free format text: JAPANESE INTERMEDIATE CODE: A601

Effective date: 20110502

A602 Written permission of extension of time

Free format text: JAPANESE INTERMEDIATE CODE: A602

Effective date: 20110512

A521 Request for written amendment filed

Free format text: JAPANESE INTERMEDIATE CODE: A523

Effective date: 20110801

A02 Decision of refusal

Free format text: JAPANESE INTERMEDIATE CODE: A02

Effective date: 20120110

A521 Request for written amendment filed

Free format text: JAPANESE INTERMEDIATE CODE: A523

Effective date: 20120510

A911 Transfer to examiner for re-examination before appeal (zenchi)

Free format text: JAPANESE INTERMEDIATE CODE: A911

Effective date: 20120517

A912 Re-examination (zenchi) completed and case transferred to appeal board

Free format text: JAPANESE INTERMEDIATE CODE: A912

Effective date: 20120720

A601 Written request for extension of time

Free format text: JAPANESE INTERMEDIATE CODE: A601

Effective date: 20121204

A602 Written permission of extension of time

Free format text: JAPANESE INTERMEDIATE CODE: A602

Effective date: 20121207

A601 Written request for extension of time

Free format text: JAPANESE INTERMEDIATE CODE: A601

Effective date: 20130702

A602 Written permission of extension of time

Free format text: JAPANESE INTERMEDIATE CODE: A602

Effective date: 20130705

A521 Request for written amendment filed

Free format text: JAPANESE INTERMEDIATE CODE: A523

Effective date: 20131002

A601 Written request for extension of time

Free format text: JAPANESE INTERMEDIATE CODE: A601

Effective date: 20140625

A602 Written permission of extension of time

Free format text: JAPANESE INTERMEDIATE CODE: A602

Effective date: 20140630

A521 Request for written amendment filed

Free format text: JAPANESE INTERMEDIATE CODE: A523

Effective date: 20140925