JP2010144561A - 内燃機関の排気ガス還流装置 - Google Patents
内燃機関の排気ガス還流装置 Download PDFInfo
- Publication number
- JP2010144561A JP2010144561A JP2008320736A JP2008320736A JP2010144561A JP 2010144561 A JP2010144561 A JP 2010144561A JP 2008320736 A JP2008320736 A JP 2008320736A JP 2008320736 A JP2008320736 A JP 2008320736A JP 2010144561 A JP2010144561 A JP 2010144561A
- Authority
- JP
- Japan
- Prior art keywords
- exhaust gas
- gas recirculation
- flow rate
- gas
- flow
- Prior art date
- Legal status (The legal status is an assumption and is not a legal conclusion. Google has not performed a legal analysis and makes no representation as to the accuracy of the status listed.)
- Granted
Links
Images
Classifications
-
- Y—GENERAL TAGGING OF NEW TECHNOLOGICAL DEVELOPMENTS; GENERAL TAGGING OF CROSS-SECTIONAL TECHNOLOGIES SPANNING OVER SEVERAL SECTIONS OF THE IPC; TECHNICAL SUBJECTS COVERED BY FORMER USPC CROSS-REFERENCE ART COLLECTIONS [XRACs] AND DIGESTS
- Y02—TECHNOLOGIES OR APPLICATIONS FOR MITIGATION OR ADAPTATION AGAINST CLIMATE CHANGE
- Y02T—CLIMATE CHANGE MITIGATION TECHNOLOGIES RELATED TO TRANSPORTATION
- Y02T10/00—Road transport of goods or passengers
- Y02T10/10—Internal combustion engine [ICE] based vehicles
- Y02T10/12—Improving ICE efficiencies
Landscapes
- Exhaust-Gas Circulating Devices (AREA)
Abstract
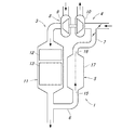
【解決手段】排気還流ガス内に含まれる異物粒子の通り抜けを抑制する異物通過抑制部5を設け、この異物通過抑制部に、上向き流れで排気還流ガスを流通させる。そして、この異物通過抑制部に、所定粒径以上の異物粒子を重力の作用で最大流量時でも減速させることが可能な所定の最高ガス流速以下となるようにガス流速を低下させるために、上流側及び下流側の排気還流通路より流路断面積が拡大された拡大断面部17を設け、この拡大断面部を、最高ガス流速に応じた最小流路断面積以上となるように形成し、さらに、最大流量時でも異物粒子を静止させることが可能な所定の最小流れ方向長さ以上に亙って設ける。
【選択図】図1
Description
3 排気系
4 吸気系
5、31、41、51、61、71 異物通過抑制部
6・7 管路
8 吸気過給装置、9 タービン、10 コンプレッサ
11 排気浄化装置
15 ガス流入口、16 ガス流出口
17、52、62 拡大断面部
21 異物粒子
32、72 流路抵抗部
42 拡大断面部兼流路抵抗部
33、34、43、73 流路抵抗体
53 漸拡部
54 整流板
55 ガス流入口
63 ジャケット
64、74 冷媒流路
Claims (10)
- 内燃機関の排気系と吸気系とを連通して、排気系の排気ガスを排気還流ガスとして吸気系に還流する排気還流通路を備え、この排気還流通路に、排気還流ガス内に含まれる異物粒子の通り抜けを抑制する異物通過抑制部が設けられた排気ガス還流装置であって、
前記異物通過抑制部に上向き流れで排気還流ガスを流通させると共に、この異物通過抑制部に、所定粒径以上の異物粒子を重力の作用で最大流量時でも減速させることが可能な所定の最高ガス流速以下となるようにガス流速を低下させる流速抑制手段が設けられると共に、この流速抑制手段が、最大流量時でも異物粒子を静止させることが可能な所定の最小流れ方向長さ以上に亙って設けられたことを特徴とする排気ガス還流装置。 - 前記流速抑制手段が、上流側及び下流側の排気還流通路より流路断面積が拡大された拡大断面部であり、この拡大断面部が、前記最高ガス流速に応じた最小流路断面積以上となるように形成されたことを特徴とする請求項1に記載の排気ガス還流装置。
- 前記流速抑制手段が、複数の流路抵抗体が配設された流路抵抗部であり、この流路抵抗部が、前記最高ガス流速に応じた最小流路抵抗係数以上となるように前記流路抵抗体が配設されたことを特徴とする請求項1若しくは請求項2に記載の排気ガス還流装置。
- 前記異物通過抑制部が、ガス流入口における排気還流ガスの主流ベクトルの延長線上にガス流出口が位置するように形成されたことを特徴とする請求項1乃至請求項3のいずれかに記載の排気ガス還流装置。
- 前記流路抵抗体が、冷媒が流通可能な冷媒流路を内部に備え、冷媒との熱交換により排気還流ガスを冷却するようにしたことを特徴とする請求項3に記載の排気ガス還流装置。
- 前記異物通過抑制部が、冷媒が流通可能な冷媒流路を外周に備え、冷媒との熱交換により排気還流ガスを冷却するようにしたことを特徴とする請求項1乃至請求項5のいずれかに記載の排気ガス還流装置。
- 排気浄化装置の下流側で、排気還流ガスとなる排気ガスが取り出されて前記異物通過抑制部に導入されるようにしたことを特徴とする請求項1乃至請求項6のいずれかに記載の排気ガス還流装置。
- 吸気過給装置のコンプレッサの上流側で、前記異物通過抑制部を流通した排気還流ガスが送入されるようにしたことを特徴とする請求項1乃至請求項7のいずれかに記載の排気ガス還流装置。
- 前記流路抵抗部が、前記流路抵抗体の配置形態に応じて補正された最小流れ方向長さ以上となるよう形成されたことを特徴とする請求項3に記載の排気ガス還流装置。
- 前記異物通過抑制部は、前記拡大断面部の上流側に、流路断面積が漸増する漸拡部を有し、この漸拡部内に、複数の整流板が、互いの間隙幅が下流側に向かって次第に拡開する態様で設けられたことを特徴とする請求項2に記載の排気ガス還流装置。
Priority Applications (1)
| Application Number | Priority Date | Filing Date | Title |
|---|---|---|---|
| JP2008320736A JP4966290B2 (ja) | 2008-12-17 | 2008-12-17 | 内燃機関の排気ガス還流装置 |
Applications Claiming Priority (1)
| Application Number | Priority Date | Filing Date | Title |
|---|---|---|---|
| JP2008320736A JP4966290B2 (ja) | 2008-12-17 | 2008-12-17 | 内燃機関の排気ガス還流装置 |
Publications (2)
| Publication Number | Publication Date |
|---|---|
| JP2010144561A true JP2010144561A (ja) | 2010-07-01 |
| JP4966290B2 JP4966290B2 (ja) | 2012-07-04 |
Family
ID=42565253
Family Applications (1)
| Application Number | Title | Priority Date | Filing Date |
|---|---|---|---|
| JP2008320736A Expired - Fee Related JP4966290B2 (ja) | 2008-12-17 | 2008-12-17 | 内燃機関の排気ガス還流装置 |
Country Status (1)
| Country | Link |
|---|---|
| JP (1) | JP4966290B2 (ja) |
Citations (7)
| Publication number | Priority date | Publication date | Assignee | Title |
|---|---|---|---|---|
| JPS59100957U (ja) * | 1982-12-26 | 1984-07-07 | トヨタ自動車株式会社 | 排気ガス再循環システムの除湿装置 |
| JPH01101612U (ja) * | 1987-12-28 | 1989-07-07 | ||
| JPH08135518A (ja) * | 1994-11-11 | 1996-05-28 | Mazda Motor Corp | 過給機付エンジンの排気還流装置 |
| JP2007147119A (ja) * | 2005-11-25 | 2007-06-14 | Kawasaki Plant Systems Ltd | 多数の整流板を備えた反転式ダスト除去装置 |
| JP2008150955A (ja) * | 2006-12-14 | 2008-07-03 | Denso Corp | 排気還流装置 |
| JP2008534835A (ja) * | 2005-03-24 | 2008-08-28 | エミテック ゲゼルシヤフト フユア エミツシオンス テクノロギー ミツト ベシユレンクテル ハフツング | 排気帰還路に排気処理装置と熱交換器とを備えた排気装置 |
| JP2009299476A (ja) * | 2008-06-10 | 2009-12-24 | Toyota Motor Corp | 内燃機関の異物除去装置 |
-
2008
- 2008-12-17 JP JP2008320736A patent/JP4966290B2/ja not_active Expired - Fee Related
Patent Citations (7)
| Publication number | Priority date | Publication date | Assignee | Title |
|---|---|---|---|---|
| JPS59100957U (ja) * | 1982-12-26 | 1984-07-07 | トヨタ自動車株式会社 | 排気ガス再循環システムの除湿装置 |
| JPH01101612U (ja) * | 1987-12-28 | 1989-07-07 | ||
| JPH08135518A (ja) * | 1994-11-11 | 1996-05-28 | Mazda Motor Corp | 過給機付エンジンの排気還流装置 |
| JP2008534835A (ja) * | 2005-03-24 | 2008-08-28 | エミテック ゲゼルシヤフト フユア エミツシオンス テクノロギー ミツト ベシユレンクテル ハフツング | 排気帰還路に排気処理装置と熱交換器とを備えた排気装置 |
| JP2007147119A (ja) * | 2005-11-25 | 2007-06-14 | Kawasaki Plant Systems Ltd | 多数の整流板を備えた反転式ダスト除去装置 |
| JP2008150955A (ja) * | 2006-12-14 | 2008-07-03 | Denso Corp | 排気還流装置 |
| JP2009299476A (ja) * | 2008-06-10 | 2009-12-24 | Toyota Motor Corp | 内燃機関の異物除去装置 |
Also Published As
| Publication number | Publication date |
|---|---|
| JP4966290B2 (ja) | 2012-07-04 |
Similar Documents
| Publication | Publication Date | Title |
|---|---|---|
| CN101512122B (zh) | 排出空气冷却器在涡轮增压器中的整合 | |
| CN104302892B (zh) | 具有排气再循环的燃气涡轮机组 | |
| CN103184917B (zh) | 废气处理设备 | |
| JP2009524775A (ja) | 低圧egr凝縮液をコンプレッサにおいて/コンプレッサの前に再導入するユニット | |
| JP5263191B2 (ja) | 内燃機関の流体濾過冷却装置 | |
| JP6119110B2 (ja) | 低圧ループegr装置 | |
| JP5141585B2 (ja) | 冷却器付き異物捕集装置 | |
| JP4966290B2 (ja) | 内燃機関の排気ガス還流装置 | |
| JP6263928B2 (ja) | 凝縮水分離装置 | |
| JPH09250894A (ja) | 熱交換器 | |
| US9581064B2 (en) | Truck provided with a device for lowering the temperature of exhaust gas | |
| CN107304733B (zh) | 用于车辆的排气系统及其控制方法 | |
| JP2022104200A (ja) | 気液分離装置 | |
| JP2010242662A (ja) | 低圧egr通路用異物捕集装置 | |
| JP5413221B2 (ja) | 排気再循環装置 | |
| JP7375636B2 (ja) | インタークーラ | |
| JP6730175B2 (ja) | Egrクーラ | |
| JP2010169013A (ja) | 内燃機関のegr装置 | |
| JP2010156272A (ja) | 内燃機関のegr装置及びegrフィルタ | |
| JP2007224802A (ja) | ターボコンパウンドエンジンの排気還流装置 | |
| JP6508302B2 (ja) | エンジンの排気装置 | |
| JP7306307B2 (ja) | インタークーラー | |
| KR101172065B1 (ko) | 냉각성능 개선을 위한 복합구조 인터쿨러 | |
| JP2011064163A (ja) | Egr拡散ユニット | |
| JP6550981B2 (ja) | 内燃機関のegrクーラ及びegrシステム |
Legal Events
| Date | Code | Title | Description |
|---|---|---|---|
| A621 | Written request for application examination |
Free format text: JAPANESE INTERMEDIATE CODE: A621 Effective date: 20101125 |
|
| RD02 | Notification of acceptance of power of attorney |
Free format text: JAPANESE INTERMEDIATE CODE: A7422 Effective date: 20110924 |
|
| A977 | Report on retrieval |
Free format text: JAPANESE INTERMEDIATE CODE: A971007 Effective date: 20111124 |
|
| A131 | Notification of reasons for refusal |
Free format text: JAPANESE INTERMEDIATE CODE: A131 Effective date: 20111129 |
|
| A521 | Written amendment |
Free format text: JAPANESE INTERMEDIATE CODE: A523 Effective date: 20120126 |
|
| TRDD | Decision of grant or rejection written | ||
| A01 | Written decision to grant a patent or to grant a registration (utility model) |
Free format text: JAPANESE INTERMEDIATE CODE: A01 Effective date: 20120321 |
|
| A01 | Written decision to grant a patent or to grant a registration (utility model) |
Free format text: JAPANESE INTERMEDIATE CODE: A01 |
|
| A61 | First payment of annual fees (during grant procedure) |
Free format text: JAPANESE INTERMEDIATE CODE: A61 Effective date: 20120330 |
|
| R150 | Certificate of patent or registration of utility model |
Free format text: JAPANESE INTERMEDIATE CODE: R150 |
|
| FPAY | Renewal fee payment (event date is renewal date of database) |
Free format text: PAYMENT UNTIL: 20150406 Year of fee payment: 3 |
|
| LAPS | Cancellation because of no payment of annual fees |
