JP2010144516A - ガスエンジンの予燃焼器 - Google Patents

ガスエンジンの予燃焼器 Download PDF

Info

Publication number
JP2010144516A
JP2010144516A JP2008319104A JP2008319104A JP2010144516A JP 2010144516 A JP2010144516 A JP 2010144516A JP 2008319104 A JP2008319104 A JP 2008319104A JP 2008319104 A JP2008319104 A JP 2008319104A JP 2010144516 A JP2010144516 A JP 2010144516A
Authority
JP
Japan
Prior art keywords
combustion chamber
gas engine
main combustion
chamber
fuel mixture
Prior art date
Legal status (The legal status is an assumption and is not a legal conclusion. Google has not performed a legal analysis and makes no representation as to the accuracy of the status listed.)
Pending
Application number
JP2008319104A
Other languages
English (en)
Inventor
Takayuki Hirose
孝行 廣瀬
Satoru Goto
悟 後藤
Current Assignee (The listed assignees may be inaccurate. Google has not performed a legal analysis and makes no representation or warranty as to the accuracy of the list.)
IHI Corp
Niigata Power Systems Co Ltd
Original Assignee
IHI Corp
Niigata Power Systems Co Ltd
Priority date (The priority date is an assumption and is not a legal conclusion. Google has not performed a legal analysis and makes no representation as to the accuracy of the date listed.)
Filing date
Publication date
Application filed by IHI Corp, Niigata Power Systems Co Ltd filed Critical IHI Corp
Priority to JP2008319104A priority Critical patent/JP2010144516A/ja
Publication of JP2010144516A publication Critical patent/JP2010144516A/ja
Pending legal-status Critical Current

Links

Images

Classifications

    • YGENERAL TAGGING OF NEW TECHNOLOGICAL DEVELOPMENTS; GENERAL TAGGING OF CROSS-SECTIONAL TECHNOLOGIES SPANNING OVER SEVERAL SECTIONS OF THE IPC; TECHNICAL SUBJECTS COVERED BY FORMER USPC CROSS-REFERENCE ART COLLECTIONS [XRACs] AND DIGESTS
    • Y02TECHNOLOGIES OR APPLICATIONS FOR MITIGATION OR ADAPTATION AGAINST CLIMATE CHANGE
    • Y02TCLIMATE CHANGE MITIGATION TECHNOLOGIES RELATED TO TRANSPORTATION
    • Y02T10/00Road transport of goods or passengers
    • Y02T10/10Internal combustion engine [ICE] based vehicles
    • Y02T10/12Improving ICE efficiencies
    • YGENERAL TAGGING OF NEW TECHNOLOGICAL DEVELOPMENTS; GENERAL TAGGING OF CROSS-SECTIONAL TECHNOLOGIES SPANNING OVER SEVERAL SECTIONS OF THE IPC; TECHNICAL SUBJECTS COVERED BY FORMER USPC CROSS-REFERENCE ART COLLECTIONS [XRACs] AND DIGESTS
    • Y02TECHNOLOGIES OR APPLICATIONS FOR MITIGATION OR ADAPTATION AGAINST CLIMATE CHANGE
    • Y02TCLIMATE CHANGE MITIGATION TECHNOLOGIES RELATED TO TRANSPORTATION
    • Y02T10/00Road transport of goods or passengers
    • Y02T10/10Internal combustion engine [ICE] based vehicles
    • Y02T10/30Use of alternative fuels, e.g. biofuels

Landscapes

  • Combustion Methods Of Internal-Combustion Engines (AREA)
  • Output Control And Ontrol Of Special Type Engine (AREA)

Abstract

【課題】主燃焼室から予燃焼室内に導入された加圧混合気中に液体燃料を噴射して着火燃焼させる際に、加圧混合気と液体燃料との混合を高めて予燃焼室内に均一温度の着火火炎を形成するようにする。
【解決手段】ガスエンジンの予燃焼器11の予燃焼室15を主燃焼室に連通する連通口が、予燃焼室15の軸中心に対してオフセット配置Sしたオフセット口19により形成され、主燃焼室内の加圧混合気がオフセット口19により予燃焼室15内に旋回流を形成して導入されるようにした。
【選択図】図1

Description

本発明は、主燃焼室から予燃焼室内に導入される加圧混合気に旋回流を与えて導入することにより、予燃焼室内の加圧混合気を均一な状態に保持するようにしたガスエンジンの予燃焼器に関する。
図4はガスエンジンの構成の一例と作動を示す説明図、図5は予燃焼器の構成の一例を示す断面図であり、ガスエンジンは、図4に示すように、シリンダ1に収容されるピストン2とシリンダヘッド3との間に主燃焼室4を形成しており、前記シリンダヘッド3には、主燃焼室4に燃料ガスと空気が混合した吸気5を吸気弁6により供給する吸気ポート7と、主燃焼室4の排気ガス8を排気弁9により排出する排気ポート10が備えられている。
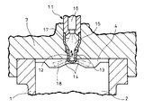
更に、シリンダヘッド3には予燃焼器11が設置されている。予燃焼器11は、図5に示すように、ガスエンジンの圧縮行程で主燃焼室4内の希薄混合気が加圧された加圧混合気12を口金13に設けた連通口14を介して導入するようにした予燃焼室15を有している。予燃焼室15の上部(連通口14に対して反対側)には液体燃料噴射弁16が設けてあり、該液体燃料噴射弁16により予燃焼室15内の加圧混合気12中に軽油等の液体燃料17を噴射することで該液体燃料17を着火燃焼せしめ、この着火火炎18を連通口14から主燃焼室4内の希薄混合気中に噴出して希薄混合気を燃焼させるようにしている。前記予燃焼器11に設けられる連通口14は、図6に示すように、口金13の軸中心に対して放射方向に複数個形成している。
次に、図4を参照してガスエンジンの作動を説明する。
図4(a)は吸気行程を示し、ピストン2の下降時に吸気ポート7の吸気弁6を開けて、燃料ガスと空気が混合された吸気5を主燃焼室4に吸入している。
図4(b)は、圧縮行程を示し、ピストン2の上昇により主燃焼室4の希薄混合気を圧縮している。この時、図5に示すように主燃焼室4の加圧された加圧混合気12が予燃焼器11の口金に設けた連通口14を通して予燃焼室15に導入される。
図4(c)は、液体燃料の噴射状態を示し、ピストン2の上死点の直前において、図5の液体燃料噴射弁16から予燃焼室15内に導入される加圧混合気12中に軽油等の液体燃料17を噴射し、該液体燃料17を着火燃焼させる。
図4(d)は、着火火炎の噴出状態を示し、ピストン2の上死点の直後において、図5の予燃焼室15内で着火燃焼された着火火炎18が連通口14を通して主燃焼室4に噴出されることにより主燃焼室4内の希薄混合気に着火される。
図4(e)は、主燃焼室4内での燃焼状態を示し、主燃焼室4の着火された希薄混合気が一気に燃焼される。上記図4(c)、(d)、(e)は燃焼(爆発)行程を表わす。
図4(f)は、膨張行程を示し、主燃焼室4内での燃焼によってピストン2が押し下げられて仕事が行われる。
図4(g)は、排気行程を示し、ピストン2の上昇時に排気ポート10の排気弁9を開けて、主燃焼室4内の排気ガス8を排気している。
前記したガスエンジンの予燃焼器の一般的技術水準を示すものとしては、特許文献1、特許文献2がある。
特開2005−090381号公報 特開2006−132415号公報
しかし、前記のようなガスエンジンの予燃焼器11においては、主燃焼室4から予燃焼室15に導入される加圧混合気12に、液体燃料噴射弁16から液体燃料17を噴射して着火燃焼させる際に、予燃焼室15内での液体燃料17の着火燃焼にバラツキが生じて予燃焼室15内に均一温度の着火火炎を形成できないという問題を有していた。
特許文献1及び2に示されるように、従来の予燃焼器11に設けられている連通口14は、図6に示すように、口金13の軸中心に対して放射方向に形成されているため、圧縮行程において主燃焼室4で加圧された加圧混合気12は、図7に示すように連通口14により予燃焼室15の軸中心に向かって導入された後、予燃焼室15の軸中心を上昇して天井部に当たり、続いて外方に向かった後下方に向かうという上下方向の流れを形成する。しかし、このような加圧混合気12の上下方向の流れでは液体燃料噴射弁16から噴射される液体燃料17と加圧混合気12とが十分に混合されない。このため、液体燃料噴射弁16から噴射された液体燃料17は予燃焼室15内の上部位置において着火され、且つ上部位置の液体燃料17の濃度は高いために予燃焼室15内の上部位置の温度は高く、これに対して下部位置の温度は低いという温度差が生じる。
一方、前記液体燃料噴射弁16から予燃焼室15内に噴射した液体燃料17が着火燃焼し、その着火火炎18が連通口14を通って主燃焼室4に噴出されるまでの時間は瞬時であるため、前記したように予燃焼室15内に温度差があると、例えば先ず温度が低い着火火炎18が連通口14から噴出された後、温度が高い着火火炎18が連通口14から噴出されるようになり、このために、主燃焼室4の希薄混合気を瞬時に均一に燃焼させることができず、良好な燃焼が達成できないという問題が生じていた。
又、前記液体燃料噴射弁16を備えることに代えて、予燃焼室15に火花点火器を備える場合があり、この場合には、主燃焼室4で加圧された加圧混合気12が予燃焼室15に導入されて予燃焼室内の残留ガス(前サイクルの既燃ガス)と混合され、その混合ガスに火花点火器によって点火するようにしているが、前記したように、予燃焼室15に導入される加圧混合気12の上下方向の流れでは加圧混合気12と残留ガスとの十分な混合が行われず、予燃焼室15内に温度の不均一及び加圧混合気12の濃度の不均一が生じ、そのために、火花点火器による点火が不安定になるという問題がある。
本発明は、かかる従来技術の課題に鑑みてなしたもので、主燃焼室から予燃焼室内に導入される加圧混合気に旋回流を与えて導入することにより、予燃焼室内の加圧混合気を均一な状態に保持するようにしたガスエンジンの予燃焼器を提供することを目的とする。
本発明は、シリンダヘッドの主燃焼室と連通口により連通した予燃焼室を有するガスエンジンの予燃焼器であって、予燃焼室と主燃焼室を連通する連通口が、予燃焼室の軸中心に対してオフセット配置したオフセット口により形成され、主燃焼室内の加圧混合気がオフセット口により予燃焼室内に旋回流を形成して導入されるようにしたことを特徴とするガスエンジンの予燃焼器、に係るものである。
上記ガスエンジンの予燃焼器において、前記オフセット口が予燃焼室の内部から外方へ向かって下り勾配に形成されていることは好ましい。
又、上記ガスエンジンの予燃焼器において、前記予燃焼室は液体燃料を噴射するための液体燃料噴射弁を有していてもよい。
又、上記ガスエンジンの予燃焼器において、前記予燃焼室は火花点火器を有していてもよい。
本発明のガスエンジンの予燃焼器によれば、ガスエンジンの圧縮行程において主燃焼室で加圧された加圧混合気が、予燃焼室の軸中心に対してオフセット配置されたオフセット口を通して予燃焼室内に導入されるため、予燃焼室内に旋回流が形成され、よって、予燃焼室内の加圧混合気の濃度が均一に保持され且つ均一な温度に保持される効果がある。
従って、前記予燃焼室に液体燃料を噴射するための液体燃料噴射弁を備えている場合には、先ず、主燃焼室で加圧された加圧混合気が予燃焼室に旋回導入されることにより、予燃焼室内の残留ガス(前サイクルの既燃ガス)との混合が促進されて均一温度に保持された状態のところへ液体燃料噴射弁から液体燃料が噴射されて旋回する加圧混合気と効果的に混合されるため、予燃焼室内での着火燃焼が瞬時に均一に行われるようになり、よって予燃焼室内の温度が均一に保持される。従って、予燃焼室内の均一温度の着火火炎がオフセット口から主燃焼室内に噴出されるようになるため、主燃焼室の希薄混合気を良好に燃焼させられるという優れた効果を奏し得る。
一方、前記予燃焼室に火花点火器を備えている場合には、主燃焼室で加圧された加圧混合気が予燃焼室に旋回導入され、予燃焼室内の残留ガス(前サイクルの既燃ガス)と効果的に混合されて予燃焼室15内の加圧混合気12の濃度が均一になり且つ温度が均一に保持されるため、火花点火器による確実な点火が可能になる効果がある。
以下、本発明の実施の形態を添付図面を参照して説明する。
図1は本発明におけるガスエンジンの予燃焼器の斜視図、図2は図1の連通口部をA−A方向から見た切断平面図、図3aは図1の予燃焼室を透視した斜視図であり、予燃焼室15には液体燃料17を噴射する液体燃料噴射弁16を備えた場合を示しており、図5の構成も参照して説明する。
本発明では、予燃焼器11の予燃焼室15を主燃焼室4に連通するための口金13に設けられる連通口を、予燃焼室15の軸中心に対してオフセット配置S(口金13に対して接線の方向に配置)した複数のオフセット口19により形成しており、該オフセット口19によって主燃焼室4内の加圧混合気が、旋回流20を形成して予燃焼室15内に導入されるようにしている。
又、オフセット口19は、図3に示すように、予燃焼室15の内部から外方へ向かって所要角度αの下り勾配になるように形成している。
次に、上記図示例の作動を説明する。
ガスエンジンの圧縮行程においては主燃焼室4で加圧された加圧混合気12は、図1〜図3に示すように口金13に設けたオフセット口19を通して予燃焼室15に導入される。この時、オフセット口19は予燃焼室15の軸中心に対してオフセット配置S(口金13に対して接線方向に配置)されているため、加圧混合気12は旋回流20を形成して予燃焼室15内に導入されるようになる。この時、前記オフセット口19を図3に示すように、予燃焼室15の内部から外方へ向かって所要角度αの下り勾配になるように形成しているので、予燃焼室15に導入される加圧混合気12は予燃焼室15内を上昇しながら旋回する安定した旋回流20を形成するようになる。
従って、予燃焼室15内における均一温度の着火火炎18がオフセット口19から主燃焼室4内に噴出されることになるため、主燃焼室4では希薄混合気が瞬時に均一に燃焼するようになって、良好な燃焼が達成される。
又、着火火炎18がオフセット口19から主燃焼室4に噴出される際にもオフセット口19によって旋回流が形成されることになるため、主燃焼室4内の隅々まで着火火炎18が供給されることにより主燃焼室4内の希薄混合気の燃焼が更に向上されるようになる。
図3bは、図3aのように、前記予燃焼室15に液体燃料噴射弁16を備えた構成に代えて、前記予燃焼室15にスパークプラグ等の火花点火器21を備えた場合を示している。
図3bの形態では、主燃焼室で加圧された加圧混合気12が予燃焼室15に導入されて予燃焼室15内の残留ガス(前サイクルの既燃ガス)と混合される際に、加圧混合気12が旋回していることにより残留ガスとの混合が促進され、よって予燃焼室15内の加圧混合気12の濃度が均一で且つ温度が均一に保持されるため、火花点火器21による点火が確実に行われるようになる。
なお、本発明のガスエンジンの予燃焼器は、上記形態にのみ限定されることなく、本発明の要旨を逸脱しない範囲内において種々変更を加え得ることは勿論である。
本発明におけるガスエンジンの予燃焼器の斜視図である。 図1の連通口部をA−A方向から見た切断平面図である。 図1の予燃焼室を透視して加圧混合気の流れを示した斜視図である。 予燃焼室に火花点火器を備えた形態を示す斜視図である。 (a)、(b)、(c)、(d)、(e)、(f)、(g)はガスエンジンの構成の一例と作動を示す説明図である。 従来の予燃焼器の構成の一例を示す断面図である。 従来の連通口部の切断平面図である。 従来の予燃焼室を透視して加圧混合気の流れを示した斜視図である。
符号の説明
3 シリンダヘッド
4 主燃焼室
11 予燃焼器
12 加圧混合気
15 予燃焼室
16 液体燃料噴射弁
17 液体燃料
18 着火火炎
19 オフセット口
20 旋回流
21 火花点火器
S オフセット配置
α 下り勾配角度

Claims (4)

  1. シリンダヘッドの主燃焼室と連通口により連通した予燃焼室を有するガスエンジンの予燃焼器であって、予燃焼室と主燃焼室を連通する連通口が、予燃焼室の軸中心に対してオフセット配置したオフセット口により形成され、主燃焼室内の加圧混合気がオフセット口により予燃焼室内に旋回流を形成して導入されるようにしたことを特徴とするガスエンジンの予燃焼器。
  2. 前記オフセット口は予燃焼室の内部から外方へ向かって下り勾配に形成されている請求項1に記載のガスエンジンの予燃焼器。
  3. 前記予燃焼室に液体燃料を噴射するための液体燃料噴射弁を有する請求項1又は2に記載のガスエンジンの予燃焼器。
  4. 前記予燃焼室に火花点火器を有する請求項1又は2に記載のガスエンジンの予燃焼器。
JP2008319104A 2008-12-16 2008-12-16 ガスエンジンの予燃焼器 Pending JP2010144516A (ja)

Priority Applications (1)

Application Number Priority Date Filing Date Title
JP2008319104A JP2010144516A (ja) 2008-12-16 2008-12-16 ガスエンジンの予燃焼器

Applications Claiming Priority (1)

Application Number Priority Date Filing Date Title
JP2008319104A JP2010144516A (ja) 2008-12-16 2008-12-16 ガスエンジンの予燃焼器

Publications (1)

Publication Number Publication Date
JP2010144516A true JP2010144516A (ja) 2010-07-01

Family

ID=42565211

Family Applications (1)

Application Number Title Priority Date Filing Date
JP2008319104A Pending JP2010144516A (ja) 2008-12-16 2008-12-16 ガスエンジンの予燃焼器

Country Status (1)

Country Link
JP (1) JP2010144516A (ja)

Cited By (6)

* Cited by examiner, † Cited by third party
Publication number Priority date Publication date Assignee Title
CN103452704A (zh) * 2013-08-09 2013-12-18 蔡肃民 微型涡轮喷气发动机空中风车点火装置
WO2015060236A1 (ja) * 2013-10-21 2015-04-30 三菱重工業株式会社 副室式ガスエンジン
EP3009641A1 (en) * 2014-10-17 2016-04-20 Man Diesel & Turbo, Filial Af Man Diesel & Turbo Se, Tyskland A fuel valve for injecting gaseous fuel into a combustion chamber of a self-igniting internal combustion engine and method
EP3073099B1 (en) * 2015-03-23 2018-05-02 Caterpillar Motoren GmbH & Co. KG Adapting flow dynamics for internal combustion engines
CN113775406A (zh) * 2021-07-23 2021-12-10 广西大学 一种双排喷孔式预燃室
CN116838466A (zh) * 2023-06-30 2023-10-03 潍柴动力股份有限公司 预燃室体及发动机

Citations (2)

* Cited by examiner, † Cited by third party
Publication number Priority date Publication date Assignee Title
JP2006132478A (ja) * 2004-11-08 2006-05-25 Mitsubishi Heavy Ind Ltd 副室掃気装置を備えたパイロット着火式ガスエンジン
JP2006177249A (ja) * 2004-12-22 2006-07-06 Nissan Motor Co Ltd 副室式内燃機関

Patent Citations (2)

* Cited by examiner, † Cited by third party
Publication number Priority date Publication date Assignee Title
JP2006132478A (ja) * 2004-11-08 2006-05-25 Mitsubishi Heavy Ind Ltd 副室掃気装置を備えたパイロット着火式ガスエンジン
JP2006177249A (ja) * 2004-12-22 2006-07-06 Nissan Motor Co Ltd 副室式内燃機関

Cited By (13)

* Cited by examiner, † Cited by third party
Publication number Priority date Publication date Assignee Title
CN103452704A (zh) * 2013-08-09 2013-12-18 蔡肃民 微型涡轮喷气发动机空中风车点火装置
CN105658928B (zh) * 2013-10-21 2018-06-26 三菱重工业株式会社 副室式燃气发动机
CN105658928A (zh) * 2013-10-21 2016-06-08 三菱重工业株式会社 副室式燃气发动机
JP6072284B2 (ja) * 2013-10-21 2017-02-01 三菱重工業株式会社 副室式ガスエンジン
EP3061939A4 (en) * 2013-10-21 2017-07-05 Mitsubishi Heavy Industries, Ltd. Prechamber type gas engine
US9816430B2 (en) 2013-10-21 2017-11-14 Mitsubishi Heavy Industries, Ltd. Pre-combustion-chamber type gas engine
WO2015060236A1 (ja) * 2013-10-21 2015-04-30 三菱重工業株式会社 副室式ガスエンジン
EP3009641A1 (en) * 2014-10-17 2016-04-20 Man Diesel & Turbo, Filial Af Man Diesel & Turbo Se, Tyskland A fuel valve for injecting gaseous fuel into a combustion chamber of a self-igniting internal combustion engine and method
JP2016079974A (ja) * 2014-10-17 2016-05-16 エムエーエヌ・ディーゼル・アンド・ターボ・フィリアル・アフ・エムエーエヌ・ディーゼル・アンド・ターボ・エスイー・ティスクランド 自己着火式内燃エンジンの燃料室にガス燃料を噴射するための燃料バルブ及び方法
US10036334B2 (en) 2014-10-17 2018-07-31 Man Diesel & Turbo, Filial Af Man Diesel & Turbo Se, Tyskland Fuel valve for injecting gaseous fuel into a combustion chamber of a self-igniting internal combustion engine and method
EP3073099B1 (en) * 2015-03-23 2018-05-02 Caterpillar Motoren GmbH & Co. KG Adapting flow dynamics for internal combustion engines
CN113775406A (zh) * 2021-07-23 2021-12-10 广西大学 一种双排喷孔式预燃室
CN116838466A (zh) * 2023-06-30 2023-10-03 潍柴动力股份有限公司 预燃室体及发动机

Similar Documents

Publication Publication Date Title
KR101664640B1 (ko) 2 사이클 가스 엔진
JP5765819B2 (ja) 2サイクルガスエンジン
US20200240321A1 (en) Internal Combustion Engine for a Motor Vehicle
US6595181B2 (en) Dual mode engine combustion process
JP2008133759A (ja) 副室式内燃機関
JP2010144516A (ja) ガスエンジンの予燃焼器
JP2009191734A (ja) 内燃機関の燃焼制御装置及び制御方法
JP5122367B2 (ja) エンジン及びエンジン用点火プラグ
JP4657187B2 (ja) 内燃機関
JP2005232988A (ja) 副室式エンジン
JP2005232987A (ja) 副室式エンジン
JP2007255313A (ja) 副室式エンジン
JP2016006325A (ja) 2サイクルガスエンジン及び2サイクルガスエンジン用の燃料ガス噴射システム
JP5085419B2 (ja) エンジン及びエンジン用点火プラグ
KR20140052146A (ko) 피스톤 엔진용 프리챔버 구조
JP5995748B2 (ja) 副室式ガスエンジンおよびその運転制御方法
JP5608723B2 (ja) ガスエンジンの燃焼方法及び装置
JP7527440B1 (ja) 内燃機関
WO2020196683A1 (ja) 副室式内燃機関
JP2004285928A (ja) エンジン及びその運転方法
JP2012036904A (ja) エンジン及びエンジン用点火プラグ
JP3581540B2 (ja) ディーゼル機関
JP2010242699A (ja) ガスエンジンの燃焼方法及び装置
JP2007064175A (ja) 筒内噴射式火花点火内燃機関
JP2009191683A (ja) スパークアシストディーゼルエンジン

Legal Events

Date Code Title Description
A621 Written request for application examination

Free format text: JAPANESE INTERMEDIATE CODE: A621

Effective date: 20110819

A977 Report on retrieval

Free format text: JAPANESE INTERMEDIATE CODE: A971007

Effective date: 20120712

A131 Notification of reasons for refusal

Free format text: JAPANESE INTERMEDIATE CODE: A131

Effective date: 20120717

A521 Written amendment

Free format text: JAPANESE INTERMEDIATE CODE: A523

Effective date: 20120903

A02 Decision of refusal

Free format text: JAPANESE INTERMEDIATE CODE: A02

Effective date: 20120925

A521 Written amendment

Free format text: JAPANESE INTERMEDIATE CODE: A523

Effective date: 20121221

A911 Transfer of reconsideration by examiner before appeal (zenchi)

Free format text: JAPANESE INTERMEDIATE CODE: A911

Effective date: 20130206

A912 Removal of reconsideration by examiner before appeal (zenchi)

Free format text: JAPANESE INTERMEDIATE CODE: A912

Effective date: 20130412