JP2010143359A - 車両用アンダーカバー - Google Patents

車両用アンダーカバー Download PDF

Info

Publication number
JP2010143359A
JP2010143359A JP2008321898A JP2008321898A JP2010143359A JP 2010143359 A JP2010143359 A JP 2010143359A JP 2008321898 A JP2008321898 A JP 2008321898A JP 2008321898 A JP2008321898 A JP 2008321898A JP 2010143359 A JP2010143359 A JP 2010143359A
Authority
JP
Japan
Prior art keywords
duct
undercover
main body
vehicle
flange
Prior art date
Legal status (The legal status is an assumption and is not a legal conclusion. Google has not performed a legal analysis and makes no representation as to the accuracy of the status listed.)
Granted
Application number
JP2008321898A
Other languages
English (en)
Other versions
JP5247408B2 (ja
Inventor
Yasushi Harada
裕史 原田
Fumihiko Kimura
文彦 木村
Hidehiko Osada
秀彦 長田
Current Assignee (The listed assignees may be inaccurate. Google has not performed a legal analysis and makes no representation or warranty as to the accuracy of the list.)
Nihon Plast Co Ltd
Original Assignee
Nihon Plast Co Ltd
Priority date (The priority date is an assumption and is not a legal conclusion. Google has not performed a legal analysis and makes no representation as to the accuracy of the date listed.)
Filing date
Publication date
Application filed by Nihon Plast Co Ltd filed Critical Nihon Plast Co Ltd
Priority to JP2008321898A priority Critical patent/JP5247408B2/ja
Publication of JP2010143359A publication Critical patent/JP2010143359A/ja
Application granted granted Critical
Publication of JP5247408B2 publication Critical patent/JP5247408B2/ja
Expired - Fee Related legal-status Critical Current
Anticipated expiration legal-status Critical

Links

Images

Landscapes

  • Body Structure For Vehicles (AREA)

Abstract

【課題】自動車の前部のバンパの下部に車両用アンダーカバー及びダクトを備える。
【解決手段】自動車の前部のバンパの下部に取り付ける車両用アンダーカバー3に、アンダーカバー本体11とダクト12とを備える。アンダーカバー本体11は、開口部39を設けた前端板部15と、ダクト収納部30を設けたカバー本体部14を備える。ダクト12は、フランジ部41と、フランジ部41から後側に突設したダクト本体部42と、ダクト本体部42から突設した傾斜舌片43を備える。ダクト12をアンダーカバー本体11の開口部39に前側から挿入し、フランジ部41が前端板部15の前面に当接すると、傾斜舌片43の先端部が前端板部15の後面に当接し、ダクト12をアンダーカバー本体11に組み付けできる。
【選択図】図1

Description

本発明は、例えば、自動車の前部のバンパの下部に取り付けられる車両用アンダーカバーに関する。
従来、自動車の前端部のバンパの下部に取り付けられ、遮音性能の向上や空気抵抗の低減を実現できる車両用アンダーカバーが知られている(例えば、特許文献1参照。)。また、この構成では、樹脂のブロー成形により、軽量化や製造コストの低減が実現されている。また、この構成では、バンパなど他の部材に形成された開口から導入された空気を案内するエアーガイドが設けられている。
しかしながら、この構成では、エアーガイドは、他の部材に形成された開口から導入された空気を案内するため、効率良く空気を案内するためには、車両用アンダーカバーと他の部材の接続部分から空気が流出しないように、接続部分を気密に保持する部材を設けるなどの必要があり、製造コストの低減が容易でない。
また、例えば、走行風をブレーキに案内して冷却するために、冷却ダクトを設ける構成が知られている(例えば、特許文献2参照。)。この構成では、冷却ダクトのダクト本体は、複数のブラケットを用いてバンパ及び車体の部材に取り付けられているとともに、開閉可能な扉を備えている。そして、この扉が開いた状態で、バンパの下方から空気を取り入れるようになっている。
しかしながら、この構成では、ダクト本体を複数のブラケットにより複数の部材に取り付けるため、構成や取付作業が複雑になり、製造コストや取付作業のコストの低減が容易でない。また、この構成は、バンパの下側から空気を取り入れる構成であり、車両用アンダーカバーを備える構成への適用が容易でない。
また、この特許文献2には、従来の技術として、バンパの内部にダクトを配置した構成が図示されている。しかしながら、この構成では、ダクトの先端部はバンパの開口と隙間を設けて遊嵌し、空気の漏出の抑制は考慮されていないとともに、ダクトの取付構造については示されていない。
特開2000−128027号公報 (第1頁、図1、図4) 実開平5−75034号公報 (第1頁、第6頁、図1、図3、図5)
上記のように、車両用アンダーカバーが、他の部材に形成された開口から導入された空気を案内する構成では、効率良く空気を案内するためには、車両用アンダーカバーと他の部材の接続部分から空気が流出しないように、接続部分を気密に保持する部材を設けるなどの必要があり、製造コストの低減が容易でない。また、ダクト本体を複数のブラケットにより複数の部材に取り付ける構成では構成や取付作業が複雑になり、製造コストや取付作業のコストの低減が容易でない。
本発明は、このような点に鑑みなされたもので、空気を効率良く案内できるとともに製造コストを低減できる車両用アンダーカバーを提供することを目的とする。
請求項1記載の車両用アンダーカバーは、車両の前側下部に取り付けられ、前端板部、この前端板部に開口形成された開口部、及びこの開口部に連通するダクト収納部が設けられたアンダーカバー本体と、前記開口部の周囲に位置して前記前端板部に当接するフランジ部、及びこのフランジ部の後側に延設されて前記ダクト収納部に収納され前記開口部から導入される空気を後側に案内する筒状のダクト本体部が設けられたダクトとを具備したものである。
そして、この構成では、車両用アンダーカバーにダクトが組み込まれユニット化されるため、車両への取付作業が容易になり、製造コストが低減される。ダクトは、アンダーカバー本体に組み付けられてユニット化されるとともに、アンダーカバー本体の開口部の周囲に当接するフランジ部を備えたため、空気の漏出を抑制して効率良く空気が案内される。
請求項2記載の車両用アンダーカバーは、請求項1記載の車両用アンダーカバーにおいて、ダクトは、ダクト本体部の外周部から外周側に離間する方向かつフランジ部に向かう方向に傾斜して突設された弾性的に変形可能な傾斜舌片を備え、前記ダクト本体部は、開口部に前側から挿入可能に形成され、前記フランジ部を前端板部の前面に当接した状態で、前記フランジ部と前記傾斜舌片との間に前記前端板部が挟持されるものである。
そして、この構成では、傾斜舌片を弾性的に変形させながらダクトのダクト本体部を開口部から挿入し、フランジ部を前端板部に当接した状態で、傾斜舌片が復帰変形してフランジ部と傾斜舌片との間に前端板部が挟持され、ダクトがアンダーカバー本体に取り付けられ、作業性が向上する。フランジ部が前端板部の前面に当接し、このフランジ部から延設されたダクト本体部が開口部を貫通することにより、空気の漏出を抑制して効率良く空気が案内される。
請求項3記載の車両用アンダーカバーは、請求項2記載の車両用アンダーカバーにおいて、ダクトは、フランジ部及びこのフランジ部から後側に一体に筒状に突設されダクト本体部の前側部を構成する前筒部を設けたフランジ体と、この前筒部の後側に接続されダクト本体部の後側部を構成する後筒部を備えたダクト本体とを備え、傾斜舌片は、前記後筒部から一体に突設されたものである。
そして、この構成では、フランジ部、ダクト本体部、及び傾斜舌片を備えたダクトが容易に形成される。
請求項4記載の車両用アンダーカバーは、請求項3記載の車両用アンダーカバーにおいて、ダクト本体は、上側部材と下側部材とを備え、これら上側部材と下側部材とを前筒部の外周部に接合しつつ互いに接合して形成されたものである。
そして、この構成では、前側から導入される空気の漏出を抑制し、かつ、前側から接合部分が見えにくく外観が良好なダクトが容易に構成される。
請求項5記載の車両用アンダーカバーは、請求項1ないし4いずれか一記載の車両用アンダーカバーにおいて、ダクト収納部は、ブロー成形により前後に貫通しダクト本体部を嵌合保持する保持部が形成されたものである。
そして、この構成では、ブロー成形によりダクト本体部を嵌合保持する保持部が形成され、部品点数の削減による製造コストの低減及び薄型化が容易になる。
請求項6記載の車両用アンダーカバーは、請求項1ないし5いずれか一記載の車両用アンダーカバーにおいて、ダクトは、少なくとも一部が炭素繊維で形成されたものである。
そして、この構成では、外観が良好で軽量な車両用アンダーカバーが容易に構成される。
本発明によれば、車両用アンダーカバーにダクトが組み込まれユニット化されるため、車両への取付作業が容易になり、製造コストを低減できる。ダクトは、アンダーカバー本体に組み付けられてユニット化されるとともに、アンダーカバー本体の開口部の周囲に当接するフランジ部を備えたため、空気の漏出を抑制して効率良く空気を案内できる。
以下、本発明の車両用アンダーカバーの一実施の形態を図面を参照して説明する。
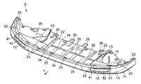
図1及び図2において、1は車両としての自動車で、この自動車1の前部のバンパ2の下側に位置して、車両用アンダーカバー3が取り付けられている。なお、各図において、5は前輪であるタイヤであり、このタイヤ5の車軸に接続されたブレーキ装置の被冷却部であるディスクブレーキは、ブレーキロータ6及びキャリパー7などを備えている。また、9は被冷却部であるクーラー装置であり、このクーラー装置9は、タイヤ5の前方に位置し、インタークーラーあるいはオイルクーラーなどを構成している。また、以下、自動車1の直進方向を基準として前後、上下、両側などの方向を説明し、図1などに示す矢印Fが前側方向である。
そして、車両用アンダーカバー3は、図1ないし図3に示すように、自動車1の前端部からタイヤ5の前側に位置し、バンパ2の下部に取り付けられていわばバンパ2の一部を構成し、バンパ2の下側すなわち床下を覆っている。そして、この車両用アンダーカバー3は、アンダーカバー本体11と、このアンダーカバー本体11に取り付けられた両側一対のダクト12とを組み合わせて構成されている。なお、この構成では、ダクト12の後側に位置して、空気を案内する案内体13がダクト12あるいはアンダーカバー本体11に取り付けられている。
そして、アンダーカバー本体11は、カバー本体部14と、このカバー本体部14の前端部に取り付けられた前端板部15とを備えている。そして、カバー本体部14は、例えばポリプロピレン樹脂をブロー成形して形成されたいわばブローユニットである中空アンダーカバーであり、全体として、板状の下板部21とこの下板部21の上方に位置する上板部22との間に中空部23を設けた中空体として、薄い、すなわち高さ方向の寸法(嵩高)が小さい剛体となっている。また、このアンダーカバー本体11には、上部の外周部に沿って、バンパ2などの部材に取り付けられる取付部25が複数形成されている。また、アンダーカバー本体11の両側方向の中央部分には、前後方向を長手方向とする凹溝状に凹設された凹溝部26が複数形成され、補強効果を有するとともに走行風を案内するようになっている。さらに、アンダーカバー本体11の両側方向の中央部分から後側に向かい、後側に配置される後部アンダーカバーに接続される接続突起28が複数突設されている。
また、このアンダーカバー本体11には、両側一対のダクト収納部30が設けられている。このダクト収納部30は、下板部21と上板部22との間に位置し、すなわち中空部23の一部として、前後に貫通する筒状に形成されている。さらに、このダクト収納部30には、下板部21と上板部22とが互いに接近するように湾曲された保持部31が形成されている。すなわち、この保持部31は、下板部21が上側に湾曲された下保持部32と、上板部22の縁部が下方に向かう上保持部33とを備えている。また、上保持部33は、弾性的に変形可能な爪状に形成されている。
また、前端板部15は、略垂直状に配置される縦壁部35と、この縦壁部35の上下の縁部あるいは縁部近傍から後側に突設された取付片部36,37を備えている。そして、縦壁部35は、バンパ2の前面と連続的に配置されて外部に露出する部分であり、適宜の塗装などの意匠が施される。そして、この縦壁部35は、バンパの一部を構成するとともに、走行風の整流機能を有しリップスポイラとも呼ばれる部分である。そして、上側の取付片部36は、アンダーカバー本体11の上板部22の上側に嵌合あるいは接合などして取り付けられている。また、下側の取付片部37は、アンダーカバー本体11の下板部21の上側に載置され、クリップなどの取付手段38で取り付けられている。さらに、この前端板部15には、ダクト収納部30の部分に臨み、それぞれ開口部39が形成されている。各開口部39は、両側方向に長い扁平な長円状、すなわち矩形状の両端部を曲線状とした形状で、ダクト収納部30の内部を前方に連通させている。
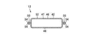
また、ダクト12は、冷却ダクトあるいはカーボンインテークとも呼ばれるもので、カバー本体部14とは別体すなわち別部品であり、少なくとも一部、本実施の形態では全体がカーボンフアイバーすなわち炭素繊維で形成され、軽量化、高い曲げ弾性率の確保、意匠性の向上などが図られている。そして、このダクト12は、図1ないし図6に示すように、全体としては、環状のフランジ部41と、このフランジ部の内側の開口部分の縁部から後側に延設された筒状のダクト本体部42と、このダクト本体部42から突設された係止部である傾斜舌片43とを備え、両側のダクト12は互いに対称な形状に形成されている。そして、フランジ部41は、アンダーカバー本体11の開口部39の縁部から周囲の部分に位置して、前端板部15の前面すなわち外面に密着して当接するようになっている。また、ダクト本体部42は、開口部39を貫通可能な扁平な筒状で、上下の面は平面状をなすとともに、前側から後側に向かい、次第に幅寸法が小さくなるように形成されている。また、傾斜舌片43は、先端部が自由端となる平板状で、ダクト本体部42の上部のフランジ部41近傍の位置から、前側すなわちフランジ部41に向かい、ダクト本体部42の外周部から離間する方向すなわち上方に向かい傾斜して突設されている。
また、このダクト12は、フランジ体45とダクト本体46とを接合して構成され、さらに、ダクト本体46は、上側部材47と下側部材48とを接合して形成されている。そして、フランジ体45は、開口部品とも呼び得るもので、フランジ部41と、このフランジ部41から後側に筒状に突設されダクト本体部42の前側部を構成する前筒部51とが一体に形成されている。また、ダクト本体46は、上側部材47と下側部材48とを接合した状態で、前筒部51の後側に接続されダクト本体部42の後側部を構成する後筒部52と、この後筒部52の上側部材47の前端部から一体に延設された傾斜舌片43とを備えている。また、これら上側部材47と下側部材48とは、それぞれ前後方向に沿って両側部に延設された接続片部54を備え、これら接続片部54同士をリベットなどの接合具55で接合して筒状に形成されているとともに、これら上側部材47と下側部材48との前側部分で前筒部51の外周部を挟み込んで接合するようにして、フランジ体45に接合されている。
そして、このように構成されたダクト12は、アンダーカバー本体11の開口部39に前側から挿入するのみで、アンダーカバー本体11に位置決め及び抜け止めして組み付けられる。すなわち、ダクト12のダクト本体部42を後端部から、アンダーカバー本体11の開口部39に前側から挿入する。そして、ダクト12をさらに押し込むと、傾斜舌片43が弾性的に変形しながら開口部39を通過し、フランジ部41が前端板部15の前面に密着して当接した状態で、傾斜舌片43の先端部が開口部39を通過し、この傾斜舌片43が上側に復帰変形する。すると、この傾斜舌片43の先端部が前端板部15の後面に当接して係止するとともに、この傾斜舌片43の先端部とフランジ部41との間の広い範囲で前端板部15が挟持され、フランジ部41が前端板部15の前面に密着して当接した状態で、ダクト12がアンダーカバー本体11に抜け止めして取り付けられる。さらに、この状態で、ダクト12のダクト本体部42の少なくとも一部がアンダーカバー本体11のダクト収納部30に収納される。ここで、ダクト本体部42は、保持部31に嵌合して保持され、すなわち、下側部が下保持部32の上に載置されるとともに、上側部に上保持部33が弾性的に当接して、安定して支持される。
また、このように傾斜舌片43の先端部が前端板部15の上部の後面に当接した状態で、この当接した部分を支点として考えると、前端板部15の下部にフランジ部41の下部が当接して、ダクト本体部42の上方への回動を規制し、ダクト本体部42の下面がカバー本体部14の下保持部32に当接して、ダクト本体部42の下方への回動を規制し、ダクト12がアンダーカバー本体11に完全に固定された状態となる。
そして、このようにアンダーカバー本体11にダクト12を組み付けた車両用アンダーカバー3を取り付けた自動車1が走行した状態で、開口部39から導入された走行風である空気が図1に矢印Aに示すようにダクト12で案内され、クーラー装置9及びブレーキ装置のブレーキロータ6及びキャリパー7を設けたホイールハウスの部分に案内され、これらクーラー装置9及びブレーキ装置などを空気で冷却するようになっている。
このように、本実施の形態によれば、車両用アンダーカバー3のアンダーカバー本体11にダクト12が組み付けられてユニット化されるため、アンダーカバーと冷却ダクトとをそれぞれ車体に取り付ける構成に比べて、部品点数を削減できるとともに、自動車1への取付作業を容易にでき、製造コストを低減できる。
また、ダクト12は、アンダーカバー本体11に組み付けられてユニット化されるとともに、アンダーカバー本体11の開口部39の周囲に当接するフランジ部41を備えたため、空気の漏出を抑制して効率良く空気を案内できる。
さらに、ダクト12に一体的に設けたフランジ部41がアンダーカバー本体11の前端板部15の前面に密着して当接し、このフランジ部41から突設したダクト本体部42が空気を案内する。そこで、他の部材との接続部分を考慮する必要がなく、ダクト12のみにより空気を案内でき、空気の漏出を抑制して効率良く空気を案内し、クーラー装置9やブレーキ装置を効果的に冷却できる。すなわち、バンパを構成する前端板部15と冷却用のダクト12との間に隙間がなく、導入した冷却外気をロスなく冷却対象物まで導くことができる。
また、アンダーカバー本体11は、カバー本体部14をブロー成形で形成し、このブロー成形により形成される前後に貫通した中空部23を利用して、ダクト12のダクト本体部42を内部に収納するダクト収納部30及びダクト本体部42を嵌合保持する保持部31を形成したため、ダクト12の上下などにダクト12を保持する別体の部材を設ける必要がない。そこで、構造の簡略化及び部品点数の削減により製造コストを低減できるとともに、車両用アンダーカバー3の高さ寸法を小さくでき、すなわち容易に薄型化できる。
また、ダクト本体部42は、筒状のダクト収納部30に収納され、さらに保持部31に嵌合して保持され、すなわち、下側部の少なくとも一部が下保持部32の上に載置されるとともに、上側部に上保持部33が弾性的に当接して、安定して支持できる。このようにして、ダクト12の上下が包まれるように固定でき、さらに、ダクト本体部42の両側にダクト収納部30を当接することにより、ダクト12を安定して支持し、空気流入量が増大した状態でも、ダクト12の変形や外れなどを容易に防止できる。
また、フランジ部41と弾性的に変形可能な傾斜舌片43とを設けたダクト12は、このダクト12をいわば車体の外側から開口部39に挿入するのみで、傾斜舌片43が広い面積で前端板部15を係止し、アンダーカバー本体11に確実に抜け止めして取り付けでき、作業性を向上し、製造コストを低減できる。このように、ダクト12の取付作業はバンパ2の内側ではなく車体の外側から行うことができ、作業性を良好にできる。
このようにして、クリップなどの別体の部材を用いなくても、ダクト12をアンダーカバー本体11に高精度で容易かつ確実に取り付けできる。
また、ダクト12は、フランジ部41及びこのフランジ部41から後側に一体に筒状に突設されダクト本体部42の前側部を構成する前筒部51を設けたフランジ体45と、この前筒部51の後側に接続されダクト本体部42の後側部を構成する後筒部52を備えたダクト本体46とを備え、さらに、ダクト本体46は、上下に分割されて上側部材47と下側部材48とを備え、傾斜舌片43を後筒部52から一体に突設するとともに、これら上側部材47と下側部材48とを前筒部51の外周部に接合しつつ互いに接合して形成している。このように3部品で構成することにより、フランジ部41、ダクト本体部42、及び傾斜舌片43を備えたダクト12を、炭素繊維など金型で全体を一体に形成できないシート材料を用いた場合にも容易に形成できる。
また、傾斜舌片43の弾性及び保持部31の上保持部33の弾性が、上側部材47と下側部材48との隙間、及びダクト本体46とフランジ体45との隙間を塞ぐ方向に作用するため、前側から導入される空気の漏出を抑制し、かつ、前側から接合部分が見えにくく外観が良好なダクト12を容易に構成できる。
また、ダクト12は、少なくとも一部を炭素繊維で形成したため、ダクト12を軽量化できるとともに、炭素繊維の大きな曲げ弾性率を利用して、傾斜舌片43に求められる特性を容易に実現でき、ダクト本体46の上側部材47などに傾斜舌片43を後付けすることなく一体に形成して構造を簡略化できる。さらに、炭素繊維の質感により、フランジ部41など外部に露出する部分について、意匠性を向上できる。
このようにして、組み付けが容易で空気の供給にいわゆるロスがなく、自動車用冷却ダクト及び自動車用冷却ダクト取付構造として好ましい特性を実現できる。
なお、上記の実施の形態では、ダクト12は、フランジ体45、上側部材47、及び下側部材48の3部材を接合して構成したが、この構成に限られず、適宜の構成を採ることができる。例えば、図7に示すように、ダクト本体46について、図6に示す上側部材47と下側部材48とを一体とした筒状に形成し、ダクト12をフランジ体45とダクト本体46との2部材を接合して構成することもできる。さらに、ダクト12は、全部あるいは一部を、熱可塑性樹脂によるブロー成形あるいは射出成形により一体に形成することもできる。
また、アンダーカバー本体11のカバー本体部14についても、ブロー成形の他、射出成形や、シート状の部材を組み合わせて形成することもできる。
さらに、アンダーカバー本体11の一部あるいは全体を他の部材と一体的に形成し、例えば、図8に示すように、アンダーカバー本体11の下板部21を、フェンダプロテクタ60と一体に形成することもできる。この構成では、フェンダプロテクタ60に形成された開口61に、ダクト12のダクト本体部42の出口側である後端部を差し込み、ダクト12により案内される空気が効率良くホイールハウスの内側に供給される。また、この構成では、フェンダプロテクタ60の開口61が、ダクト12を支持する保持部31として機能し、構成が簡略化され、製造コストの低減が容易になるとともに、車両用アンダーカバー3の薄型化が容易になる。
本発明は、自動車の前部のバンパの下部に取り付けられる車両用アンダーカバーに適用できる。
本発明の車両用アンダーカバーの一実施の形態を示す図2のI−I相当位置の断面図である。 同上車両用アンダーカバーを備えた車両の一部の斜視図である。 同上車両用アンダーカバーの斜視図である。 同上車両用アンダーカバーのダクトを示す斜視図である。 同上車両用アンダーカバーのダクトを模式的に示す斜視図である。 同上車両用アンダーカバーのダクトの図5のII−II断面図である。 同上車両用アンダーカバーのダクトの他の実施の形態を示す斜視図である。 同上車両用アンダーカバーの他の実施の形態を示す断面図である。
符号の説明
1 車両としての自動車
3 車両用アンダーカバー
11 アンダーカバー本体
12 ダクト
15 前端板部
30 ダクト収納部
31 保持部
39 開口部
41 フランジ部
42 ダクト本体部
43 傾斜舌片
45 フランジ部
46 ダクト本体
47 上側部材
48 下側部材
51 前筒部
52 後筒部

Claims (6)

  1. 車両の前側下部に取り付けられ、前端板部、この前端板部に開口形成された開口部、及びこの開口部に連通するダクト収納部が設けられたアンダーカバー本体と、
    前記開口部の周囲に位置して前記前端板部に当接するフランジ部、及びこのフランジ部の後側に延設されて前記ダクト収納部に収納され前記開口部から導入される空気を後側に案内する筒状のダクト本体部が設けられたダクトと
    を具備したことを特徴とする車両用アンダーカバー。
  2. ダクトは、ダクト本体部の外周部から外周側に離間する方向かつフランジ部に向かう方向に傾斜して突設された弾性的に変形可能な傾斜舌片を備え、
    前記ダクト本体部は、開口部に前側から挿入可能に形成され、前記フランジ部を前端板部の前面に当接した状態で、前記フランジ部と前記傾斜舌片との間に前記前端板部が挟持される
    ことを特徴とする請求項1記載の車両用アンダーカバー。
  3. ダクトは、フランジ部及びこのフランジ部から後側に一体に筒状に突設されダクト本体部の前側部を構成する前筒部を設けたフランジ体と、この前筒部の後側に接続されダクト本体部の後側部を構成する後筒部を備えたダクト本体とを備え、傾斜舌片は、前記後筒部から一体に突設された
    ことを特徴とする請求項2記載の車両用アンダーカバー。
  4. ダクト本体は、上側部材と下側部材とを備え、これら上側部材と下側部材とを前筒部の外周部に接合しつつ互いに接合して形成された
    ことを特徴とする請求項3記載の車両用アンダーカバー。
  5. ダクト収納部は、ブロー成形により前後に貫通しダクト本体部を嵌合保持する保持部が形成された
    ことを特徴とする請求項1ないし4いずれか一記載の車両用アンダーカバー。
  6. ダクトは、少なくとも一部が炭素繊維で形成された
    ことを特徴とする請求項1ないし5いずれか一記載の車両用アンダーカバー。
JP2008321898A 2008-12-18 2008-12-18 車両用アンダーカバー Expired - Fee Related JP5247408B2 (ja)

Priority Applications (1)

Application Number Priority Date Filing Date Title
JP2008321898A JP5247408B2 (ja) 2008-12-18 2008-12-18 車両用アンダーカバー

Applications Claiming Priority (1)

Application Number Priority Date Filing Date Title
JP2008321898A JP5247408B2 (ja) 2008-12-18 2008-12-18 車両用アンダーカバー

Publications (2)

Publication Number Publication Date
JP2010143359A true JP2010143359A (ja) 2010-07-01
JP5247408B2 JP5247408B2 (ja) 2013-07-24

Family

ID=42564243

Family Applications (1)

Application Number Title Priority Date Filing Date
JP2008321898A Expired - Fee Related JP5247408B2 (ja) 2008-12-18 2008-12-18 車両用アンダーカバー

Country Status (1)

Country Link
JP (1) JP5247408B2 (ja)

Cited By (4)

* Cited by examiner, † Cited by third party
Publication number Priority date Publication date Assignee Title
EP2489537A1 (en) 2011-02-21 2012-08-22 Honda Motor Co., Ltd. Front part of a vehicle body
KR20150011528A (ko) * 2013-07-23 2015-02-02 현대모비스 주식회사 차량의 유체 저항 저감 장치
FR3039808A1 (fr) * 2015-08-07 2017-02-10 Peugeot Citroen Automobiles Sa Dispositif de transmission d'air entre un passage de roue d'un vehicule automobile et un passage d’air de pare-choc
CN109177943A (zh) * 2018-10-30 2019-01-11 安徽江淮汽车集团股份有限公司 一种制动器冷却装置

Citations (15)

* Cited by examiner, † Cited by third party
Publication number Priority date Publication date Assignee Title
JPS5894815U (ja) * 1981-12-18 1983-06-27 日産自動車株式会社 自動車のエンジンル−ム冷却構造
JPS59184067A (ja) * 1983-04-05 1984-10-19 Nissan Motor Co Ltd 自動車の冷却補機部品配設構造
JPS6050060U (ja) * 1983-09-14 1985-04-08 日産車体株式会社 ソフトフェイシャにおけるダクト状フィニッシャの取付構造
JPS6167262U (ja) * 1984-10-09 1986-05-08
JPS62131846A (ja) * 1985-11-30 1987-06-15 ドクトル・インゲニ−ウル・ハ−・ツエ−・エフ・ポルシエ・アクチエンゲゼルシヤフト 車道に隣接して延びるフロントエンド部分を備えた自動車
JPS62160937A (ja) * 1986-01-09 1987-07-16 Nissan Motor Co Ltd 車両用インタ−ク−ラグリルの固定構造
JPS62177525U (ja) * 1986-04-30 1987-11-11
JPS63111378U (ja) * 1987-01-13 1988-07-18
JPH0173471U (ja) * 1987-11-06 1989-05-17
JPH02142381U (ja) * 1989-04-28 1990-12-03
JPH0592066U (ja) * 1991-01-11 1993-12-14 愛知機械工業株式会社 エンジンアンダーカバー
JP2000190873A (ja) * 1998-12-25 2000-07-11 Nissan Motor Co Ltd 自動車のアンダ―カバ―構造
JP2000198466A (ja) * 1999-01-08 2000-07-18 Daikyo Inc 樹脂パネル、樹脂パネルの製造方法及び自動車のアンダ―カバ―
JP2001239572A (ja) * 2000-01-19 2001-09-04 Kautex Textron Gmbh & Co Kg 嵌込み遮蔽エレメント
JP2003146252A (ja) * 2001-11-14 2003-05-21 Toray Ind Inc Frp製自動車用パネルおよびその製造方法

Patent Citations (15)

* Cited by examiner, † Cited by third party
Publication number Priority date Publication date Assignee Title
JPS5894815U (ja) * 1981-12-18 1983-06-27 日産自動車株式会社 自動車のエンジンル−ム冷却構造
JPS59184067A (ja) * 1983-04-05 1984-10-19 Nissan Motor Co Ltd 自動車の冷却補機部品配設構造
JPS6050060U (ja) * 1983-09-14 1985-04-08 日産車体株式会社 ソフトフェイシャにおけるダクト状フィニッシャの取付構造
JPS6167262U (ja) * 1984-10-09 1986-05-08
JPS62131846A (ja) * 1985-11-30 1987-06-15 ドクトル・インゲニ−ウル・ハ−・ツエ−・エフ・ポルシエ・アクチエンゲゼルシヤフト 車道に隣接して延びるフロントエンド部分を備えた自動車
JPS62160937A (ja) * 1986-01-09 1987-07-16 Nissan Motor Co Ltd 車両用インタ−ク−ラグリルの固定構造
JPS62177525U (ja) * 1986-04-30 1987-11-11
JPS63111378U (ja) * 1987-01-13 1988-07-18
JPH0173471U (ja) * 1987-11-06 1989-05-17
JPH02142381U (ja) * 1989-04-28 1990-12-03
JPH0592066U (ja) * 1991-01-11 1993-12-14 愛知機械工業株式会社 エンジンアンダーカバー
JP2000190873A (ja) * 1998-12-25 2000-07-11 Nissan Motor Co Ltd 自動車のアンダ―カバ―構造
JP2000198466A (ja) * 1999-01-08 2000-07-18 Daikyo Inc 樹脂パネル、樹脂パネルの製造方法及び自動車のアンダ―カバ―
JP2001239572A (ja) * 2000-01-19 2001-09-04 Kautex Textron Gmbh & Co Kg 嵌込み遮蔽エレメント
JP2003146252A (ja) * 2001-11-14 2003-05-21 Toray Ind Inc Frp製自動車用パネルおよびその製造方法

Cited By (6)

* Cited by examiner, † Cited by third party
Publication number Priority date Publication date Assignee Title
EP2489537A1 (en) 2011-02-21 2012-08-22 Honda Motor Co., Ltd. Front part of a vehicle body
KR20150011528A (ko) * 2013-07-23 2015-02-02 현대모비스 주식회사 차량의 유체 저항 저감 장치
KR102128051B1 (ko) * 2013-07-23 2020-06-29 현대모비스 주식회사 차량의 유체 저항 저감 장치
FR3039808A1 (fr) * 2015-08-07 2017-02-10 Peugeot Citroen Automobiles Sa Dispositif de transmission d'air entre un passage de roue d'un vehicule automobile et un passage d’air de pare-choc
CN109177943A (zh) * 2018-10-30 2019-01-11 安徽江淮汽车集团股份有限公司 一种制动器冷却装置
CN109177943B (zh) * 2018-10-30 2020-05-29 安徽江淮汽车集团股份有限公司 一种制动器冷却装置

Also Published As

Publication number Publication date
JP5247408B2 (ja) 2013-07-24

Similar Documents

Publication Publication Date Title
JP5599182B2 (ja) 自動車用導風板及びシール構造
US10676140B2 (en) Rear diffusor unit with a flow-directing sealing element
JP5227063B2 (ja) 車両用吸気ダクト
US9381948B2 (en) Cowl top cover
JP2015104995A (ja) 車両のカウル部構造
JP3976197B2 (ja) 自動車のフロントボデー構造
CN103770630B (zh) 汽车领域车身附接件的安装件及带这种安装件的安装组件
US8434816B2 (en) Vehicle body structure for automobile
JP5247408B2 (ja) 車両用アンダーカバー
WO2011013195A1 (ja) バンパーの取付構造
JP2010125991A (ja) カウルトップカバー
JP5621546B2 (ja) 車両用カウルルーバの固定構造
JP2010280275A (ja) 車両用部品間のシール構造
JP2012081903A (ja) 車両の冷却風導入構造
JP2008260401A (ja) デフレクターの取付構造
JP2008230442A (ja) バンパーの線管類取付構造
JP2006205966A (ja) カウルルーバ
CN102015347B (zh) 用于车辆的前脸结构的空气引导装置
JP4569435B2 (ja) 車両吸気ダクトの吸気取入構造
JP2005205951A (ja) エアダクトの接続構造
JP2009167840A (ja) 車両用吸気ダクト
KR101645877B1 (ko) 자동차용 배터리 트레이
JP5511551B2 (ja) カウルトップカバー
JP5315541B2 (ja) 車両用インストルメントパネルの取付構造
JP5115811B2 (ja) 車両用内装材の取付構造

Legal Events

Date Code Title Description
A621 Written request for application examination

Free format text: JAPANESE INTERMEDIATE CODE: A621

Effective date: 20111109

A977 Report on retrieval

Free format text: JAPANESE INTERMEDIATE CODE: A971007

Effective date: 20130110

A131 Notification of reasons for refusal

Free format text: JAPANESE INTERMEDIATE CODE: A131

Effective date: 20130116

A521 Written amendment

Free format text: JAPANESE INTERMEDIATE CODE: A523

Effective date: 20130312

TRDD Decision of grant or rejection written
A01 Written decision to grant a patent or to grant a registration (utility model)

Free format text: JAPANESE INTERMEDIATE CODE: A01

Effective date: 20130403

A61 First payment of annual fees (during grant procedure)

Free format text: JAPANESE INTERMEDIATE CODE: A61

Effective date: 20130409

R150 Certificate of patent or registration of utility model

Free format text: JAPANESE INTERMEDIATE CODE: R150

FPAY Renewal fee payment (event date is renewal date of database)

Free format text: PAYMENT UNTIL: 20160419

Year of fee payment: 3

R250 Receipt of annual fees

Free format text: JAPANESE INTERMEDIATE CODE: R250

LAPS Cancellation because of no payment of annual fees