JP2010143049A - 液滴吐出ヘッドおよび液滴吐出装置 - Google Patents
液滴吐出ヘッドおよび液滴吐出装置 Download PDFInfo
- Publication number
- JP2010143049A JP2010143049A JP2008322134A JP2008322134A JP2010143049A JP 2010143049 A JP2010143049 A JP 2010143049A JP 2008322134 A JP2008322134 A JP 2008322134A JP 2008322134 A JP2008322134 A JP 2008322134A JP 2010143049 A JP2010143049 A JP 2010143049A
- Authority
- JP
- Japan
- Prior art keywords
- liquid
- nozzle
- flow path
- droplet discharge
- droplet
- Prior art date
- Legal status (The legal status is an assumption and is not a legal conclusion. Google has not performed a legal analysis and makes no representation as to the accuracy of the status listed.)
- Withdrawn
Links
Images
Landscapes
- Particle Formation And Scattering Control In Inkjet Printers (AREA)
Abstract
【課題】高粘度な混合液を高効率かつ安定に吐出できる液滴吐出ヘッドおよび液滴吐出装置を提供する。
【解決手段】流路部材12は、液滴吐出方向および逆方向に撓み可能であり、液流路13を通ってノズル16まで達した液を、慣性によって吐出方向に液滴2として吐出する。ノズル16に至るまで、図5(B)に示すように長手方向両端より液流路13の内部をそれぞれA液、B液が給送される。図5(C)に楕円で示される反応進行領域である区間Mでは、ノズル16近傍で接触したA液とB液とが混合され、反応が進行し高粘度化が起こる。次いで図5(D)に示されるようにノズル16より液滴2が吐出される。
【選択図】図5
【解決手段】流路部材12は、液滴吐出方向および逆方向に撓み可能であり、液流路13を通ってノズル16まで達した液を、慣性によって吐出方向に液滴2として吐出する。ノズル16に至るまで、図5(B)に示すように長手方向両端より液流路13の内部をそれぞれA液、B液が給送される。図5(C)に楕円で示される反応進行領域である区間Mでは、ノズル16近傍で接触したA液とB液とが混合され、反応が進行し高粘度化が起こる。次いで図5(D)に示されるようにノズル16より液滴2が吐出される。
【選択図】図5
Description
本発明は液滴吐出ヘッドおよび液滴吐出装置に関し、特に高粘度の液を液滴として吐出する液滴吐出ヘッドおよび液滴吐出装置に関する。
液滴吐出装置として知られている現在市販されている水性インクジェットプリンターは、概ね粘度5cps前後、高々10cpsオーダの染料液や顔料インクを採用している。媒体に着弾した際の液滲み防止や、光学的な色濃度アップ、含水量低減による媒体の膨潤抑制/短時間乾燥、あるいは、そうした高品質液をトータル設計するに当たり自由度が大きくとれる等の理由から、インク粘度を増加することによってプリント性能は向上できることが知られている。
本願発明者らは、梁に圧縮と回転運動を与え、座屈曲げ方向が反転する際の急峻な上下運動を利用して、ノズルから高粘度液滴を所望の方向に慣性離脱させる液滴吐出ヘッドを先に出願した(特許文献1〜4参照)。
ところで、主に吐出液滴(インク)の色濃度制御を目的として、異なる2液を混合し吐出する技術が従来から知られている(特許文献5〜6参照)。
特願2004−322341号公報
特願2004−322342号公報
特願2004−322343号公報
特願2004−322344号公報
特開平6−071901号公報
特開平6−122201号公報
本発明は、高粘度な混合液を高効率かつ安定に吐出できる液滴吐出ヘッドおよび液滴吐出装置を提供することを目的とする。
請求項1に記載の液滴吐出ヘッドは、液滴を吐出するノズルと、混合により粘度が増加する少なくとも2種類の液体が前記ノズルに向けて別々に供給される液体流路部材と、前記液体流路部材と接合もしくは液体流路部材を含み、液滴吐出面に凹となるように座屈反転変形した後、液滴吐出方向に凸となるよう座屈反転変形し、前記ノズル近傍の液体に吐出方向の慣性を与えることにより、前記ノズルの近傍で混合された混合液の液滴を前記ノズルより吐出させる梁部材と、を備えたことを特徴とする。
請求項2に記載の液滴吐出ヘッドは、請求項1に記載の構成において、前記液体流路部材の両端部からそれぞれ種類の異なる液体が前記ノズルに向けて供給されることを特徴とする。
請求項3に記載の液滴吐出ヘッドは、請求項1または請求項2に記載の構成において、前記液体流路部材の流路は、長手方向に沿って仕切部材で仕切られていることを特徴とする。
請求項4に記載の液滴吐出ヘッドは、請求項1〜請求項3の何れか1項に記載の構成において、前記梁部材あるいは前記梁部材および前記液体流路部材は、前記ノズルより溢れた液体を液滴吐出方向の反対側に排出する液体排出部を備えたことを特徴とする。
請求項5に記載の液滴吐出ヘッドは、請求項1〜請求項4の何れか1項に記載の構成において、吸引口が前記ノズルの近傍に向いた吸引路と、前記吸引路に負圧を発生させる負圧発生手段と、を備えたことを特徴とする。
請求項6に記載の液滴吐出ヘッドは、請求項5に記載の構成において、前記吸引路の前記吸引口へ空気を送る送風路と、前記送風路に正圧を発生させる送風手段と、を備えたことを特徴とする。
請求項7に記載の液滴吐出装置は、請求項1〜請求項6の何れか1項に記載の液滴吐出ヘッドを備えたことを特徴とする。
請求項1に記載の液滴吐出ヘッドの構成によれば、本構成を有していない場合と比較して、混合により粘度が増加した混合液を高効率かつ安定に吐出できる液滴吐出ヘッドとすることができる。
請求項2に記載の液滴吐出ヘッドの構成によれば、本構成を有していない場合と比較して、ノズル位置を中心とする梁部材の構造対称性を高くし、梁部材の座屈動作を高精度化することができる。
請求項3に記載の液滴吐出ヘッドの構成によれば、本構成を有していない場合と比較して、2液の混合点がノズル箇所より外れることなく、かつ流路端部を加工して簡易にノズル形成を可能とすることができる。
請求項4に記載の液滴吐出ヘッドの構成によれば、本構成を有していない場合と比較して、ノズル近傍での液停滞を抑制できる。
請求項5に記載の液滴吐出ヘッドの構成によれば、本構成を有していない場合と比較して、ノズル近傍を清浄に保つことができる。
請求項6に記載の液滴吐出ヘッドの構成によれば、本構成を有していない場合と比較して、吸引口からノズル近傍のゴミや残留液の吸引を容易にすることができる。
請求項7に記載の液滴吐出装置の構成によれば、本構成を有していない場合と比較して、座屈反転変形を採用しない場合と比べ、混合により粘度が増加した混合を、高効率かつ安定に吐出できる液滴吐出装置とすることができる。
<基本構成>
図1には、本発明の実施形態に係る液滴吐出ヘッドの基本構造が示されている。
図1には、本発明の実施形態に係る液滴吐出ヘッドの基本構造が示されている。
図1(A)、(B)に示すように液滴吐出ヘッド10は、内部に液流路13を備え長さ方向略中央にノズル16を備えた中空チューブ状の流路部材12と、流路部材12を支持する梁部材14とが柱状に接合され、両端を支持部材18が支持する構造となっている。
梁部材14にはピエゾ素子30が接合され、さらにピエゾ素子30には信号電極32が接合され梁部材14、ピエゾ素子30、信号電極32でアクチュエータ36を構成している。梁部材14はピエゾ素子30の共通電極を兼ねており、梁部材14と信号電極32とでピエゾ素子30を挟む構造となっている。信号電極32の一方の端には電極パッド33が設けられ、配線34にて図示しないスイッチングICと接続されている。このスイッチングICからの信号によりピエゾ素子30は駆動され、梁部材14を撓ませるか撓ませないかの制御が行われる。
流路部材12は、液滴吐出方向(図中上)および逆方向に撓み可能であり、液溜まり24から供給され液流路13を通ってノズル16まで達した液を、慣性によって吐出方向に液滴として吐出する。
このとき、回転エンコーダ20に設けられた2箇所の液溜まり24からはそれぞれ別個の液体、すなわちA液とB液とが液流路13に供給され、長手方向両端よりノズル16近傍にて合流、混合され、ノズル16より液滴2として吐出される。
支持部材18は回転エンコーダ20の回転中心からオフセットされた位置にて両側から押圧され、あるいは曲げ方向に力が加えられインク液吐出方向あるいは逆方向に梁部材14と接合した流路部材12を撓ませる。支持部材18は、例えば図1(A)の紙面前後方向に長い棒状でもよく、支持部材18に複数の流路部材12が設けられた梯子状の構造であってもよい。
図1(C)は、梁部材14の斜視図である。図1(C)に示すように流路部材12は中空チューブ状の部材を複数並べ、長さ方向の略同一位置にノズル16を切り欠いて設けた構造とされている。
ここで用いられる液は前述のように、主に吐出液滴(インク)の色濃度制御を目的として、異なる2液を混合し吐出するものであり、また混合に伴い粘度が高くなるような液体である。
<座屈反転吐出>
図2および図3には本発明に係る液滴吐出ヘッドの梁部材あるいは流路部材の撓み方向と座屈反転の関係が示されている。両図とも、支持部材に複数の流路部材が梯子状に設けられた構造の液滴吐出ヘッドにおいて、その中の1本の流路部材に注目して変形の様子を表したものである。
図2および図3には本発明に係る液滴吐出ヘッドの梁部材あるいは流路部材の撓み方向と座屈反転の関係が示されている。両図とも、支持部材に複数の流路部材が梯子状に設けられた構造の液滴吐出ヘッドにおいて、その中の1本の流路部材に注目して変形の様子を表したものである。
液滴2を吐出しないように制御された場合、まず図2(A)のように回転エンコーダ20が逆回転(流路部材12を引き伸ばす方向へ回転)し、初期状態では吐出方向へ凸形状となっている流路部材12を真っ直ぐに伸ばす。
次いで図2(B)のように、流路部材12の伸びを緩めると、流路部材12に吐出を指示する信号が送られないためアクチュエータ36が駆動されず、吐出方向に凸となるように撓んだ状態のままとなる。
さらに図2(C)および図2(D)で回転エンコーダ20を吐出方向に正回転させ続けると、吐出方向に凸となるように撓んだ状態のまま撓み量が増大してゆくが、座屈反転による流路部材12の吐出方向への変形が起こらないため、ノズル16より液滴2の吐出には至らない。
これに対して液滴2を吐出するように液滴吐出ヘッド10が制御された場合、まず図3(A)のように回転エンコーダ20が反転(流路部材12を引き伸ばす方向へ回転)し、初期状態では吐出方向へ凸形状となっている流路部材12を真っ直ぐに伸ばし、撓みのない状態とする。
次いで図3(B)のように流路部材12に吐出を指示する信号が図示しないスイッチングICより送られてアクチュエータ36が駆動され、吐出方向に凹となるように撓んだ状態となる。
さらに図3(C)で回転エンコーダ20を図中矢印方向に正回転させると、流路部材12は回転エンコーダ20に近い方、すなわち長手方向両端側から次第に吐出方向(図中上)に凸へと撓み方向が変化する。
この変化が両端から中央に近付くと、流路部材12(あるいは梁部材14)はある点で急峻な座屈反転を起こし、図3(D)に示すように液滴吐出方向(図中上)へと急激に変形する。
流路部材12の長さ方向略中央にはノズル16が設けられているため、流路部材12内部を給送されノズル16まで達している液はこの座屈反転による流路部材12の吐出方向への変形に伴い、ノズル16から液滴2として吐出される。
さらに図3(D)で撓み量が最大となり回転エンコーダ20が停止したのち、逆回転して流路部材12を平坦にする(図3(A))ことで流路部材12は初期位置図3(A)へ復帰する。
図4には本実施形態に係る液滴吐出ヘッドの、他の構造が示されている。すなわち、梁部材14の長手方向一端を回転エンコーダ20に保持された支持部材18に固定され、長手方向他端は固定端として、固定された支持部材18Bに保持されている。
また梁部材14に設けられた流路部材12には長手方向両端より液流路13が設けられており、長手方向一端よりA液が、長手方向他端よりB液が、それぞれ長手方向中央近傍に設けられたノズル16に向けて給送され、ノズル16近傍で混合される。
図4(A)に示すように梁部材14の回転エンコーダ20側半分を吐出側に凹、他端側半分を吐出側に凸とした初期状態より、図4(B)に示すように梁部材14(流路部材12)の両端よりA液、B液が液流路13内を給送され、ノズル16近傍で混合される。
さらに図4(C)に示すように回転エンコーダ20が吐出方向に回転すると支持部材18によって保持されている梁部材14の一端より、吐出方向に凸となるように変形し始め、図4(D)に示すようにノズル16近傍(長手方向中央付近)が吐出方向に座屈反転し、ノズル16よりA液とB液が混合された液滴2が吐出される。
<液混合と吐出>
図5には本発明の第1実施形態に係る液滴吐出ヘッドのノズル近傍における液の混合と液滴の吐出が示されている。
図5には本発明の第1実施形態に係る液滴吐出ヘッドのノズル近傍における液の混合と液滴の吐出が示されている。
図5(A)には液滴吐出ヘッド10のノズル16近傍の断面図が示されている。支持部材18に一端を保持された梁部材14上には流路部材12が設けられ、流路部材12の内部には長手方向に液流路13が設けられている。
例えばYAGレーザ50などによる貫通加工で形成されたノズル16に至るまで、図5(B)に示すように長手方向両端より液流路13の内部をそれぞれA液、B液が給送される。図5(C)に楕円で示される反応進行領域である区間Mでは、ノズル16近傍で接触したA液とB液とが混合され、反応が進行し高粘度化が起こる。
次いで図5(D)に示されるようにノズル16より液滴2が吐出される。この液滴2は反応したA液、B液の混合液の大部分であり、高粘度化が進行し粘性が高い状態となっているが、梁部材14の座屈反転による慣性離脱で吐出されるため、高粘度の液滴2であっても吐出可能であり、剛体で形成された圧力室、絞り等を必要としない。
ここで、上記のA液およびB液について具体的に説明する。本発明ではAB2液として公知のDCLS(Double-Component Liquid System)技術を使用する。
従来から、2液を別々のヘッドで吐出し、媒体上で着弾した液体を混合することにより、色材の凝集を起こし、印字性能を向上する技術が知られている。媒体表面で色材を凝集させることで、媒体の内部に色材が浸透することを抑制でき、溶媒等は媒体の内部に浸透する。光学濃度の向上や滲みの防止を実現することを目的としている。
本発明では、上記のような液(インク)として、既に知られている酸−塩基(イオン)反応の2液(共に4cps程度)を混合吐出した。2液の一方(A液)として、例えばカルボン酸を有する高分子分散材を使った黒顔料インクを、また、他方(B液)には、例えば多価金属塩を含有する水溶液を用いた。
この場合、主溶媒は水であり、他に界面活性剤、粘度調整や保湿のためグリセリンを添加したものであり、混合前の2液のそれぞれの粘度は約50mPa・sに調整した。なお、粘度範囲は2〜200mPa・s、さらに好適には10〜100mPa・sが望ましい。すなわち2液の粘度が高過ぎると、2液がノズル16近傍の液流路13内部でぶつかった界面で混合(相互拡散)が起こりにくく、均一な反応をコントロールし難く、加えて着弾時のレベリングが進まずに液滴2が媒体表面で盛り上がった印字状態になってしまう。一方、A液およびB液が低粘度過ぎると、ノズル16近傍で急激に混合が進むため、やはり混合反応の制御が困難になる。
A液、B液の2液がノズル16近傍で混合された後は、色材の凝集、それに伴う液体の高粘度化が進行する。本願発明者らの検討によると、凝集の進行具合からミリ秒オーダで高粘度化が始まり、最終的には数千mPa・s以上に高粘度化する。液滴2として吐出の段階では概ね、数十〜数百mPa・sに高粘度化していると考えられる。
なお、混合2液の組合せは、上述のようにイオン反応で高粘度化するものに限定されない。例えば、混合によってポリマー化するような液体の組合せにおいても、同様の効果を得ることができる。
<製造工程>
図6には、本発明の第1実施形態に係る液滴吐出ヘッドの製造工程が示されている。先ず厚さ20μm程度のSUS板をスリット幅70μm程度で一列飛ばしにエッチング処理(スリットエッチ)し、梁部材14とする。
図6には、本発明の第1実施形態に係る液滴吐出ヘッドの製造工程が示されている。先ず厚さ20μm程度のSUS板をスリット幅70μm程度で一列飛ばしにエッチング処理(スリットエッチ)し、梁部材14とする。
図6(A)に示すように、吐出面裏側にPI(ポリイミド)フィルム12Bを融着した厚さ10μm程度のSUS板を流路部材12Bとしてスリット幅70μmでスリットエッチ処理する。
次いで図6(C)に示されるように、流路部材12Bの吐出面側にPIフィルム12Cを熱融着する。YAGレーザ50などでノズル16を穿孔し、支持部材18の長手方向に並列に設けられた梁部材14を互いに分離する。また同時に流路部材12Bに設けられたスリット(=液流路13)と連通する液溜まり24がPIフィルム12Cを除去することで設けられる。このとき梁部材14、流路部材12Bは予めスリットエッチ処理が行われているので、表面のPIフィルム12Cのみレーザアブレーションで除去する。
さらに吐出裏面からは長手方向半分までの領域に、予め信号電極32が形成されたピエゾ素子30が接合される。支持部材18内に設けられた液溜まり24に、図示しない送液ポンプより液を供給される供給ポート25が接続され、液滴吐出ヘッド10として形成される。
<背面開放>
図7には、本発明の第2実施形態に係る液滴吐出ヘッド110のノズル16近傍の断面図が示されている。液滴吐出ヘッド110は支持部材18に一端を保持された梁部材14上に流路部材12が設けられ、流路部材12の内部には長手方向に液流路13が設けられている。
図7には、本発明の第2実施形態に係る液滴吐出ヘッド110のノズル16近傍の断面図が示されている。液滴吐出ヘッド110は支持部材18に一端を保持された梁部材14上に流路部材12が設けられ、流路部材12の内部には長手方向に液流路13が設けられている。
図7(A)に示すように液滴吐出ヘッド110の流路部材12は、内部長手方向に貫通した液流路13と、長さ方向略中央に設けられたノズル16とを備え、ノズル16の裏側(反吐出方向側)にはノズル16から梁部材14まで吐出方向に貫通した開口17が設けられている。開口17は、例えばYAGレーザ50などによる貫通加工で形成され、例えば表面(吐出側面)に50μmのノズル16が、裏面(反吐出面側)に75μmの開口17が形成されている。
図7(B)に示すように、ノズル16に至るまで長手方向両端より液流路13の内部をそれぞれA液、B液が給送される。図7(C)に楕円で示される反応進行領域である区間Mでは、ノズル16近傍で接触したA液とB液とが混合され、反応が進行し高粘度化が起こる点は第1実施形態に係る液滴吐出ヘッド10と同様である。
次いで図7(D)に示されるようにノズル16より液滴2が吐出される。この液滴2は反応したA液、B液の混合液の大部分であり、高粘度化が進行し粘性が高い状態となっているが、梁部材14の座屈反転による慣性離脱で吐出されるため、高粘度の液滴2であっても吐出可能であり、剛体で形成された圧力室、絞り等を必要としない点もまた第1実施形態に係る液滴吐出ヘッド10と同様である。
本実施形態では、上記の点に加えて裏面に開口17を形成したことによって、開放流路構造となるため、液滴2吐出時の液体せん断抵抗や液流路13内面からの剥離力が軽減され、より弱い慣性力によって液滴2の吐出が可能となる。さらに、定期的に強制的な吸引による排出を行い、余剰混合液(区間Mで混合されながら液滴2として吐出されず、ノズル16近傍の液流路13内部に残った液)の停滞を抑制している。
<平行流路>
図8には、本発明の第3実施形態に係る液滴吐出ヘッド111の断面図が示されている。
図8には、本発明の第3実施形態に係る液滴吐出ヘッド111の断面図が示されている。
本発明の第3実施形態に係る液滴吐出ヘッド111は、図8(A)に示されているように、流路部材12の内部において液流路13に沿って長手方向に設けられた仕切部材130によって、液流路13は液流路131と液流路132とに分割される。
これにより図8(B)に示されるように、流路部材12の長手方向片側(一方の支持部材18側)からAB2液を供給することができる。図示しない液溜まりから給送されたA液・B液はノズル16近傍で接触、混合され、液滴2として吐出される。
なお製造工程としては、例えば図6に示した工程に加え、SUSスリット板とPIフィルムの積層工程とを繰り返すことによって、吐出方向に積層された仕切部材130を液流路13の内部に設けることができる。
液流路13をこの構成とすることによって、図8(B)のように流路部材12の端面をノズル16とすることができる。ヘッドが実現できる。これにより第1および第2実施形態におけるノズル16加工のように高精度な孔加工が不要となり、単純なレーザーや機械加工を用いて流路部材12の端部を斜めにカットする方法で製造することが可能となる。
また図8(A)、(B)に示す本実施形態では仕切部材130を梁部材14と平行に設けたが、これに限定せず図8(C)に示す液滴吐出ヘッド112のように、吐出方向に平行な仕切部材130Bを液流路13の内部に設け、液流路131および液流路132として分割してもよい。
<送風・吸引>
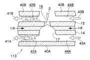
図9には、本発明の第4実施形態に係る液滴吐出ヘッド112のノズル16近傍の断面図が示されている。
図9には、本発明の第4実施形態に係る液滴吐出ヘッド112のノズル16近傍の断面図が示されている。
本発明の第4実施形態に係る液滴吐出ヘッド112は、図9(A)に示されているように、梁部材14の吐出面裏側に沿って通風路部材40が設けられ、梁部材14との間に吸引路42が形成されている。通風路部材40は梁部材14の長手方向一方よりノズル16の背面に設けられた開口17近傍まで延設され、開口17に向けて吸引口39が設けられている。
この吸引路42は図示しない負圧発生手段(吸引ポンプなど)と連通し、負圧を印加されることにより矢印41のように吸引口39より外気を吸引する。このためA液、B液が混合しながら液滴2として吐出されなかった液滴2Bやノズル16の背面に付着する虞のあるゴミ等を吸引口39より吸引路42に吸引する。
図9(B)には、本発明の第4実施形態の別の構造に係る液滴吐出ヘッド112のノズル16近傍の断面図が示されている。
液滴吐出ヘッド112は、図9(B)に示されているように梁部材14の吐出方向裏側の全長にわたって通風路部材40が設けられ、開口17の近傍は通風路部材40で封止されている。
梁部材14の長手方向一方から開口17まで通風路部材40と梁部材14との間は吸引路42として図示しない負圧発生手段と連通し矢印41のように開口17近傍の空気を吸引すると同時に、他方からは開口17へ空気を給送する送風路44として図示しない送風ファンなどの送風手段と連通し、矢印43のように開口17近傍へ空気を給送する。このとき、送風路44の途中にはゴミ等を除去するフィルタや、A液、B液の乾燥を防止するため溶媒の蒸気を添加する加湿手段が設けられていてもよい。
これによりA液、B液が混合しながら液滴2として吐出されなかった残留混合液を吸引口39より吸引路42に吸引しつつ、送風路44より清浄な空気を給送することで、ノズル16の背面に付着する虞のあるゴミ等の混入を防止する。
図10には、本発明の第5実施形態に係る液滴吐出ヘッド113のノズル16近傍の断面図が示されている。
本発明の第5実施形態に係る液滴吐出ヘッド113は、図10に示されているように、梁部材14の全長にわたって通風路部材40が設けられ、ノズル16の背面に設けられた開口17の近傍は通風路部材40で封止されている。
梁部材14の長手方向一方から開口17まで通風路部材40Aと梁部材14との間は吸引路42Aとして図示しない負圧発生手段と連通し矢印41Aのように開口17近傍の空気を吸引すると同時に、他方からは開口17へ空気を給送する送風路44Aとして図示しない送風ファンなどの送風手段と連通し、矢印43Aのように開口17近傍へ空気を給送する。このとき、送風路44Aの途中には第4実施形態と同様、ゴミ等を除去するフィルタや、A液、B液の乾燥を防止するため溶媒の蒸気を添加する加湿手段が設けられていてもよい。
さらに流路部材12の長手方向一方からノズル16まで流路部材12の全長にわたって吐出側面に通風路部材40Bが設けられ、通風路部材40Bと流路部材12との間は吸引路42Bとして図示しない負圧発生手段と連通し矢印41Bのようにノズル16近傍の空気を吸引すると同時に、他方からはノズル16へ空気を給送する送風路44Bとして図示しない送風ファンなどの送風手段と連通し、矢印43Bのようにノズル16近傍へ空気を給送する。このとき、送風路44Bの途中にもゴミ等を除去するフィルタや、A液、B液の乾燥を防止するため溶媒の蒸気を添加する加湿手段が設けられていてもよい。
これによりA液、B液が混合しながら液滴2として吐出されなかった残留混合液を吸引路42Aに吸引しつつ、送風路44より清浄な空気を給送することで、ノズル16の背面に付着する虞のあるゴミ等の混入を防止する。同時にノズル16周囲の吐出面側に発生する可能性のある液溜まりを吸引路42Bに吸引しつつ、ノズル16の周囲に付着する虞のあるゴミ等の混入を防止する。
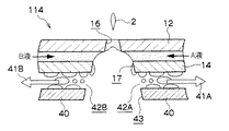
図11には、本発明の第6実施形態に係る液滴吐出ヘッド114のノズル16近傍の断面図が示されている。
本発明の第6実施形態に係る液滴吐出ヘッド114は、図11に示されているように、梁部材14の全長にわたって通風路部材40が設けられ、ノズル16の背面に設けられた開口17の近傍は通風路部材40による封止が存在せず、開口43として大気中に開放されている。
梁部材14の長手方向一方から開口17まで、通風路部材40と梁部材14との間は吸引路42Aとして図示しない負圧発生手段と連通し、矢印41Aのように開口17近傍の空気を吸引する。同時に長手方向他方から開口17まで、通風路部材40と梁部材14との間は吸引路42Bとして図示しない負圧発生手段と連通し、矢印41Bのように開口17近傍の空気を吸引する。
これによりA液、B液が混合しながら液滴2として吐出されなかった残留混合液を吸引路42Aおよび42Bにて吸引し、ノズル16の背面に付着する虞のあるゴミ等の混入を防止する。
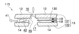
図12には、本発明の第7実施形態に係る液滴吐出ヘッド115のノズル16近傍の断面図が示されている。
本発明の第7実施形態に係る液滴吐出ヘッド115は、図12に示されているように、梁部材14の吐出面側に沿って長手方向一方より流路部材12が設けられ、梁部材14との間に液流路13が形成されている。液流路13は内部で長手方向に沿って延設された仕切部材130によって液流路131、132に分割されている。
一方、梁部材14の吐出面側に沿って長手方向他方よりノズル16まで設けられた流路部材12との間には吸引路42が形成されている。梁部材14にはノズル16の背面に開口17が設けられ、吸引路42は開口17で大気に連通している。吸引路42はノズル16の裏側で液流路13に向けて吸引口39として開口している。
この吸引路42は図示しない負圧発生手段(吸引ポンプなど)と連通し、負圧を印加されることにより矢印41のように吸引口39より外気を吸引する。このためA液、B液が混合しながら液滴2として吐出されなかった液滴2Bやノズル16の背面に付着する虞のあるゴミ等を吸引口39より吸引路42に吸引する。吸引口39は開口17で大気中に連通しているため、液流路13に負圧は印加されない。
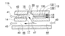
図13には、本発明の第8実施形態に係る液滴吐出ヘッド116のノズル16近傍の断面図が示されている。
本発明の第8実施形態に係る液滴吐出ヘッド116は、図13に示されているように、梁部材14の吐出面側に沿って長手方向一方より流路部材12が設けられ、梁部材14との間に液流路13が形成されている。液流路13は内部で長手方向に沿って延設された仕切部材130によって液流路131、132に分割されている。
一方、梁部材14の吐出面側に沿って長手方向他方よりノズル16まで設けられた流路部材12との間には吸引路42が形成されている。梁部材14にはノズル16の背面に開口17が設けられ、吸引路42は開口17を介して後述する送風路44に連通している。吸引路42はノズル16の裏側で液流路13に向けて吸引口39として開口している。
また、梁部材14の吐出面裏側に沿って通風路部材40が設けられ、梁部材14との間に送風路44および回収路46が形成されている。通風路部材40は梁部材14の長手方向に沿って延設され、梁部材14のノズル16背面に設けられた開口17で吸引口39と連通している。
ノズル16へ空気を給送する送風路44は図示しない送風ファンなどの送風手段と連通し、矢印43Bようにノズル16近傍へ空気を給送する。このとき、送風路44の途中にもゴミ等を除去するフィルタや、A液、B液の乾燥を防止するため溶媒の蒸気を添加する加湿手段が設けられていてもよい。
吸引路42は図示しない負圧発生手段(吸引ポンプなど)と連通し、負圧を印加されることにより矢印41のように吸引口39よりノズル16近傍の空気を吸引する。このためA液、B液が混合しながら液滴2として吐出されなかった液滴2Bやノズル16の背面に付着する虞のあるゴミ等を吸引口39より吸引路42に吸引する。また、開口17を通じて送風路44より給送された空気を矢印47のように吸引する。
一方、回収路46は図示しない循環ポンプなどのような回収手段と連通し、矢印45のようにノズル16近傍の空気を一旦吸引すると同時に、送風路44あるいは送風手段に連通することで、空気を循環させる。
<その他>
尚、本発明は、上記の実施の形態に限定されるものではない。例えば、上記実施の形態では、A液、B液をノズル近傍で混合する2液混合とされているが、3液またはそれ以上の液を混合する構成であっても良い。
尚、本発明は、上記の実施の形態に限定されるものではない。例えば、上記実施の形態では、A液、B液をノズル近傍で混合する2液混合とされているが、3液またはそれ以上の液を混合する構成であっても良い。
また、本明細書における液滴吐出ヘッドはインクジェット記録ヘッドを例にあげているが、必ずしもインクを用いた記録紙上への文字や画像の記録に限定されるものではない。すなわち、記録媒体は紙に限定されるものでなく、また吐出される液体もインクに限定されるものではない。例えば、高分子フィルムやガラス上に液を吐出してディスプレイ用カラーフィルターを作成したり、液状の半田を基板上に吐出して部品実装用のバンプを形成したりするなど、工業用的に用いられる液滴噴射装置全般に対して本発明を利用することが可能である。
2 液滴
10 液滴吐出ヘッド
12 流路部材
13 流液路
14 梁部材
16 ノズル
17 開口
18 支持部材
20 回転エンコーダ
30 ピエゾ素子
36 アクチュエータ
39 吸引口
40 通風路部材
42 吸引路
44 送風路
46 回収路
50 レーザ
130 仕切部材
131 液流路
132 液流路
10 液滴吐出ヘッド
12 流路部材
13 流液路
14 梁部材
16 ノズル
17 開口
18 支持部材
20 回転エンコーダ
30 ピエゾ素子
36 アクチュエータ
39 吸引口
40 通風路部材
42 吸引路
44 送風路
46 回収路
50 レーザ
130 仕切部材
131 液流路
132 液流路
Claims (7)
- 液滴を吐出するノズルと、
混合により粘度が増加する少なくとも2種類の液体が前記ノズルに向けて別々に供給される液体流路部材と、
前記液体流路部材と接合もしくは液体流路部材を含み、液滴吐出面に凹となるように座屈反転変形した後、液滴吐出方向に凸となるよう座屈反転変形し、前記ノズル近傍の液体に吐出方向の慣性を与えることにより、前記ノズルの近傍で混合された混合液の液滴を前記ノズルより吐出させる梁部材と、を備えた液滴吐出ヘッド。 - 前記液体流路部材の両端部からそれぞれ種類の異なる液体が前記ノズルに向けて供給される請求項1に記載の液滴吐出ヘッド。
- 前記液体流路部材の流路は、長手方向に沿って仕切部材で仕切られている請求項1または請求項2に記載の液滴吐出ヘッド。
- 前記梁部材あるいは前記梁部材および前記液体流路部材は、前記ノズルより溢れた液体を液滴吐出方向の反対側に排出する液体排出部を備えた請求項1〜請求項3の何れか1項に記載の液滴吐出ヘッド。
- 吸引口が前記ノズルの近傍に向いた吸引路と、
前記吸引路に負圧を発生させる負圧発生手段と、
を備えた請求項4に記載の液滴吐出ヘッド。 - 前記吸引路の前記吸引口へ空気を送る送風路と、
前記送風路に正圧を発生させる送風手段と、
を備えた請求項5に記載の液滴吐出ヘッド。 - 請求項1〜請求項6の何れか1項に記載の液滴吐出ヘッドを備えた液滴吐出装置。
Priority Applications (1)
| Application Number | Priority Date | Filing Date | Title |
|---|---|---|---|
| JP2008322134A JP2010143049A (ja) | 2008-12-18 | 2008-12-18 | 液滴吐出ヘッドおよび液滴吐出装置 |
Applications Claiming Priority (1)
| Application Number | Priority Date | Filing Date | Title |
|---|---|---|---|
| JP2008322134A JP2010143049A (ja) | 2008-12-18 | 2008-12-18 | 液滴吐出ヘッドおよび液滴吐出装置 |
Publications (1)
| Publication Number | Publication Date |
|---|---|
| JP2010143049A true JP2010143049A (ja) | 2010-07-01 |
Family
ID=42563982
Family Applications (1)
| Application Number | Title | Priority Date | Filing Date |
|---|---|---|---|
| JP2008322134A Withdrawn JP2010143049A (ja) | 2008-12-18 | 2008-12-18 | 液滴吐出ヘッドおよび液滴吐出装置 |
Country Status (1)
| Country | Link |
|---|---|
| JP (1) | JP2010143049A (ja) |
-
2008
- 2008-12-18 JP JP2008322134A patent/JP2010143049A/ja not_active Withdrawn
Similar Documents
| Publication | Publication Date | Title |
|---|---|---|
| JP7069875B2 (ja) | 液体吐出ヘッドおよび液体吐出装置 | |
| US8123335B2 (en) | Liquid droplet ejecting head and liquid droplet ejecting apparatus | |
| JP3675272B2 (ja) | 液体吐出ヘッドおよびその製造方法 | |
| CN109203678B (zh) | 液体喷出头和液体喷出装置 | |
| CN103025530A (zh) | 具有循环泵的流体喷射组件 | |
| JP2010201872A (ja) | 流体噴射装置及び流体噴射装置制御方法 | |
| US10882316B2 (en) | Liquid ejecting head and liquid ejecting apparatus | |
| JP5107891B2 (ja) | 液滴射出デバイス | |
| JP2016055555A (ja) | 液体吐出装置 | |
| JP2010143049A (ja) | 液滴吐出ヘッドおよび液滴吐出装置 | |
| JP2002321354A (ja) | インクジェット記録ヘッドおよびインクジェット記録装置 | |
| JP2000158657A (ja) | インクジェットプリントヘッド及び該ヘッドを搭載するインクジェットプリンティングデバイス | |
| JP2001277499A (ja) | インクジェット記録ヘッド | |
| JP2006130682A (ja) | 液体吐出ヘッドおよび記録装置 | |
| CN100446976C (zh) | 点滴喷射组件 | |
| JPH05293963A (ja) | インクジェットプリンタヘッド | |
| CN100453321C (zh) | 点滴喷射组件 | |
| JP2012111087A (ja) | 液体噴射ヘッド及び液体噴射装置 | |
| JP2002240279A (ja) | インクジェットヘッド及びインクジェット記録装置 | |
| JP5838648B2 (ja) | シリコンウェハーのブレイクパターン、シリコンウェハー、および、シリコン基板 | |
| JP4353290B2 (ja) | 液体噴射装置 | |
| JP2008307840A (ja) | 液体噴射装置 | |
| US10807363B2 (en) | Liquid ejecting head and liquid ejecting apparatus | |
| JP2003266689A (ja) | 液滴吐出ヘッド及びその製造方法並びにインクジェット記録装置 | |
| JP7309359B2 (ja) | 液体吐出装置 |
Legal Events
| Date | Code | Title | Description |
|---|---|---|---|
| A761 | Written withdrawal of application |
Free format text: JAPANESE INTERMEDIATE CODE: A761 Effective date: 20110216 |