JP2010142860A - 冷却床 - Google Patents

冷却床 Download PDF

Info

Publication number
JP2010142860A
JP2010142860A JP2008325377A JP2008325377A JP2010142860A JP 2010142860 A JP2010142860 A JP 2010142860A JP 2008325377 A JP2008325377 A JP 2008325377A JP 2008325377 A JP2008325377 A JP 2008325377A JP 2010142860 A JP2010142860 A JP 2010142860A
Authority
JP
Japan
Prior art keywords
rake
moving
upstream
moving rake
cooling
Prior art date
Legal status (The legal status is an assumption and is not a legal conclusion. Google has not performed a legal analysis and makes no representation as to the accuracy of the status listed.)
Granted
Application number
JP2008325377A
Other languages
English (en)
Other versions
JP5336166B2 (ja
Inventor
Goji Morimoto
剛司 森本
Current Assignee (The listed assignees may be inaccurate. Google has not performed a legal analysis and makes no representation or warranty as to the accuracy of the list.)
Kobe Steel Ltd
Original Assignee
Kobe Steel Ltd
Priority date (The priority date is an assumption and is not a legal conclusion. Google has not performed a legal analysis and makes no representation as to the accuracy of the date listed.)
Filing date
Publication date
Application filed by Kobe Steel Ltd filed Critical Kobe Steel Ltd
Priority to JP2008325377A priority Critical patent/JP5336166B2/ja
Publication of JP2010142860A publication Critical patent/JP2010142860A/ja
Application granted granted Critical
Publication of JP5336166B2 publication Critical patent/JP5336166B2/ja
Active legal-status Critical Current
Anticipated expiration legal-status Critical

Links

Images

Landscapes

  • Reciprocating Conveyors (AREA)
  • Heat Treatments In General, Especially Conveying And Cooling (AREA)

Abstract

【課題】設備の複雑化やコストアップを最小限に抑制しつつ、被冷却長尺材の冷却過程を、鋼種、サイズに応じて最適なものに設定できる冷却床を提供する。
【解決手段】互いに併設される、固定レイク4と一定ストロークで昇降及び前後運動する移動レイク1により被冷却長尺材Wを移送する冷却床であって、前記移動レイク1は、被冷却長尺材Wの移送方向Fに上流側移動レイク2と下流側移動レイク3に2分割されると共に、前記上流側移動レイク2が、その昇降可能範囲が前記下流側移動レイク3の昇降可能範囲よりも下方の冷却床に退避可能な様に構成されてなる。
【選択図】図1

Description

本発明は、条鋼圧延設備において、熱間圧延加工された被冷却長尺物を冷却するための冷却床に関する。
長尺物の形鋼等を製造する条鋼圧延設備は、高温状態の柔軟な圧延材料を、棒鋼や形鋼、平鋼等の所定の断面形状及び寸法に圧延する圧延機と、圧延加工されたこれらの被冷却長尺物を冷却する冷却床とを備えている。冷却された前記長尺物は、その後切断装置によって定尺長に切断され、結束して出荷される。前記冷却床には、レイク式やスキュローラ式、チェーン式等の方式が存在するが、被冷却長尺物を溝付きプレート(レイク)上で冷却するレイク式の冷却床は、形鋼等が冷却時に水平方向や上下方向に変形する製品曲がりや傷を十分に防止しながら、全体に渡って均一に冷却できるという長所を有することから多用されている。
レイク式の冷却床においては、形鋼等のレイクへの取り込みは冷却床搬入サイクルによって決まる。例えば、鋼片を仕上圧延機により平鋼に圧延する場合、圧延された平鋼を切断装置により50mに分割して冷却床に取り込むとなると、圧延速度5m/secであれば10秒サイクルで冷却床に取り込まれる。また、圧延インターバル(鋼片の圧延間隔)は通常4〜5秒となる。生産能力は上記圧延速度と圧延タイターバルで決まる。平鋼等の材料は通常、温度900〜1000℃で冷却床に取り込まれる。冷却後の材料温度は冷却床内の滞留時間によって決まるが、生産能力により搬入サイクルが決まるため、滞留時間を変えることができないという問題がある。
そこで先ず、この様な問題点を解決する従来例に係るレイク式の冷却床に関し、以下添付図6を参照しながら説明する。図6は従来例に係る冷却床の縦断正面図である。
従来例に係る冷却床における棒状搬送材の搬送装置は、固定レイク25と、一定ストロークで昇降及び前後動する移動レイク24とを備え、前記固定レイク25上の棒状搬送材Aを前記移動レイク24により後方へ搬送する冷却床における棒状搬送材Aの搬送装置において、前後動のストロークが可変で且つ昇降自在であると共に前記固定レイク25又は移動レイク24上の棒状搬送材Aを後方に搬送可能としたトラバーサ21を具備している(特許文献1参照)。
上記従来例によれば、トラバーサ21の設置によって棒状搬送材Aの冷却床内の滞留時間を任意に設定可能となり、冷却過程の不適正なことによる時効割れ等を防止することができる。しかしながら、上記従来例に係る冷却床における棒状搬送材Aの搬送装置は、冷却床内に大規模な装置であるトラバーサ21を設置しなければならず、構造的に複雑になり設備費用が高価になる。また、高温領域下面といった悪環境下のトラバーサ設備のため、熱やスケールによる摩耗や損傷が増加し、結果として設備保全費用が増大することになる。
特公平6−4451号公報
従って、本発明の目的は、設備の複雑化やコストアップを最小限に抑制しつつ、搬入サイクルの制約を極力無くして、被冷却長尺材の冷却過程を、鋼種、サイズに応じて最適なものに設定できる冷却床を提供することにある。
前記目的を達成するために、本発明の請求項1に係る冷却床が採用した手段は、互いに併設される、固定レイクと一定ストロークで昇降及び前後運動する移動レイクにより被冷却長尺材を移送する冷却床であって、前記移動レイクは、被冷却長尺材の移送方向に上流側移動レイクと下流側移動レイクに2分割されると共に、前記上流側移動レイクが、その昇降可能範囲が前記下流側移動レイクの昇降可能範囲よりも下方の冷却床に退避可能な様に構成されてなることを特徴とするものである。
本発明の請求項2に係る冷却床が採用した手段は、請求項1に記載の冷却床において、前記上流側移動レイクと前記下流側移動レイクが、円運動によって一定ストロークで昇降及び前後運動する移動レイクフレームに連接されると共に、前記下流側移動レイクは前記移動レイクフレームに固定支持部材を介して固定される一方、前記上流側移動レイクは、前記移動レイクフレームに固定され前記上流側移動レイクを昇降自在に支持するレバー機構を介して前記移動レイクフレームに連接されてなることを特徴とするものである。
本発明の請求項3に係る冷却床が採用した手段は、請求項1または2に記載の冷却床において、前記上流側移動レイクが、更に前記被冷却長尺材の移送方向に分割されてなることを特徴とするものである。
本発明の請求項1に係る冷却床によれば、互いに併設される、固定レイクと一定ストロークで昇降及び前後運動する移動レイクにより被冷却長尺材を移送する冷却床であって、前記移動レイクは、被冷却長尺材の移送方向に上流側移動レイクと下流側移動レイクに2分割されると共に、前記上流側移動レイクが、その昇降可能範囲が前記下流側移動レイクの昇降可能範囲よりも下方の冷却床に退避可能な様に構成されている。
その結果、前記被冷却長尺材が移動レイクに取込まれた後、次の被冷却長尺材が移動レイクに取込まれるまでの取込み間隔時間帯に、前記上流側移動レイクを冷却床下方に退避させた状態で前記移動レイクを作動させることによって、レイク下流側の被冷却長尺材のみ下流側へ移送し、レイク上流側と下流側の移動速度を変えることができる。即ち、冷却床の冷却過程における冷却曲線を、搬入サイクルの制約を極力無くして、鋼種やサイズに応じて最適なものに調整可能となる。
また、本発明の請求項2に係る冷却床によれば、前記上流側移動レイクと前記下流側移動レイクが、円運動によって一定ストロークで昇降及び前後運動する移動レイクフレームに連接されると共に、前記下流側移動レイクは前記移動レイクフレームに固定支持部材を介して固定される一方、前記上流側移動レイクは、前記移動レイクフレームに固定され前記上流側移動レイクを昇降自在に支持するレバー機構を介して前記移動レイクフレームに連接されてなるので、簡便な機構によって、前記上流側移動レイクの昇降可能範囲が、前記下流側移動レイクの昇降可能範囲よりも下方の冷却床に退避可能となる。
更に、本発明の請求項3に係る冷却床によれば、前記上流側移動レイクが、更に前記被冷却長尺材の移送方向に分割されてなるので、冷却過程における冷却曲線の調整の自由度が増加する。
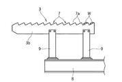
先ず、本発明の実施の形態に係る冷却床について、平鋼用冷却床の態様例を以下添付図1〜3を参照しながら説明する。図1は本発明の実施の形態に係る冷却床の要部を示す立断面図、図2は図1の上流側移動レイクのみを拡大して示す部分拡大図、図3は図1の下流側移動レイクのみを拡大して示す部分拡大図である。
本発明の実施の形態に係る冷却床は、平鋼(被冷却長尺材)Wの移送方向Fに沿って、移動レイク1と固定レイク4とが並列して設置されている。前記移動レイク1は、後述する機構により一定ストロークで昇降及び前後運動することによって、前記平鋼Wを固定レイク4の溝部5に形成された傾斜面5a上を、1ピッチずつ移送方向Fに移送可能に構成されている。
更に、前記移動レイク1は、平鋼Wの移送方向Fに沿って上流側に配置される上流側移動レイク2と、下流側に配置される下流側移動レイク3に2分割されている。そして、前記両移動レイク2,3にも、図2,3に示す如く、夫々の溝部6,7に傾斜面6a,7aが形成されている。また、上流側移動レイク2の最上流域には、圧延直後の高温状態で柔軟な平鋼Wを矯正しながら一次冷却するためのストレートニングポケット2aが配置されている。
そして、前記固定レイク4の傾斜面5a上に載置された平鋼Wは、前記両移動レイク2,3の昇降及び前後運動によって、固定レイク4の溝部5に形成された傾斜面5a上を、1ピッチずつ移送方向Fに移送されるのである。同時に、前記上流側移動レイク2は昇降機能を有し、その昇降可能範囲が前記下流側移動レイク2の昇降可能範囲よりも下方に位置される様に、冷却床の下方方向に退避可能に構成されている。
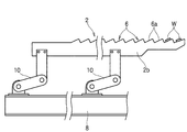
即ち、前記下流側移動レイク3は、移動レイクフレーム8に固定支持部材9を介して固定される一方、前記上流側移動レイク2は、前記移動レイクフレーム8にレバー機構10を介して連接されている。そして、前記移動レイクフレーム8の上流側に設けられた2本の受けローラ11aを偏心輪12aが、前記移動レイクフレーム8の下流側に設けられた1本の受けローラ11bを偏心輪12bが夫々支持し、これら偏心輪12a,12bを相対的に回転させることによって、前記移動レイクフレーム8に円運動を付与し、この円運動によって一定ストロークの昇降及び前後運動が付与される様に構成されている。
そして、前記円運動によって、固定支持部材9を介して下流側移動レイク3のレイクプレート3bに、レバー機構10を介して上流側移動レイク2のレイクプレート2bに、夫々一定ストロークの昇降及び前後運動が繰り返されるのである。
更に、前記上流側移動レイク2は、レバー機構10に接続されたエアシリンダ13の作動によって昇降可能な様に構成されると共に、その昇降範囲が前記下流側移動レイク3の昇降可能範囲よりも下方の冷却床に退避可能に構成されている。
即ち、前記エアシリンダ13のシリンダロッド13aを押出すと、レバー機構10を介して、上流側移動レイク2が水平状態を維持したまま下流側移動レイク3のレベルと同レベルに上昇される。そして、前記移動レイクフレーム8の円運動を介して、前記上流側移動レイク2にも一定ストロークの昇降及び前後運動が付与され、固定レイク4の傾斜面5a上に載置された平鋼Wを溝部5の1ピッチずつ移送可能となる。
一方、エアシリンダ13のシリンダロッド13aを引き込むと、レバー機構10を介して、上流側移動レイク2が水平状態を維持したまま、前記下流側移動レイク3の昇降可能範囲よりも下方の冷却床に退避される。そして、前記偏心輪12a,12bを作動させても、ストレートニングポケット2aまたは固定レイク4の傾斜面5a上に載置された平鋼Wのレベルには届かず、平鋼Wは移送不可能となる。
上流側移動レイク2のレイクプレート2aは、平鋼Wの移送方向Fに並行して延設され、冷却床幅方向に500〜1000mm間隔で取り付けられている。そして、エアシリンダ13による上流側移動レイク2の昇降は、6m程度のレイクプレート2a全長に亘って同時に可能な様に、シリンダロッド13aに接続された駆動軸(図示省略)が連結されている。下流側移動レイク3は、移動レイクフレーム8に固定支持部材9を介して固定されており、前記移動レイクフレーム8の円運動を介して一定ストロークの昇降及び前後運動が付与され、固定レイク4の傾斜面5a上に載置された平鋼Wを1ピッチずつ移送可能としている。
前記上流側移動レイク2は、更に前記移送方向Fに複数個分割されて構成されても良い。上流側移動レイク2を更に分割することによって、冷却過程における冷却曲線の調整の自由度が増加する。
次に、本発明の実施の形態に係る冷却床の動作例について、平鋼用冷却床の動作例を前図1〜3を参照しながら説明する。
先ず、ランインテーブル15により搬送されてきた平鋼Wは、リフタ16を上昇させることによって、ストレートニングポケット2aに収納される。前記平鋼Wがストレートニングポケット2aにおける固定レイク4の1溝目に収納されると、偏心輪12a,12bを作動させて移動レイクフレーム8を1サイクル円運動させる。
この移動レイクフレーム8の円運動を介して、上流側移動レイク2が、固定レイク4の1溝目にある平鋼Wを2溝目に移載する。この様な動作を繰り返すことによって、冷却床上の平鋼Wは下流側に順次搬送されるが、前記平鋼Wの搬入サイクルにより、冷却床での平鋼Wの移送速度が決まることになる。
冷却床下流側で前記平鋼Wを早く移送し、温間のまま切断装置まで移送したい場合、平鋼Wの取込み間隔時間帯(移動レイク1の円運動完了から、次材取込み後の移動レイク作動開始までの時間帯)に上流側移動レイク2を下降し、偏心輪12a,12bを作動させる。そうすると、上流側のストレートニングポケット2aまたは固定レイク4の傾斜面5a上に載置された平鋼Wのレベルには、前記上流側移動レイク2のレイクプレート2aが届かず、平鋼Wは移送されないが、下流側移動レイク3の傾斜面7a上に載置された平鋼Wは、次の溝部7の傾斜面7a上に移送することができる。
前記取込み間隔時間帯が長いと、その時間帯に複数回平鋼Wを移送することができ、それだけ早く切断装置に平鋼Wを送ることができる。もし、従来例に係る冷却床において、この様な動作を行った場合は、冷却床上流から平鋼Wが早送りされるため、冷却床最上流のストレートニングポケット2aの滞留時間も短くなる。このストレートニングポケット2aは、平鋼W等の被冷却長尺物に直伸性を付与するための矯正エリアであり、温度700℃程度以下になるまでは前記ストレートニングポケット2a内で冷却する必要がある。
一方、被冷却長尺材の鋼種によっては、所定の品質を確保するための冷却温度は、高温の状態で冷却速度を緩くすることが必要となる。例えば、高炭素の平鋼では、冷却速度が速いと冷却後の硬度が高くなるため、温度600℃程度までの所定の冷却速度が決められており、取込み時に固定レイクの溝部1溝に平鋼を2〜3枚重ね置きして、低速で冷却する方法が採用される場合がある。この様な低速冷却方法につき、以下添付図4,5を参照しながら説明する。
ここで、図4は本発明の実施の形態に係り、平鋼の重ね置きを説明するための模式的説明図、図5は図4のX部における平鋼の重ね置き解除手順を説明するための模式的説明図であり、同図(a)は解除プレートの上昇工程、同図(b)は解除プレートの上昇工程完了、同図(c)は解除プレートの下降工程を示す。
図4において、平鋼Wの上流側移動レイク領域Aへの取込みの際には、前記平鋼Wは2枚積み重ねて取込まれ、固定レイク4の溝部5の傾斜面5aに重ね置きされる。そして、レイクプレート2bの回転運動によって順次下流方向に移載されていく。下流側移動レイク領域Bに移送される際には、レイクプレート3bが1ピッチ毎に空送りされ、前記平鋼Wは、固定レイク4の溝部5の2ピッチ毎の傾斜面5aに重ね置きした状態で順次移載されていく。
下流側移動レイク領域Bの途中には、図5に示す如く、解除プレート17が配設されている。この解除プレート17の上面には、固定レイク4の溝部5のピッチに一致させて、段差が平鋼Wの厚さ以下とされた傾斜面17a,17bが形成されると共に、上下方向に昇降可能に構成されている。
平鋼Wが下流側移動レイク領域Bの途中(X部)に至ると、前記解除プレート17を上昇させ(同図(a)参照)て、その傾斜面17aにより前記2枚重ね置きした平鋼Wを下方より支持する。すると、前記解除プレート17の上昇に伴って、2枚重ね置きした上側の平鋼Wが、解除プレート17の傾斜面17aに沿って傾くため、その自重によって下側の平鋼Wの上面を滑落して、解除プレート17の傾斜面17b側に移動する(同図(b)参照)。その後、前記解除プレート17が下降することによって、2枚の平鋼Wの夫々が、固定レイク4の傾斜面5aに溝部5各ピッチ毎に1枚置きされる。
即ち、本発明の実施の形態に係る冷却床は、この様な低速冷却にも対応可能であり、冷却床上流側では被冷却長尺物Wを2〜3枚積み重ねて取込み、下流側では固定レイク4の溝部5の2〜3ピッチ毎の傾斜面5aに重ね置きして移送し、途中で重ね置きを解除して溝部5各ピッチ毎の1枚置きに変更するのである。この様に、冷却床途中で溝部5各ピッチ毎に1枚置きに変更して冷却することにより、切断装置等の後工程における平鋼Wのハンドリングが容易になる。
以上述べた通り、本発明に係る冷却床によれば、上流側移動レイクによる移送を被冷却長尺材の取込みサクルに合わせ、下流側移動レイクによる移送のみ速くすることができる。即ち、レイク上流側と下流側の移動速度を変えることができるので、冷却床の冷却過程における冷却曲線の調整が可能となる。
本発明の実施の形態に係る冷却床の要部を示す立断面図である。 図1の上流側移動レイクのみを拡大して示す部分拡大図である。 図1の下流側移動レイクのみを拡大して示す部分拡大図である。 本発明の実施の形態に係り、平鋼の重ね置きを説明するための模式的説明図である。 図4のX部における平鋼の重ね置き解除手順を説明するための模式的説明図であり、同図(a)は解除プレートの上昇工程、同図(b)は解除プレートの上昇工程完了、同図(c)は解除プレートの下降工程を示す。 従来例2に係る冷却床の縦断正面図である。
符号の説明
A:上流側移動レイク領域, B:下流側移動レイク領域,
F:移送方向, W:平鋼(被冷却長尺材),
1:移動レイク,
2:上流側移動レイク, 2a:ストレートニングポケット,
2b:レイクプレート,
3:下流側移動レイク, 3b:レイクプレート,
4:固定レイク,
5,6,7:溝部, 5a,6a,7a:傾斜面,
8:移動レイクフレーム, 9:固定支持部材, 10:レバー機構,
11a,11b:受けローラ, 12a,12b:偏心輪,
13:エアシリンダ, 13a:シリンダロッド,
15:ランインテーブル, 16:リフタ,
17:解除プレート, 17a,17b:傾斜面

Claims (3)

  1. 互いに併設される、固定レイクと一定ストロークで昇降及び前後運動する移動レイクにより被冷却長尺材を移送する冷却床であって、前記移動レイクは、被冷却長尺材の移送方向に上流側移動レイクと下流側移動レイクに2分割されると共に、前記上流側移動レイクが、その昇降可能範囲が前記下流側移動レイクの昇降可能範囲よりも下方の冷却床に退避可能な様に構成されてなることを特徴とする冷却床。
  2. 前記上流側移動レイクと前記下流側移動レイクが、円運動によって一定ストロークで昇降及び前後運動する移動レイクフレームに連接されると共に、前記下流側移動レイクは前記移動レイクフレームに固定支持部材を介して固定される一方、前記上流側移動レイクは、前記移動レイクフレームに固定され前記上流側移動レイクを昇降自在に支持するレバー機構を介して前記移動レイクフレームに連接されてなることを特徴とする請求項1に記載の冷却床。
  3. 前記上流側移動レイクが、更に前記被冷却長尺材の移送方向に分割されてなることを特徴とする請求項1または2に記載の冷却床。
JP2008325377A 2008-12-22 2008-12-22 冷却床 Active JP5336166B2 (ja)

Priority Applications (1)

Application Number Priority Date Filing Date Title
JP2008325377A JP5336166B2 (ja) 2008-12-22 2008-12-22 冷却床

Applications Claiming Priority (1)

Application Number Priority Date Filing Date Title
JP2008325377A JP5336166B2 (ja) 2008-12-22 2008-12-22 冷却床

Publications (2)

Publication Number Publication Date
JP2010142860A true JP2010142860A (ja) 2010-07-01
JP5336166B2 JP5336166B2 (ja) 2013-11-06

Family

ID=42563831

Family Applications (1)

Application Number Title Priority Date Filing Date
JP2008325377A Active JP5336166B2 (ja) 2008-12-22 2008-12-22 冷却床

Country Status (1)

Country Link
JP (1) JP5336166B2 (ja)

Cited By (1)

* Cited by examiner, † Cited by third party
Publication number Priority date Publication date Assignee Title
KR101586192B1 (ko) * 2015-01-13 2016-01-18 태창기계공업(주) 소재 반전냉각장치

Citations (4)

* Cited by examiner, † Cited by third party
Publication number Priority date Publication date Assignee Title
JPS5053213A (ja) * 1973-09-12 1975-05-12
JPS5236546A (en) * 1975-09-18 1977-03-19 Sumitomo Heavy Industries Dynamic ballancing dejice for individual driving type long material transverse feeding device
JPS594512A (ja) * 1982-06-30 1984-01-11 Daido Steel Co Ltd 搬送装置
JPS6238717A (ja) * 1985-08-13 1987-02-19 Kobe Steel Ltd 棒鋼材の積載ピツチ縮小装置

Patent Citations (4)

* Cited by examiner, † Cited by third party
Publication number Priority date Publication date Assignee Title
JPS5053213A (ja) * 1973-09-12 1975-05-12
JPS5236546A (en) * 1975-09-18 1977-03-19 Sumitomo Heavy Industries Dynamic ballancing dejice for individual driving type long material transverse feeding device
JPS594512A (ja) * 1982-06-30 1984-01-11 Daido Steel Co Ltd 搬送装置
JPS6238717A (ja) * 1985-08-13 1987-02-19 Kobe Steel Ltd 棒鋼材の積載ピツチ縮小装置

Cited By (1)

* Cited by examiner, † Cited by third party
Publication number Priority date Publication date Assignee Title
KR101586192B1 (ko) * 2015-01-13 2016-01-18 태창기계공업(주) 소재 반전냉각장치

Also Published As

Publication number Publication date
JP5336166B2 (ja) 2013-11-06

Similar Documents

Publication Publication Date Title
CN101531452B (zh) 用于弯曲玻璃板的方法和装置
KR101913853B1 (ko) 금속 판재를 평탄화하고 절단하는 제조 시스템
TW201509843A (zh) 薄板玻璃的搬運方法、搬運裝置與切斷方法以及玻璃物品的製造方法
JP2014240349A5 (ja)
EP2208547B1 (en) Magnesium hot rolling method and apparatus
JP5336166B2 (ja) 冷却床
KR101365527B1 (ko) 가열로의 스라브 이송장치
KR101990994B1 (ko) 압연설비
CN203638668U (zh) 用于型钢转运的成排台架
KR101193664B1 (ko) 형강의 횡방향 이송 냉각대
JP2017136626A (ja) 押出装置
CN203638669U (zh) 用于型钢转运的链条输送机构
JP5281343B2 (ja) 冷却床搬入装置
JP4520956B2 (ja) 厚鋼板の製造設備
JP2010023079A (ja) 押出後面設備
JP5662016B2 (ja) 棒鋼横移し装置
KR101294867B1 (ko) 슬래브 터닝장치 및 이를 이용한 슬래브 압연방법
KR101309981B1 (ko) 판재 터닝장치
CN213201378U (zh) 一种用于管材生产的两用上料输送系统
JP2006231356A (ja) 押出ワークの支承装置及び支承方法
JP4507946B2 (ja) 厚鋼板の製造方法及びその製造装置
JP4757708B2 (ja) 厚鋼板の製造設備
KR101353790B1 (ko) 스트립 장력조정 장치
JP4910387B2 (ja) 圧延材の保持装置およびそれを備えた熱間圧延設備
KR20120122243A (ko) 압연 냉각용 이송 테이블 구조체

Legal Events

Date Code Title Description
A621 Written request for application examination

Free format text: JAPANESE INTERMEDIATE CODE: A621

Effective date: 20110204

A521 Written amendment

Free format text: JAPANESE INTERMEDIATE CODE: A821

Effective date: 20110413

RD02 Notification of acceptance of power of attorney

Free format text: JAPANESE INTERMEDIATE CODE: A7422

Effective date: 20110413

A131 Notification of reasons for refusal

Free format text: JAPANESE INTERMEDIATE CODE: A131

Effective date: 20130521

A521 Written amendment

Free format text: JAPANESE INTERMEDIATE CODE: A523

Effective date: 20130708

TRDD Decision of grant or rejection written
A01 Written decision to grant a patent or to grant a registration (utility model)

Free format text: JAPANESE INTERMEDIATE CODE: A01

Effective date: 20130730

A61 First payment of annual fees (during grant procedure)

Free format text: JAPANESE INTERMEDIATE CODE: A61

Effective date: 20130801

R150 Certificate of patent or registration of utility model

Ref document number: 5336166

Country of ref document: JP

Free format text: JAPANESE INTERMEDIATE CODE: R150

Free format text: JAPANESE INTERMEDIATE CODE: R150