JP2010141965A - ステータ、回転電機、ステータの製造方法および回転電機の製造方法 - Google Patents

ステータ、回転電機、ステータの製造方法および回転電機の製造方法 Download PDF

Info

Publication number
JP2010141965A
JP2010141965A JP2008313467A JP2008313467A JP2010141965A JP 2010141965 A JP2010141965 A JP 2010141965A JP 2008313467 A JP2008313467 A JP 2008313467A JP 2008313467 A JP2008313467 A JP 2008313467A JP 2010141965 A JP2010141965 A JP 2010141965A
Authority
JP
Japan
Prior art keywords
stator
coil
insulating member
side wall
wall portion
Prior art date
Legal status (The legal status is an assumption and is not a legal conclusion. Google has not performed a legal analysis and makes no representation as to the accuracy of the status listed.)
Granted
Application number
JP2008313467A
Other languages
English (en)
Other versions
JP5233630B2 (ja
Inventor
Yasuhiro Endo
康浩 遠藤
Eiji Yamada
英治 山田
Hiroaki Urano
広暁 浦野
Kazutaka Tatematsu
和高 立松
Kenji Honda
健二 本多
Yasuaki Tawara
安晃 田原
Akihiro Tanaka
章博 田中
Current Assignee (The listed assignees may be inaccurate. Google has not performed a legal analysis and makes no representation or warranty as to the accuracy of the list.)
Toyota Motor Corp
Original Assignee
Toyota Motor Corp
Priority date (The priority date is an assumption and is not a legal conclusion. Google has not performed a legal analysis and makes no representation as to the accuracy of the date listed.)
Filing date
Publication date
Application filed by Toyota Motor Corp filed Critical Toyota Motor Corp
Priority to JP2008313467A priority Critical patent/JP5233630B2/ja
Publication of JP2010141965A publication Critical patent/JP2010141965A/ja
Application granted granted Critical
Publication of JP5233630B2 publication Critical patent/JP5233630B2/ja
Expired - Fee Related legal-status Critical Current
Anticipated expiration legal-status Critical

Links

Images

Landscapes

  • Iron Core Of Rotating Electric Machines (AREA)
  • Insulation, Fastening Of Motor, Generator Windings (AREA)

Abstract

【課題】組立て容易な回転電機であって、コイルの相間絶縁が確保されたステータおよび回転電機と、ステータおよび回転電機の製造方法を提供する。
【解決手段】回転電機は、ヨーク部176および該ヨーク部176の周面から突出するステータティースを含む分割ステータコア175を環状に配列して形成されたステータコア175と、ステータティースに集中巻されたU相コイル181と、U相コイル181に外装された絶縁部材とを備え、絶縁部材は、ステータの中心軸方向に位置するU相コイル181の軸方向端面のうち、一方の軸方向端面上に設けられる端壁部202と、該端壁部202に連設され、U相コイル181の一方の側面上に配設される側壁部203と、他方の側面上に配設される側壁部204とを含む。
【選択図】図4

Description

本発明は、ステータ、回転電機、ステータの製造方法および回転電機の製造方法に関する。
従来から、ロータと、複数のコイルが装着されたステータとを備える回転電機において、隣り合うコイル間を絶縁するための相間絶縁シート等が設けられた回転電機が各種提案されている。
たとえば、特開2006−320136号公報に記載された回転電機は、固定子と、この固定子のティース部に装着されたボビンと、ボビンに装着されたコイルと、コイル間に形成された隙間に挿入された短冊状の相間絶縁シートとを備えている。各相間絶縁シートは、ボビンに形成されたスリットに係止されている。
特開2003−47188号公報に記載された電動機の固定子は、巻線の内側に配置され、巻線を保護する非磁性体から形成された環状部材を備えている。そして、この環状部材に、複数の仕切り部材を設けて、スロット内の相間絶縁が図られている。
特開2004−72857号公報に記載された電動機の固定子は、固定子に形成されたスロット内に挿入されたT字形状の樹脂絶縁部材が挿入されている。このT字形状の樹脂絶縁部によって、隣り合う歯部に巻回されたコイル間の絶縁が図られている。
特開2006−320136号公報 特開2003−47188号公報 特開2004−72857号公報
しかし、特開2006−320136号公報に記載された回転電機においては、環状に配列するコイルの小さな隙間に相間絶縁シートを挿入する必要があり、相間絶縁シートを挿入するのが非常に困難である。このため、相間絶縁シートを挿入する際に、相間絶縁シートが曲がったりして、相間絶縁シートによって、隣り合うコイル間を良好に絶縁することができないという問題があった。
特開2003−47188号公報に記載された電動機の固定子においては、固定子の組立工程においても、既にコイルが装着された状態で、各スロット内に仕切り部材を挿入する必要があり、各仕切り部材を挿入し難くなっている。このため、仕切り部材が屈曲したりして、相間絶縁を確保し難い場合がある。
さらに、特開2004−72857号公報に記載された電動機の固定子においては、固定子の組立工程において、コイルが装着された状態でT字形状の樹脂絶縁部材をスロット内に挿入している。このため、樹脂絶縁部材をスロット内に装着するのは、非常に困難である。このため、却って、スロット内のコイルの絶縁被膜を傷つけたりして、コイルの相間絶縁を良好に図ることができないという問題が生じる。
本発明は、上記のような課題に鑑みてなされたものであって、その目的は、組立て容易な回転電機であって、コイルの相間絶縁が確保されたステータおよび回転電機と、ステータおよび回転電機の製造方法を提供することである。
本発明に係るステータは、ヨーク部および該ヨーク部の周面から突出するステータティースを含む分割ステータコアを環状に配列して形成されたステータコアと、ステータティースに集中巻されたコイルと、記コイルに外装された絶縁部材とを備える。そして、上記絶縁部材は、ステータの中心軸方向に位置するコイルの軸方向端面のうち、一方の軸方向端面上に設けられる端壁部と、該端壁部に連設され、コイルの一方の側面上に配設される第1側壁部と、他方の側面上に配設される第2側壁部とを含む。好ましくは、上記コイルを形成するコイル線の両端部は、コイルの一方の軸方向端面と反対側に位置する他方の軸方向端面から突出する。好ましくは、上記第1側壁部は、端壁部に連設された一方の端部に対して反対側に位置する他方の端部に形成された第1係止部を含み、第2側壁部は、端壁部に連設された一方の端部に対して反対側に位置する他方の端部に形成された第2係止部を含み、第1および第2係止部は、コイルの他方の軸方向端面に係合可能とされる。好ましくは、少なくとも絶縁部材およびその周囲に充填され、絶縁部材をコイルとステータコアとの少なくとも一方に固定する絶縁性の樹脂部をさらに備える。
本発明に係る回転電機は、上記ステータのいずれかを備える。
本発明に係るステータ製造方法は、ヨーク部および該ヨークの周面から突出するステータティースを含む分割ステータコアにコイルを装着する工程と、端壁部と、該端壁部の一方の端部から立ち上がるように延びる第1側壁部と、他方の端部から立ち上がるように延び、第1側壁部と対向する第2側壁部とを含む絶縁部材を、コイルに外装する工程と、コイルおよび絶縁部材が装着された複数の分割ステータコアを環状に配列して固定する工程とを備える。好ましくは、上記コイルを形成するコイル線の両端部は、コイルの周面のうち一端面から突出するように延びるように形成され、絶縁部材を、コイルに対して、該コイルの一端面と反対側に位置する他の端面側から装着する。
そして、本発明に係る回転電機の製造方法は、上記のステータの製造方法を含む。
本発明に係るステータおよび回転電機によれば、各コイル間の絶縁性を確保しつつ、容易に組立てることができると共に、製造コストを低廉に抑えることができる。さらに、本発明に係るステータおよび回転電機の製造方法によれば、各コイル間の絶縁性を確保されたステータおよび回転電機を容易に組立てることができる。
本発明の実施の形態に係るステータおよび回転電機とステータおよび回転電機の製造方法について、図1から図12を用いて、説明する。なお、以下に説明する実施の形態において、個数、量などに言及する場合、特に記載がある場合を除き、本発明の範囲は必ずしもその個数、量などに限定されない。また、以下の実施の形態において、各々の構成要素は、特に記載がある場合を除き、本発明にとって必ずしも必須のものではない。また、以下に複数の実施の形態が存在する場合、特に記載がある場合を除き、各々の実施の形態の特徴部分を適宜組合わせることは、当初から予定されている。
(実施の形態1)
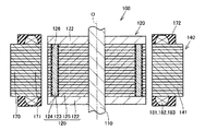
図1は、本発明の実施の形態1に係る回転電機の概略構成を示す側断面図である。この図1に示すように、回転電機100は、回転中心線Oを中心に回転可能に支持された回転シャフト110と、この回転シャフト110に固設され、回転シャフト110と共に回転可能に設けられたロータ120と、このロータ120の周囲に設けられた環状のステータ140とを備えている。
ロータ120は、複数の電磁鋼板等を積層して構成されたロータコア125と、ロータコア125に形成された磁石挿入孔126内に挿入された永久磁石123と、ロータコア125の軸方向の端面に設けられたエンドプレート122とを備えている。永久磁石123は、磁石挿入孔126内に充填された樹脂124によって固定されている。
図2は、ステータ140の斜視図である。図1および図2に示すように、ステータ140は、環状に形成されており、ロータ120の周囲を取り囲むように環状に形成されたステータコア141と、このステータコア141に装着されたU相コイル181,V相コイル182,W相コイル183とを備えている。
ステータコア141は、ステータ140の周方向に延びるヨーク部本体170と、このヨーク部本体170の内周面から径方向内方に向けて突出するステータティース171とを備えている。そして、各U相コイル181,V相コイル182,W相コイル183は、ステータティース171に装着されている。
ここで、図2に示すように、ステータコア141の軸方向両端面には、モールド樹脂172が形成されており、各U相コイル181,V相コイル182,W相コイル183は、モールド樹脂172によって覆われており、各V相コイル182,V相コイル182,W相コイル183には、電力を供給する電力供給配線190U,190V,190Wが接続されている。
図3は、上記モールド樹脂172を省略したときのステータ140の平面図である。この図3に示すように、ステータ140は、環状に配列された複数の分割ステータコア175を備えている。図4は、分割ステータコア175および分割ステータコア175に装着されたU相コイル181等を示す斜視図である。
この図4に示すように、各分割ステータコア175は、ステータ140の周方向に延びるヨーク部176と、このヨーク部176の周面から突出するように形成されたステータティース171と備えている。
そして、ステータティース171には、PPS(ポリフェニレンサルファイド)樹脂やLCP(液晶ポリマー)樹脂などの絶縁材料から形成されたインシュレータ160が装着されており、このインシュレータ160を介して、U相コイル181がステータティース171に装着されている。U相コイル181には、PPS(ポリフェニレンサルファイド)樹脂やLCP(液晶ポリマー)樹脂などの絶縁材料から形成され、U字形状の絶縁部材200が装着されている。
インシュレータ160は、ステータティース171を内部に受け入れるティース受入部材161と、このティース受入部材161の径方向外方側の端部に形成され、ヨーク部176の内周面に当接する張出部162とを備えている。張出部162は、ヨーク部176の内周面に沿って張り出す。
ティース受入部材161の外周面にU相コイル181が装着されており、U相コイル181とステータティース171とは、ティース受入部材161によって絶縁されている。
張出部162は、U相コイル181の径方向外方側の端面と、ヨーク部176との間に位置し、U相コイル181とヨーク部176との間を絶縁している。
このように、U相コイル181がインシュレータ160を介して、ステータティース171に装着することで、U相コイル181と分割ステータコア175との間の絶縁性が図られている。
図5は、U相コイル181の斜視図であり、図6は、絶縁部材200の斜視図である。ここで、図5において、U相コイル181は、エッジワイズコイルを巻回して構成された巻回部151と、図4に示すヨーク部176側の外周面に位置する端部152と、この外周面と対向する内周面側に配設された引出部153とを備えている。このように、本実施の形態に係る回転電機においては、コイルは、集中巻コイルが採用されている。
端部152および引出部153は、いずれも、U相コイル181の軸方向端面131から突出するように延びている。引出部153の上端部には渡線154が接続されている。この渡線154は、図3に示す他のU相コイル181の端部152に向けて延びており、引出部153から周方向に向かうに従って、ステータ140の径方向外方側に変位する。そして、この渡線154の端部には、他のU相コイル181の端部152に接続される端部155が形成されている。このようにして、各U相コイル181同士が順次接続されている。なお、V相コイル182およびW相コイル183もU相コイル181と同様に構成されており、各V相コイル182同士およびW相コイル183同士が互いに接続されている。
なお、本実施の形態1に係る回転電機100においては、コイル線として、コイル線の延在方向に対して垂直な断面が方形形状とされたエッジワイズコイル(Edge Width Coil)等の平角線が採用されているが、これに限られず、通常のコイル線(たとえば断面形状が円形形状)を採用してもよい。
このようなU相コイル181には、図6に示す絶縁部材200が装着されている。この絶縁部材200は、図4に示す巻回部151の軸方向端面のうち、端部152および引出部153が突出する軸方向端面131に対して反対側に位置する軸方向端面132を覆うように、軸方向端面132上に配設された端壁部202を備えている。さらに、絶縁部材200は、この端壁部202に連設され、側面133を覆うと共に、側面133上に設けられた側壁部203と、側面133と反対側に位置する側面134を覆うと共に、側面134上に設けられた側壁部204とを備えている。なお、側壁部203および側壁部204は、いずれも、端壁部202の端部から立ち上がるように設けられ、側壁部203と側壁部204とは、互いに対向するように配置されている。
このため、図3および図4において、U相コイル181と、このU相コイル181に対してステータ140の周方向に隣り合うV相コイル182との間には、U相コイル181に装着された絶縁部材200の側壁部204と、V相コイル182に装着された絶縁部材200の側壁部203とが位置する。これにより、U相コイル181とV相コイル182との間の絶縁性が確保される。
同様に、U相コイル181と、このU相コイル181に対してステータ140の周方向に隣り合うW相コイル183との間には、U相コイル181に装着された絶縁部材200の側壁部203と、W相コイル183に装着された絶縁部材200の側壁部204とが位置することになる。これにより、U相コイル181とW相コイル183との間の絶縁性が確保される。ここで、絶縁部材200の厚みは、略均一に形成されている。このため、各コイル間に位置する絶縁部材の厚みは、各コイルの軸方向端面132に位置する絶縁部材の厚みよりも厚くなっており、各コイル間の絶縁性の向上が図られている。
ここで、端壁部202、側壁部203および側壁部204は、各コイル(U相コイル181,V相コイル182,W相コイル183)の側面133、側面134および軸方向端面132のうち、ヨーク部176の内周面と当接する外周端面側から内周端面135側にまで亘って延びている。このため、各コイルと分割ステータコア175との沿面距離(2つの導電性部分間の絶縁物の表面に沿った最短距離)は、図4に示す距離Lとなり、沿面距離を長くすることができる。
さらに、この絶縁部材200は、弾性変形可能とされており、側壁部203および204は、巻回部151の両側面に圧接され、巻回部151に固定されている。
図2に示すモールド樹脂172は、各コイルの軸方向端面131上から側壁部203および側壁部204の少なくとも上端部に亘って延び、軸方向端面131からヨーク部176の上端面にまで達している。さらに、モールド樹脂172は、絶縁部材200の端壁部202からインシュレータ160の下端部を通り、さらに、ヨーク部176の下端面にまで達するように延びている。このため、各コイルと絶縁部材200とインシュレータ160と分割ステータコア175とは一体的に固定されている。
なお、インシュレータ160の張出部162は、ヨーク部176の上端面より上方側からヨーク部176の下端面の下方側にまで亘って延び、張出部162の上端部は、U相コイル181の軸方向端面131より上方にまで達しており、さらに、張出部162の下端部は、軸方向端面132より下方にまで達している。このため、軸方向端面131からヨーク部176までの電気的な絶縁距離は確保されている。
このように、本実施の形態に係るステータ140および回転電機100は、各コイルU相コイル181,V相コイル182,W相コイル183にU字形状の絶縁部材200が装着されており、各コイル間の相間絶縁性が確保されている。
なお、モールド樹脂172は、図4に示す巻回部151の軸方向端面131と、絶縁部材200の側壁部203の上端部(自由端部)および側壁部204の上端部側と、端壁部202の表面とを少なくとも覆うように形成されており、各コイルと分割ステータコア175との間の絶縁性が確保されている。
ここで、図7、図8および適宜上記図3および図4を用いて、本実施の形態1に係る回転電機100およびステータ140の製造方法について説明する。図7は、回転電機100の製造工程の第1工程を示す斜視図であり、図8は、回転電機100の第2工程を示す斜視図である。図7において、まず、U相コイル181をインシュレータ160に装着する。そして、この後、図8に示すように、インシュレータ160のティース受入部材161内に分割ステータコア175のステータティース171を挿入する。そして、図4に示すように、U相コイル181の下方から絶縁部材200を装着する。すなわち、軸方向端面131から突出する端部152、引出部153および渡線154が配設される軸方向端面131と反対側に位置する軸方向端面132側から絶縁部材200をU相コイル181に対して外装する。
ここで、絶縁部材200は、弾性変形可能とされている。そして、たとえば、側壁部204と側壁部203との幅をU相コイル181の幅より僅かに小さくする。これにより、U相コイル181に、絶縁部材200をU相コイル181に装着すると、側壁部204と側壁部203とが僅かに押し広げられ、絶縁部材200の側壁部203は、U相コイル181の側面133に圧着され、さらに、側壁部204も、側面134に圧着される。
これにより、ステータティース171に装着されたインシュレータ160と、インシュレータ160を介してティース受入部材161に装着されたコイル(U相コイル181,V相コイル182,W相コイル183)と、コイルに装着された絶縁部材200と、分割ステータコア175とを1つのユニットとして構成することができる。
なお、絶縁部材200は、上記図6に示すものに限られない。図9は、絶縁部材200の第1変形例を示す絶縁部材200の斜視図である。
この図9に示すように、側壁部204の表面のうち、側壁部203と対向する内表面には、高さ方向(回転中心線O方向)に間隔を隔てて、側壁部203に向けて突出する突起部206を複数形成してもよい。さらに、側壁部203の表面のうち、側壁部204と対向する内表面には、突起部207を高さ方向に間隔を隔てて複数形成してもよい。
このように、突起部206および突起部207を形成することで、各コイルに絶縁部材200を装着した際に、側壁部203および側壁部204は、コイルの幅方向(ステータ140の周方向)突起部206および突起部207によって押し広げられる。
そして、側壁部203および側壁部204が押し広げられることで、側壁部203および側壁部204が各側面133および側面134に向かう弾性力が上昇する。これにより、絶縁部材200を各コイルに装着した後、絶縁部材200が各コイルから脱落したり、位置ずれしたりすることを抑制することができる。
このように、分割ステータコア175に装着されたコイルごとに、絶縁部材200を装着(外装)することができるので、エナメル加工等によってコイル線の表面上に形成された絶縁被膜を損傷させることなく、絶縁部材200を装着することができる。
ここで、絶縁部材200は、コイルの端部152や引出部153が突出する軸方向端面131とは反対側に位置する軸方向端面132側から装着されるため、絶縁部材200を各コイルに装着する際に、端部152や引出部153と絶縁部材200とが接触することを抑制することができる。さらに、端部152、引出部153および絶縁部材200が損傷することを抑制することができると共に、絶縁部材200を容易に各コイルに装着することができる。
そして、インシュレータ160と、ティース受入部材161と、各相コイルとが装着された分割ステータコア175を環状に配列し、この環状配列された分割ステータコア175の外周側に焼き嵌めや圧入によって環状の固定部材を装着して、各分割ステータコア175を環状に固定する。
その後、周方向に間隔を空けて配置されたU相コイル181同士を接続し、V相コイル182同士を接続し、さらに、W相コイル183を接続する。
そして、図2に示すように、モールド樹脂172を充填して、巻回部151の軸方向端面131から側壁部203および側壁部204をモールド樹脂172で覆う。これにより、絶縁部材200は、U相コイル181に固定される。さらに、軸方向端面131からヨーク部176の上端面の少なくとも一部をモールド樹脂172で覆う。これにより、絶縁部材200は、分割ステータコア175と絶縁部材200と軸方向端面131との少なくともいずれかに固定される。さらに、絶縁部材200の端壁部から側壁部203,204の下端部およびヨーク部176の下端部をモールド樹脂172で覆うように形成する。このようにして、各コイル、渡線154および端部152等が外部に露出することを抑制することがえきる。
このようにして、ステータ140を構成する。そして、この構成されたステータ140をたとえば、図示されないモータケースなどに固定し、そして、ステータ140内にロータ120を挿入して、このロータ120をモータケースに対して、回転可能に装着する。
このようにして、回転電機100を構成する。
なお、本実施の形態1に係るステータ140および回転電機100の製造方法においては、各コイルをインシュレータ160を介して分割ステータコア175に装着した後に、各コイルに絶縁部材200を装着しているが、このような組立て手順に限られない。たとえば、各コイルに絶縁部材200を装着した後、絶縁部材200が装着されたコイルを分割ステータコア175に装着するようにしてもよい。
(実施の形態2)
図10および図11を用いて、本発明の実施の形態2に係るステータ、回転電機、ステータの製造方法および回転電機の製造方法について説明する。なお、図10、図11において、上記図1から図9に示された構成と同一または相当する構成については、同一の符号を付して、その説明を省略する場合がある。
図10は、本発明の実施の形態2に係るステータに装着された絶縁部材220の斜視図を示し、図11は、図10に示された絶縁部材220等が装着された分割ステータコア175の斜視図を示す。
この図10に示すように、絶縁部材220は、上記図6に示す絶縁部材200と同様に、コイルの軸方向端面132上に配設される端壁部222と、この端壁部222の一方の端部に連設され、上方に向けて立ち上がるように延びる側壁部223と、端壁部222の他方の端部に連設され、上方に向けて立ち上がるように延びる側壁部224とを備えている。
そして、側壁部223の端部のうち、端壁部222に連設された下端部と反対側に位置する上端部には、係止部226が形成されており、側壁部224の端部のうち、端壁部222に連設された下端部と反対側に位置する上端部には、係止部227が形成されている。係止部226は、側壁部223の上端部から上方に向かうにしたがって、側壁部224に向かうように湾曲しており、係止部227は、上方に向かうに従って、側壁部223に向かうように湾曲している。
そして、図11に示すように、分割ステータコア175にインシュレータ160を介して、U相コイル181等のコイルを装着した状態で、絶縁部材220を装着する。ここで、係止部226は、コイルの側面133から軸方向端面131にU相コイル181の表面に沿って延びるように湾曲しており、係止部227は、側面134上から軸方向端面131上に亘って、U相コイル181の表面に沿って延びるように湾曲している。
このため、絶縁部材220をコイルに装着した際に、係止部226および係止部227が軸方向端面131に係止され、絶縁部材220をコイルに装着した後、絶縁部材220がコイルから脱落したり、位置ずれしたりすることを抑制することができる。
さらに、係止部226および係止部227の幅(ステータ140の径方向の長さ)は、側壁部223および側壁部224の幅よりも小さくなっている。そして、係止部226は、側壁部223の上端部のうち、側壁部223の側片部から離れた位置に設けられている。このため、絶縁部材220を、コイルの軸方向端面132側から装着する際に、係止部226および係止部227が端部152や引出部153の上端部から離れており、互いに干渉することが抑制されている。これにより、絶縁部材220を容易に装着することができ、さらに、端部152や引出部153の上端部に形成された絶縁被膜を損傷することを抑制することができる。
さらに係止部226および係止部227が軸方向端面131上にまで達しているので、図2に示すように、モールド樹脂172を充填することで、係止部226および係止部227と、軸方向端面131がモールド樹脂172によって強固に一体化され、絶縁部材220をU相コイル181等のコイルに強固に固定することができる。
なお、本実施の形態2および上記実施の形態1においては、各コイルの端部152および引出部153の上端部が突出する軸方向端面131とは、反対側に位置する軸方向端面132側から装着されているが、これに限られない。
図12は、絶縁部材の装着方向の変形例を示す斜視図である。この図12に示すように、絶縁部材300は、絶縁部材300の端壁部202が軸方向端面131上に位置するように配置されており、端壁部202の端部に連設された側壁部203および側壁部204がそれぞれ側面133および側面134上に配設されている。このように、絶縁部材300を装着することで、コイルから下方に脱落することを抑制することができる。なお、本実施の形態においては、インナーロータ型の回転電機について説明したが、アウターロータ型の回転電機にも適用することができる。
以上のように本発明の実施の形態について説明を行なったが、今回開示された実施の形態はすべての点で例示であって制限的なものではないと考えられるべきである。本発明の範囲は特許請求の範囲によって示され、特許請求の範囲と均等の意味および範囲内でのすべての変更が含まれることが意図される。さらに、上記数値などは、例示であり、上記数値および範囲にかぎられない。
本発明は、ステータ、回転電機、ステータの製造方法および回転電機の製造方法に好適である。
本発明の実施の形態1に係る回転電機の概略構成を示す側断面図である。 ステータの斜視図である。 モールド樹脂を省略したときのステータの平面図である。 分割ステータコアおよび分割ステータコアに装着されたU相コイル等を示す斜視図である。 U相コイルの斜視図である。 絶縁部材の斜視図である。 回転電機の製造工程の第1工程を示す斜視図である。 回転電機の第2工程を示す斜視図である。 絶縁部材の第1変形例を示す絶縁部材の斜視図である。 本発明の実施の形態2に係るステータに装着された絶縁部材の斜視図を示す。 図10に示された絶縁部材等が装着された分割ステータコアの斜視図を示す。 絶縁部材の装着方向の変形例を示す斜視図である。
符号の説明
100 回転電機、110 回転シャフト、120 ロータ、123 永久磁石、124 磁石挿入孔、125 ロータコア、131 軸方向端面、132 軸方向端面、133 側面、134 側面、135 内周端面、140 ステータ、141 ステータコア、151 巻回部、151,152 端部、153 引出部、154 渡り線、155 端部、160 インシュレータ、161 ティース受入部、162 張出部、163 突出部、164 突出部、170 ヨーク部本体、171 ステータティース、172 モールド樹脂、175 分割ステータコア、176 ヨーク部、181 U相コイル、182 V相コイル、183 W相コイル、190 電力供給配線、200 絶縁部材、202 端壁部、203 側壁部、204 側壁部、205 受入部、206 突起部、207 突起部、220 絶縁部材、222 端壁部、223 側壁部、224 側壁部、225 受入部、226 係止部、227 係止部。

Claims (8)

  1. ヨーク部および該ヨーク部の周面から突出するステータティースを含む分割ステータコアを環状に配列して形成されたステータコアと、
    前記ステータティースに集中巻されたコイルと、
    前記コイルに外装された絶縁部材とを備え、
    前記絶縁部材は、前記ステータの中心軸方向に位置する前記コイルの軸方向端面のうち、一方の軸方向端面上に設けられる端壁部と、該端壁部に連設され、前記コイルの一方の側面上に配設される第1側壁部と、他方の側面上に配設される第2側壁部とを含む、ステータ。
  2. 前記コイルを形成するコイル線の両端部は、前記コイルの前記一方の軸方向端面と反対側に位置する他方の軸方向端面から突出する、請求項1に記載のステータ。
  3. 前記第1側壁部は、前記端壁部に連設された一方の端部に対して反対側に位置する他方の端部に形成された第1係止部を含み、前記第2側壁部は、前記端壁部に連設された一方の端部に対して反対側に位置する他方の端部に形成された第2係止部を含み、
    前記第1および第2係止部は、前記コイルの他方の軸方向端面に係合可能とされた、請求項1または請求項2に記載のステータ。
  4. 少なくとも前記絶縁部材およびその周囲に充填され、前記絶縁部材を前記コイルと前記ステータコアとの少なくとも一方に固定する絶縁性の樹脂部をさらに備えた、請求項1から請求項3のいずれかに記載のステータ。
  5. 請求項1から請求項4のいずれかに記載のステータを備えた回転電機。
  6. ヨーク部および該ヨークの周面から突出するステータティースを含む分割ステータコアにコイルを装着する工程と、
    端壁部と、該端壁部の一方の端部から立ち上がるように延びる第1側壁部と、他方の端部から立ち上がるように延び、前記第1側壁部と対向する第2側壁部とを含む絶縁部材を、前記コイルに外装する工程と、
    前記コイルおよび前記絶縁部材が装着された複数の前記分割ステータコアを環状に配列して固定する工程とを備えた、ステータの製造方法。
  7. 前記コイルを形成するコイル線の両端部は、前記コイルの周面のうち一端面から突出するように延びるように形成され、
    前記絶縁部材を、前記コイルに対して、該コイルの前記一端面と反対側に位置する他の端面側から装着する、請求項6に記載のステータの製造方法。
  8. 請求項7に記載のステータの製造方法を含む、回転電機の製造方法。
JP2008313467A 2008-12-09 2008-12-09 ステータ、回転電機、ステータの製造方法および回転電機の製造方法 Expired - Fee Related JP5233630B2 (ja)

Priority Applications (1)

Application Number Priority Date Filing Date Title
JP2008313467A JP5233630B2 (ja) 2008-12-09 2008-12-09 ステータ、回転電機、ステータの製造方法および回転電機の製造方法

Applications Claiming Priority (1)

Application Number Priority Date Filing Date Title
JP2008313467A JP5233630B2 (ja) 2008-12-09 2008-12-09 ステータ、回転電機、ステータの製造方法および回転電機の製造方法

Publications (2)

Publication Number Publication Date
JP2010141965A true JP2010141965A (ja) 2010-06-24
JP5233630B2 JP5233630B2 (ja) 2013-07-10

Family

ID=42351589

Family Applications (1)

Application Number Title Priority Date Filing Date
JP2008313467A Expired - Fee Related JP5233630B2 (ja) 2008-12-09 2008-12-09 ステータ、回転電機、ステータの製造方法および回転電機の製造方法

Country Status (1)

Country Link
JP (1) JP5233630B2 (ja)

Cited By (6)

* Cited by examiner, † Cited by third party
Publication number Priority date Publication date Assignee Title
WO2013174523A3 (de) * 2012-05-24 2014-10-09 Brose Fahrzeugteile GmbH & Co. Kommanditgesellschaft, Würzburg Statorsystem für einen elektromotor
KR20170046077A (ko) * 2015-10-20 2017-04-28 도요타 지도샤(주) 스테이터
JP2017093195A (ja) * 2015-11-13 2017-05-25 三菱電機株式会社 回転電機
US9973052B2 (en) 2011-08-16 2018-05-15 Lg Innotek Co., Ltd. Stator of motor having insulation structure for separation of stator winding groups
US10090723B2 (en) 2012-06-22 2018-10-02 Aisin Aw Co., Ltd. Stator and manufacturing method of stator
WO2025187189A1 (ja) * 2024-03-05 2025-09-12 株式会社デンソー ステータ

Citations (7)

* Cited by examiner, † Cited by third party
Publication number Priority date Publication date Assignee Title
JPS53117931U (ja) * 1977-02-26 1978-09-19
JPH09182342A (ja) * 1995-12-20 1997-07-11 Yaskawa Electric Corp 回転電機の固定子
JP2003047217A (ja) * 2001-08-03 2003-02-14 Moric Co Ltd 回転界磁型電気機器の電機子巻線方法および電機子
JP2005210867A (ja) * 2004-01-26 2005-08-04 Mitsui High Tec Inc 電動機用固定子
JP2006211828A (ja) * 2005-01-28 2006-08-10 Sumitomo Electric Ind Ltd ステータ及びその製造方法
JP2007312563A (ja) * 2006-05-22 2007-11-29 Toyota Motor Corp 集中巻線方式電動機用相間絶縁部材
JP2009131054A (ja) * 2007-11-22 2009-06-11 Sumitomo Electric Ind Ltd バスバー用ホルダー及びバスバーユニット、ステータ、モータ

Patent Citations (7)

* Cited by examiner, † Cited by third party
Publication number Priority date Publication date Assignee Title
JPS53117931U (ja) * 1977-02-26 1978-09-19
JPH09182342A (ja) * 1995-12-20 1997-07-11 Yaskawa Electric Corp 回転電機の固定子
JP2003047217A (ja) * 2001-08-03 2003-02-14 Moric Co Ltd 回転界磁型電気機器の電機子巻線方法および電機子
JP2005210867A (ja) * 2004-01-26 2005-08-04 Mitsui High Tec Inc 電動機用固定子
JP2006211828A (ja) * 2005-01-28 2006-08-10 Sumitomo Electric Ind Ltd ステータ及びその製造方法
JP2007312563A (ja) * 2006-05-22 2007-11-29 Toyota Motor Corp 集中巻線方式電動機用相間絶縁部材
JP2009131054A (ja) * 2007-11-22 2009-06-11 Sumitomo Electric Ind Ltd バスバー用ホルダー及びバスバーユニット、ステータ、モータ

Cited By (10)

* Cited by examiner, † Cited by third party
Publication number Priority date Publication date Assignee Title
US9973052B2 (en) 2011-08-16 2018-05-15 Lg Innotek Co., Ltd. Stator of motor having insulation structure for separation of stator winding groups
WO2013174523A3 (de) * 2012-05-24 2014-10-09 Brose Fahrzeugteile GmbH & Co. Kommanditgesellschaft, Würzburg Statorsystem für einen elektromotor
CN104335457A (zh) * 2012-05-24 2015-02-04 博泽沃尔兹堡汽车零部件有限公司 用于电动机的定子系统
CN104335457B (zh) * 2012-05-24 2017-09-12 博泽沃尔兹堡汽车零部件有限公司 用于电动机的定子系统
US9787155B2 (en) 2012-05-24 2017-10-10 Brose Fahrzeugteile Gmbh & Co. Kommanditgesellschaft Stator system for an electric motor
US10090723B2 (en) 2012-06-22 2018-10-02 Aisin Aw Co., Ltd. Stator and manufacturing method of stator
KR20170046077A (ko) * 2015-10-20 2017-04-28 도요타 지도샤(주) 스테이터
KR101887186B1 (ko) 2015-10-20 2018-08-09 도요타 지도샤(주) 스테이터
JP2017093195A (ja) * 2015-11-13 2017-05-25 三菱電機株式会社 回転電機
WO2025187189A1 (ja) * 2024-03-05 2025-09-12 株式会社デンソー ステータ

Also Published As

Publication number Publication date
JP5233630B2 (ja) 2013-07-10

Similar Documents

Publication Publication Date Title
CN103107625B (zh) 旋转电机及其定子线圈的接线单元的制造方法
JP5489698B2 (ja) インシュレータ、回転電機および回転電機の製造方法
JP4301334B2 (ja) 回転電機
JP5109577B2 (ja) 回転電機および絶縁部材
JP5827840B2 (ja) Vr型レゾルバ
JP2010246269A (ja) インシュレータおよび回転電機
US20100188181A1 (en) Insulating member
JPWO2018038246A1 (ja) モータ
JP2012244842A (ja) 回転電機
JP5233630B2 (ja) ステータ、回転電機、ステータの製造方法および回転電機の製造方法
EP2738916B1 (en) Stator of an electric motor comprising a coil insulation
JP4502041B2 (ja) 回転電機の固定子およびその製造方法
JP2010028889A (ja) 回転電機
US9166453B2 (en) Split core stator with terminal accommodating resin box
WO2020174817A1 (ja) 回転電機のステータ、回転電機、回転電機のステータの製造方法、および、回転電機の製造方法
US9543799B2 (en) Single rotor-type motor
JP5181627B2 (ja) 回転電機および回転電機の製造方法
EP2940836B1 (en) Rotating machine
JP2023104065A (ja) バスバーユニット
CN106300711A (zh) 用于电机的定子、电机、车辆和制造方法
JP2017192226A (ja) 絶縁構造を有する電動機のステータ
JP5221103B2 (ja) 回転電機
JP5111887B2 (ja) 回転電機の固定子
JP2011239526A (ja) モータの電機子
JP2013074750A (ja) 回転電機固定子

Legal Events

Date Code Title Description
A621 Written request for application examination

Free format text: JAPANESE INTERMEDIATE CODE: A621

Effective date: 20110613

A131 Notification of reasons for refusal

Free format text: JAPANESE INTERMEDIATE CODE: A131

Effective date: 20121225

A977 Report on retrieval

Free format text: JAPANESE INTERMEDIATE CODE: A971007

Effective date: 20121226

A521 Request for written amendment filed

Free format text: JAPANESE INTERMEDIATE CODE: A523

Effective date: 20130130

TRDD Decision of grant or rejection written
A01 Written decision to grant a patent or to grant a registration (utility model)

Free format text: JAPANESE INTERMEDIATE CODE: A01

Effective date: 20130226

A61 First payment of annual fees (during grant procedure)

Free format text: JAPANESE INTERMEDIATE CODE: A61

Effective date: 20130311

R151 Written notification of patent or utility model registration

Ref document number: 5233630

Country of ref document: JP

Free format text: JAPANESE INTERMEDIATE CODE: R151

FPAY Renewal fee payment (event date is renewal date of database)

Free format text: PAYMENT UNTIL: 20160405

Year of fee payment: 3

LAPS Cancellation because of no payment of annual fees