JP2010131663A - チェーン用油溜まり盲溝付ブシュの製造方法 - Google Patents

チェーン用油溜まり盲溝付ブシュの製造方法 Download PDF

Info

Publication number
JP2010131663A
JP2010131663A JP2008312194A JP2008312194A JP2010131663A JP 2010131663 A JP2010131663 A JP 2010131663A JP 2008312194 A JP2008312194 A JP 2008312194A JP 2008312194 A JP2008312194 A JP 2008312194A JP 2010131663 A JP2010131663 A JP 2010131663A
Authority
JP
Japan
Prior art keywords
blind
pin
hollow die
inner peripheral
steel material
Prior art date
Legal status (The legal status is an assumption and is not a legal conclusion. Google has not performed a legal analysis and makes no representation as to the accuracy of the status listed.)
Granted
Application number
JP2008312194A
Other languages
English (en)
Other versions
JP5270323B2 (ja
Inventor
Hirobumi Miki
博文 三木
Current Assignee (The listed assignees may be inaccurate. Google has not performed a legal analysis and makes no representation or warranty as to the accuracy of the list.)
Tsubakimoto Chain Co
Original Assignee
Tsubakimoto Chain Co
Priority date (The priority date is an assumption and is not a legal conclusion. Google has not performed a legal analysis and makes no representation as to the accuracy of the date listed.)
Filing date
Publication date
Application filed by Tsubakimoto Chain Co filed Critical Tsubakimoto Chain Co
Priority to JP2008312194A priority Critical patent/JP5270323B2/ja
Publication of JP2010131663A publication Critical patent/JP2010131663A/ja
Application granted granted Critical
Publication of JP5270323B2 publication Critical patent/JP5270323B2/ja
Active legal-status Critical Current
Anticipated expiration legal-status Critical

Links

Images

Landscapes

  • Sliding-Contact Bearings (AREA)

Abstract

【課題】油溜まり用盲溝を刻設するセンターピンと中空状ダイピンの長期にわたる摩耗損傷を抑制して優れた疲労強度を発揮し、薄肉の円筒鋼材であっても油溜まり用盲溝を高精度に刻設できるチェーン用油溜まり盲溝付ブシュの製造方法を提供すること。
【解決手段】円筒鋼材101の内周面側母線方向に多数の油溜まり盲溝103を形成するチェーン用油溜まり盲溝付ブシュ100の製造方法であって、センターピン130が中空状ダイピン110の先端内周部に差し込まれた状態で盲溝付け部材を中空状ダイピン110の保持孔112から突出して円筒鋼材101の内周面に押し付け、円筒鋼材101の内周面を盲溝付け部材に対して摺動させること。
【選択図】図2

Description

本発明は、チェーンの連結ピンに対して回動自在に嵌挿するブシュとして好適に用いられるチェーン用ブシュに関するものであって、特に、潤滑油の油溜まりとなる油溜まり用盲溝を内周面側母線方向に多数形成したチェーン用油溜まり盲溝付ブシュの製造方法に関するものである。
従来、円筒軸受は、その内周面内にシャフト、ピン等の回転軸を挿入され、回転軸の軸受体、チェーンのブシュ等の滑り軸受として使用されている。
そして、このような円筒軸受には、軸受面となる内周面とシャフト、ピン等との潤滑性を向上させるために、その内周面母線方向と平行な潤滑油の油溜まりとなる有底の溝、すなわち、油溜まり用盲溝が内周面側に多数形成されている。
このような円筒軸受を製造する従来の方法として、図6に示すような複数の盲溝付け用突起511とスリット512を有した中空状ダイピン510と、円筒鋼材501の端部を押圧する盲溝付け用ポンチ520に同心状に一体的に備えられたセンターピン530を用いた方法がある。
すなわち、円筒鋼材501は、図7の(a)に示すように、中空状ダイピン510を内部に設けている盲溝付け用ダイ540とセンターピン530の間に配置され、盲溝付け用ポンチ520を前進させると、図7の(b)に示すように、円筒鋼材501は、その端部が盲溝付け用ポンチ520に当接して前進して、盲溝付け用ダイ540に押し込まれ、盲溝付け用ダイ540内に固定配置されている中空状ダイピン510が円筒鋼材501の内部に差し込まれる。
また、盲溝付け用ポンチ520に備えられたセンターピン530も、盲溝付け用ポンチ520の前進にともなって、中空状ダイピン510の中空部に押し込まれ、中空状ダイピン510を拡径させて、円筒鋼材501の内周面に盲溝付け用突起511を圧入させる。
さらに、盲溝付け用ポンチ520を前進させると、図7の(c)に示すように、円筒鋼材501は、センターピン530が押し込まれて拡径させた状態の中空状ダイピン510を差し込みながら前進し、円筒鋼材501の内周面502に圧入されている盲溝付け用突起511を円筒鋼材501に対して相対的に摺動させて、母線方向に沿って半円形断面を有する盲溝が刻設されて盲溝付け加工が施される。
その後、前述した盲溝付け用ポンチ520を後退させると、図7の(d)に示すように、センターピン530は後退して、中空状ダイピン510を元の状態に縮径して、円筒鋼材501から抜き取られる。次いで、図7の(e)に示すように、ストリッパ550を前進させると、円筒鋼材501が盲溝付け用ダイ540および中空状ダイピン510から取り出され、換言すれば、円筒鋼材501から中空状ダイピン510が相対的に抜き取られて、複数の油溜まり用盲溝503が内周面502に刻設されたチェーン用油溜まり盲溝付ブシュ500となる(特許文献1参照)。
特開2005−330997号公報(第4〜5頁、図8〜9)
しかしながら、従来のような製造方法では、油溜まり用盲溝503を刻設する際にセンターピン530と中空状ダイピン510とが相互に強い押圧力で摺動するため、中空状ダイピン510の摩耗寿命が著しく低下するという問題があった。
また、中空状ダイピン510には、拡径の繰り返しによる金属疲労を生じるが、センターピン530を通過させる中空部分が不可欠な形状となっているため、中空状ダイピン510の強度を増すことが困難であるという問題があった。
他方、センターピン530も、中空状ダイピン510の中空部分に進入させるために、その外径が小さくならざるを得ず、しばしば破損するという問題もあった。
そこで、本発明が解決しようとする課題、すなわち、本発明の目的は、上述したような従来技術の問題点を解決するものであって、油溜まり用盲溝を刻設するセンターピンと中空状ダイピンの長期にわたる摩耗損傷を抑制して優れた疲労強度を発揮できるとともに、薄肉の円筒鋼材であっても油溜まり用盲溝を高精度に刻設できるチェーン用油溜まり盲溝付ブシュの製造方法を提供することである。
本請求項1に係る発明は、多数の盲溝付け部材を先端外周部の保持孔に出没可能に保持した中空状ダイピンと、該中空状ダイピンに当て止めされ保持孔に保持された盲溝付け部材を外周側に突出させて押圧するセンターピンと、該センターピンに同心円状に遊嵌されてピン長手方向に相対的に摺動する盲溝付け用ポンチと、該盲溝付け用ポンチを受け入れる盲溝付け用ダイとを用いて円筒鋼材の内周面側母線方向に多数の油溜まり盲溝を形成するチェーン用油溜まり盲溝付ブシュの製造方法であって、前記円筒鋼材の一端が前記盲溝付け用ダイに内包された中空状ダイピンの先端外周部に被嵌された後、前記円筒鋼材の他端から一端に向けて挿し入れた前記センターピンが前記中空状ダイピンの先端内周部に差し込まれた状態で前記盲溝付け部材を中空状ダイピンの保持孔から突出して円筒鋼材の内周面に押し付け、次いで、前記センターピンに遊嵌された盲溝付け用ポンチが前記円筒鋼材の他端を押圧した状態で盲溝付け用ダイ内に押し込まれて前記円筒鋼材の内周面を中空状ダイピンの保持孔から突出した盲溝付け部材に対して摺動させながら多数の油溜まり盲溝を形成することにより、前記課題を解決するものである。
本請求項2に係る発明は、請求項1に記載されたチェーン用油溜まり盲溝付ブシュの製造方法の構成に加えて、前記センターピンが、前記中空状ダイピンの先端内周部に差し込まれて当て止めされるダイピン係合用段部を備え、該センターピンが当て止めされた位置で、中空状ダイピンの保持孔から盲溝付け部材が突出するようになっていることにより、前記課題をさらに解決するものである。
本請求項3に係る発明は、請求項1または請求項2に記載されたチェーン用油溜まり盲溝付ブシュの製造方法の構成に加えて、前記センターピンの後端部に設けられてセンターピンを中空状ダイピンの先端内周部に向けて押圧する第1押圧手段と前記盲溝付け用ポンチをセンターピンに摺動させて盲溝付け用ポンチのみを円筒鋼材の他端に向けて押圧する第2押圧手段とが、それぞれ単独で押圧自在となるように設けられていることにより、前記課題をさらに解決するものである。
本請求項4に係る発明は、請求項1乃至請求項3のいずれかに記載されたチェーン用油溜まり盲溝付ブシュの製造方法の構成に加えて、前記盲溝付け部材が、鋼球であることにより、前記課題をさらに解決するものである。
本請求項5に係る発明は、請求項1乃至請求項4のいずれかに記載されたチェーン用油溜まり盲溝付ブシュの製造方法の構成に加えて、前記中空状ダイピンの先端内周部に前記盲溝付け部材の内周側への脱落を阻止する抜け止めピンが、センターピン方向に付勢されて出没可能に設けられていることにより、前記課題をさらに解決するものである。
本発明のチェーン用油溜まり盲溝付ブシュの製造方法は、多数の盲溝付け部材を先端外周部の保持孔に出没可能に保持した中空状ダイピンと、該中空状ダイピンに当て止めされ保持孔に保持された盲溝付け部材を外周側に突出させて押圧するセンターピンと、該センターピンに同心円状に遊嵌されてピン長手方向に相対的に摺動する盲溝付け用ポンチと、該盲溝付け用ポンチを受け入れる盲溝付け用ダイとを用いて円筒鋼材の内周面側母線方向に多数の油溜まり盲溝を形成することにより、チェーンの連結ピンに対して回動自在に嵌挿するブシュとして好適に用いられるとともに、以下のような特有の効果を奏することができる。
すなわち、本請求項1に係る発明のチェーン用油溜まり盲溝付ブシュの製造方法は、円筒鋼材の一端が盲溝付け用ダイに内包された中空状ダイピンの先端外周部に被嵌された後、円筒鋼材の他端から一端に向けて挿し入れたセンターピンが中空状ダイピンの先端内周部に差し込まれた状態で盲溝付け部材を中空状ダイピンの保持孔から突出して円筒鋼材の内周面に押し付け、次いで、センターピンに遊嵌された盲溝付け用ポンチが円筒鋼材の他端を押圧した状態で盲溝付け用ダイ内に押し込まれて円筒鋼材の内周面を中空状ダイピンの保持孔から突出した盲溝付け部材に対して摺動させながら多数の油溜まり盲溝を形成することにより、円筒鋼材の内周面に油溜まり用盲溝を刻設する際に、盲溝付け部材が円筒鋼材に対して相対的に移動して摺動するのみで、中空状ダイピンは変形せず摺動もしないため、中空状ダイピンの長期にわたる摩耗損傷を抑制して優れた疲労強度を発揮できるとともに、油溜まり用盲溝を高精度に刻設できる。
そして、本請求項2に係る発明のチェーン用油溜まり盲溝付ブシュの製造方法は、請求項1に係るチェーン用油溜まり盲溝付ブシュが奏する効果に加えて、センターピンが中空状ダイピンの先端内周部に差し込まれて当て止めされるダイピン係合用段部を備え、該センターピンが当て止めされた位置で、中空状ダイピンの保持孔から盲溝付け部材が突出するようになっていることにより、円筒鋼材の内周面に油溜まり用盲溝を刻設する際に、従来のようにセンターピンと中空状ダイピンとが相互に摺動することなくセンターピンが中空状ダイピンの先端内周部に差し込まれて当て止め保持された状態となるため、センターピンの長期にわたる摩耗損傷を抑制してさらに優れた疲労強度を発揮できるとともに、油溜まり用盲溝を高精度に刻設できる。
また、本請求項3に係る発明のチェーン用油溜まり盲溝付ブシュの製造方法は、請求項1または請求項2に係るチェーン用油溜まり盲溝付ブシュが奏する効果に加えて、センターピンの後端部に設けられてセンターピンを中空状ダイピンの先端内周部に向けて押圧する第1押圧手段と盲溝付け用ポンチをセンターピンに摺動させて盲溝付け用ポンチのみを円筒鋼材の他端に向けて押圧する第2押圧手段とが、それぞれ単独で押圧自在となるように設けられていることにより、従来の盲溝付け用ポンチやセンターピンのような拡径しながら円筒鋼材の一端を押圧して油溜まり用盲溝を刻設するものに比べて、円筒鋼材の内周面側母線方向に油溜まり用盲溝をより高精度に刻設できる。
また、本請求項4に係る発明のチェーン用油溜まり盲溝付ブシュの製造方法は、請求項1乃至請求項3のいずれかに係るチェーン用油溜まり盲溝付ブシュが奏する効果に加えて、盲溝付け部材が鋼球であることにより、保持孔内での移動や円筒鋼材の内周面に油溜まり用盲溝を刻設する際の摺動が円滑に行われるとともに、製造や摩耗時の交換が容易となり、油溜まり用盲溝を高精度に刻設できる。
また、本請求項5に係る発明のチェーン用油溜まり盲溝付ブシュの製造方法は、請求項1乃至請求項4のいずれかに係るチェーン用油溜まり盲溝付ブシュが奏する効果に加えて、中空状ダイピンの先端内周部に前記盲溝付け部材の内周側への脱落を阻止する抜け止めピンが、センターピン方向に付勢されて出没可能に設けられていることにより、盲溝付け部材が保持孔から脱落することが防止されるため、油溜まり用盲溝を欠損なく高精度に刻設できる。
本発明のチェーン用油溜まり盲溝付ブシュの製造方法は、多数の盲溝付け部材を先端外周部の保持孔に出没可能に保持した中空状ダイピンと、該中空状ダイピンに当て止めされ保持孔に保持された盲溝付け部材を外周側に突出させて押圧するセンターピンと、該センターピンに同心円状に遊嵌されてピン長手方向に相対的に摺動する盲溝付け用ポンチと、該盲溝付け用ポンチを受け入れる盲溝付け用ダイとを用いて円筒鋼材の内周面側母線方向に多数の油溜まり盲溝を形成するチェーン用油溜まり盲溝付ブシュの製造方法であって、円筒鋼材の一端が盲溝付け用ダイに内包された中空状ダイピンの先端外周部に被嵌された後、円筒鋼材の他端から一端に向けて挿し入れたセンターピンが中空状ダイピンの先端内周部に差し込まれた状態で前記盲溝付け部材を中空状ダイピンの保持孔から突出して円筒鋼材の内周面に押し付け、次いで、センターピンに遊嵌された盲溝付け用ポンチが円筒鋼材の他端を押圧した状態で盲溝付け用ダイ内に押し込まれて円筒鋼材の内周面を中空状ダイピンの保持孔から突出した盲溝付け部材に対して摺動させながら多数の油溜まり盲溝を形成し、油溜まり用盲溝を刻設するセンターピンと中空状ダイピンの長期にわたる摩耗損傷を抑制して優れた疲労強度を発揮できるとともに、薄肉の円筒鋼材であっても油溜まり用盲溝を高精度に刻設できるという効果を発揮するものであれば、その具体的な実施態様は如何なるものであっても何ら構わない。
すなわち、本発明のチェーン用油溜まり盲溝付ブシュの製造方法により製造されるブシュはいかなる用途のチェーンに使用されるものであっても良く、特に鉄鉱石、石炭などを荷揚げするためのバケットチェーン、自動車などの重量物を搬送するための大荷重用チェーン、粉粒体のフローコンベヤチェーン等のチェーンにかかる荷重が大きい用途や、内燃機関のタイミングシステムに使用されるタイミングチェーン等の用途が好適である。
以下に、本発明の実施例であるチェーン用油溜まり盲溝付ブシュの製造方法について、図面に基づいて説明する。
図1は、本発明で製造されるブシュの斜視図であり、図2は、本発明に使用される中空状ダイピン及びセンターピンの斜視図であり、図3は、本発明のチェーン用油溜まり盲溝付ブシュの製造方法の工程前半の動作説明図であり、図4は、本発明のチェーン用油溜まり盲溝付ブシュの製造方法の工程後半の動作説明図であり、図5は、本発明に使用される盲溝付け部材の動作説明図である。
本発明で製造されるチェーン用油溜まり盲溝付ブシュ100は、図1に示すように、母線状継目がない円筒鋼材101の内周面102側、すなわち、円筒鋼材101の内周面102側母線方向に多数の油溜まり用盲溝103が形成されており、この油溜まり用盲溝103における溝長手方向の始端部103aと終端部103bが封止された溝形態となっている。
例えば、ローラーチェーンに用いる場合、盲溝付ブシュ100は、油溜まり用盲溝103が円筒鋼材101の内周面102のみに開口して連結ピンに対向した状態となり、油溜まり用盲溝103に注入された潤滑油が長時間の使用によっても溝長手方向の始端部103aと終端部103bから流出することなく保持されて良好な潤滑性能を維持するようになっている。
次に、本発明のチェーン用油溜まり盲溝付ブシュの製造方法について、図2乃至図5に基づいて説明する。
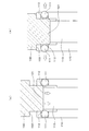
盲溝付け加工に用いる主たる工具は、図2乃至図5に示すように、保持孔112に外周方向に出没可能に保持された盲溝付け部材である鋼球111を先端外周部に多数備えるとともに、内周部に抜け止めピン113を備えた中空状ダイピン110と、この中空状ダイピン110の先端内周部に挿入され鋼球111を外周方向に突出させるセンターピン130と、このセンターピン130に同心円状に遊嵌されてピン長手方向に相対的に摺動する盲溝付け用ポンチ120と、この盲溝付け用ポンチ120を受け入れる盲溝付け用ダイ140からなっている。
これらのセンターピン130と中空状ダイピン110は、ほぼ同じピン外径を有するとともに、センターピン130が中空状ダイピン110の先端内周部に差し込まれて係合するダイピン係合用段部132を備えている。
さらに、センターピン130の後端部には、このセンターピン130のダイピン係合用段部132を中空状ダイピン110の先端に向けて押圧するガススプリングなどからなる第1押圧手段133が設けられている。
そして、前述した盲溝付け用ポンチ120をセンターピン130に対して摺動させて盲溝付け用ポンチ120のみを円筒鋼材106の他端に向けて押圧する進退自在のプレスアームなどからなる第2押圧手段121が単独で押圧自在となるように設けられている。
そこで、盲溝付け加工工程について、図3乃至図5に基づいて以下に詳しく説明する。
まず、図3の(a)に示すように、母線状継目がない円筒鋼材101が、中空状ダイピン110を内包している盲溝付け用ダイ140とセンターピン130の間に配置される。
そして、図3の(b)に示すように、前述した第1押圧手段133によりセンターピン130を介して盲溝付け用ポンチ120を一体に前進させると、この盲溝付け用ポンチ120が当接する円筒鋼材101を前進させて盲溝付け用ダイ140内に押し込み、盲溝付け用ダイ140に内包されて固定された中空状ダイピン110の保持孔112に円筒鋼材101の一端が被嵌される。すなわち、中空状ダイピン110の保持孔112が円筒鋼材101の内周面102側に差し込まれる。
このとき、図5の(a)に示すように、中空状ダイピン110の保持孔112に保持された盲溝付け部材である鋼球111は内周側に没しており、抜け止めピン113により内周側に脱落しないように保持されている。
次いで、図3の(c)に示すように、第1押圧手段133によりセンターピン130を介して盲溝付け用ポンチ120を一体にさらに前進させると、図5の(b)に示すように、中空状ダイピン110の先端内周部にセンターピン130の先端押圧部131が挿入され、鋼球111が外周側に突出し、円筒鋼材101に挿し入れたセンターピン130のダイピン係合用段部132が、中空状ダイピン110の先端に当て止め保持された状態で、円筒鋼材101の内周面102に鋼球111が押し付けられて圧入される。
そして、図4の(d)に示すように、第2押圧手段121により盲溝付け用ポンチ120を介して前述した円筒鋼材101を中空状ダイピン110の保持孔112に保持された盲溝付け部材である鋼球111に被嵌した状態で盲溝付け用ダイ140内に押し込むと、この円筒鋼材101の内周面102に対して鋼球111が相対的に摺動して、内周面側母線方向に沿って半円形断面を備えた油溜まり用盲溝103が形成され、盲溝付け加工が施される。
このとき、センターピン130のダイピン係合用段部132が、中空状ダイピン110の先端に係合した状態で停止し、先端押圧部131が鋼球111を外周側に突出させているため、センターピン130が摺動することなく、鋼球111を外周側に確実に保持できる。
その後、図4の(e)に示すように、盲溝付け用ポンチ120を後退させると、センターピン130も同伴して後退して円筒鋼材101から抜き取られ、中空状ダイピン110の保持孔112に保持された盲溝付け部材である鋼球111が元の内周側に没した状態に戻る。このとき、抜け止めピン113も付勢手段114により上方に復帰し、鋼球111が内周側に脱落しないように保持される。
次いで、図4の(f)に示すように、ストリッパ150を前進させると、円筒鋼材101が盲溝付け用ダイ140および中空状ダイピン110から取り出され、換言すれば、円筒鋼材101から中空状ダイピン110が相対的に抜き取られて、複数の油溜まり用盲溝103が内周面102に刻設されたチェーン用油溜まり盲溝付ブシュ100となる。
以上のように、本発明の一実施例であるチェーン用油溜まり盲溝付ブシュ100の製造方法によれば、円筒鋼材101の内周面に油溜まり用盲溝103を刻設する際に従来のようにセンターピン130と中空状ダイピン110とが相互に摺動することなくセンターピン130が中空状ダイピン110の先端に差し込まれて当て止め保持された状態となっているため、センターピン130と中空状ダイピン110の長期にわたる摩耗損傷を抑制して優れた疲労強度を発揮できるとともに、薄肉の円筒鋼材101であっても油溜まり用盲溝103を高精度に刻設できる。
また、センターピン130が差し込まれて中空状ダイピン110の保持孔112に保持された盲溝付け部材である鋼球111を外周に押し付ける際の力が著しく軽減されるとともに確実に保持されるため、従来のような中空状ダイピン110の中空部分全域に亙って繰り返される拡径動作に起因した苛酷な金属疲労を回避でき、また、センターピン130と中空状ダイピン110とが従来のものに比べて高強度で大径のピン形状を呈しているため、センターピン130と中空状ダイピン110の長寿命化を達成できる。
さらに、第1押圧手段133と連動することなく単独の第2押圧手段121が盲溝付け用ポンチ120を介して円筒鋼材101の他端を確実に押圧した状態で盲溝付け用ダイ140内に押し込むため、従来の盲溝付け用ポンチやセンターピンのような拡径しながら円筒鋼材の一端を押圧して油溜まり用盲溝を刻設するものに比べて、円筒鋼材101の内周面側母線方向に油溜まり用盲溝103をより高精度に刻設できる。
さらに、盲溝付け部材である鋼球111を用いた上記実施例によれば、鋼球111により溝長手方向の両端部が封止された溝形態が形成されるため、始端部103aと終端部103bともに半球面状となり、油溜まり用盲溝103の内面には凹状の角部は全く存在せず、チェーンに強い張力が生じた場合の応力の集中部分をなくし、亀裂の発生や破損を防止できるとともに微細粉の蓄積を緩和することができるチェーン用油溜まり盲溝付ブシュ100を得ることができるなど、その効果は甚大である。
なお、上記実施例では、盲溝付け用ポンチ120をセンターピン130に対して摺動させて盲溝付け用ポンチ120のみを円筒鋼材106の他端に向けて押圧する進退自在のプレスアームなどからなる第2押圧手段121が単独で押圧自在となるように設けられているが、盲溝付け用ポンチ120とセンターピン130を一体化させても、中空状ダイピン110の中空部分全域に亙って繰り返される拡径動作に起因した苛酷な金属疲労を回避できるとともに、従来のものと同様に構造が簡素化される。
また、上記実施例では、盲溝付け部材として鋼球111を用いたが、形成する盲溝の断面に応じて他の形状であっても良く、盲溝付け部材が保持孔112から脱落しない形状であれば、抜け止めピン113が省略されても良い。
本発明で製造されるブシュの斜視図。 本発明に使用される中空状ダイピン及びセンターピンの斜視図。 本発明のチェーン用油溜まり盲溝付ブシュの製造方法の工程前半の動作説明図。 本発明のチェーン用油溜まり盲溝付ブシュの製造方法の工程後半の動作説明図。 本発明に使用される盲溝付け部材の動作説明図。 従来の中空状ダイピン及びセンターピンの斜視図。 従来のチェーン用油溜まり盲溝付ブシュの製造方法の工程の動作説明図。
符号の説明
100、500 ・・・チェーン用油溜まり盲溝付ブシュ
101、501 ・・・円筒鋼材
102、502 ・・・内周面
103、503 ・・・油溜まり用盲溝
110、510 ・・・中空状ダイピン
111 ・・・鋼球
511 ・・・盲溝付け用突起
112 ・・・保持孔
512 ・・・スリット
113 ・・・抜け止めピン
114 ・・・付勢手段
120、520 ・・・盲溝付け用ポンチ
121 ・・・第2押圧手段
130、530 ・・・センターピン
131 ・・・先端押圧部
132 ・・・ダイピン係合用段部
133 ・・・第1押圧手段
140、540 ・・・盲溝付け用ダイ
150、550 ・・・ストリッパ

Claims (5)

  1. 多数の盲溝付け部材を先端外周部の保持孔に出没可能に保持した中空状ダイピンと、該中空状ダイピンに当て止めされ保持孔に保持された盲溝付け部材を外周側に突出させて押圧するセンターピンと、該センターピンに同心円状に遊嵌されてピン長手方向に相対的に摺動する盲溝付け用ポンチと、該盲溝付け用ポンチを受け入れる盲溝付け用ダイとを用いて円筒鋼材の内周面側母線方向に多数の油溜まり盲溝を形成するチェーン用油溜まり盲溝付ブシュの製造方法であって、
    前記円筒鋼材の一端が前記盲溝付け用ダイに内包された中空状ダイピンの先端外周部に被嵌された後、
    前記円筒鋼材の他端から一端に向けて挿し入れた前記センターピンが前記中空状ダイピンの先端内周部に差し込まれた状態で前記盲溝付け部材を中空状ダイピンの保持孔から突出して円筒鋼材の内周面に押し付け、
    次いで、前記センターピンに遊嵌された盲溝付け用ポンチが前記円筒鋼材の他端を押圧した状態で盲溝付け用ダイ内に押し込まれて前記円筒鋼材の内周面を中空状ダイピンの保持孔から突出した盲溝付け部材に対して摺動させながら多数の油溜まり盲溝を形成することを特徴とするチェーン用油溜まり盲溝付ブシュの製造方法。
  2. 前記センターピンが、前記中空状ダイピンの先端内周部に差し込まれて当て止めされるダイピン係合用段部を備え、
    該センターピンが当て止めされた位置で、中空状ダイピンの保持孔から盲溝付け部材が突出するようになっていることを特徴とする請求項1に記載されたチェーン用油溜まり盲溝付ブシュの製造方法。
  3. 前記センターピンの後端部に設けられてセンターピンを中空状ダイピンの先端内周部に向けて押圧する第1押圧手段と前記盲溝付け用ポンチをセンターピンに摺動させて盲溝付け用ポンチのみを円筒鋼材の他端に向けて押圧する第2押圧手段とが、それぞれ単独で押圧自在となるように設けられていることを特徴とする請求項1または請求項2に記載されたチェーン用油溜まり盲溝付ブシュの製造方法。
  4. 前記盲溝付け部材が、鋼球であることを特徴とする請求項1乃至請求項3のいずれかに記載されたチェーン用油溜まり盲溝付ブシュの製造方法。
  5. 前記中空状ダイピンの先端内周部に前記盲溝付け部材の内周側への脱落を阻止する抜け止めピンが、センターピン方向に付勢されて出没可能に設けられていることを特徴とする請求項1乃至請求項4のいずれかに記載されたチェーン用油溜まり盲溝付ブシュの製造方法。
JP2008312194A 2008-12-08 2008-12-08 チェーン用油溜まり盲溝付ブシュの製造方法 Active JP5270323B2 (ja)

Priority Applications (1)

Application Number Priority Date Filing Date Title
JP2008312194A JP5270323B2 (ja) 2008-12-08 2008-12-08 チェーン用油溜まり盲溝付ブシュの製造方法

Applications Claiming Priority (1)

Application Number Priority Date Filing Date Title
JP2008312194A JP5270323B2 (ja) 2008-12-08 2008-12-08 チェーン用油溜まり盲溝付ブシュの製造方法

Publications (2)

Publication Number Publication Date
JP2010131663A true JP2010131663A (ja) 2010-06-17
JP5270323B2 JP5270323B2 (ja) 2013-08-21

Family

ID=42343527

Family Applications (1)

Application Number Title Priority Date Filing Date
JP2008312194A Active JP5270323B2 (ja) 2008-12-08 2008-12-08 チェーン用油溜まり盲溝付ブシュの製造方法

Country Status (1)

Country Link
JP (1) JP5270323B2 (ja)

Citations (4)

* Cited by examiner, † Cited by third party
Publication number Priority date Publication date Assignee Title
JPS58202920A (ja) * 1982-05-19 1983-11-26 Toyo Radiator Kk 管の内面における条溝加工装置
JP2000312943A (ja) * 1999-04-28 2000-11-14 Ricoh Co Ltd 円筒面を有する被加工物の製造方法及びその製造装置、並びに流体軸受の動圧溝の製造方法及びその製造装置
JP2005330997A (ja) * 2004-05-18 2005-12-02 Tsubakimoto Chain Co 円筒状軸受部材及びその製造方法
JP2007218430A (ja) * 2007-03-13 2007-08-30 Tsubakimoto Chain Co チェーン用油溜まり盲溝付ブシュの製造方法

Patent Citations (4)

* Cited by examiner, † Cited by third party
Publication number Priority date Publication date Assignee Title
JPS58202920A (ja) * 1982-05-19 1983-11-26 Toyo Radiator Kk 管の内面における条溝加工装置
JP2000312943A (ja) * 1999-04-28 2000-11-14 Ricoh Co Ltd 円筒面を有する被加工物の製造方法及びその製造装置、並びに流体軸受の動圧溝の製造方法及びその製造装置
JP2005330997A (ja) * 2004-05-18 2005-12-02 Tsubakimoto Chain Co 円筒状軸受部材及びその製造方法
JP2007218430A (ja) * 2007-03-13 2007-08-30 Tsubakimoto Chain Co チェーン用油溜まり盲溝付ブシュの製造方法

Also Published As

Publication number Publication date
JP5270323B2 (ja) 2013-08-21

Similar Documents

Publication Publication Date Title
US8726515B2 (en) Oil-impregnated sintered bearing and method of producing the same
CN100427778C (zh) 衬套轴承
CN103154537A (zh) 具有微型凹口的压型连接杆钻孔
JP4746155B1 (ja) 半割すべり軸受の製造方法および半割すべり軸受
CN103697066B (zh) 用于滚动轴承的板材保持架
JP5270323B2 (ja) チェーン用油溜まり盲溝付ブシュの製造方法
CN105090406A (zh) 适于装备形成凸轮或摇臂的机械系统的制造辊子的方法
JP2006508302A (ja) 軸受シェル、軸受及び軸受シェルの製造方法
US10369620B2 (en) Bearing pin upset method to retain high hardness pins
JP2007225079A (ja) 斜め割りコンロッド用のすべり軸受
JP2009068558A (ja) 圧粉体と焼結軸受及びその製造方法
JP4942593B2 (ja) チェーン用油溜まり盲溝付ブシュの製造方法
DE102019107754A1 (de) Käfig- und walzenbaugruppe
JP4550516B2 (ja) コンロッドの製造方法およびコンロッド
JP2009127693A (ja) 軸受クリープ防止構造およびその製造方法
CN103362918B (zh) 用于与构件相连的套筒
JP4817985B2 (ja) スラストころ軸受
JP4578441B2 (ja) スラストころ軸受
JPWO2001058745A1 (ja) 履帯のリンクとピンとの固定構造
JP2009036367A (ja) 搬送用長寿命チェーン
JP4668846B2 (ja) スラストころ軸受
JP2007024100A (ja) オイルシールリング
JP2006348796A (ja) 板金製ロッカーアームの製造方法
JP2006316829A (ja) 円筒状軸受部材及びその製造方法
JP2010014033A (ja) エンジンのシリンダブロック、シリンダライナ及びそのシリンダボアの加工方法、並びに、シリンダライナの潤滑油保持部加工装置

Legal Events

Date Code Title Description
A621 Written request for application examination

Free format text: JAPANESE INTERMEDIATE CODE: A621

Effective date: 20110614

A977 Report on retrieval

Free format text: JAPANESE INTERMEDIATE CODE: A971007

Effective date: 20130204

A131 Notification of reasons for refusal

Free format text: JAPANESE INTERMEDIATE CODE: A131

Effective date: 20130213

A521 Written amendment

Free format text: JAPANESE INTERMEDIATE CODE: A523

Effective date: 20130305

TRDD Decision of grant or rejection written
A01 Written decision to grant a patent or to grant a registration (utility model)

Free format text: JAPANESE INTERMEDIATE CODE: A01

Effective date: 20130507

A61 First payment of annual fees (during grant procedure)

Free format text: JAPANESE INTERMEDIATE CODE: A61

Effective date: 20130509

R150 Certificate of patent or registration of utility model

Free format text: JAPANESE INTERMEDIATE CODE: R150

Ref document number: 5270323

Country of ref document: JP

Free format text: JAPANESE INTERMEDIATE CODE: R150