JP2010100729A - 室式コークス炉におけるコークス押出し時の側面荷重の推定方法及び推定された側面荷重に基づく室式コークス炉の操業方法 - Google Patents

室式コークス炉におけるコークス押出し時の側面荷重の推定方法及び推定された側面荷重に基づく室式コークス炉の操業方法 Download PDF

Info

Publication number
JP2010100729A
JP2010100729A JP2008273303A JP2008273303A JP2010100729A JP 2010100729 A JP2010100729 A JP 2010100729A JP 2008273303 A JP2008273303 A JP 2008273303A JP 2008273303 A JP2008273303 A JP 2008273303A JP 2010100729 A JP2010100729 A JP 2010100729A
Authority
JP
Japan
Prior art keywords
coke
furnace
side load
coal
furnace wall
Prior art date
Legal status (The legal status is an assumption and is not a legal conclusion. Google has not performed a legal analysis and makes no representation as to the accuracy of the status listed.)
Granted
Application number
JP2008273303A
Other languages
English (en)
Other versions
JP5182006B2 (ja
Inventor
Asayuki Nakagawa
朝之 中川
Takashi Arima
孝 有馬
Koichi Fukuda
耕一 福田
Kenji Kato
健次 加藤
Current Assignee (The listed assignees may be inaccurate. Google has not performed a legal analysis and makes no representation or warranty as to the accuracy of the list.)
Nippon Steel Corp
Original Assignee
Nippon Steel Corp
Priority date (The priority date is an assumption and is not a legal conclusion. Google has not performed a legal analysis and makes no representation as to the accuracy of the date listed.)
Filing date
Publication date
Application filed by Nippon Steel Corp filed Critical Nippon Steel Corp
Priority to JP2008273303A priority Critical patent/JP5182006B2/ja
Publication of JP2010100729A publication Critical patent/JP2010100729A/ja
Application granted granted Critical
Publication of JP5182006B2 publication Critical patent/JP5182006B2/ja
Active legal-status Critical Current
Anticipated expiration legal-status Critical

Links

Images

Landscapes

  • Coke Industry (AREA)

Abstract

【課題】室式コークス炉において、乾留不良域を含むコークスケーキが炉壁に存在する凹凸を通過する際の側面荷重を推定し、コークス押出し時の側面荷重を軽減する。
【解決手段】種々の炭中温度で乾留された試験用コークスケーキを用いて、種々の大きさの凹凸を通過させる押出し負荷測定試験を実施し、炭中温度Tと見掛体積弾性率Kとの関係(a)を求め、正常な炭中温度で乾留された場合に対する、炭中温度Tで乾留された場合の炉壁側面荷重Fwの乖離度Wと前記Kとの関係(b)を求め、コークス炉燃焼室の実測温度から炉幅方向中央部の炭中温度を推定し、炭中温度及びコークス炉炉壁の凹凸部の実測値と、前記(a)、(b)の関係から、コークスケーキが凹凸部を通過する際の炉壁側面荷重を推定する。また、推定された側面荷重が予め設定された炉壁煉瓦の耐力の基準値を下回るどうかを判定し、基準値を下回る乾留時間でコークスケーキを炭化室から押出すようにする。
【選択図】図1

Description

本発明は、例えば水平室式コークス炉のコークス押出し時において、炭化室の炉壁側面荷重を推定する方法及び推定された炉壁側面荷重に基づくコークス炉の操業方法に関するものであり、特に燃焼室の炉長方向の温度分布にバラツキのある場合に発生する未乾留領域を含むコークスケーキを押出す際の炉壁側面荷重を推定し、その増加を抑制するための操業方法に関するものである。
近年のコークス炉操業では、コークス品質及び生産性の向上を狙って炭化室内の石炭の装入(充填)密度が上昇する方向にあり、コークスケーキを押出す際に、炭化室の側壁(炉壁)にかかる荷重が上昇する傾向にある。
また、建設されて30年以上が経過して炉体の老朽化が進展しているコークス炉も増えており、コークス炉炭化室の炉壁煉瓦の損耗や欠損による減肉や煉瓦の脆化、煉瓦目地(接合部分)で発生した亀裂拡大などの要因により炉壁耐力が低下し補修の必要性が高まっていると同時に、コークス押出し時に炉壁耐力の低下による炉壁煉瓦の破孔等のトラブルが発生する恐れも高くなっている。
コークス押出し時に炉壁煉瓦の破孔が発生し、それに気づかずに次の装入を行うと、炉壁煉瓦が燃焼室側に脱落した後に生じた貫通孔を通じて炭化室側から燃焼室側に石炭が流入し、排気用の煙突から黒煙が発生したり、ガスポートを閉塞させて燃焼不良を起こし、乾留不良といった操業上のトラブルを誘発する。
このため、炉壁煉瓦の破孔が発生した場合は、当該炭化室への石炭装入を休止し、炉壁の破孔部分の補修を行う必要が生じるため、コークスの生産性を低下させることとなる。
一方、老朽化が進展したコークス炉の炭化室では、その炉壁にカーボンが付着して突起部(凸部)が形成されたり、炉壁煉瓦が欠損してえぐれ部(凹部)が形成されたりしている場合が多く認められ、炉壁表面の凹凸の度合いが増加している。突起部(凸部)またはえぐれ部(凹部)をコークスケーキが通過する際、突起部(凸部)では押出し機ラム側の斜面から、えぐれ部(凹部)ではコークガイド車側の斜面から、それぞれ反力を受け、この反力に相当する側面荷重が炉壁に作用する。
コークス押出し時に炭化室の炉壁の特定箇所に作用する側面荷重が過度に増加し、当該箇所での側面荷重が炉壁耐力を上回った場合に炉壁の破孔が発生することとなる。
このような状況から、炭化室から乾留後のコークスケーキを押出すのに必要な力や炉壁に作用する荷重を事前に評価(推定)し、炉壁に過度の荷重が付加されないようにすることがより一層重要になっており、本発明者らも、先に、炉壁に凹凸が形成されている場合を想定したコークス押出し負荷や側面荷重の測定試験の実施ができる装置と、その装置を用いたコークス押出し負荷の評価方法について特許出願している(特許文献1、2参照)。
一方、長期稼動のコークス炉では、使用年数の増加につれて、燃焼室内に燃焼ガスを吹き込むガスポートが石炭粉の蓄積などの様々な理由により閉塞しやすくなり、炉長方向に例えば30室前後存在する燃焼室の多くで燃焼不良が発生している。炭化室内の石炭は、両側炉壁を介して隣接する燃焼室からの燃焼熱の伝熱により炭化室の両側炉壁から炉幅方向中央に向かって加熱される。このため、燃焼室の炉長方向の特定箇所で燃焼不良が発生すると、その箇所での炭化室内での炉幅方向への伝熱量が低下し、石炭の昇温が遅れるため、コークス押出し時に、コークスケーキの炉幅方向中央部付近に乾留不良が発生する。
石炭は加熱されて温度が上昇するにつれて、順次、粉炭層、軟化溶融層、セミコークス層、コークス層と変化するため、炭化室の炉幅方向中央部付近で発生する乾留不良領域は、燃焼室の燃焼不良による昇温遅れの程度によりその存在割合は変わるものの、主として粉炭層、軟化溶融層、および、セミコークス層の混合層として存在していると考えられる。
これらの乾留不良領域は、正常に乾留されたコークス層に比べて圧縮挙動が異なり、また、正常乾留コークスで得られる炉幅方向の収縮が少ないため、乾留不良領域を含むコークスケーキを押出す場合は、正常に乾留されたコークスケーキに比べて余分に押力が必要となる。その結果、炉壁側面荷重が高くなるため、炉壁面に破孔が発生したりする等、炉体に大きなダメージを与える危険性が高くなる。
したがって、コークスケーキを炭化室から押出す際の炉壁に作用する荷重をより精度よく評価して、押し詰まり等のコークス押出しトラブルの発生を抑制するとともに、炉体に大きなダメージを与えないようにするには、炉壁に存在する凹凸ばかりでなく、コークスケーキが乾留不良領域を含む場合も考慮して、炉壁側面荷重を評価(推定)する必要があるが、従来、乾留不良領域を含むコークスケーキを押出す時の炉壁側面荷重を精度良く推定するための方法については、十分な検討がなされていなかった。
特開2008−208337号公報 特願2008−003384号
そこで、本発明は、室式コークス炉において、乾留不良領域を含むコークスケーキが炉壁に存在する突起部(凸部)またはえぐれ部(凹部)を通過する際に最大となる炉壁側面荷重を推定し、コークス押出の最適なタイミングを決定することにより、コークス押出し時の炉壁側面荷重を軽減し、コークス押し詰まりや炉壁煉瓦の破孔等のトラブルの発生を防止できる方法を提供することを課題とする。
コークスケーキが乾留不良領域を含んでいる場合、乾留不良領域は、主として、粉炭層、軟化溶融層、セミコークス層、および、コークス層の何れか、または、これらの混合層と考えられるから、正常に乾留されたコークスケーキに比べてその見掛体積弾性率あるいは見掛体積圧縮率が異なっているものと考えられる。
本発明者らは、乾留後のコークスケーキの見掛体積弾性率あるいは見掛体積圧縮率と、炉壁面に存在する突起部(凸部)またはえぐれ部(凹部)をコークスケーキが通過する際の炉壁側面荷重との間の関係を実験的に調査した結果、両者の間には一定の関係があることを見出した。
そして、コークス炉燃焼室の炉長方向の特定箇所における温度から伝熱モデル計算により乾留後のコークスケーキの見掛体積弾性率あるいは見掛体積圧縮率を推定して、その値から実際のコークス押出し負荷を推定することにより、上記課題を解決できることを見出した。
そのような本発明の要旨は以下のとおりである。
(1)(a)種々の炭中温度Tで乾留された試験用コークスケーキを用いて、炉壁に種々の高さを有する突起部、または、種々の深さを有するえぐれ部が様々な位置に形成されていることを想定した押出し負荷測定試験を実施し、コークスケーキが突起部またはえぐれ部を通過する際に最大となる側面荷重Fw(T)、コークスケーキが突起部またはえぐれ部を通過する前の体積Vおよび通過した後の体積Vを測定し、下記(1式)で定義される見掛体積弾性率K(T)と、炭中温度Tとの関係を求め、
(b)正常な炭中温度Tで乾留された試験用コークスケーキが突起部またはえぐれ部を通過する際に最大となる側面荷重Fwを基準値とし、その基準値に対する炭中温度Tで乾留された試験用コークスケーキが突起部またはえぐれ部を通過する際に最大となる側面荷重Fw(T)の下記(2式)で定義される乖離度W(T)と、見掛体積弾性率K(T)との関係を求め、
(c)室式コークス炉の燃焼室炉長方向の実測温度から推定された炉長方向各位置における炭化室炉幅方向中央部の炭中温度、および、室式コークス炉の炭化室炉壁の炉長方向および炉高方向各位置における健全な煉瓦面に対する突起部高さまたはえぐれ部深さの実測値と、各位置における側面荷重の基準値Fwと、前記(a)で求められた見掛体積弾性率K(T)と炭中温度Tとの関係、および、前記(b)で求められた乖離度W(T)と見掛体積弾性率K(T)の関係から、コークス押出し時において、炭化室炉壁の炉長方向及び炉高方向の各位置における側面荷重F(T)を推定する、
ことを特徴とする室式コークス炉におけるコークス押出し時の側面荷重の推定方法。
K(T)=Fw(T)/((V−V)/V) ・・・(1式)
W(T)=(Fw(T)−Fw)/Fw ・・・(2式)
(2)前記見掛体積弾性率K(T)に代えて下記(3)式で定義される見掛体積圧縮率κ(T)を用いることを特徴とする上記(1)に記載の室式コークス炉におけるコークス押出し時の側面荷重の推定方法。
κ(T)=1/K(T) ・・・(3式)
(3)(d)上記(1)または(2)に記載の側面荷重の推定方法によって求められた側面荷重の推定値が、炭化室炉壁の炉長方向及び炉高方向の各位置において予め設定された炉壁煉瓦の耐力の基準値を下回るかどうかを判定し、
(e)炭化室炉壁の炉長方向及び炉高方向の1または2箇所以上に前記側面荷重の推定値が前記基準値を上回る箇所がある場合は、乾留時間を延長し、該側面荷重の推定値が前記基準値を下回る時点でコークスケーキを炭化室から押出し、前記側面荷重の推定値が前記基準値を下回る場合は、前記乾留時間を延長せずに、コークスケーキを炭化室から押出す、ことを特徴とする室式コークス炉の操業方法。
本発明によれば、室式コークス炉の炭化室からコークスケーキを押出す場合において、乾留不良領域を含むコークスケーキが炉壁に存在する突起部(凸部)またはえぐれ部(凹部)を通過する際に最大となる炉壁側面荷重を高精度に推定することができ、その推定値に基づいてコークスケーキの最適な押出し時期を高精度に推定することができるので、コークス押出し時の炉壁側面荷重を軽減し、炉壁煉瓦破孔等のトラブル発生を防止できる。
その結果、炭化室炉壁及び炉体に対するダメージが低減され、炉体寿命の延長を図ることができるだけでなく、コークス炉の操業が安定化して押し詰め等のトラブルが減少するため、コークスの生産性向上を図ることができる。
前記のように、コークス炉の炉長方向に例えば30室前後存在する燃焼室の一部に燃焼不良箇所があり、通常の温度レベルより低い箇所が生じると、その箇所の炭化室内の石炭に昇温遅れが発生するため、コークス押出し時に炉幅方向中央部付近にいわゆる乾留不良(未乾留)領域を含むコークスケーキを押出すことになる。
乾留不良領域を含むコークスケーキを押出す場合は、正常に乾留されたコークスケーキに比べて炉壁側面荷重が高くなることが予想される。その理由としては、乾留不良領域を含むコークスケーキは、再固化温度以降で発生する炉幅方向の熱収縮(水平焼減り)が十分に進行しないため、コークス押出し時に、コークス塊と炉壁間の隙間や炉幅方向中心部の隙間が正常乾留時に比べて少ないためと考えられる。
そこで、本発明者らは、炉壁面に存在する凹凸部位をコークスケーキが通過する場合には、コークスケーキが炉幅方向に変形し易い(圧縮され易い)ほど凹凸部位を通過する際の炉壁側面荷重が小さくなると考えられるので、コークスケーキに未乾留領域を含む場合のコークス押出し負荷は、コークスケーキの見掛体積弾性率と密接な関係にあると考え、正常に乾留されたコークスケーキを押出す際の炉壁側面荷重と、乾留不良領域を含むコークスケーキを押出す際の炉壁側面荷重の差が、見掛体積弾性率とどのように関連するかを調べた。
なお、以下は、コークスケーキの見掛体積弾性率について説明するが、見掛体積弾性率は、(1/見掛体積圧縮率)と定義されるものであり、見掛体積圧縮率でも同様に取り扱うことができる。
また、「見掛」を付して表記したのは、通常、弾性率(または圧縮率)は、均一な物質について定められるのに対して、前述のごとく乾留不良域は、粉炭層、軟化溶融層、セミコークス層、および、コークス層の何れか、または、これらの混合層と考えられ、このように多種の層で構成された乾留不良域を、単一層の物質と区別するためである。
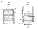
本発明者らは、小型電気乾留炉を用いて、石炭の炉幅方向中心部の到達温度(以下、単に炭中温度という場合もある)が種々異なる条件で乾留して試験用コークスケーキを製造し、特許文献1に示されるような押出し負荷測定試験装置(図3及び図5にその概略を示す)を用いて、これらの異なる炭中温度Tで乾留して得られた試験用コークスケーキの押出し負荷及び側面荷重の測定試験を実施した。
図3(a)に示されるように、一方の側面パネル2に、健全な煉瓦面に対して高さ(厚み)hの突起6を取り付けた押出し負荷測定試験装置に、異なる炭中温度Tで乾留して得られた試験用コークスケーキ1をセットし、押圧し方向からの力Fp(T)と、その反対側からの反力Fr(T)を作用させながら、図3(b)に示されるように、突起6の手前側のコークス塊が突起6のテラス面7に乗り上げるまで押出し、そのときの突起6のテラス面7に作用する側面荷重Fw(T)を求めた。
また、試験用コークスケーキのLcの範囲について、突起6のテラス面7に乗り上げる前のコークスケーキの体積Vと突起6のテラス面7に乗り上げた後のコークスケーキの体積V(=V−ΔV)を測定し、コークスケーキの見掛体積弾性率K(T)(Pa)を下式によって求めた。
K(T)=Fw(T)/(ΔV/V
図1に、この結果得られた、異なる炭中温度Tで乾留したコークスケーキに対する炭中温度Tと見掛体積弾性率K(T)との関係を示す。
なお、炉壁面に存在するえぐれ部を想定する場合には、図5(a)、(b)に示すように、一方の側面パネル2として、健全な煉瓦面に対して深さdのえぐれ9が形成されたパネルを用いて、突起6が取り付けられている場合と同様のコークスケーキの押出し負荷測定試験を実施し、えぐれ部内に存在するコークス塊が、えぐれ部斜面11を登坂し、えぐれ部出側の平滑面10に乗り上げるまで押出し、そのときの乗り上げに必要な力ΔF(T)と、えぐれ部出側の平滑面10に作用する側面荷重Fw(T)と、乗り上げ前後のコークスケーキの体積V、Vを測定し、炉壁面にえぐれ部が存在する場合の炭中温度Tと見掛体積弾性率K(T)との関係を求めることができる。
次に、通常の正常な乾留到達温度(T=980℃)まで昇温(乾留)して得られた試験用コークスケーキを用いて測定した突起部(凸部)又はえぐれ部(凹部)を通過する際の最大側面荷重Fwを基準値として、種々の異なる炭中温度Tまで昇温(乾留)して得られた試験用コークスケーキを用いて測定した突起部又はえぐれ部を通過する際の最大側面荷重Fw(T)の乖離度W(T)を下記式に基づいて求めた。
W(T)=(Fw(T)−Fw)/Fw
図2に、このようにして得られた、種々の異なる炭中温度Tまで昇温(乾留)して得た試験用コークスケーキの見掛体積弾性率K(T)と乖離度W(T)との関係を示す。
なお、図2でカッコ内の温度は、小型電気乾留炉を用いて石炭を乾留して試験用コークスケーキを製造する際に、熱電対で実測した乾留終了時点での装入炭の炉幅方向中央部の到達温度(炭中温度)を示している。正常乾留の炭中温度Tは980℃である。
図2に示されるように、異なる炭中温度Tで乾留して得られたコークスケーキの見掛体積弾性率K(T)と乖離度W(T)との間には、良好な対応関係が認められる。
以上の結果より、炭中温度Tが分かれば、見掛体積弾性率K(T)を介して正常な乾留温度で乾留されたコークスケーキが炉壁に及ぼす側面荷重からの乖離度W(T)が分かることになる。
したがって、実コークス炉で使用する装入炭毎に、試験用コークスケーキの異なる炭中温度条件、および、異なる突起部(凸部)高さまたはえぐれ部(凹部)深さの条件で押出し負荷測定試験を行うことにより、図1に示すような炭中温度Tと見掛体積弾性率K(T)の関係、及び、図2に示すような、突起部又はえぐれ部を通過する際に最大となる側面荷重Fw(T)の乖離度W(T)と見掛体積弾性率K(T)の関係をそれぞれの条件毎に求めておけば、実コークス炉の炭化室炉壁の凹凸測定情報から得られる突起部(凸部)高さ又はえぐれ部(凹部)深さの値と、各燃焼室の炉長方向の実測温度から算出される炭中温度(炉幅方向中央部の到達温度)と、正常な乾留温度で乾留されたコークスケーキが炉壁に及ぼす側面荷重の基準値とを基に、実コークス炉におけるコークス押出し時の突起部又はえぐれ部を通過する際に最大となる側面荷重を推定することができ、これらからコークス押出し時にコークスケーキ内に乾留不良域を含む場合の側面荷重を推定することができる。
そして、コークス押出し時の側面荷重の推定値が、コークス炉炭化室炉壁の炉長方向及び炉高方向の各位置において予め設定された炉壁煉瓦の耐力の基準値(管理値)を上回る場合には、事前にコークス押出し負荷低減のための操業アクションを行うことができ、コークス押出し時の炉壁破孔発生などの操業トラブルを回避することができる。
本発明は、以上のような実験的な検討に基づいてなされたものであり、以下、本発明の実施の形態について更に説明する。
まず、(a)、(b)の段階を実施し、(a)コークスケーキの炭中温度Tと見掛体積弾性率K(T)との関係(図1)、及び、(b)突起部又はえぐれ部を通過する際に最大となる炉壁側面荷重Fw(T)の基準値からの乖離度W(T)と見掛体積弾性率K(T)との関係(図2)を求める。
(a)の段階では、以下の(a1)〜(a3)のように実施する。
(a1)小型電気乾留炉のような試験炉を用いて、装入炭を正常乾留域から未乾留域にわたる炭中温度(385℃、500℃、600℃、850℃、980℃)で乾留して試験用コークスケーキ(概略寸法:長さ610×高さ370×幅430mm)を準備する。
(a2)前記試験用コークスケーキに対し、炉壁に相当する一方の側壁に突起部(凸部)又はえぐれ部(凹部)が形成された押出し負荷測定試験装置を用いて、異なる突起部高さ又はえぐれ部深さの条件、及び、突起部またはえぐれ部の形成されている炭化室炉長方向及び炉高方向の異なる位置の条件でコークス押出し試験を実施し、コークスケーキが突起部又はえぐれ部を通過する際に突起部テラス面またはえぐれ部後方煉瓦面に作用し、最大となる炉壁側面荷重Fw(T)と、試験用コークスケーキが突起部又はえぐれ部を通過する前のコ−クスケーキ体積V、通過した後のコ−クスケーキ体積V(=V−ΔV)、及び、通過した前後のコ−クスケーキ体積変化量ΔVを測定する。
コークス押出し負荷測定の一例として、試験装置とその装置を用いた試験方法の概略を図3及び図5に示す。
この装置では、試験用コークスケーキ1の前後に押出し側と受け側の当て板4、5を配置し、それぞれの当て板を油圧ジャッキに接続して、試験用コークスケーキ1に対し押出し力Fpと、炭化室炉長方向の想定位置に応じた一定の反力Frを加えながら、試験用コークスケーキを押出すようになっており、また、コークスケーキ1の両側面には、実コークス炉の炭化室炉壁に相当する左右の側面パネル2、3を油圧ジャッキを介して保持するようになっている。
ここで、押出し力に対して反力を付加するのは、実コークス炉では炭化室のPS(押出し機側)からCS(コークガイド車側)に行くにしたがって、炉長方向にコークスケーキ内を伝達する力(または、圧力)が減少するため、この炉長方向の位置の違いによる力(または、圧力)の違いを擬似的に再現するためである。
当て板4、5と側面パネル2、3の外側にはロードセル(荷重変換器)を複数個設置し、押出し荷重Fpと受け側荷重Frを測定するとともに、押出し時にコークスケーキから側面パネル2、3に作用する側面荷重Fwを測定する。
炉壁に突起部が存在する場合を想定したコークス押出し負荷測定試験を実施するには、図3に示すように、入側にテーパーが付された突起6を側面パネル2に設ける。突起形状は、コークス炉における実態を反映させて、厚み:0〜50mm、斜面:180mm、テラス面:220〜440mmのものが用いられる。コークスケーキ1の上部には、錘を積載して、突起の炉高方向の想定位置を調整できるようにする。
また、炉壁にえぐれ部が存在する場合を想定した試験を実施するには、図5に示すように、入側と出側にテーパーが付されたえぐれ9を側面パネル2に設ける。
図4に、図3に示した装置を用いて押出し試験を実施し、その結果得えられた押出し中の負荷プロファイルの一例を示す。
コークスケーキの押出し開始後、押出し側と受け側の荷重Fp、Frが増加し、受け側の反力が油圧ジャッキのシリンダの設定値(約1.9tonf)に到達した後はほぼ一定値を維持して推移する。押出し側油圧ジャッキのシリンダヘッドの移動距離が120〜130mm以降では、コークスケーキ1が突起の斜面8を登坂しはじめ、左右の側面荷重が増加し出す。さらに押出しが進み、コークスケーキが突起テラス面7と押出し方向左側の側面パネル3で構成される炉幅狭小部に侵入していくと、押出し荷重と両側側面荷重はさらに増加する。押出し距離(シリンダヘッドの移動距離)が500mmでは、コークスケーキのほぼ全体がテラス面に乗り上げるため押出し荷重Fpと側面荷重Fwがともに最大になる。
この最大値から、コークスケーキが突起部を通過する(乗り越える)のに必要な押出し力ΔF(=Fp−Fr)及び側面荷重Fwを得ることができる。
(a3)炭中温度Tが異なる各試験用コークスケーキの押出し負荷測定試験後、炭中温度Tが異なる各試験用コークスケーキが突起部またはえぐれ部を通過する前後、つまり、Lcの範囲のコークスケーキの押出し前の体積Vと押出し後の体積Vの測定値、及びその体積の変化量ΔV(=V−V)を求める。
ここで、試験用コークスケーキが突起部またはえぐれ部を通過するとは、図3に示した突起部については、突起部よりも手前(図3では上側)にあるコークスケーキが突起部斜面8を登坂し、さらに突起部テラス面7に乗り上げた状態を、または、図5に示したえぐれ部については、えぐれ部で生成したコークスケーキがえぐれ部出側の斜面11を登坂し、さらにえぐれ部出側の平滑面10に乗り上げた状態をそれぞれ意味する。
また、試験用コークスケーキが突起部を通過する(乗り越える)際に最大となる側面荷重から、試験用コークスケーキが突起部テラス面またはえぐれ部後方煉瓦面にかかる側面荷重Fw(T)を求め、その見掛体積弾性率K(T)を下式によって求める。
K(T)=1/κ(T) (κは体積圧縮率)
=Fw(T)/(ΔV/V
このようにして、コークスケーキの見掛体積弾性率K(T)と炭中温度Tとの関係(図1)が求められる。
(b)正常な乾留(炭中温度980℃)で得られたコークスケーキが突起部またはえぐれ部を通過する際に最大となる側面荷重Fwを基準とし、その基準に対する炭中温度Tで乾留した未乾留領域を含むコークスケーキが突起部またはえぐれ部を通過する際に最大となる側面荷重Fw(T)の乖離度W(T)を次式により求める。
W(T)=(Fw(T)−Fw)/Fw
そして、前記(a)の段階で求めた炭中温度Tと見掛体積弾性率K(T)との関係を用いて、コークスケーキが突起部またはえぐれ部を通過する際に最大となるFw(T)の乖離度W(T)と見掛体積弾性率K(T)との関係(図2)を求める。
以上のようにして得られた結果の一例を、図1及び2に示す。図1から特に乾留時の炭中温度(乾留終了時における装入炭の炉幅方向中央部の到達温度)が概ね550℃〜900℃の間では、コークスケーキの見掛体積弾性率K(T)の値が正常乾留コークスの値(図1中に点線で表示)以上となり、試験用コークスケーキが突起部またはえぐれ部を通過する際に最大となる側面荷重Fw(T)の基準値との乖離度W(T)の値が正常乾留コークスの値より高くなって、突起部またはえぐれ部での側面荷重が正常乾留時に比べて増加することが示されている。
また、図1、2で得られたデータからそれぞれの関係を近似式で表しておけば、炭中温度から、見掛体積弾性率及び乖離度を計算によっても求めることができる。図1、2には、得られた近似式の例を付記した。
次に、(c)の段階を実施し、(a)、(b)の段階で求められた試験用コークスケーキの炭中温度Tとコークスケーキの見掛体積弾性率K(T)の関係と、試験用コークスケーキが突起部またはえぐれ部を通過する際に最大となる側面荷重Fw(T)の乖離度W(T)とコークスケーキの見掛体積弾性率K(T)との間の関係と、基準となる側面荷重Fwとから、コークス押出し時の炉壁側面荷重を推定する。
(c)室式コークス炉の燃焼室は、炭化室の炉長方向に沿って細分された多数のフリュー(燃焼室)からなっており、各フリューで燃焼料ガスを燃焼させ、珪石煉瓦の炉壁を介して炭化室の石炭を加熱(乾留)している。燃焼室では、炉体煉瓦内に埋設された温度計により常時、あるいは、放射温度計などを用いて定期的に各フリューの温度を実測して、炉長方向の温度分布が最適になるように、必要に応じて燃料ガス量や空気量を調整して燃焼状態が管理される(燃焼管理)。これにより、炭化室の炉長方向の温度分布を所定パターン(通常は押出し機側からコークガイド車側に所定の勾配を有する温度分布とする)になるようにしている。
そのような実コークス炉でのコークス炉燃焼室の各フリューの実測温度(炉長方向温度分布)から、各フリュー(炉長方向各位置)に隣接する炭化室での炉幅方向の炭中温度分布をそれぞれ推定する。
炉長方向各位置における炭化室の炭中温度Tは、当該燃焼室フリューの温度実測値から、コークス炉の炉体条件(炉壁煉瓦の厚み、熱伝導率、等)及び石炭装入条件(装入嵩密度、水分、等)等を用いて伝熱モデルによる計算を行って算出することができる(例えば、富士製鐵技報,17(1968年),353頁参照)。
炉長方向各位置における炭化室の炭中温度Tが求められると、前記(a)、(b)の段階で求められた試験用コークスケーキの炭中温度Tと見掛体積弾性率K(T)の関係(図1)、及び、試験用コークスケーキが突起部またはえぐれ部を通過する際に最大となる側面荷重Fw(T)の乖離度と見掛体積弾性率K(T)との関係(図2)から、試験用コークスケーキが突起部またはえぐれ部を通過する際に最大となる側面荷重Fw(T)の乖離度W(T)が求められる。
そして、小型電気乾留炉で正常に乾留(炭中温度To:980℃)して製造した試験用コークスケーキを用いて押出し負荷測定試験を行い、試験用コークスケーキが突起部またはえぐれ部を通過する際に最大となる側面荷重を基準として、炉長方向各位置における各炭中温度Tで乾留されたコークスケーキが当該位置の炉壁に突起部またはえぐれ部があった場合に突起部またはえぐれ部を通過する際に最大となる側面荷重を推定する。
実コークス炉の炉壁の突起部またはえぐれ部の状態については、例えば、特開2008−201993号公報によって、炭化室炉壁の形状を炉壁面の炉長方向及び炉高方向、炉壁面の厚み方向を3次元的に測定し、炉壁面に存在する凹凸部(突起部またはえぐれ部)の位置やその形状データを定量的に把握する方法が提案されている。このような方法をコークスケーキ押出し後の空窯状態の炭化室に適用すれば、長期間の使用により老朽化が進展した実コークス炉の炭化室炉壁面の炉長方向及び炉高方向(2次元)における凹凸情報(凸部における健全な煉瓦表面(基準)からの高さ、凹部における健全な煉瓦表面(基準)からの深さ)を、定期的に得ることができる。
さらに、上述のとおり、実コークス炉の炭化室炉長方向の炭中温度は、燃焼管理のための燃焼室各フリュー温度の実測値を基に伝熱モデルにより計算することで得られる。
なお、この際、実コークス炉での燃焼室の各フリュー温度を炉高方向にも測定することにより、それらの各測定点に対応した位置でのコークス炉炭化室の炭中温度を伝熱モデルにより計算することができることは言うまでもない。
コークスケーキが炭化室炉壁の突起部またはえぐれ部(凹凸部)を通過する際に最大となる側面荷重は、凹凸部の厚みまたは深さや凹凸部の炉長方向や炉高方向の存在位置によって変化する。
このため、上記のコークスケーキの押出し負荷測定試験を、突起の厚み、反力の大きさ(炭化室炉長方向の凹凸の存在位置を考慮)、コークスケーキ上部に乗せる錘の量(炭化室炉高方向の凹凸の存在位置を考慮)を種々変化させて実施して、それぞれの条件毎に、図1、2に示される関係を求めておけば、炉壁に存在する凹凸部の位置や形状のデータから、個々の凹凸部による炉壁側面荷重をより正確に推定することができる。
したがって、実コークス炉で使用する装入炭毎に、小型電気乾留炉ならびに突起部(凸部)またはえぐれ部(凹部)を有する側面パネルを備えた押出し負荷測定試験装置を用いて、試験用コークスケーキの炭中温度T条件、及び、突起部(凸部)における健全な煉瓦表面からの高さの条件、または、えぐれ部(凹部)における健全な煉瓦表面からの深さの条件を様々に変えて、試験用コークスケーキの押出し負荷測定試験を行い、予め試験用コークスケーキの炭中温度Tと見掛体積弾性率K(T)の関係(図1)、及び、試験用コークスケーキが突起部またはえぐれ部を通過する際に最大となる側面荷重Fw(T)の乖離度W(T)と見掛体積弾性率K(T)の関係(図2)を求め、これらの関係に基づいて、実コークス炉の炭化室炉壁の炉長方向及び炉高方向における凸部高さ及び凹部深さの実測値と、燃焼室の各フリュー温度実測値(炉長方向温度分布実測値)から伝熱モデルによる計算で求められる炭化室の炉長方向各位置におけるコークスケーキの炭中温度Tと、正常に乾留したコークスケーキによる側面荷重の基準値とから、実コークス炉の炭化室炉壁の炉長方向及び炉高方向各位置に存在する突起部またはえぐれ部を通過する際に最大となる側面荷重Fw(T)を求めることができる。
以上のように(c)の段階で実コークス炉における最大側面荷重の推定値を求めた後、更に、(d)、(e)の段階を実施し、炭化室炉壁の炉長方向及び炉高方向の各位置において予め設定された炉壁煉瓦の耐力の基準値より低くなる最適なコークス押出しタイミングを決定し、コークス押出し時の炉壁側面荷重増加による炉壁破孔などの操業トラブルを回避し、炉壁側面荷重低減によりコークス炉の炭化室炉壁に過度の負荷がかからないように操業する。
(d)上記(c)の段階で推定された、実コークス炉における炭化室炉壁の炉長方向及び炉高方向各位置での最大となるコークス押出し時の炉壁側面荷重が、例えば、炉壁破孔が発生しない許容値として炭化室炉壁の炉長方向及び炉高方向の各位置において予め設定された炉壁煉瓦の耐力の基準値を下回るかどうかを判定する。
(e)上記(d)の段階での判定の結果、推定炭化室炉壁の炉長方向及び炉高方向の1または2箇所以上に前記側面荷重の推定値が前記基準値を上回る箇所がある場合は、炉幅方向のコークスケーキの収縮による炉壁とコークス塊間の隙間を増加させるために、更に乾留時間(特に火落ち時点から押出し時までの置き時間)を延長して、再度(c)及び(d)の段階を実行して、炉壁側面荷重の推定値が前記基準値を下回った時点でコークスケーキを炭化室から押出すようにする。
一方、前記炉壁側面荷重の推定値が前記基準値を下回る場合は、前記乾留時間を延長せずに、コークスケーキを炭化室から押出せばよい。
なお、上記のように前記乾留時間を延長するかどうかを判断する際、炭化室内の複数箇所で側面荷重の推定値が前記基準値(管理値)を上回っているような場合は、当該箇所の全てにおいて、推定値が基準値を下回るまで前記乾留時間を延長するのが妥当である。
以上説明したように、本発明では、乾留不良領域を含むコークスケーキを押出す場合の炉壁側面荷重を高精度に推定することができる。その結果、コークス押出し時にコークスケーキ内に乾留不良域が含まれる場合でも、炉壁側面荷重の推定値を基に予め必要な操業アクションをとり、最適な押出し時期を決定することができ、炉壁側面荷重を軽減し、炉壁煉瓦の破孔や炉壁損壊、コークス押し詰まり等の操業上のトラブルを防止できる。よって、コークス炉の操業安定化と炉体寿命の延長が図れる他、トラブル発生による操業停止時間が減るので、コークス生産量が増加するといった相乗効果も得られる。
コークス押出し負荷測定試験によって得られた、炭中温度Tとコークスケーキの見掛体積弾性率K(T)の関係の一例を示す図である。 異なる炭中温度Tで乾留したコークスケーキを用いた押出し負荷測定試験によって得られた、コークスケーキの見掛体積弾性率K(T)と、突起部またはえぐれ部を通過する際に最大となる炉壁側面荷重Fw(T)の基準値に対する乖離度W(T)との関係の一例を示す図である。 炉壁に突起部が存在する場合を想定したコークス押出し負荷測定試験装置と方法の概略を説明するための図である。 図3で示されるコークス押出し負荷測定試験装置を用いた押出し試験における測定結果の一例を示す図である。 炉壁にえぐれ部が存在する場合を想定したコークス押出し負荷測定試験装置と方法の概略を説明するための図である。
符号の説明
1 試験用のコークスケーキ
2、3 側面パネル
4 押出し側当て板
5 受け側当て板
6 突起
7 突起部テラス面
8 突起部斜面
9 えぐれ
10 えぐれ部出側の平滑面(煉瓦面)
11 えぐれ部斜面
h 突起部厚み
d えぐれ部深さ

Claims (3)

  1. (a)種々の炭中温度Tで乾留された試験用コークスケーキを用いて、炉壁に種々の高さを有する突起部、または、種々の深さを有するえぐれ部が様々な位置に形成されていることを想定した押出し負荷測定試験を実施し、コークスケーキが突起部またはえぐれ部を通過する際に最大となる側面荷重Fw(T)、コークスケーキが突起部またはえぐれ部を通過する前の体積Vおよび通過した後の体積Vを測定し、下記(1)式で定義される見掛体積弾性率K(T)と、炭中温度Tとの関係を求め、
    (b)正常な炭中温度Tで乾留された試験用コークスケーキが突起部またはえぐれ部を通過する際に最大となる側面荷重Fwを基準値とし、その基準値に対する炭中温度Tで乾留された試験用コークスケーキが突起部またはえぐれ部を通過する際に最大となる側面荷重Fw(T)の下記(2)式で定義される乖離度W(T)と、見掛体積弾性率K(T)との関係を求め、
    (c)室式コークス炉の燃焼室炉長方向の実測温度から推定された炉長方向各位置における炭化室炉幅方向中央部の炭中温度、および、室式コークス炉の炭化室炉壁の炉長方向および炉高方向各位置における健全な煉瓦面に対する突起部高さまたはえぐれ部深さの実測値と、各位置における側面荷重の基準値Fwと、前記(a)で求められた見掛体積弾性率K(T)と炭中温度Tとの関係、および、前記(b)で求められた乖離度W(T)と見掛体積弾性率K(T)の関係から、コークス押出し時において、炭化室炉壁の炉長方向及び炉高方向の各位置における側面荷重F(T)を求める、
    ことを特徴とする室式コークス炉におけるコークス押出し時の側面荷重の推定方法。
    K(T)=Fw(T)/((V−V)/V) ・・・(1)
    W(T)=(Fw(T)−Fw)/Fw ・・・(2)
  2. 前記見掛体積弾性率K(T)に代えて下記(3)式で定義される見掛体積圧縮率κ(T)を用いることを特徴とする請求項1に記載の室式コークス炉におけるコークス押出し時の側面荷重の推定方法。
    κ(T)=1/K(T) ・・・(3)
  3. (d)請求項1または請求項2に記載の側面荷重の推定方法によって求められた側面荷重の推定値が、炭化室炉壁の炉長方向及び炉高方向の各位置において予め設定された炉壁煉瓦の耐力の基準値を下回るかどうかを判定し、
    (e)炭化室炉壁の炉長方向及び炉高方向の1または2箇所以上に前記側面荷重の推定値が前記基準値を上回る箇所がある場合は、乾留時間を延長し、該側面荷重の推定値が前記基準値を下回る時点でコークスケーキを炭化室から押出し、前記側面荷重の推定値が前記基準値を下回る場合は、前記乾留時間を延長せずに、コークスケーキを炭化室から押出す、
    ことを特徴とする室式コークス炉の操業方法。
JP2008273303A 2008-10-23 2008-10-23 室式コークス炉におけるコークス押出し時の側面荷重の推定方法及び推定された側面荷重に基づく室式コークス炉の操業方法 Active JP5182006B2 (ja)

Priority Applications (1)

Application Number Priority Date Filing Date Title
JP2008273303A JP5182006B2 (ja) 2008-10-23 2008-10-23 室式コークス炉におけるコークス押出し時の側面荷重の推定方法及び推定された側面荷重に基づく室式コークス炉の操業方法

Applications Claiming Priority (1)

Application Number Priority Date Filing Date Title
JP2008273303A JP5182006B2 (ja) 2008-10-23 2008-10-23 室式コークス炉におけるコークス押出し時の側面荷重の推定方法及び推定された側面荷重に基づく室式コークス炉の操業方法

Publications (2)

Publication Number Publication Date
JP2010100729A true JP2010100729A (ja) 2010-05-06
JP5182006B2 JP5182006B2 (ja) 2013-04-10

Family

ID=42291652

Family Applications (1)

Application Number Title Priority Date Filing Date
JP2008273303A Active JP5182006B2 (ja) 2008-10-23 2008-10-23 室式コークス炉におけるコークス押出し時の側面荷重の推定方法及び推定された側面荷重に基づく室式コークス炉の操業方法

Country Status (1)

Country Link
JP (1) JP5182006B2 (ja)

Cited By (3)

* Cited by examiner, † Cited by third party
Publication number Priority date Publication date Assignee Title
JP2010100725A (ja) * 2008-10-23 2010-05-06 Nippon Steel Corp 室式コークス炉におけるコークス押出し力の推定方法及び推定された押出し力に基づく室式コークス炉の操業方法
JP2015117280A (ja) * 2013-12-17 2015-06-25 新日鐵住金株式会社 コークス炉におけるコークス押出負荷の推定方法
CN113470768A (zh) * 2021-06-15 2021-10-01 山西太钢不锈钢股份有限公司 一种高炉开炉料联合计算中测算填充料线的方法

Citations (4)

* Cited by examiner, † Cited by third party
Publication number Priority date Publication date Assignee Title
JP2008189772A (ja) * 2007-02-02 2008-08-21 Nippon Steel Corp コークス押出し負荷の評価方法
JP2008303239A (ja) * 2007-06-05 2008-12-18 Nippon Steel Corp コークス炉におけるコークス押出負荷の推定方法
JP2009167226A (ja) * 2008-01-10 2009-07-30 Nippon Steel Corp コークス押出し負荷の評価方法及び装置
JP2010100725A (ja) * 2008-10-23 2010-05-06 Nippon Steel Corp 室式コークス炉におけるコークス押出し力の推定方法及び推定された押出し力に基づく室式コークス炉の操業方法

Patent Citations (4)

* Cited by examiner, † Cited by third party
Publication number Priority date Publication date Assignee Title
JP2008189772A (ja) * 2007-02-02 2008-08-21 Nippon Steel Corp コークス押出し負荷の評価方法
JP2008303239A (ja) * 2007-06-05 2008-12-18 Nippon Steel Corp コークス炉におけるコークス押出負荷の推定方法
JP2009167226A (ja) * 2008-01-10 2009-07-30 Nippon Steel Corp コークス押出し負荷の評価方法及び装置
JP2010100725A (ja) * 2008-10-23 2010-05-06 Nippon Steel Corp 室式コークス炉におけるコークス押出し力の推定方法及び推定された押出し力に基づく室式コークス炉の操業方法

Cited By (3)

* Cited by examiner, † Cited by third party
Publication number Priority date Publication date Assignee Title
JP2010100725A (ja) * 2008-10-23 2010-05-06 Nippon Steel Corp 室式コークス炉におけるコークス押出し力の推定方法及び推定された押出し力に基づく室式コークス炉の操業方法
JP2015117280A (ja) * 2013-12-17 2015-06-25 新日鐵住金株式会社 コークス炉におけるコークス押出負荷の推定方法
CN113470768A (zh) * 2021-06-15 2021-10-01 山西太钢不锈钢股份有限公司 一种高炉开炉料联合计算中测算填充料线的方法

Also Published As

Publication number Publication date
JP5182006B2 (ja) 2013-04-10

Similar Documents

Publication Publication Date Title
JP4528364B2 (ja) コークス炉におけるコークス押出しの際に発生する負荷の推定方法
JP5182006B2 (ja) 室式コークス炉におけるコークス押出し時の側面荷重の推定方法及び推定された側面荷重に基づく室式コークス炉の操業方法
JP5182005B2 (ja) 室式コークス炉におけるコークス押出し力の推定方法及び推定された押出し力に基づく室式コークス炉の操業方法
JP4538097B2 (ja) コークス炉におけるコークス押出しの際に発生する負荷の推定方法
JP2019006940A (ja) コークス炉の炉壁診断方法
JP4994931B2 (ja) 室式コークス炉におけるコークスの押出し力の推定方法およびコークス炉の押出性判定方法
JP6107776B2 (ja) コークス炉の炭化室の使用可能期間予測方法及びコークス炉の炭化室の補修方法
JP5907343B2 (ja) コークスケーキの押出し方法
JP5505221B2 (ja) コークス炉におけるコークス押出負荷の推定方法
JP5605105B2 (ja) コークス炉におけるコークス押出負荷の推定方法
JP5505231B2 (ja) コークス炉におけるコークス押出負荷の推定方法
JP4259234B2 (ja) 水平室炉式コークス炉の原料の選択方法
JP5605129B2 (ja) コークス炉におけるコークス押出負荷の推定方法
JP6197568B2 (ja) 室式コークス炉におけるコークス押出し力の推定方法
JP6260254B2 (ja) コークス炉におけるコークス押出負荷の推定方法
JP6387715B2 (ja) コークス炉の操業方法
JP5920579B2 (ja) コークス炉炉体の管理方法
JP2002121558A (ja) コークス炉の操業方法
JP5776645B2 (ja) コークス炉におけるコークス押出負荷の推定方法
JP6394264B2 (ja) 水平室式コークス炉におけるコークス隆起量の推算方法及びそれにより得られた隆起量に基づくコークスケーキ押出方法
JP5983921B2 (ja) コークスケーキ押出し時の突き上がり量測定方法およびその装置
JP2001323278A (ja) コークス炉における炭化室炉壁変形のシミュレーション方法ならびにコークス炉の操業方法、補修方法および設計方法
JP6123758B2 (ja) コークス炉の操業方法

Legal Events

Date Code Title Description
A621 Written request for application examination

Free format text: JAPANESE INTERMEDIATE CODE: A621

Effective date: 20110215

A977 Report on retrieval

Free format text: JAPANESE INTERMEDIATE CODE: A971007

Effective date: 20121212

TRDD Decision of grant or rejection written
A01 Written decision to grant a patent or to grant a registration (utility model)

Free format text: JAPANESE INTERMEDIATE CODE: A01

Effective date: 20121218

A61 First payment of annual fees (during grant procedure)

Free format text: JAPANESE INTERMEDIATE CODE: A61

Effective date: 20121231

R151 Written notification of patent or utility model registration

Ref document number: 5182006

Country of ref document: JP

Free format text: JAPANESE INTERMEDIATE CODE: R151

FPAY Renewal fee payment (event date is renewal date of database)

Free format text: PAYMENT UNTIL: 20160125

Year of fee payment: 3

S533 Written request for registration of change of name

Free format text: JAPANESE INTERMEDIATE CODE: R313533

R350 Written notification of registration of transfer

Free format text: JAPANESE INTERMEDIATE CODE: R350