JP2010100397A - 合紙分離装置 - Google Patents

合紙分離装置 Download PDF

Info

Publication number
JP2010100397A
JP2010100397A JP2008273247A JP2008273247A JP2010100397A JP 2010100397 A JP2010100397 A JP 2010100397A JP 2008273247 A JP2008273247 A JP 2008273247A JP 2008273247 A JP2008273247 A JP 2008273247A JP 2010100397 A JP2010100397 A JP 2010100397A
Authority
JP
Japan
Prior art keywords
slip sheet
interleaf
glass panel
sandwiching
plate material
Prior art date
Legal status (The legal status is an assumption and is not a legal conclusion. Google has not performed a legal analysis and makes no representation as to the accuracy of the status listed.)
Granted
Application number
JP2008273247A
Other languages
English (en)
Other versions
JP5212636B2 (ja
Inventor
Takayoshi Saito
隆義 斉藤
Current Assignee (The listed assignees may be inaccurate. Google has not performed a legal analysis and makes no representation or warranty as to the accuracy of the list.)
Nippon Electric Glass Co Ltd
Original Assignee
Nippon Electric Glass Co Ltd
Priority date (The priority date is an assumption and is not a legal conclusion. Google has not performed a legal analysis and makes no representation as to the accuracy of the date listed.)
Filing date
Publication date
Application filed by Nippon Electric Glass Co Ltd filed Critical Nippon Electric Glass Co Ltd
Priority to JP2008273247A priority Critical patent/JP5212636B2/ja
Publication of JP2010100397A publication Critical patent/JP2010100397A/ja
Application granted granted Critical
Publication of JP5212636B2 publication Critical patent/JP5212636B2/ja
Expired - Fee Related legal-status Critical Current
Anticipated expiration legal-status Critical

Links

Images

Landscapes

  • Sheets, Magazines, And Separation Thereof (AREA)

Abstract

【課題】板材を傷つけることなく、板材の表面から合紙を確実に分離する。
【解決手段】挟持部材33をガラスパネル2と直交する方向でスライドさせることにより、挟持部材33による合紙3の掴み代を大きく取ることができ、合紙3を確実に掴むことができる。また、挟持部材33の先端部を板材表面の合紙に当接させ、挟持部材33をガラスパネル2から離反する方向にスライドさせながら、挟持部材33の先端部を閉じることにより、挟持部材33を閉じるときに挟持部材33の先端部がガラスパネル2に強く押し付けられることがないため、ガラスパネル2を傷つける恐れを回避できる。
【選択図】図2c

Description

本発明は、合紙梱包されたガラス基板等の板材の表面から合紙を分離するための合紙分離装置に関する。
ガラス基板等の板材を運搬する際、一度に大量に運搬でき、且つ、ガラス基板同士の接触による傷を防止できる梱包方法として、ガラス基板の間に合紙を挟んで梱包する、いわゆる合紙梱包が知られている。合紙梱包されたガラス基板を解荷するときには、合紙をガラス基板から分離する必要がある。
例えば、特許文献1に示されている合紙分離装置は、回動可能に設けられた一対の保持片と、保持片を進退自在に支持する支持部材とを有し、以下のような手順で合紙をガラス基板から分離している。
(1)支持部材を伸長させて保持片をガラス基板に近づけ、ガラス基板表面の合紙と当接する手前で停止させる。
(2)保持片を回動させて合紙を掴む。
(3)支持部材を退避させ、合紙を基板から剥離する。
特開2007−106569号公報
しかし、上記特許文献1の合紙分離装置では、斜めに立設配置したガラス基板に対して、水平方向から保持片を近づけているため、一対の保持片を同時にガラス基板に当接させることができず、ガラス基板に付着した合紙を確実に掴むことができない恐れがある。
また、保持片をガラス基板表面の合紙と接触する手前で停止させた状態で、保持片を回動させて合紙を挟持するため、保持片で合紙を掴むことのできる領域(掴み代)が小さくなり、合紙を掴み損ねる恐れがある。
さらに、支持部材を停止させた状態で保持片を回動させるため、保持片の先端部が板材に当接することにより保持片の回動が妨げられる。そのまま保持片の回動を続けると、保持片の先端部が合紙に強く押し付けられることとなり、板材を傷つける恐れがある。
本発明の課題は、板材を傷つけることなく、板材の表面から合紙を確実に分離することのできる合紙分離装置を提供することにある。
前記課題を解決するために、本発明は、合紙梱包された板材の表面から合紙を分離する合紙分離装置であって、回動可能な一対の挟持片からなり、先端部を開閉可能な挟持部材と、挟持部材を板材と直交する方向にスライドさせるスライド機構とを有し、挟持部材の先端部を開いた状態で各挟持片の先端部を板材の表面に付着した合紙に当接させ、挟持部材を板材から離反させながら挟持部材の先端部を閉じて合紙を掴むようにしたものである。
このように、本発明では、挟持部材を板材と直交する方向でスライドさせるため、一対の挟持片を同時に合紙に当接させることができる。また、挟持部材の先端部を開いた状態で各挟持片を合紙に当接させることにより、挟持部材による合紙の掴み代を大きく取ることができ、合紙を確実に掴むことができる。さらに、挟持部材の先端部を板材表面の合紙に当接させ、挟持部材を板材から離反する方向にスライドさせながら挟持部材の先端部を閉じることにより、各挟持片の先端部が板材に強く押し付けられることがないため、板材を傷つける恐れを回避できる。
各挟持片に、挟持部材を開いた状態で板材の表面の合紙に面接触する第1平面部を形成すれば、挟持片と合紙との接触面積を拡大して両者の摩擦力を増大することができるため、挟持部材で合紙をより確実に掴むことができる。また、各挟持片に、挟持部材を閉じた状態で互いに面接触する第2平面部を形成すれば、各挟持片の第2平面部同士で合紙を挟持することができるため、挟持部材で合紙を確実に保持することができる。
ところで、合紙梱包された板材の積層体から板材を一枚ずつ次工程に移送する場合、移送される板材に連れられて合紙が積層体から分離することがある。挟持部材で合紙を掴む前に積層体から合紙が分離すると、挟持部材で合紙を掴めなくなったり、分離した合紙が他の装置に干渉する恐れがある。かかる不具合を防止するため、板材から合紙が分離することを防止する分離防止手段を設ける場合がある。一方、挟持部材で合紙を掴んで分離する際は、分離防止手段を解除して積層体から合紙を分離できる状態とする必要がある。従って、上記の合紙分離装置では、挟持部材の先端部が合紙に当接するまでは分離防止手段で合紙を板材に付着させた状態とし、挟持部材を合紙に当接させた後に分離防止手段を解除すればよい。
以上のように、本発明の合紙分離装置によれば、板材を傷つけることなく、板材から合紙を確実に分離することができる。
以下、本発明の実施形態を図面に基づいて説明する。
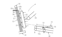
図1に、合紙梱包された板材(本実施形態ではガラスパネル2)を解荷するための解荷装置1を示す。ガラスパネル2は合紙3を間に挟んで積層され、この積層体12がパレット10の上に傾斜した状態で立設される。解荷装置1は、積層体12からガラスパネル2を一枚ずつ取り上げて次工程へ移送するパネル移送装置20と、ガラスパネル2から合紙3を分離する合紙分離装置30と、分離した合紙3を排紙パレット(図示省略)へ搬送する搬送装置40とを備える。尚、以下では、説明の便宜上、積層体12の積層方向において、移送される順番の早い側(すなわちパネル移送装置20側)を表側と言う。
パネル移送装置20は、ガラスパネル2の表面に吸着する複数の吸着部21と、各吸着部21を支持する支持部22と、支持部22を移動させるアーム部23とを有する。各吸着部21は、支持部22に対して、ガラスパネル2と直交する方向にスライド可能に設けられる。
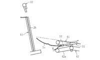
合紙分離装置30は、合紙3をガラスパネル2から剥離する合紙剥離機構31と、積層体12の上方に設けられた分離防止手段としての押さえ機構32とを有する。合紙剥離機構31は、合紙3を挟持するための挟持部材33と、挟持部材33を開閉させる開閉機構(図示省略)と、各挟持部材33をガラスパネル2と直交する方向にスライドさせる第1スライド機構としての駆動シリンダ34と、挟持部材33をガラスパネル2と搬送装置40との間でスライドさせる第2スライド機構(図示省略)とで構成される。合紙剥離機構31には、開閉機構、駆動シリンダ34、及び第2スライド機構を制御する制御部が設けられ、この制御部の指令に従って挟持部材33の開閉及びスライドが制御される。挟持部材33は、ガラスパネル2の幅方向(図1の紙面と直交する方向)等間隔位置の複数箇所(例えば6箇所)に設けられ、幅方向に延びた連結軸(図示省略)で一体化されている。第2スライド機構は、複数の挟持部材33の連結軸を、搬送装置40の合紙搬送方向と平行な方向(図1に一点鎖線で示す)でスライドさせるものであり、これにより複数の挟持部材33が一体にスライドする。
挟持部材33は、図2に示すように、一対の挟持片330からなる。各挟持片330は、駆動シリンダ34の先端に設けられた支持部35に回動可能に取り付けられ、ガラスパネル2と直交する方向(図2(a)にMで示す)に関して対称に配される。挟持片330は、支持部35に枢着された基部331と、基部331に固定されたツメ部332とを有する。ツメ部332は、摩擦係数が高く、且つ優れた強度を有する材料で形成することが好ましく、例えばウレタンで形成される。ツメ部332の先端部には第1平面部332aが形成されると共に、相手側のツメ部332と対向する面には第2平面部332bが形成される。第1平面部332aの外側(挟持部材33の対称中心Mから離隔する側)には切り欠き面332cが設けられ、第1平面部332aと切り欠き面332cとの間に鈍角な角部332dが形成される。図2(a)は、挟持部材33の先端部を最も開いた状態を示し、このとき、各挟持片330の第1平面部332aはガラスパネル2と平行な同一平面上に配される。図2(d)は、挟持部材33を閉じた状態を示し、このとき、各挟持片330の第2平面部332b同士が面接触する。
押さえ機構32は、例えば図1に示すように、ゴム等の弾性材料からなる押さえ部32aと、金属材料等の剛性体からなり、押さえ部32aを支持する押さえ支持部32bとを有する。押さえ機構32は、上下方向にスライド可能に設けられ、下端位置で、押さえ部32aにより合紙3の上端部を押さえるようになっている。
搬送装置40は、上下一対の無端状のベルト41・42と、各ベルトの内側に配された駆動ローラ43及び従動ローラ44とを有し、パネル移送装置20の下部に配される。一対のベルト41・42は平行に配され、その間に合紙3が引き込まれるようになっている。図示例では、一対のベルト41・42は、積層体12から離隔する方向へ向けて徐々に低くなるように傾斜して配されている。下側のベルト42は、積層体12側の一部を回動させることができ、この回動可能部42aを上側のベルト41から離隔する方向に回動させることにより、一対のベルト41、42の積層体12側が開口するようになっている(図1の点線参照)。各ベルト41、42の駆動ローラを駆動すると、ベルト41、42が回転し、ベルト41、42の間に挟まれた合紙3が後方(積層体12から離隔する方向)に搬送される。搬送装置40の後端まで達した合紙3は、図示しない排紙トレーに収容される。
ベルト41・42の一方又は双方には、ベルト間の隙間を調整する隙間調整機構が設けられる(図示省略)。この隙間調整機構は、例えば、上側のベルトの従動ローラ44を下側に付勢するスプリング等の付勢手段を設けることにより構成される。この付勢手段により、上側のベルト41を常時は下側のベルト42に押し付け、ベルト間の合紙が捩れたり折り重なったりしたら、上側のベルト41の従動ローラ44が上方に移動してベルト間の隙間が広げられ、これにより合紙3の搬送を滞らせることなく行うことができる。
以下、解荷装置1によるガラスパネル2の解荷の手順を、合紙3をガラスパネル2から分離する工程を中心に、図2及び図3に基づいて説明する。尚、以下の説明において、積層体12の表側から順にガラスパネル2a・2b・2cと称し、ガラスパネル2aと2bとの間の合紙を合紙3a、ガラスパネル2bと2cとの間の合紙を合紙3bと称す。
まず、図3(a)に示すように、パレット10上に載置された積層体12の一番表側のガラスパネル2aをパネル移送装置20で次工程へ移送する。具体的には、パネル移送装置20の各吸着部21をガラスパネル2aの表面に吸着固定した後、吸着部21をガラスパネル2aと直交する方向にスライドさせて、ガラスパネル2aを積層体12から離隔させる。このとき、上側の吸着部21を下側の吸着部21よりも若干早期にスライドさせることで、ガラスパネル2aと合紙3aとの間に空気が入り、ガラスパネル2aを積層体12から剥離しやすくなる。その後、アーム部23を動かしてガラスパネル2aを次工程に移送する。こうしてガラスパネル2aを積層体12から分離する際、合紙3の上端部を押さえ機構32の押さえ部32aで押さえているため、分離されるガラスパネル2aにつられて合紙3aが積層体12側のガラスパネル2bから剥離する事態を防止できる。尚、押さえ部32aは合紙3と共にガラスパネル2bの上端部を押さえているが、ガラスパネル2aの上端部は押さえていない。そのため、ガラスパネル2aの移送時に、押さえ部32aとガラスパネル2aとが干渉しないようになっている。これにより、ガラスパネル2aは押さえ部32aによって汚されることがない。
ガラスパネル2aをパネル移送装置20で移送している間に、図示しない第2駆動手段により挟持部材33をスライドさせて、積層体12に接近させる。これと共に、下側のベルト42の回動可能部42aを下方に回動させて、両ベルト41・42の先端部(積層体12側端部)を開く(図3(b)参照)。
次に、合紙剥離機構31の第1駆動手段としての駆動シリンダ34を伸長し、挟持部材33をガラスパネル2と直交する方向にスライドさせて、各挟持片330の先端部をガラスパネル2に当接させる(図3(c)参照)。このとき、ツメ部332の第1平面部332aと合紙3aとが面接触する(図2(b)参照)。挟持部材33の先端部がガラスパネル2bの表面に付着した合紙3aに当接したら、駆動シリンダ34を停止させると共に、押さえ機構32を上昇させて合紙3aの押さえを解除する。そして、各挟持片330を回動して挟持部材33の先端部を閉じると共に、駆動シリンダ34を退入させて挟持部材33を合紙3aから離反する方向に後退させる。こうして、各挟持片330の先端部を合紙3aに当接させた状態を維持しながら挟持部材33を閉じることにより、合紙3aが各挟持片330の間に引き寄せられる(図2(c)参照)。挟持部材33が完全に閉じたら、各挟持片330の第2平面部332bの間に合紙3aが挟持される(図2(d)参照)。
このように、挟持部材33を開いた状態で、各挟持片330の先端部を同時に合紙3aに当接させることで、挟持部材33で合紙3aを掴む領域(つかみ代、図2(b)にLで示す)を比較的大きく取る事ができるため、合紙3aを確実に掴むことができる。また、各挟持片330の第1平面部332aを合紙3aにぴったりと面接触させて接触面積を増やすことにより、両者の摩擦力を大きくすることができる。図2(b)に示す状態、すなわち挟持部材33を閉じ始めるときは、合紙3aとガラスパネル2bとの付着力が大きいため、上記のように挟持部材33と合紙3aとを面接触させて両者の摩擦力を大きくすることで、合紙3aをガラスパネル2bから確実に剥離することができる。合紙3aがガラスパネル2bに対して動き始めたら、各挟持片330の第2平面部332aと切り欠き面332cとの間の角部332dにより、合紙3aが折りたたまれるようにして引き寄せられる。
また、挟持部材33を後退させながら先端部を閉じることで、各挟持片330の先端部をガラスパネル2bに過度に強く押し付けることがないため、ガラスパネル2bを傷つける恐れを回避できる。特に、本実施形態では、挟持片330の第1平面部332aをガラスパネル2に当接させ、且つ、鈍角な角部332dで合紙3aを引き寄せるため、ガラスパネル2を傷つける恐れをより確実に回避できる。
その後、挟持部材33で合紙3aを掴んだ状態で駆動シリンダ34を退入させ、挟持部材33をガラスパネル2bから離隔する方向にスライドさせる(図2(e)参照)。このとき、挟持部材33の第2平面部332b同士で合紙3aを挟持しているため、合紙3aを確実に保持してガラスパネル2bから剥離することができる。そして、第2駆動手段で挟持部材33をベルト41・42側にスライドさせ(図3(c)参照)、挟持部材33で掴んだ合紙3aの一部をベルト41・42間の開口部に配する(図3(d)参照)。その後、挟持部材33を開いて合紙3aを離し、第1移動手段で挟持部材33を後退させ、挟持部材33が合紙3aと干渉しない位置まで退避させる。この状態で、下側のベルト42の回動可能部42aを回動させて上側のベルト41との開口部を閉じ、両ベルトで合紙3aを挟持する。そして、駆動ローラ43を駆動して合紙3aを搬送し、図示しない排紙トレーに収容する。
以上により、1番目のガラスパネル2aの移送、及び1番目の合紙3aの分離が完了する。その後、上記と同様にして、2番目以降のガラスパネルの移送及び合紙の分離を行う。
解荷装置の側面図である。 挟持部材の動作を説明する側面図である。 挟持部材の動作を説明する側面図である。 挟持部材の動作を説明する側面図である。 挟持部材の動作を説明する側面図である。 挟持部材の動作を説明する側面図である。 解荷装置の動作を説明する側面図である。 解荷装置の動作を説明する側面図である。 解荷装置の動作を説明する側面図である。 解荷装置の動作を説明する側面図である。
符号の説明
1 解荷装置
2 ガラスパネル
3 合紙
10 パレット
12 積層体
20 パネル移送装置
30 合紙分離装置
31 合紙剥離機構
32 押さえ機構(分離防止手段)
33 挟持部材
330 挟持片
332a 第1平面部
332b 第2平面部
34 駆動シリンダ(第1スライド機構)
40 搬送装置
41・42 ベルト
42a 回動可能部

Claims (4)

  1. 合紙梱包された板材の表面から合紙を分離する合紙分離装置であって、
    回動可能な一対の挟持片からなり、先端部を開閉可能な挟持部材と、挟持部材を板材と直交する方向にスライドさせるスライド機構とを有し、挟持部材を開いた状態で各挟持片の先端部を板材の表面に付着した合紙に当接させ、挟持部材を板材から離反する方向にスライドさせながら挟持部材の先端部を閉じて合紙を掴むようにした合紙分離装置。
  2. 各挟持片に、挟持部材を開いた状態で板材の表面の合紙に面接触する第1平面部を形成した請求項1記載の合紙分離装置。
  3. 各挟持片に、挟持部材を閉じた状態で互いに面接触する第2平面部を形成した請求項1記載の合紙分離装置。
  4. 板材から合紙が分離することを防止する分離防止手段を設け、挟持部材を板材表面の合紙に当接させた後に、分離防止手段を解除するようにした請求項1記載の合紙分離装置。
JP2008273247A 2008-10-23 2008-10-23 合紙分離装置 Expired - Fee Related JP5212636B2 (ja)

Priority Applications (1)

Application Number Priority Date Filing Date Title
JP2008273247A JP5212636B2 (ja) 2008-10-23 2008-10-23 合紙分離装置

Applications Claiming Priority (1)

Application Number Priority Date Filing Date Title
JP2008273247A JP5212636B2 (ja) 2008-10-23 2008-10-23 合紙分離装置

Publications (2)

Publication Number Publication Date
JP2010100397A true JP2010100397A (ja) 2010-05-06
JP5212636B2 JP5212636B2 (ja) 2013-06-19

Family

ID=42291405

Family Applications (1)

Application Number Title Priority Date Filing Date
JP2008273247A Expired - Fee Related JP5212636B2 (ja) 2008-10-23 2008-10-23 合紙分離装置

Country Status (1)

Country Link
JP (1) JP5212636B2 (ja)

Cited By (1)

* Cited by examiner, † Cited by third party
Publication number Priority date Publication date Assignee Title
EP2716584A4 (en) * 2011-05-30 2015-04-22 Kawasaki Heavy Ind Ltd SYSTEM FOR TRANSMITTING PLATE-SHAPED ELEMENTS WITH INTERMEDIATES AND METHOD FOR THEIR TRANSMISSION

Citations (6)

* Cited by examiner, † Cited by third party
Publication number Priority date Publication date Assignee Title
JPH09142679A (ja) * 1995-11-22 1997-06-03 Murata Mach Ltd 保護用紙除去装置
JP2000351449A (ja) * 1999-06-11 2000-12-19 Mishima Kosan Co Ltd ガラス基板搬送装置
JP2003012165A (ja) * 2001-07-04 2003-01-15 Fuji Photo Film Co Ltd 印刷版枚葉搬送装置用合紙排除機構
JP2006298507A (ja) * 2005-04-15 2006-11-02 Tanabe Kogyo Kk ガラス基板の移積装置及び移載方法
JP2007106569A (ja) * 2005-10-14 2007-04-26 Tateyama Machine Kk 間紙剥離装置
JP2009126609A (ja) * 2007-11-20 2009-06-11 Asahi Glass Co Ltd 合紙除去装置

Patent Citations (6)

* Cited by examiner, † Cited by third party
Publication number Priority date Publication date Assignee Title
JPH09142679A (ja) * 1995-11-22 1997-06-03 Murata Mach Ltd 保護用紙除去装置
JP2000351449A (ja) * 1999-06-11 2000-12-19 Mishima Kosan Co Ltd ガラス基板搬送装置
JP2003012165A (ja) * 2001-07-04 2003-01-15 Fuji Photo Film Co Ltd 印刷版枚葉搬送装置用合紙排除機構
JP2006298507A (ja) * 2005-04-15 2006-11-02 Tanabe Kogyo Kk ガラス基板の移積装置及び移載方法
JP2007106569A (ja) * 2005-10-14 2007-04-26 Tateyama Machine Kk 間紙剥離装置
JP2009126609A (ja) * 2007-11-20 2009-06-11 Asahi Glass Co Ltd 合紙除去装置

Cited By (2)

* Cited by examiner, † Cited by third party
Publication number Priority date Publication date Assignee Title
EP2716584A4 (en) * 2011-05-30 2015-04-22 Kawasaki Heavy Ind Ltd SYSTEM FOR TRANSMITTING PLATE-SHAPED ELEMENTS WITH INTERMEDIATES AND METHOD FOR THEIR TRANSMISSION
US9242818B2 (en) 2011-05-30 2016-01-26 Kawasaki Jukogyo Kabushiki Kaisha System for and method of transferring plate-shaped member with interleaving paper thereon

Also Published As

Publication number Publication date
JP5212636B2 (ja) 2013-06-19

Similar Documents

Publication Publication Date Title
TWI500558B (zh) 保護片供給裝置
TWI336657B (en) Single sheet joining method and apparatus using the same
TWI690476B (zh) 薄膜剝離裝置
CN101197254A (zh) 基板粘合方法及采用该方法的装置
TW201014772A (en) Baling device for glass substrate and baling method thereof
JP2008213918A (ja) ガラス基板梱包装置及びガラス基板梱包方法
KR20110120008A (ko) 기판 이송 장치 및 이를 이용한 기판 이송 방법
CN107615475A (zh) 片材剥离装置及剥离方法
JP5212636B2 (ja) 合紙分離装置
CN107636821B (zh) 片材剥离装置及剥离方法
JP4304673B2 (ja) 合紙把持装置、及び搬送装置
KR101724093B1 (ko) 양면테이프 라미네이팅 장치
JP2010076875A (ja) フイルム剥離装置及び方法
JP4393272B2 (ja) 板状物積重体の開梱方法
JP6577813B2 (ja) 処理装置
JP2014024616A (ja) 合紙取り出し方法及びその装置
JP4490345B2 (ja) 保護シート剥離装置
JP5564097B2 (ja) シート貼り換え装置及びシート貼り換え方法
JP5604724B2 (ja) 封緘装置
JP2009029525A (ja) フィルム剥離装置
JP4083140B2 (ja) 物品用被覆フィルム除去装置およびその方法
JP7415395B2 (ja) 保護シート剥離装置および保護シート剥離方法
JP4522481B2 (ja) 板状物積重体の開梱方法及び装置
JP4983214B2 (ja) フイルム剥離装置
JP4983205B2 (ja) フイルム剥離装置

Legal Events

Date Code Title Description
A621 Written request for application examination

Free format text: JAPANESE INTERMEDIATE CODE: A621

Effective date: 20110607

A977 Report on retrieval

Free format text: JAPANESE INTERMEDIATE CODE: A971007

Effective date: 20120905

A131 Notification of reasons for refusal

Free format text: JAPANESE INTERMEDIATE CODE: A131

Effective date: 20120910

A521 Written amendment

Free format text: JAPANESE INTERMEDIATE CODE: A523

Effective date: 20121025

TRDD Decision of grant or rejection written
A01 Written decision to grant a patent or to grant a registration (utility model)

Free format text: JAPANESE INTERMEDIATE CODE: A01

Effective date: 20130130

A61 First payment of annual fees (during grant procedure)

Free format text: JAPANESE INTERMEDIATE CODE: A61

Effective date: 20130212

R150 Certificate of patent or registration of utility model

Free format text: JAPANESE INTERMEDIATE CODE: R150

FPAY Renewal fee payment (event date is renewal date of database)

Free format text: PAYMENT UNTIL: 20160308

Year of fee payment: 3

LAPS Cancellation because of no payment of annual fees