JP2010095443A - 炭酸固化体の製造方法 - Google Patents
炭酸固化体の製造方法 Download PDFInfo
- Publication number
- JP2010095443A JP2010095443A JP2010019816A JP2010019816A JP2010095443A JP 2010095443 A JP2010095443 A JP 2010095443A JP 2010019816 A JP2010019816 A JP 2010019816A JP 2010019816 A JP2010019816 A JP 2010019816A JP 2010095443 A JP2010095443 A JP 2010095443A
- Authority
- JP
- Japan
- Prior art keywords
- raw material
- carbon dioxide
- water
- carbonation
- container
- Prior art date
- Legal status (The legal status is an assumption and is not a legal conclusion. Google has not performed a legal analysis and makes no representation as to the accuracy of the status listed.)
- Granted
Links
Images
Classifications
-
- Y—GENERAL TAGGING OF NEW TECHNOLOGICAL DEVELOPMENTS; GENERAL TAGGING OF CROSS-SECTIONAL TECHNOLOGIES SPANNING OVER SEVERAL SECTIONS OF THE IPC; TECHNICAL SUBJECTS COVERED BY FORMER USPC CROSS-REFERENCE ART COLLECTIONS [XRACs] AND DIGESTS
- Y02—TECHNOLOGIES OR APPLICATIONS FOR MITIGATION OR ADAPTATION AGAINST CLIMATE CHANGE
- Y02W—CLIMATE CHANGE MITIGATION TECHNOLOGIES RELATED TO WASTEWATER TREATMENT OR WASTE MANAGEMENT
- Y02W30/00—Technologies for solid waste management
- Y02W30/50—Reuse, recycling or recovery technologies
- Y02W30/91—Use of waste materials as fillers for mortars or concrete
Landscapes
- Curing Cements, Concrete, And Artificial Stone (AREA)
Abstract
【解決手段】粉粒状の未炭酸化Ca含有原料を、水分を含んだ状態で炭酸ガスと接触させて炭酸化反応で固結させることにより、炭酸固化体を製造する方法であり、未炭酸化Ca含有原料の予成形体を実質的に気密な容器内に収納した後、該容器内を減圧する脱気工程と、該脱気工程に引き続き、前記容器内に炭酸ガスを供給して予成形体の未炭酸化Ca含有原料に炭酸化反応を生じさせる炭酸化工程とを有する。事前の減圧により予成形体内への炭酸ガスの浸透を効率的に行わせることができるため、良好な品質の炭酸固化体を従来に較べて短い時間で効率的に製造することができる。
【選択図】図3
Description
また、スラグの予成形体を炭酸ガス雰囲気内に置いて炭酸固化させる方法では、炭酸化反応は予成形体表面から進行するため、内部まで均一に炭酸化させることが難しく、場合によっては、緻密な数百μmの炭酸カルシウム層が予成形体の表面に生成してしまい、予成形体内部まで炭酸化反応が進まないこともある。
また、スラグの予成形体を炭酸ガス雰囲気内に置いて炭酸固化させる方法において、予成形体内部まで均一に炭酸化させることが難しいという問題を解決する方策について検討した結果、予成形体を気密な容器内に収納して容器内を減圧した後、容器内に炭酸ガスを供給する方法が有効であることが判った。
すなわち、スラグ中の未炭酸化CaとCO2とを水を介して効率的に反応させるには、スラグ粒子の表面に水が存在し且つスラグ粒子間にCO2の通り路となる間隙が適切に確保されること、換言すれば、スラグ充填層内ではスラグ粒子に表面付着水が存在して粒子どうしを水が架橋し、且つそれ以外のスラグ粒子間の間隙部分には、スラグ充填層内に連続したガス流路が残るようになるべく水が存在しないこと(つまり、ファニキュラ域となっていること)が必要であると考えられる。
[1]粉粒状の未炭酸化Ca含有原料を、水分を含んだ状態で炭酸ガスと接触させて炭酸化反応で固結させることにより、炭酸固化体を製造する方法であって、
未炭酸化Ca含有原料に炭酸ガスの供給を行って、該未炭酸化Ca含有原料に炭酸化反応を生じさせる初期炭酸化工程と、
該初期炭酸化工程に引き続き、未炭酸化Ca含有原料に供給する炭酸ガス量を減少させるか又は未炭酸化Ca含有原料への炭酸ガスの供給を休止する中間処理工程と、
該中間処理工程に引き続き、未炭酸化Ca含有原料に供給する炭酸ガス量を増加させるか又は未炭酸化Ca含有原料への炭酸ガスの供給を再開し、該未炭酸化Ca含有原料に炭酸化反応を生じさせる後期炭酸化工程とを有することを特徴とする炭酸固化体の製造方法。
[3]上記[1]又は[2]の製造方法において、中間処理工程と後期炭酸化工程を2回以上繰り返して行うことを特徴とする炭酸固化体の製造方法。
[4]上記[1]〜[3]のいずれかの製造方法において、未炭酸化Ca含有原料の充填層を形成し、該充填層を炭酸化反応で固結させる方法であって、
初期炭酸化工程前に、水分を含んだ未炭酸化Ca含有原料の前記充填層内部を減圧する工程を有することを特徴とする炭酸固化体の製造方法。
初期炭酸化工程前に、未炭酸化Ca含有原料の前記充填層に水を含ませた後、該充填層内部を減圧することにより前記水の一部を排出する工程を有することを特徴とする炭酸固化体の製造方法。
[6]上記[1]〜[3]のいずれかの製造方法において、未炭酸化Ca含有原料の予成形体を実質的に気密な容器内に収納し、初期炭酸化工程及び後期炭酸化工程では前記容器内に炭酸ガスを供給することを特徴とする炭酸固化体の製造方法。
[7]上記[1]〜[6]のいずれかの製造方法で得られ、且つ水分を含んだ炭酸固化体の内部を減圧し、しかる後、該炭酸固化体に炭酸ガス存在下で再度炭酸化反応を生じさせることを特徴とする炭酸固化体の製造方法。
[9]粉粒状の未炭酸化Ca含有原料を、水分を含んだ状態で炭酸ガスと接触させて炭酸化反応で固結させることにより、炭酸固化体を製造する方法であって、
未炭酸化Ca含有原料の予成形体を実質的に気密な容器内に収納した後、該容器内を減圧する脱気工程と、
該脱気工程に引き続き、前記容器内に炭酸ガスを供給して予成形体の未炭酸化Ca含有原料に炭酸化反応を生じさせる炭酸化工程とを有することを特徴とする炭酸固化体の製造方法。
[10]上記[9]の製造方法において、未炭酸化Ca含有原料の予成形体に水を含ませた後、脱気工程を行い、予成形体内部の減圧により前記水の一部を排出することを特徴とする炭酸固化体の製造方法。
容器内に炭酸ガスの供給を行って予成形体の未炭酸化Ca含有原料に炭酸化反応を生じさせる初期炭酸化工程と、
該初期炭酸化工程に引き続き、容器内に供給する炭酸ガス量を減少させるか又は容器内への炭酸ガスの供給を休止する中間処理工程と、
該中間処理工程に引き続き、容器内に供給する炭酸ガス量を増加させるか又は容器内への炭酸ガスの供給を再開し、前記予成形体の未炭酸化Ca含有原料に炭酸化反応を生じさせる後期炭酸化工程とを有することを特徴とする炭酸固化体の製造方法。
[12]上記[11]の製造方法において、中間処理工程では、容器内への炭酸ガスの供給を休止するとともに、容器内雰囲気を空気以下の炭酸ガス濃度とすることを炭酸固化体の製造方法。
[13]上記[9]〜[12]のいずれかの製造方法で得られ、且つ水分を含んだ炭酸固化体の内部を減圧し、しかる後、該炭酸固化体に炭酸ガス存在下で再度炭酸化反応を生じさせることを特徴とする炭酸固化体の製造方法。
[14]上記[9]〜[10]のいずれかの製造方法で得られた炭酸固化体の内部に水を含ませた後、該炭酸固化体の内部を減圧することにより前記水の一部を排出し、しかる後、前記炭酸固化体に炭酸ガス存在下で再度炭酸化反応を生じさせることを特徴とする炭酸固化体の製造方法。
なお、本発明における上記炭酸ガスには、炭酸ガス含有ガスの一部として含有されるものも含まれる。
また、上記[9]〜[14]の発明によれば、事前の減圧により予成形体内への炭酸ガスの浸透を効率的に行わせることができるため、良好な品質の炭酸固化体を従来に較べて短い時間で効率的に製造することができる。さらに、上記[10]、[13]、」[14]の発明によれば、炭酸ガスと原料中の未炭酸化Caとを水を介してより効率的に反応させることができ、より良好な品質の炭酸固化体を効率的に製造することができる。
この方法は、粉粒状の未炭酸化Ca含有原料を、水分を含んだ状態で炭酸ガスと接触させて炭酸化反応で固結させることにより、炭酸固化体を製造する方法であって、未炭酸化Ca含有原料に炭酸ガスの供給を行って、この未炭酸化Ca含有原料に炭酸化反応を生じさせる初期炭酸化工程(A)と、この初期炭酸化工程(A)に引き続き、未炭酸化Ca含有原料に供給する炭酸ガス量を減少させるか又は未炭酸化Ca含有原料への炭酸ガスの供給を休止する中間処理工程(B)と、この中間処理工程(B)に引き続き、未炭酸化Ca含有原料に供給する炭酸ガス量を増加させるか又は未炭酸化Ca含有原料への炭酸ガスの供給を再開し、未炭酸化Ca含有原料に炭酸化反応を生じさせる後期炭酸化工程(C)とを有する。
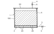
前記型枠1は実質的に気密又は半気密にすることが可能な型枠であって、本実施形態では、容器状の本体100とその上部を閉塞する蓋体101とから構成されている。前記本体100の底部にはガス給気部2(ガス給気用空間)が設けられるとともに、このガス給気部2と本体100との間の隔壁には多数のガス通孔20が形成されている。前記ガス給気部2にはガス供給管3が接続され、このガス供給管3を通じてガス給気部2内に炭酸ガス又は炭酸ガス含有ガス(以下、総称して“炭酸ガス”という)が供給される。また、型枠1の上部には型枠内に供給されたガスの排気を行うための排気管4が接続されている。その他図面において、5,6は各配管系に設けられた開閉弁である。
上記のように水分を含んだ原料充填層Aを形成した後、型枠1内に吹き込まれる炭酸ガスが原料充填層全体に良く浸透するようにするため型枠に蓋体101を装着し、型枠1を気密又は半気密状態にする。
以上のようにして原料充填層Aを形成した後、以下に述べるような工程(A)〜(C)を順に行い、炭酸固化体を製造する。
この工程では、未炭酸化Ca含有原料に所定時間(原料充填層の規模やガス流速などによって異なるが、一般的には8〜24時間程度)炭酸ガスの供給を行って、未炭酸化Ca含有原料に炭酸化反応を生じさせる。この工程は未炭酸化Ca含有原料の炭酸化を目的としたものであるため、定常的な炭酸ガスの供給を行うが、後述する後期炭酸化工程(C)に較べて原料からCaイオンが溶出しやすく、顕著な発熱を伴う活発な炭酸化反応が生じる。図1の実施形態では、ガス供給管3を通じて供給された炭酸ガスはガス給気部2に導入された後、ガス通孔20から上方の原料充填層A内に吹き込まれる。原料充填層A内を通過する炭酸ガスの一部は、原料粒子からその表面付着水に溶出したCaイオンと反応し、原料粒子の表面にCaCO3が析出し、これがバインダーとなって原料充填層Aの固結が進行する。炭酸ガスの残りは原料充填層Aを通過して排気管4から型枠1外に排出される。また、場合によっては、排気管4の開閉弁6を閉じた状態で原料充填層A内に炭酸ガスを供給するようにしてもよいが、その場合には、時々開閉弁6を開にして型枠1内に溜まったガスを放出し、型枠1内の炭酸ガス濃度が所定レベル以上に維持されるようにすることが好ましい。
以上のような炭酸化処理(初期炭酸化工程)を所定時間続けると、原料粒子からのCaイオンの溶解速度自体が遅くなること、原料粒子表面にCaCO3の膜が形成され、これがCaイオンの溶出を妨げるようになること、などの要因によってCaイオンの表面付着水中への溶出が遅くなる。一方において、原料に対して炭酸ガスは供給され続けるため、表面付着水中の炭酸ガス濃度(CO2分圧)が増加してpHが低下し、重炭酸カルシウムの飽和状態となるため、炭酸カルシウムの析出反応が停止ないしは大幅に減少する。
このため、適当な段階で未炭酸化Ca含有原料に供給する炭酸ガス量を減少させるか又は未炭酸化Ca含有原料への炭酸ガスの供給を休止する(中間処理工程)。この工程では、例えば以下のような方法を採ることができる。
(2)ガス供給管3を通じた炭酸ガスの供給を休止した後、ガス供給管3を通じて型枠1内に空気を供給し、未炭酸化Ca含有原料内部の雰囲気を空気と置換する。
(3)ガス供給管3を通じた炭酸ガスの供給を休止した後、ガス供給管3を通じて型枠1内に空気未満の炭酸ガス濃度のガス(例えば、窒素ガス)を供給し、未炭酸化Ca含有原料内部の雰囲気を当該ガスと置換する。
(4)ガス供給管3を通じた炭酸ガスの供給を休止した後、 ガス供給管3を吸引ポンプ(図示せず)に接続し、この吸引ポンプによる吸引で未炭酸化Ca含有原料内部を減圧することにより、未炭酸化Ca含有原料内部の雰囲気を空気未満の炭酸ガス濃度とする。
これら(1)〜(4)の方法は任意に選択できるが、未炭酸化Ca含有原料内部の炭酸ガス濃度を短時間で且つ十分に低減させたい場合には、(2)〜(4)のいずれかの方法、好ましくは(3)又は(4)の方法、特に好ましくは(4)の方法が望ましい。(4)の方法では、減圧による脱気によって原料粒子の表面付着水中の炭酸ガス濃度を短時間に低減させることができる。
この中間処理工程(B)を行う時間等は特に限定されないが、原料充填層A中のCO2分圧を十分に低下させることが好ましいことから、例えば、原料充填層内部の雰囲気を空気や他のガス(例えば、窒素ガス)で置換する場合には、原料充填層の体積の5倍以上、好ましくは10倍以上の量(トータル量)の空気やガスが原料充填層中に供給される程度の時間を目安とする。
上記のような中間処理工程(B)を所定時間行うことによって、上述した(a)〜(f)の機構により炭酸カルシウムの析出反応が再び活性化された段階で、未炭酸化Ca含有原料に対する定常的な炭酸ガスの供給を再開する。すなわち、例えば上記(1)〜(4)の操作を行っている場合にはこれを終了し、初期炭酸化工程(A)と同様に、ガス供給管3を通じた未炭酸化Ca含有原料内への炭酸ガスの供給を行う。
この後期炭酸化工程(C)は原料充填層Aが十分に固結するまで行われるもので、その実施時間は特に限定されないが、例えば、炭酸ガス供給速度を初期炭酸化工程(A)と同じにした場合、同工程(A)の1/30〜1/3程度の時間が目安となる。現象的には、炭酸カルシウムの析出によって表面付着水中のCaイオン濃度が低下する一方で、表面付着水中への炭酸ガスの溶解が続くと、表面付着水のpHが低下し、表面付着水はpH8以下のCa(HCO3)2の溶液となるので、炭酸カルシウムの析出が生じにくくなる。したがって、このように表面付着水がpH8以下になる時点が後期炭酸化工程(C)の終了の目安となる。後期炭酸化工程(C)終了後、固結した原料充填層Aを脱型し、製品である炭酸固化体を取り出す。
なお、上記中間処理工程(B)と後期炭酸化工程(C)は、これを2回以上繰り返して行うこともできる。例えば、原料充填層Aの大きさや原料粒度によって炭酸化処理の効率には差があり、上記中間処理工程(B)と後期炭酸化工程(C)を2回以上行った方が、処理効率面で有利な場合もあるからである。
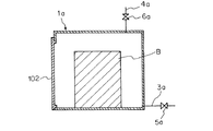
図2は、その一実施形態を示すもので、処理容器を縦断面した状態で示している。
処理容器1aは実質的に気密にすることが可能な容器であって、その側部には原料出し入れ部102が設けられている。この処理容器1aにはガス供給管3aが接続され、このガス供給管3を通じて処理容器1a内に炭酸ガスが供給される。また、処理容器1aの上部には処理容器内に供給されたガスの排気を行うための排気管4aが接続されている。その他図面において、5a,6aは各配管系に設けられた開閉弁である。
すなわち、初期炭酸化工程(A)では、ガス供給管3aを通じて処理容器1a内に所定時間、未炭酸化Ca含有原料の炭酸化を目的として定常的な炭酸ガスの供給を行う。供給された炭酸ガスの一部は予成形体Bの表面から内部に浸透し、未炭酸化Ca含有原料に炭酸化反応を生じさせる。炭酸ガスの残りは排気管4aから処理容器1a外に排出される。また、場合によっては、図1の実施形態と同様に、排気管4aの開閉弁6aを閉じた状態で処理容器1a内に炭酸ガスを供給するようにしてもよい。
(1)ガス供給管3aを通じた炭酸ガスの供給を休止するか若しくはガス供給量を大幅に減少させる。
(2)ガス供給管3aを通じた炭酸ガスの供給を休止した後、ガス供給管3aを通じて処理容器1a内に空気を供給し、処理容器1a内の雰囲気を空気と置換する。
(3)ガス供給管3aを通じた炭酸ガスの供給を休止した後、ガス供給管3aを通じて処理容器1a内に空気未満の炭酸ガス濃度のガス(例えば、窒素ガス)を供給し、処理容器1a内の雰囲気を当該ガスと置換する。
(4)ガス供給管3aを通じた炭酸ガスの供給を休止した後、ガス供給管3aを吸引ポンプ(図示せず)に接続し、この吸引ポンプによる吸引で処理容器1a内を減圧することにより、処理容器1a(及び予成形体B)内の雰囲気を空気未満の炭酸ガス濃度とする。
以上の操作を行うことにより、原料粒子の表面付着水への炭酸ガスの溶解が実質的に停止するとともに、上述した(a)〜(f)の機構によって炭酸カルシウムの析出反応が再び活性化される。
この後期炭酸化工程(C)は予成形体Bが十分に固結するまで行われ、後期炭酸化工程(C)終了後、製品である固結した予成形体B(炭酸固化体)を処理容器1aから取り出す。
この場合も、上記中間処理工程(B)と後期炭酸化工程(C)は、これを2回以上繰り返して行うことができる。なお、各工程(A)〜(C)を行う各時間は、図1で述べた実施形態と同様である。
なお、以上述べた本願の第1の製造方法の一連の工程において、各工程での処理時間に特別な制限はない。したがって、例えば、初期炭酸化工程(A)に引き続き中間処理工程(B)と後期炭酸化工程(C)を2回以上繰り返して行う場合において、初期炭酸化工程(A)の処理時間と2回以上行われる各後期炭酸化工程(C)の処理時間とが同程度の長さであっても構わない。
以上の操作を行うことにより、原料粒子の表面付着水への炭酸ガスの溶解が実質的に停止するとともに、先に述べた(a)〜(f)の機構によって炭酸カルシウムの析出が活性化する。
上記のような中間処理工程(B1)を適当な時間行うことによって炭酸カルシウムの析出反応が再び活性化された段階で、後期炭酸化工程(C1)に移行し、容器に対する定常的な炭酸ガスの供給を再開する。
この場合も、上記中間処理工程(B1)と後期炭酸化工程(C1)は、これを2回以上繰り返して行うことができる。
先に述べたように、スラグなどの粉粒状の未炭酸化Ca含有原料を炭酸化反応により固結させて炭酸固化体を製造する際の原料中の未炭酸化CaとCO2との反応は、原料粒子の表面に存在する水(表面付着水)に原料粒子間を流れるCO2が溶解するとともに、原料粒子側からはCaイオンが溶出し、この水に溶解・溶出したCO2とCaイオンとが反応(炭酸化反応)することにより、原料粒子表面にCaCO3が析出するものであると考えられる。
図4(a)は、適量の水(通常、炭酸化処理に必要且つ十分な量若しくはそれに近い量の水)を含んだ原料充填層(例えば、水を添加して混合した未炭酸化Ca含有原料を型枠に装入して構成された原料充填層)の内部を示している。この状態での原料粒子の間隙部分は、間隙の大きさや表面張力等の影響により水の存在状態にばらつきがあり、CO2の通り路を塞ぐように水が多量に存在する部分と、炭酸化反応に必要な量の水(原料粒子の表面付着水)が十分に存在していない部分とがある。そして、この状態で原料充填層内部を減圧すると、部分的に偏在していた水が引かれて移動し、表面付着水量が少なかった原料粒子の表面に付着する。この結果、原料粒子の間隙部分での水の存在状態が均一化され、図4(b)に示すように、各原料粒子に表面付着水が均一に存在し且つ原料粒子間にCO2の通り路となる間隙が適切に確保された状態が原料充填層全体に実現することになる。なお、上記減圧により原料充填層内に存在する水のうちの一部が充填層外に排出される場合もある。
また、原料充填層を炭酸化反応で固結させた炭酸固体化の強度を向上させるため、炭酸固化体に再度炭酸化反応(再炭酸化)を生じさせる場合の原理も上記と同様である。
この場合、再炭酸化の対象となるのは、上述した方法によって得られた炭酸固化体である。先に述べたように、スラグなどの粉粒状の未炭酸化Ca含有原料の充填層を炭酸化反応により固結させた炭酸固化体は全体に微細な貫通気孔を有しており、その内部に水を含ませる(浸透させる)ことができる。この炭酸固化体に対して、強度向上を目的として再炭酸化を行うものであるが、この際、炭酸固化体内での水の分布状態を均一化するため、炭酸固化体の内部を減圧する処理を行う。
この形態では、原料充填層(炭酸固化体を再炭酸化させて強度向上を図る場合には“炭酸固化体”)内での水の分布状態を均一化するため、原料充填層の内部に水を十分に含ませた後、原料充填層の内部を減圧してその水の一部(すなわち、原料粒子の表面付着水以外の余分な水)を排出する処理を行い、しかる後、初期炭酸化工程(炭酸固化体を再炭酸化させて強度向上を図る場合には、再炭酸化工程)を行う。上記のような処理を行うことにより水の分布状態が均一化すると考えられる原理を、原料充填層の場合を例に図5(模式図)に基づいて説明する。
そして、以上のような処理によって水(間隙水)の分布状態が適正化された原料充填層に、初期炭酸化工程において炭酸ガス存在下で炭酸化反応を生じさせることにより、原料充填層全体で効率的且つ均一に炭酸化反応が進行し、この結果、生成したCaCO3による原料粒子間の結合力が向上し、炭酸固化体の強度を高めることができる。ここで、炭酸ガス存在下で炭酸化反応を生じさせるのに実際に使用するガスは、炭酸ガス又は炭酸ガス含有ガスである。
この場合、再炭酸化の対象となるのは、上述した方法によって得られた炭酸固化体である。先に述べたように、スラグなどの粉粒状の未炭酸化Ca含有原料の充填層を炭酸化反応により固結させた炭酸固化体は全体に微細な貫通気孔を有しており、その内部に水を含ませる(浸透させる)ことができる。この炭酸固化体に対して、強度向上を目的として再炭酸化を行うものであるが、この際、炭酸固化体内での水の分布状態を均一化するため、炭酸固化体の内部に水を十分に含ませた後、炭酸固化体の内部を減圧してその水の一部(すなわち、原料粒子の表面付着水以外の余分な水)を排出する処理を行う。
以上述べた好ましい実施形態における原料充填層又は炭酸固化体の「減圧処理(図4及び図5のいずれの場合も含む)−炭酸化処理」は、これを複数回繰り返して実施してもよい。この場合、例えば最初に図5の原理に基づく「減圧処理−炭酸化処理」を行い、次いで、図4の原理に基づく「減圧処理−炭酸化処理」を行うようにすることもできる。
原料充填層又は炭酸固化体の内部を減圧する方法も任意であり、例えば、原料充填層を形成すべき型枠を気密にできるようにし、この型枠に真空ポンプを備えた排気(吸引)機構を接続し、この排気機構により型枠内部(すなわち、原料充填層又は炭酸固化体の内部)を減圧するようにしてもよい。また、型枠などから取り出した炭酸固化体を別に用意した気密容器に収容し、この気密容器内を上記のような排気(吸引)機構により減圧するようにしてもよい。
炭酸化処理される原料充填層又は炭酸固化体中の含水率は、原料充填層又は炭酸固化体内部の空隙率(気孔率)などによっても異なるが、通常は1〜7%、好ましくは2〜5%程度とするのが適当である。また、粒径が実質的に3mm以下の未炭酸化Ca含有原料を用いる場合には、一般に3〜11%、好ましくは5〜9%程度の含水率とするのが適当である。したがって、減圧処理により原料充填層又は炭酸固化体中の水の一部を排出させる場合には、減圧処理後の含水率が上記の範囲になるよう、減圧処理前の含水率、減圧の程度、原料充填層又は炭酸固化体内部の空隙率(気孔率)などを調整することが好ましい。
原料充填層又は炭酸固化体に炭酸ガス存在下で炭酸化反応を生じさせるには、通常、上記型枠又は気密容器内に炭酸ガスを供給し、原料充填層又は炭酸固化体の内部に炭酸ガスを吹き込むか、或いは原料充填層又は炭酸固化体を気密容器の炭酸ガス雰囲気内に置き、原料充填層又は炭酸固化体の内部に炭酸ガスを浸透させる。
図6はその一例を示すもので、原料充填層を形成する型枠を縦断面した状態を示している。
前記型枠1cは実質的に気密にすることが可能な型枠であって、図1と同じく容器状の本体100cとその上部を閉塞する蓋体101cとから構成されている。前記本体100cの底部にはガス給排気部2c(ガス給排気用空間)が設けられるとともに、このガス給排気部2cと本体100cとの間の隔壁には多数のガス通孔20cが形成されている。前記ガス給排気部2cには、ガス給排気管7cが接続されるとともに、このガス給排気管7cには、炭酸ガス又は炭酸ガス含有ガス(以下、総称して“炭酸ガス”という)を供給するためのガス供給管8cと、型枠1c内の減圧を行うための吸引ポンプ10cを備えた吸引管9cが接続されている。また、型枠1cの上部には型枠内に供給されたガスの排気を行うための排気管4cが接続されている。その他図面において、6c、11c、12cは各配管系に設けられた開閉弁である。
上記のように原料充填層Aを形成後、蓋体101cを装着して型枠1cを気密状態にし、しかる後、吸引管9cの吸引ポンプ10cを用いた吸引により型枠1c内から排気を行う。これにより原料充填層A(型枠)の内部が減圧され、原料充填層A内には先に述べたような水(間隙水)の適切な分布状態、すなわち、各原料粒子に表面付着水が均一に存在し且つ原料粒子間にCO2の通り路となる間隙が適切に確保された状態が実現する。
次いで、開閉弁11c,12cの操作によって吸引管9cとガス供給管8cとを切り替え、ガス供給管8cから型枠1c内に炭酸ガスを供給して初期炭酸化工程を開始し、以降は図1の実施形態と同様の一連の工程を行う。
上記のように原料充填層Aに水を十分に含ませた後、蓋体101cを装着して型枠1cを気密状態にし、しかる後、吸引管9cの吸引ポンプ10cを用いた吸引により型枠1c内から排気を行う。これにより原料充填層A(型枠)の内部が減圧され、原料充填層A内の空気及び水(間隙水)が原料充填層から押し出され、ガス通孔20、ガス給排気部2cを経由して型枠1cから排出される。この結果、原料充填層A内には先に述べたような水(間隙水)の適切な分布状態、すなわち、各原料粒子に表面付着水が均一に存在し且つ原料粒子間にCO2の通り路となる間隙が適切に確保された状態が実現する。
以上のような各実施形態の製造方法により十分な強度を有する炭酸固化体が製造されるが、この炭酸固化体の強度をさらに高めるために、上記のような工程で得られた炭酸固化体をそのまま型枠内に収納した状態で、或いは別の容器に移して再炭酸化を行うようにしてもよい。
その際、上記原料充填層Aを炭酸固化させる場合と同様に、(a)炭酸固化体の内部を一旦減圧処理し、しかる後、炭酸ガスを供給して再炭酸化を実施する方法、(b)炭酸固化体に十分な水を含ませた後、炭酸固化体の内部を減圧処理して余分な水を排出し、しかる後、炭酸ガスを供給して再炭酸化を実施する方法、(c)先に述べたような初期炭酸化工程(A1)、中間処理工程(B1)、後期炭酸化工程(C2)を順次行う方法、などの方法を採ることができる。
炭酸固化体を再炭酸化する場合、上記原料充填層を炭酸固化させる場合と同様に、炭酸固化体内に炭酸ガスを吹き込む方法と、炭酸固化体を炭酸ガス雰囲気内に置いて炭酸ガスを内部に浸透させる方法とがあり、いずれの方法を用いてもよい。
上記のように処理容器1d内に炭酸固化体Bを入れた後、蓋体101dを装着して処理容器1dを気密状態にし、しかる後、吸引管9dの吸引ポンプ10dを用いた吸引により処理容器1d内から排気を行う。これにより炭酸固化体B(処理容器)の内部が減圧され、炭酸固化体B内には先に述べたような水(間隙水)の適切な分布状態、すなわち、各原料粒子に表面付着水が均一に存在し且つ原料粒子間にCO2の通り路となる間隙が適切に確保された状態が実現する。
次いで、開閉弁11d,12dの操作によって吸引管9dとガス供給管8dとを切り替え、ガス供給管8dから処理容器1d内に炭酸ガスを一定期間(例えば、数時間〜数百時間程度)供給し、炭酸固化体Bの再炭酸化処理を行う。この再炭酸化処理の条件や作用効果等は先に述べた実施形態と同様である。この再炭酸化処理後、処理容器1dから炭酸固化体Bを取り出す。なお、以上述べた「減圧処理−炭酸化処理」は、これを複数回繰り返して実施してもよい。
次いで、開閉弁11e,12eの操作によって吸引管9eとガス供給管8eを切り替え、ガス供給管8eから処理容器1e内に炭酸ガスを一定期間(例えば、数時間〜数百時間程度)供給し、炭酸固化体Bの再炭酸化処理を行う。この再炭酸化処理の条件や作用効果等は先に述べた実施形態と同様である。この再炭酸化処理後、処理容器1eから炭酸固化体Bを取り出す。なお、以上述べた「減圧処理−炭酸化処理」は、これを複数回繰り返して実施してもよい。
この製造方法は、未炭酸化Ca含有原料を予成形した予成形体を効率的に炭酸固化させて炭酸固化体を製造することを目的としたものであり、粉粒状の未炭酸化Ca含有原料を、水分を含んだ状態で炭酸ガスと接触させて炭酸化反応で固結させることにより、炭酸固化体を製造する方法であって、未炭酸化Ca含有原料の予成形体を実質的に気密な容器内に収納した後、この容器内を減圧する脱気工程(X)と、この該脱気工程(X)に引き続き、前記容器内に炭酸ガスを供給して予成形体の未炭酸化Ca含有原料に炭酸化反応を生じさせる炭酸化工程(Y)とを有する。
この処理容器1bは、図2に示すものと同様である。すなわち、処理容器1bは実質的に気密にすることが可能な容器であって、その側部には原料出し入れ部102bが設けられている。
この処理容器1bにはガス給排気管7が接続されるとともに、このガス給排気管7には、炭酸ガスを供給するためのガス供給管8と、処理容器1b内の減圧を行うための吸引ポンプ10を備えた吸引管9が接続されている。また、処理容器1bの上部には処理容器内に供給されたガスの排気を行うための排気管4bが接続されている。その他図面において、6b、11、12は各配管系に設けられた開閉弁である。
・脱気工程(X)
この工程では、吸引管9の吸引ポンプ10を用いた吸引により処理容器1b内を減圧する。当然、未炭酸化Ca含有原料の予成形体Cの内部も減圧・脱気された状態となる。
この脱気工程(X)における処理容器1b内の減圧の程度に特別な制限はないが、続く炭酸化工程(Y)での処理効率の観点から、処理容器1b内部を0.8気圧以下、より望ましくは0.4気圧以下に減圧することが好ましい。
上記の脱気工程(X)に引き続き、開閉弁11,12の操作によって吸引管9とガス供給管8とを切り替え、ガス供給管8から処理容器1b内に、未炭酸化Ca含有原料の予成形体Cの炭酸化を目的として定常的な炭酸ガスの供給を所定時間(例えば、0.5〜3時間程度)行う。
未炭酸化Ca含有原料の予成形体Cの内部は減圧・脱気された状態にあるため、炭酸ガスの一部は予成形体Cの表面から内部に効率的に浸透し、未炭酸化Ca含有原料に炭酸化反応を生じさせる。炭酸ガスの残りは排気管4bから処理容器1b外に排出される。
なお、上記脱気工程(X)と炭酸化工程(Y)は、これを2回以上繰り返して行うことができる。例えば、予成形体Cの大きさや原料粒度によって炭酸化処理の効率には差があり、上記脱気工程(X)と炭酸化工程(Y)を2回以上行った方が、処理効率面で有利な場合もあるからである。
すなわち、この実施形態では、上記炭酸化工程(Y)が、容器内に炭酸ガスの供給を行って予成形体の未炭酸化Ca含有原料に炭酸化反応を生じさせる初期炭酸化工程(a)と、この初期炭酸化工程(a)に引き続き、容器内に供給する炭酸ガス量を減少させるか又は容器内への炭酸ガスの供給を休止する中間処理工程(b)と、この中間処理工程(b)に引き続き、容器内に供給する炭酸ガス量を増加させるか又は容器内への炭酸ガスの供給を再開し、前記予成形体の未炭酸化Ca含有原料に炭酸化反応を生じさせる後期炭酸化工程(c)とを有するものである。
以上の操作を行うことにより、原料粒子の表面付着水への炭酸ガスの溶解が実質的に停止するとともに、先に述べた(a)〜(f)の機構によって炭酸カルシウムの析出が活性化する。
この後期炭酸化工程(c)は予成形体Cが十分に固結するまで行われ、後期炭酸化工程(c)終了後、製品である固結した予成形体C(炭酸固化体)を処理容器1bから取り出す。
この場合も、上記中間処理工程(b)と後期炭酸化工程(c)は、これを2回以上繰り返して行うことができる。また、各工程(a)〜(b)の期間は、図1及び図2で述べた実施形態と同様である。
また、本発明により製造される炭酸固化体は、漁礁・藻礁造成用石材、築磯用石材、水質浄化用石材、通水性舗装用石材、通水性被覆ブロック、埋設排水溝用ブロック、水耕栽培用ベース材、浄水用フィルター、給水用容器をはじめとする種々の用途に使用することができる。
粉粒状の未炭酸化Ca含有原料を炭酸化反応によって固結させることにより炭酸固化体を製造する方法にあっては、未炭酸化Ca含有原料中に含まれる未炭酸化Ca、すなわちCaO及び/又はCa(OH)2は、少なくとも固体粒子の組成の一部として含まれるものであればよく、したがって、鉱物としてのCaO、Ca(OH)2の他に、2CaO・SiO2、3CaO・SiO2、ガラスなどのように組成の一部として固体粒子中に存在するものも含まれる。
また、鉄鋼製造プロセスで発生するスラグには相当量の鉄分(粒鉄などの鉄分)が含まれており、このようなスラグをそのまま使用すると、この鉄分の分だけ原料中でのCaO濃度が低下するため、スラグとしては地金(鉄分)回収処理を経たスラグを用いることが好ましい。この地金(鉄分)回収処理は、スラグ中に含まれている鉄分を鉄鋼製造プロセスにリサイクルするために一般に行われているもので、通常、スラグはこの地金回収を行うために粉砕処理され、磁気選別などの手段によりスラグ中に含まれる鉄分の相当量が回収除去される。
また、未炭酸化Ca含有材としては、上記のスラグやコンクリート以外に、モルタル、ガラス、アルミナセメント、CaO含有耐火物などが挙げられ、これらの1種以上を単独でまたは混合して、或いはスラグ及び/又はコンクリートと混合して使用することもできる。
これらの材料は必要に応じて粉粒状に破砕処理され、原料として用いられる。
未炭酸化Ca含有原料は、その全量が未炭酸化Caを含む固体粒子である必要はない。すなわち、未炭酸化Ca含有原料に含まれる未炭酸化Caの炭酸化によって炭酸固化体のバインダーとして十分な量のCaCO3が生成されるのであれば、未炭酸化Ca含有原料に未炭酸化Caを含まない固体粒子が含まれていてもよい。このような固体粒子としては、例えば、天然石、砂、可溶性シリカ、フライアッシュ、クリンカーアッシュ、金属(例えば、金属鉄、酸化鉄)などが挙げられる。
また、バインダーとなる成分として、例えば、セメントや水砕スラグ微粉末などを少量添加してもよい。
粉粒状の未炭酸化Ca含有原料の粒度に特別な制限はないが、CO2との接触面積を確保して反応性を高めるためにはある程度粒度が細かい方が好ましく、具体的には実質的に(すなわち、不可避的に含まれる粒度の大きい固体粒子を除き)20mm以下、特に望ましくは5mm以下の粒度のものが好ましい。
また、炭酸ガスの供給量にも特別な制限はないが、一般的な目安としては0.004〜0.5m3/min・t(原料ton)程度のガス供給量が確保できればよい。また、ガス供給時間(炭酸化処理時間)にも特別な制約はないが、目安としては炭酸ガスの供給量が未炭酸化Ca含有原料の重量の3%以上となる時点、すなわち、ガス量に換算すると原料1t当たり15m3以上、好ましくは200m3以上の炭酸ガスが供給されるまでガス供給を行うことが好ましい。
また、炭酸ガス又は炭酸ガス含有ガスは原料の乾燥を防ぐために加湿した状態で未炭酸化Ca含有原料に供給されることが好ましい。このため未炭酸化Ca含有原料にガスを供給するに当たっては、炭酸ガス又は炭酸ガス含有ガスを一旦水中に吹き込んでH2Oを飽和させた後、原料に供給することが好ましく、これにより未炭酸化Ca含有原料の乾燥を防止して炭酸化反応を促進させることができる。
図1に示すような構造の1m×1m×1mの型枠に対して水を加えた製鋼スラグ(粒径:−3mm)を装入した後、加圧振動成形機で加振して高さ約0.5mの原料充填層を形成した。型枠の底部から炭酸ガス含有ガス(CO2:25%)を前記原料充填層に吹き込み原料を炭酸固化させた。
本発明例では、本発明条件に従い初期炭酸化工程(A)、中間処理工程(B)及び後期炭酸化工程(C)の3工程を経て炭酸固化体の製造を行った。一方、比較例では、常時炭酸ガス含有ガスの供給を行って炭酸固化体の製造を行った。それぞれの製造条件と、製造された炭酸固化体から採取した試験体(コア)の圧縮強度を表1に示す。
製鋼スラグ(粒径:−5mm)にバインダーとして糖蜜とパルプ廃液を混合し、これを0.5m×0.5m×0.5mのサイズに圧縮成形した予成形体(含水率:8%)を、図3に示すような構造の1m×1m×1mの気密容器内に入れ、この気密容器内の空気を30分間吸引排気して容器内部を−30cmHgまで減圧した後、気密容器内に炭酸ガス含有ガス(CO2:25%)を給気し、大気圧程度で1時間封止した。以上の減圧/炭酸ガス封止を80回繰り返すことで炭酸固化体の製造を行った。この炭酸固化体から採取した試験体(コア)の気孔率及び圧縮強度は以下のとおりであった。
気孔率:28%
圧縮強度:105kgf/cm2
上記[実施例1]の発明例1で得られた炭酸化固化体に水を含ませ、これを気密性のある小型容器内に入れ、下記の工程(1)〜(3)に従い再炭酸化処理を行った。すなわち、工程(1)を20時間行った後、「工程(2):4時間→工程(3):20時間」を10回繰り返し、処理を終了した。炭酸ガス含有ガスとしてはCO2:25%のガスを用いた。
(1)容器内への炭酸ガス含有ガス(CO2:20%、CO2供給量:50L/min)の供給・封入
(2)容器の大気開放
(3)容器内への炭酸ガス含有ガスの供給・封入(CO2:20%、CO2供給量:50L/min)
この再炭酸化処理後の炭酸固化体から採取した試験体(コア)の気孔率及び圧縮強度は以下のとおりであった。
気孔率:38.3%
圧縮強度:142kgf/cm2
上記[実施例1]の発明例1で得られた炭酸化固化体に水を含ませ、これを気密性のある小型容器内に入れ、下記の工程(1)〜(4)に従い再炭酸化処理を行った。すなわち、工程(1)で容器内を減圧した後、工程(2)を1時間行い、次いで、「工程(3):1時間→工程(4):1時間」を10回繰り返し、処理を終了した。炭酸ガス含有ガスとしてはCO2:25%のガスを用いた。
(1)容器内を−34cmHgまで減圧して15分間保持
(2)容器内への炭酸ガス含有ガスの供給・封入(CO2:20%、CO2供給量:50L/min)
(3)容器の大気開放
(4)容器内への炭酸ガス含有ガスの供給・封入(CO2:20%、CO2供給量:50L/min)
この再炭酸化処理後の炭酸固化体から採取した試験体(コア)の気孔率及び圧縮強度は以下のとおりであった。
気孔率:38.4%
圧縮強度:136kgf/cm2
上記[実施例1]の発明例1と同じ条件で、気密型の型枠内に製鋼スラグの原料充填層を形成した。まず、型枠内を−33cmHgまで減圧して15分保持し、次いで、[実施例1]の発明例1と同じ条件で充填層を炭酸固化させる処理を行い、炭酸固化体を製造した。この炭酸固化体から採取した試験体(コア)の気孔率及び圧縮強度は以下のとおりであった。
気孔率:38.5%
圧縮強度:121kgf/cm2
1a,1b,1d,1e 処理容器
2 ガス給気部
2c,2d ガス給排気部
3,3a ガス供給管
4,4a,4b,4c,4d,4e 排気管
7,7c,7d,7e ガス給排気管
8,8c,8d,8e ガス供給管
9,9c,9d,9e 吸引管
10,10c,10d,10e 吸引ポンプ
20 ガス通孔
100,100c,100d,100e 本体
101,101c,101d,101e 蓋体
A 原料充填層
B 炭酸固化体
C 予成形体
Claims (6)
- 粉粒状の未炭酸化Ca含有原料を、水分を含んだ状態で炭酸ガスと接触させて炭酸化反応で固結させることにより、炭酸固化体を製造する方法であって、
未炭酸化Ca含有原料の予成形体を実質的に気密な容器内に収納した後、該容器内を減圧する脱気工程と、
該脱気工程に引き続き、前記容器内に炭酸ガスを供給して予成形体の未炭酸化Ca含有原料に炭酸化反応を生じさせる炭酸化工程とを有することを特徴とする炭酸固化体の製造方法。 - 未炭酸化Ca含有原料の予成形体に水を含ませた後、脱気工程を行い、予成形体内部の減圧により前記水の一部を排出することを特徴とする請求項1に記載の炭酸固化体の製造方法。
- 炭酸化工程が、
容器内に炭酸ガスの供給を行って予成形体の未炭酸化Ca含有原料に炭酸化反応を生じさせる初期炭酸化工程と、
該初期炭酸化工程に引き続き、容器内に供給する炭酸ガス量を減少させるか又は容器内への炭酸ガスの供給を休止する中間処理工程と、
該中間処理工程に引き続き、容器内に供給する炭酸ガス量を増加させるか又は容器内への炭酸ガスの供給を再開し、前記予成形体の未炭酸化Ca含有原料に炭酸化反応を生じさせる後期炭酸化工程とを有することを特徴とする請求項1又は2に記載の炭酸固化体の製造方法。 - 中間処理工程では、容器内への炭酸ガスの供給を休止するとともに、容器内雰囲気を空気以下の炭酸ガス濃度とすることを特徴とする請求項3に記載の炭酸固化体の製造方法。
- 請求項1〜4のいずれかに記載の製造方法で得られ、且つ水分を含んだ炭酸固化体の内部を減圧し、しかる後、該炭酸固化体に炭酸ガス存在下で再度炭酸化反応を生じさせることを特徴とする炭酸固化体の製造方法。
- 請求項1〜4のいずれかに記載の製造方法で得られた炭酸固化体の内部に水を含ませた後、該炭酸固化体の内部を減圧することにより前記水の一部を排出し、しかる後、前記炭酸固化体に炭酸ガス存在下で再度炭酸化反応を生じさせることを特徴とする炭酸固化体の製造方法。
Priority Applications (1)
| Application Number | Priority Date | Filing Date | Title |
|---|---|---|---|
| JP2010019816A JP5263190B2 (ja) | 2003-11-25 | 2010-01-30 | 炭酸固化体の製造方法 |
Applications Claiming Priority (3)
| Application Number | Priority Date | Filing Date | Title |
|---|---|---|---|
| JP2003393392 | 2003-11-25 | ||
| JP2003393392 | 2003-11-25 | ||
| JP2010019816A JP5263190B2 (ja) | 2003-11-25 | 2010-01-30 | 炭酸固化体の製造方法 |
Related Parent Applications (1)
| Application Number | Title | Priority Date | Filing Date |
|---|---|---|---|
| JP2004101533A Division JP4506236B2 (ja) | 2003-11-25 | 2004-03-30 | 炭酸固化体の製造方法 |
Publications (2)
| Publication Number | Publication Date |
|---|---|
| JP2010095443A true JP2010095443A (ja) | 2010-04-30 |
| JP5263190B2 JP5263190B2 (ja) | 2013-08-14 |
Family
ID=42257399
Family Applications (1)
| Application Number | Title | Priority Date | Filing Date |
|---|---|---|---|
| JP2010019816A Expired - Lifetime JP5263190B2 (ja) | 2003-11-25 | 2010-01-30 | 炭酸固化体の製造方法 |
Country Status (1)
| Country | Link |
|---|---|
| JP (1) | JP5263190B2 (ja) |
Cited By (5)
| Publication number | Priority date | Publication date | Assignee | Title |
|---|---|---|---|---|
| EP3119730B1 (en) | 2014-03-21 | 2020-04-29 | The Royal Institution for the Advancement of Learning / McGill University | Method for making carbonate-bonded construction products from steel-making residues |
| EP3097405B1 (en) * | 2014-01-22 | 2021-10-20 | Solidia Technologies, Inc. | Method and apparatus for curing co2 composite material objects at near ambient temperature and pressure |
| CN114231065A (zh) * | 2021-12-21 | 2022-03-25 | 湖北工业大学 | 一种原位加速碳酸化石灰基涂料及其制备与使用方法 |
| JPWO2022118731A1 (ja) * | 2020-12-03 | 2022-06-09 | ||
| JP2023506421A (ja) * | 2019-12-10 | 2023-02-16 | カービクリート インコーポレイテッド | プレキャストコンクリート製品を硬化させるためのシステムおよび方法 |
Families Citing this family (1)
| Publication number | Priority date | Publication date | Assignee | Title |
|---|---|---|---|---|
| CN120641371A (zh) | 2023-02-07 | 2025-09-12 | 杰富意钢铁株式会社 | 固化体、路基材料及固化体的制造方法 |
Citations (3)
| Publication number | Priority date | Publication date | Assignee | Title |
|---|---|---|---|---|
| JPS5359715A (en) * | 1976-11-10 | 1978-05-29 | Kubota Ltd | Method of curing cement products |
| JPS63103878A (ja) * | 1986-10-17 | 1988-05-09 | 太平洋セメント株式会社 | γ型珪酸二石灰の炭酸化養生方法 |
| JP2002356385A (ja) * | 2001-06-01 | 2002-12-13 | Clion Co Ltd | 炭酸硬化成形体の製造方法 |
-
2010
- 2010-01-30 JP JP2010019816A patent/JP5263190B2/ja not_active Expired - Lifetime
Patent Citations (3)
| Publication number | Priority date | Publication date | Assignee | Title |
|---|---|---|---|---|
| JPS5359715A (en) * | 1976-11-10 | 1978-05-29 | Kubota Ltd | Method of curing cement products |
| JPS63103878A (ja) * | 1986-10-17 | 1988-05-09 | 太平洋セメント株式会社 | γ型珪酸二石灰の炭酸化養生方法 |
| JP2002356385A (ja) * | 2001-06-01 | 2002-12-13 | Clion Co Ltd | 炭酸硬化成形体の製造方法 |
Cited By (9)
| Publication number | Priority date | Publication date | Assignee | Title |
|---|---|---|---|---|
| EP3097405B1 (en) * | 2014-01-22 | 2021-10-20 | Solidia Technologies, Inc. | Method and apparatus for curing co2 composite material objects at near ambient temperature and pressure |
| US11517874B2 (en) | 2014-01-22 | 2022-12-06 | Solidia Technologies, Inc. | Method and apparatus for curing CO2 composite material objects at near ambient temperature and pressure |
| EP3119730B1 (en) | 2014-03-21 | 2020-04-29 | The Royal Institution for the Advancement of Learning / McGill University | Method for making carbonate-bonded construction products from steel-making residues |
| JP2023506421A (ja) * | 2019-12-10 | 2023-02-16 | カービクリート インコーポレイテッド | プレキャストコンクリート製品を硬化させるためのシステムおよび方法 |
| JP7609871B2 (ja) | 2019-12-10 | 2025-01-07 | カービクリート インコーポレイテッド | プレキャストコンクリート製品を硬化させるためのシステムおよび方法 |
| JPWO2022118731A1 (ja) * | 2020-12-03 | 2022-06-09 | ||
| WO2022118731A1 (ja) * | 2020-12-03 | 2022-06-09 | 株式会社フジタ | コンクリートへの二酸化炭素の固定方法、およびコンクリートを含むコンクリート構造体 |
| CN114231065A (zh) * | 2021-12-21 | 2022-03-25 | 湖北工业大学 | 一种原位加速碳酸化石灰基涂料及其制备与使用方法 |
| CN114231065B (zh) * | 2021-12-21 | 2022-12-02 | 湖北工业大学 | 一种原位加速碳酸化石灰基涂料及其制备与使用方法 |
Also Published As
| Publication number | Publication date |
|---|---|
| JP5263190B2 (ja) | 2013-08-14 |
Similar Documents
| Publication | Publication Date | Title |
|---|---|---|
| JP5263190B2 (ja) | 炭酸固化体の製造方法 | |
| CN102083771B (zh) | 通过碱性材料的碳化制备主要由碳酸盐粘合的制品 | |
| JP4240638B2 (ja) | 人工石材の製造方法 | |
| JP4506236B2 (ja) | 炭酸固化体の製造方法 | |
| CN112321262A (zh) | 河湖清淤底泥的低碱性环保固化剂及其使用方法 | |
| JP3828897B2 (ja) | 製鋼スラグの安定化処理方法および安定化製鋼スラグ | |
| CN115536432B (zh) | 混凝土预制构件的二氧化碳矿化养护方法 | |
| KR20120120321A (ko) | 철 이온 공급 재료 및 그 제조 방법 그리고 철 이온 공급 방법 | |
| JP5531555B2 (ja) | 水中沈設用石材 | |
| ES2754783T3 (es) | Método para producir un objeto unido que comprende un material granular carbonatado moldeado por presión | |
| CN102869634B (zh) | 人造石材的制造方法 | |
| US11427510B1 (en) | Method and article for improving the strength of carbonated calcium hydroxide compacts | |
| JP4474907B2 (ja) | 炭酸固化体の製造方法 | |
| JP4474906B2 (ja) | 炭酸固化体の製造方法 | |
| JP2001253785A (ja) | 多孔質炭酸固化体の製造方法 | |
| JP4539121B2 (ja) | 炭酸固化体の製造方法 | |
| JP4934945B2 (ja) | 炭酸固化体の製造方法 | |
| JP2002003921A (ja) | 炭酸固化体の製造方法 | |
| JP4474690B2 (ja) | 水質浄化用多孔質石材及び水質浄化方法 | |
| JP3198279B2 (ja) | スラグ等を主原料とする石材の製造方法 | |
| JP4797402B2 (ja) | 水中生物着生用器具及びその製造方法 | |
| JP2004209378A (ja) | 石炭灰の処理方法 | |
| JP2005204655A (ja) | 水中沈設用炭酸固化体の製造方法 | |
| JP2006255705A (ja) | 炭酸固化体の製造方法 | |
| JP2000157095A (ja) | 藻礁の造成または改良方法 |
Legal Events
| Date | Code | Title | Description |
|---|---|---|---|
| A621 | Written request for application examination |
Free format text: JAPANESE INTERMEDIATE CODE: A621 Effective date: 20100130 |
|
| A977 | Report on retrieval |
Free format text: JAPANESE INTERMEDIATE CODE: A971007 Effective date: 20120306 |
|
| A131 | Notification of reasons for refusal |
Free format text: JAPANESE INTERMEDIATE CODE: A131 Effective date: 20121016 |
|
| A521 | Request for written amendment filed |
Free format text: JAPANESE INTERMEDIATE CODE: A523 Effective date: 20121212 |
|
| TRDD | Decision of grant or rejection written | ||
| A01 | Written decision to grant a patent or to grant a registration (utility model) |
Free format text: JAPANESE INTERMEDIATE CODE: A01 Effective date: 20130402 |
|
| A61 | First payment of annual fees (during grant procedure) |
Free format text: JAPANESE INTERMEDIATE CODE: A61 Effective date: 20130415 |
|
| R150 | Certificate of patent or registration of utility model |
Ref document number: 5263190 Country of ref document: JP Free format text: JAPANESE INTERMEDIATE CODE: R150 Free format text: JAPANESE INTERMEDIATE CODE: R150 |
|
| R250 | Receipt of annual fees |
Free format text: JAPANESE INTERMEDIATE CODE: R250 |
|
| R250 | Receipt of annual fees |
Free format text: JAPANESE INTERMEDIATE CODE: R250 |
|
| R250 | Receipt of annual fees |
Free format text: JAPANESE INTERMEDIATE CODE: R250 |
|
| EXPY | Cancellation because of completion of term |
