JP2010094814A - 画像形成装置 - Google Patents

画像形成装置 Download PDF

Info

Publication number
JP2010094814A
JP2010094814A JP2008264817A JP2008264817A JP2010094814A JP 2010094814 A JP2010094814 A JP 2010094814A JP 2008264817 A JP2008264817 A JP 2008264817A JP 2008264817 A JP2008264817 A JP 2008264817A JP 2010094814 A JP2010094814 A JP 2010094814A
Authority
JP
Japan
Prior art keywords
suction hole
nozzles
suction
paper
recording head
Prior art date
Legal status (The legal status is an assumption and is not a legal conclusion. Google has not performed a legal analysis and makes no representation as to the accuracy of the status listed.)
Granted
Application number
JP2008264817A
Other languages
English (en)
Other versions
JP5277853B2 (ja
Inventor
Takashi Miyagi
隆 宮城
Naoki Okazaki
直樹 岡崎
渉 ▲高▼橋
Wataru Takahashi
Yoshinari Suzuki
能成 鈴木
Current Assignee (The listed assignees may be inaccurate. Google has not performed a legal analysis and makes no representation or warranty as to the accuracy of the list.)
Ricoh Co Ltd
Original Assignee
Ricoh Co Ltd
Priority date (The priority date is an assumption and is not a legal conclusion. Google has not performed a legal analysis and makes no representation as to the accuracy of the date listed.)
Filing date
Publication date
Application filed by Ricoh Co Ltd filed Critical Ricoh Co Ltd
Priority to JP2008264817A priority Critical patent/JP5277853B2/ja
Priority to US12/574,966 priority patent/US8136902B2/en
Publication of JP2010094814A publication Critical patent/JP2010094814A/ja
Application granted granted Critical
Publication of JP5277853B2 publication Critical patent/JP5277853B2/ja
Expired - Fee Related legal-status Critical Current
Anticipated expiration legal-status Critical

Links

Images

Classifications

    • BPERFORMING OPERATIONS; TRANSPORTING
    • B41PRINTING; LINING MACHINES; TYPEWRITERS; STAMPS
    • B41JTYPEWRITERS; SELECTIVE PRINTING MECHANISMS, i.e. MECHANISMS PRINTING OTHERWISE THAN FROM A FORME; CORRECTION OF TYPOGRAPHICAL ERRORS
    • B41J29/00Details of, or accessories for, typewriters or selective printing mechanisms not otherwise provided for
    • B41J29/38Drives, motors, controls or automatic cut-off devices for the entire printing mechanism
    • BPERFORMING OPERATIONS; TRANSPORTING
    • B41PRINTING; LINING MACHINES; TYPEWRITERS; STAMPS
    • B41JTYPEWRITERS; SELECTIVE PRINTING MECHANISMS, i.e. MECHANISMS PRINTING OTHERWISE THAN FROM A FORME; CORRECTION OF TYPOGRAPHICAL ERRORS
    • B41J11/00Devices or arrangements  of selective printing mechanisms, e.g. ink-jet printers or thermal printers, for supporting or handling copy material in sheet or web form
    • B41J11/007Conveyor belts or like feeding devices
    • BPERFORMING OPERATIONS; TRANSPORTING
    • B41PRINTING; LINING MACHINES; TYPEWRITERS; STAMPS
    • B41JTYPEWRITERS; SELECTIVE PRINTING MECHANISMS, i.e. MECHANISMS PRINTING OTHERWISE THAN FROM A FORME; CORRECTION OF TYPOGRAPHICAL ERRORS
    • B41J11/00Devices or arrangements  of selective printing mechanisms, e.g. ink-jet printers or thermal printers, for supporting or handling copy material in sheet or web form
    • B41J11/0085Using suction for maintaining printing material flat
    • BPERFORMING OPERATIONS; TRANSPORTING
    • B41PRINTING; LINING MACHINES; TYPEWRITERS; STAMPS
    • B41JTYPEWRITERS; SELECTIVE PRINTING MECHANISMS, i.e. MECHANISMS PRINTING OTHERWISE THAN FROM A FORME; CORRECTION OF TYPOGRAPHICAL ERRORS
    • B41J2/00Typewriters or selective printing mechanisms characterised by the printing or marking process for which they are designed
    • B41J2/005Typewriters or selective printing mechanisms characterised by the printing or marking process for which they are designed characterised by bringing liquid or particles selectively into contact with a printing material
    • B41J2/01Ink jet
    • B41J2/135Nozzles
    • B41J2/165Prevention or detection of nozzle clogging, e.g. cleaning, capping or moistening for nozzles
    • B41J2/16517Cleaning of print head nozzles
    • B41J2/1652Cleaning of print head nozzles by driving a fluid through the nozzles to the outside thereof, e.g. by applying pressure to the inside or vacuum at the outside of the print head
    • B41J2/16526Cleaning of print head nozzles by driving a fluid through the nozzles to the outside thereof, e.g. by applying pressure to the inside or vacuum at the outside of the print head by applying pressure only
    • BPERFORMING OPERATIONS; TRANSPORTING
    • B41PRINTING; LINING MACHINES; TYPEWRITERS; STAMPS
    • B41JTYPEWRITERS; SELECTIVE PRINTING MECHANISMS, i.e. MECHANISMS PRINTING OTHERWISE THAN FROM A FORME; CORRECTION OF TYPOGRAPHICAL ERRORS
    • B41J2/00Typewriters or selective printing mechanisms characterised by the printing or marking process for which they are designed
    • B41J2/005Typewriters or selective printing mechanisms characterised by the printing or marking process for which they are designed characterised by bringing liquid or particles selectively into contact with a printing material
    • B41J2/01Ink jet
    • B41J2/135Nozzles
    • B41J2/165Prevention or detection of nozzle clogging, e.g. cleaning, capping or moistening for nozzles
    • B41J2/16585Prevention or detection of nozzle clogging, e.g. cleaning, capping or moistening for nozzles for paper-width or non-reciprocating print heads

Landscapes

  • Ink Jet (AREA)
  • Handling Of Sheets (AREA)

Abstract

【課題】記録ヘッドのヘッド配列方向両端部のノズルや各ヘッドの重なり部分のノズルについて簡単な構成で空吐出を十分に行うことができない。
【解決手段】搬送ベルト43には、複数の吸引孔201がヘッド配列方向に並べて配置された複数の吸引孔列A1〜A5、B1〜B4が所要の間隔で全周にわたって所定の周期で配置され、複数の吸引孔列の内の少なくとも1つの吸引孔列A1は、記録ヘッド51のノズル列端部及び2つのヘッドのノズル配列方向における重なり部のノズル102b、102aと対向する位置を通過する吸引孔201を有する基準吸引孔列であり、基準吸引孔列A1を基準として記録ヘッド51の各ノズル102から吸引孔201に向けて空吐出滴を吐出させる制御をする。
【選択図】図2

Description

本発明は画像形成装置に関し、特に液滴を吐出する記録ヘッドを備える画像形成装置に関する。
プリンタ、ファクシミリ、複写装置、プロッタ、これらの複合機等の画像形成装置として、例えばインク液滴を吐出する記録ヘッドを用いた液体吐出記録方式の画像形成装置としてインクジェット記録装置などが知られている。この液体吐出記録方式の画像形成装置は、記録ヘッドからインク滴を、搬送される用紙(紙に限定するものではなく、OHPなどを含み、インク滴、その他の液体などが付着可能なものの意味であり、被記録媒体あるいは記録媒体、記録紙、記録用紙などとも称される。)に対して吐出して、画像形成(記録、印字、印写、印刷も同義語で使用する。)を行なうものであり、記録ヘッドが主走査方向に移動しながら液滴を吐出して画像を形成するシリアル型画像形成装置と、記録ヘッドが移動しない状態で液滴を吐出して画像を形成するライン型ヘッドを用いるライン型画像形成装置がある。
なお、本願において、液体吐出方式の「画像形成装置」は、紙、糸、繊維、布帛、皮革、金属、プラスチック、ガラス、木材、セラミックス等の媒体に液体を吐出して画像形成を行う装置を意味し、また、「画像形成」とは、文字や図形等の意味を持つ画像を媒体に対して付与することだけでなく、パターン等の意味を持たない画像を媒体に付与すること(単に液滴を媒体に着弾させること)をも意味する。また、「インク」とは、インクと称されるものに限らず、記録液、定着処理液、液体などと称されるものなど、画像形成を行うことができるすべての液体の総称として用い、例えば、DNA試料、レジスト、パターン材料なども含まれる。
このような画像形成装置(以下、単に「インクジェット記録装置」ともいう。)においては、記録ヘッドは、インクをノズルから用紙に吐出させて記録を行なう関係上、ノズルからの溶媒の蒸発に起因するインク粘度の上昇や、インクの固化、塵埃の付着、さらには気泡の混入などにより吐出不良の状態となり、記録不良を起こすという問題を抱えている。
そのため、記録ヘッドからのインク滴吐出状態を良好に維持するため、印刷動作中に、画像形成に寄与しない液滴(空吐出滴)を吐出する、いわゆる空吐出動作を行うようにしている。
シリアル型画像形成装置にあっては、記録ヘッドを移動させながら記録を行うことから、空吐出を行なう位置を、用紙を搬送する搬送手段による用紙搬送経路外の領域に設定し、記録ヘッドの往復動作の一過程として搬送経路外で空吐出を行なうことができるため、印刷動作の中断時間は僅かであり、印刷速度が低下する問題は殆どない。
これに対して、記録ヘッドを移動させない状態(固定した状態)で画像形成を行うライン型画像形成装置にあっては、用紙搬送経路外に空吐出位置を設定した場合、印刷動作を中断させて記録ヘッドを搬送経路外の空吐出位置に移動させる必要があるため、相当の時間のロスが発生し、連続印刷及び高速印刷が実現されないという問題がある。
そこで、従来、特許文献1に記載されているように、搬送ベルトに多数穿設した吸引孔から空気を吸引してシート材を吸着し、搬送ベルトの回転により、シート材を印字部に搬送する構成として、各インクジェットヘッドのすべてのノズルについて、そのいずれのノズルの印字位置を、搬送ベルトに設けたいずれかの吸引孔が通過するようにし、ノズルと吸引孔とを位置合わせした上でノズルからインクを空吐出させることで、吸引孔を介してインク受容部材で受け止めるようにすることが知られている。
特開2007-168277号公報
ところで、複数のヘッドを用紙搬送方向とほぼ直交する方向に千鳥状に配列させた記録ヘッドを用いる場合、2つのヘッドの端部ではノズル配列方向でノズルを重複させてヘッドを配置することで、ヘッドのつなぎ部分でのノズルの欠損を防止するようにしている。そして、このような千鳥配置によって生じた重なり部分でのノズルについて、同色の液滴を吐出することから、一般的に2つのヘッドのノズルを交互に使用して液滴を吐出させるなどの制御を行う。その結果、一度吐出してから次の吐出までの時間が、重なり部分以外のノズルと比較して長くなってしまい、この重なり部分に配置されるノズルの吐出状態を良好に保つことが比較的困難である。
また、記録ヘッドのノズルは搬送できる最大用紙幅を超える範囲まで配列されており、通常使用する用紙サイズはそれよりも少し小さめなことが多いため、記録ヘッドの両端部のノズルの使用頻度は他のノズルと比較して更に少なくなってしまうことになり、定期的に吐出して常にノズルの吐出状態を良好に保っておくことが必要になる。
この場合、従来技術のように、搬送ベルトに用紙を吸引搬送するために設けた吸引孔に向けて空吐出を行うようにしても、必ずしも各ヘッドの重なり部分や記録ヘッドにおけるノズル列(全体を1つのノズル列とみたとき)両端部のノズルに対向してタイミングよく吸引孔が通過するという訳ではなく、重なり部分や両端部のノズルにおける空吐出のタイミングもばらばらになるという課題がある。
本発明は上記の課題に鑑みてなされたものであり、記録ヘッドにおけるノズル列両端部のノズルや各ヘッドの重なり部分のノズルについて空吐出を簡単に行うことができるようにすることを目的とする。
上記の課題を解決するため、本発明に係る画像形成装置は、
液滴を吐出する複数のノズルが配列された複数のヘッドをノズル配列方向に千鳥状に配列した記録ヘッドと、
複数の吸引孔が形成され、前記記録ヘッドのヘッド配列方向と交差する方向に用紙を搬送する無端状の搬送ベルトと、
前記搬送ベルトの複数の吸引孔を通じて前記用紙を吸引する吸引手段と、
前記記録ヘッドから画像形成に寄与しない液滴を前記搬送ベルト上に前記用紙がないときに吐出させる空吐出動作を制御する制御手段と、を備え、
前記搬送ベルトには、複数の吸引孔がヘッド配列方向に並べて配置された複数の吸引孔列が所要の間隔で配置され、
前記複数の吸引孔列の内の少なくとも1つの吸引孔列は、前記記録ヘッドにおけるノズル列端部及び2つの前記ヘッドのノズル配列方向における重なり部のノズルと対向する位置を通過する前記吸引孔を有する基準吸引孔列であり、
前記制御手段は、前記基準吸引孔列を基準として前記記録ヘッドの各ノズルから前記吸引孔に向けて前記空吐出滴を吐出させる制御をする
構成とした。
ここで、前記基準吸引孔列を含む2以上の吸引孔列が前記搬送ベルト全周にわたって所定の繰返し周期で配置されている構成とできる。
また、前記搬送ベルトには前記基準吸引孔列に対応して前記吸引孔列の位置を検出するマークが設けられている構成とできる。
本発明に係る画像形成装置によれば、搬送ベルトに設けられた複数の吸引孔列の内の少なくとも1つの吸引孔列は、記録ヘッドにおけるノズル列端部及び2つのヘッドのノズル配列方向における重なり部のノズルと対向する位置を通過する吸引孔を有する基準吸引孔列であり、この基準吸引孔列を基準として記録ヘッドの各ノズルから吸引孔に向けて空吐出滴を吐出させるので、記録ヘッドにおけるノズル列両端部のノズルや各ヘッドの重なり部分のノズルについて空吐出タイミングがばらばらになることなく、空吐出を簡単に行うことができる。
以下、本発明の実施の形態について添付図面を参照して説明する。まず、本発明の第1実施形態に係る画像形成装置ついて図1及び図2を参照して説明する。なお、図1は同画像形成装置の全体構成を説明する概略構成図、図2は同じく要部平面説明図である。また、図2では記録ヘッドのノズルは透過状態で示している。
この画像形成装置1は、ライン型画像形成装置であり、用紙Pを積載し給紙する給紙部2と、印刷された用紙Pを排紙積載する排紙部3と、用紙Pを給紙部3から排紙部3まで搬送する搬送ユニット4と、搬送ユニット4によって搬送される用紙Pに液滴を吐出し画像を形成する画像形成ユニット5などとを備えている。
給紙部2は、用紙Pを積載する給紙トレイ21と、給紙トレイ21から用紙Pを一枚ずつ分離して給紙する用紙送りローラ対22と、レジストローラ対23と、用紙Pの搬送を案内するガイド部材24などを備えている。
排紙部3は、搬送ベルト43から搬送された用紙Pの下面をガイドしスムーズに送り出すためのジャンプ台32で送り出された用紙Pを積載保持する排紙トレイ31を有している。
搬送ユニット4は、駆動ローラ(搬送ローラ)41と従動ローラ42との間に掛け回された無端状の搬送ベルト43と、搬送ベルト43の吸引孔201からエアー吸引を行って用紙Pを搬送ベルト43上に吸着させる吸引ファンなどの吸引手段44と、画像形成ユニット5に対向する位置で搬送ベルト43を背面から支持するプラテン部材(撓み防止部材)45と、空吐出された空吐出滴(廃液)を受ける空吐出インク受け46などとを有し、搬送ベルト43が図1の矢示方向に周回移動することによって用紙Pをエアー吸着して図中左から右方向へ搬送する。
画像形成ユニット5は、搬送ベルト43上に吸着保持されて搬送される用紙Pに対して4色分のインク(イエローY、マゼンタM、シアンC、ブラックK)の液滴を吐出する4色分のライン型記録ヘッド51Y、51M、51C、51K(以下、色の区別しないときは「記録ヘッド51」という。)を含むヘッドモジュールアレイ50と、各記録ヘッド51に図示しないサブタンクなどのインクタンクからインクを分配供給する分岐部材52などとを有している。
ここで、画像形成ユニット5のヘッドモジュールアレイ50は、図3に示すように、共通ベース部材53上に、複数のノズル102を配列したノズル列を有する複数のヘッド101を用紙搬送方向と交差する(ここでは直交する)方向に千鳥状に配置したものであり、各色の記録ヘッド51は2列の千鳥状配列の複数(この例では10個)のヘッド101によって構成している。なお、ヘッド101の配列方向を「ヘッド配列方向」といい、複数のヘッド101で構成される用紙搬送方向と交差する方向に並ぶ複数のノズルの全体の配列を「記録ヘッドにおけるノズル列」という。
なお、ヘッドモジュールアレイ50は上記の構成に限るものではなく、例えば図4に示すように、8個のヘッドモジュール55a〜55hを共通ベース部材53上に用紙搬送方向に沿って並べて配置したものでもよい。ヘッドモジュール55a〜55hは、それぞれベース部材56に複数(この例では5個)のヘッド101を配列したものであり、用紙搬送方向において隣り合うヘッドモジュール55間でヘッド101が千鳥状配列になるように配置されている。
また、図5に示すように、ヘッド配列方向において隣り合う2つのヘッド101の端部の1又は複数のノズル102が重なり合う(重複する)ようにヘッド101は配列している。これにより、2つのヘッド101のノズル102によって同じ記録位置(ドット位置)に記録を行うことができる。
図1及び図2に戻って、レジストローラ対23の用紙搬送方向上流側(以下、単に「上流側」という。)には、用紙Pを一枚ずつ分離して給紙する用紙送りローラ対22の駆動タイミングを制御するためと、用紙Pの位置及び大きさを読み取るための第1用紙検出部11が配置され、画像形成ユニット5の上流側には記録ヘッド51からの滴吐出タイミング決定用及び用紙後端検知用の記録位置検出部12が配置され、画像形成ユニット5の下流側には用紙Pの位置を読み取る第2用紙検出部13が配置され、駆動ローラ(搬送ローラ)41の上方には用紙Pの紙詰まりや次の用紙Pの供給タイミング決定用の用紙終端検出部14がそれぞれ配置されている。
さらに、図2に示すように、搬送ベルト43上にはベルト基準孔列認識マーク(マーカー)17が設けられ、図1及び図2に示すように、ベルト基準孔列認識マーク17を検知するベルト基準孔列検知センサ16が配置されている。
次に、この画像形成装置における制御部の概要について図6のブロック説明図を参照して説明する。
この制御部は、この画像形成装置全体の制御を司る本発明における空吐出に関わる制御を行う制御手段を兼ねるマイクロコンピュータ、画像メモリ、通信インタフェースなどで構成した主制御部(システムコントローラ)501を備えている。主制御部501は、外部の情報処理装置(ホスト側)などから転送される画像データ及び各種コマンド情報に基づいて用紙に画像を形成するために、印刷制御部502に印刷用データを送出する。
印刷制御部502は、主制御部501からの受領する印刷データ信号に基づいて、記録ヘッド51のノズル102から液滴を吐出させるための圧力発生手段を駆動するためのデータを生成し、このデータの転送及び転送の確定などに必要な各種信号などをヘッドドライバ503に転送するとともに、駆動波形データ格納手段である記憶部、駆動波形のデータをD/A変換するD/A変換器及び電圧増幅器や電流増幅器等で構成される駆動波形生成部、ヘッドドライバ503に与える駆動波形を選択する選択手段を含み、1の駆動パルス(駆動信号)或いは複数の駆動パルス(駆動信号)で構成される駆動波形を生成してヘッドドライバ503に出力して、記録ヘッド51を駆動制御する。
また、主制御部501は、モータドライバ504を介して、搬送ベルト43を周回移動させる用紙送りモータ505や吸引ファン44を駆動するモータなどを駆動制御する。なお、主制御部501は、給紙部2からの用紙Pの給紙を行う給紙モータの駆動制御なども行うが図示を省略している。
また、主制御部501には、前述した各種検出部や検知センサ11ないし16、その他の各種センサを含むセンサ群506からの検出信号が入力され、また、操作部507との間で各種情報の入出力及び表示情報のやり取りを行う。
次に、この画像形成装置における画像形成動作について説明する。
印刷すべき画像データが情報処理装置から主制御部501内の通信インタフェースを介して入力され、内部の画像メモリに格納される。主制御部501は、図示しない用紙送り駆動部により用紙送りローラ対22を駆動し、給紙トレイ21上の最上の用紙Pを分離してレジストローラ対23に向けて給紙するとともに、所定のタイミングで搬送ベルト43の周回移動を開始する。
そして、主制御部501は、用紙検出部11による用紙検出信号を受け取ると、所定のタイミングの後、レジストローラ対22を駆動し、用紙Pを搬送ベルト43上に送り出す。
その後、主制御部501は、用紙Pの先端部が記録位置検出部12のセンサ部に到達したことが検出されると、各記録ヘッド51から所定のタイミングによって搬送された用紙Pに対して画像データに応じて液滴を吐出させて画像を形成する。すなわち、図示しない画像メモリに蓄えられた画像データは印刷制御部502に転送されて色ごとのドットのデータに変換され、このドットデータに応じてヘッドドライバ503を介して記録ヘッド51が駆動されることで、ノズル102から所要の液滴が吐出される。
なお、記録ヘッド51は、記録位置検出部12からの検出結果をもとに用紙Pの搬送速度に同期して滴吐出タイミングが制御され、用紙Pの搬送を停止させることなく用紙P上に画像を形成できる。
そして、画像が形成された用紙Pは引き続き搬送ベルト43によって搬送され、排紙部3の排紙トレイ31上に排出される。
次に、この画像形成装置における空吐出に関わる構成について説明する。
まず、図2を参照して、搬送ベルト43には、記録ヘッド51の全てのノズル102に対し、ノズル102と対向する位置を通過するように配置した複数の吸引孔201が設けられている。ここで、ヘッド配列方向の吸引孔201の配列を「吸引孔列」とする。この例では、吸引孔列A1〜A5(区別しないときは「吸引孔列A」という。)、吸引孔列B1〜B4(区別しないときは「吸引孔列B」という。)が、用紙搬送方向下流側から上流側に向けて、即ち図2においては右から左に向けて所定の間隔で繰り返し配置されている。
なお、吸引孔列A、Bともに、図2に示すように、吸引孔201の中心が用紙搬送方向に対して所定の角度θを有する仮想線分上に位置するように配置し、また、用紙搬送方向と直交する方向に所定の間隔で配置することにより、この実施形態では吸引孔列A1〜A5、B1〜B4の全9列で各記録ヘッド51の全てのノズル102と対向する位置を通過することが可能となっている。
また、吸引孔201の大きさ(孔径)はすべて同じになっているため、1つの吸引孔201に対して吐出するノズル数は所定の連続した一定数に設定されているが、各記録ヘッド51のヘッド101,101の千鳥配置によって生じた重なり部分(ノズル配列方向における重なり部)に相当するノズル102aや使用頻度が少ない記録ヘッド51におけるノズル列端部のノズル102b(ノズル102bは記録ヘッド51におけるノズル列端部のノズルである。)に対しては、上記の約半分のノズル数になるように設定されている。なお、ここで、ノズル102a、102bは1個に限定されず、2以上のノズル102をノズル配列方向で重ねる場合はいずれもノズル102aであり、同様に、ノズル列方向端部のノズル102bも1個に限らず空吐出との関係で2個以上のノズル102をノズル102bとして扱うことも含まれる。
つまり、ヘッド101の重なり部分に対応する吸引孔201に吐出するノズル数は、搬送方向上流側及び搬送方向下流側にあるそれぞれのヘッド101において半分ずつの数のノズル102から空吐出を行い、結果として重なり部分以外の空吐出するノズル数とほぼ同じにしている。
また、図示しないが、吸引孔列A5の次に続いて吸引孔列A、BはA1、B1、A2、・・・と上記の配列を繰り返して配列されている。
さらに、吸引孔列A、Bのうち、吸引孔列A1において各ヘッド101の千鳥配置によって生じた2つのヘッド101の重なり部分に相当するノズル102aや使用頻度が少ないヘッド配列方向端部(記録ヘッド51の端部)のノズル102bを通り用紙搬送方向に平行な線分C及びD上にそれぞれ1つの吸引孔201の中心を設けてある。なお、図2では該当する吸引孔201を太線で示している。
そして、この記録ヘッド51の端部及び2つのヘッド101のヘッド配列方向における重なり部のノズル102aと対向する位置を通過する吸引孔201を有する吸引孔列A1を基準吸引孔列(基準孔列)とし、この基準孔列A1の位置を検知するために前述したベルト基準孔列認識マーク17を搬送ベルト43の側端部(ヘッド配列方向端部)に設け、ベルト基準孔列検知センサ16によって検知するようにしている。なお、ベルト基準孔列認識マーク17は、搬送ベルト43の全周に渡って周期的に繰り返し形成配置される吸引孔列(基準孔列)A1に対し、同様に周期的に繰り返し設けられている。
また、本実施形態においては、吸引孔201の配列上、吸引孔列B4の吸引孔201の並び方は吸引孔列A1の吸引孔201の並び方と同じになっており、同様に太線で示している。ここで、搬送ベルト43に設けた吸引孔201は、用紙Pを吸引搬送するために設けたものであり、かつ、吸引孔201の配置は均等になるようにしていることから、配列によって生じる上記の吸引孔列B4のような吸引孔列については、特に空吐出を行う吸引孔として用いる必要はなく、用紙吸引用の吸引孔としてのみ使用することもできるし、あるいは、吸引孔列B4の吸引孔201の内、ヘッド重なり部分に相当するノズル102aや使用頻度が少ない記録ヘッド配列方向端部のノズル102bに対向する吸引孔201に対しても2回目の空吐出を行うことで、これらの領域のノズル102の吐出状態をより良好に保つようにすることもできる。
次に、この画像形成装置における空吐出動作について説明する。
印字中又は待機中において、特定のノズル102の使用頻度が低くなり、ある時間以上インク滴が吐出されない状態が続くと、ノズル近傍のインク溶媒が蒸発してインク粘度が高くなる現象が発生する。このような状態になると、ヘッド101のアクチュエータ手段(図示しない)を動作させても、ノズル102からインク滴を吐出できなくなってしまう。この状態になる前に、ヘッド101を駆動して吐出が可能な粘度の範囲内でアクチュエータ手段を動作させ、その劣化インク(粘度が上昇したノズル近傍のインク)を排出すべく空吐出を行なう。なお、空吐出は、予め定められた非稼働ノズルの経過時間又は記録回数経過した後に実施されるように制御が行われるようになっている。
すなわち、所定時間又は所定回数に達するまで記録動作が連続的に行われた場合、主制御部501(システムコントローラ)は、次に搬送される用紙Pの先端を第1の用紙検出部11によって検知しておき、現在搬送中の用紙Pの後端が記録位置検出部12の検知位置を通過した後に、印刷制御部502から空吐出駆動パターンに従った駆動データをドライバ503に転送させ、記録ヘッド51Yにおけるノズル102から記録に寄与しない液滴(空吐出滴)を吐出させる。
これにより、現在搬送中の用紙Pの後端と、次に搬送される用紙Pの先端との搬送間隔を利用し、記録ヘッド51との対向位置に用紙Pの相互の隙間(紙間)が位置されたときに、その紙間の搬送ベルト43に記録ヘッド51のノズル102と対向する位置を通過するように配置された各吸引孔201に向けて記録ヘッド51Yのノズルから空吐出滴を吐出させる。
このようにして搬送ベルト43の吸引孔201に向けて吐出された空吐出滴は、搬送ベルト43の吸引孔201及び撓み防止部材45に設けられた貫通穴を通過し、更にその下方に設けられた空吐出インク受け46に着弾する。これにより未使用による乾燥したインクや粘性が変化した不良インクが記録ヘッド51のノズル102から除去される。
次いで、記録ヘッド51のノズル102からの空吐出を行なった後、同様にして、搬送ベルト43の吸引孔201が各記録ヘッド51M、51C、51Kのノズル102との対向位置に順次移動することに伴い、各記録ヘッド51M、51C、51Kから空吐出滴の吐出を行う。
このとき、主制御部501は、記録ヘッド51Yによる空吐出が行われた搬送ベルト43上の吸引孔201とほぼ同一の場所に、他の記録ヘッド51M、51C、51Kからの空吐出滴が吐出されるように滴吐出タイミングを制御する。すなわち、記録位置検出部10の検出結果をもとに、搬送ベルト43上の吸引孔201に対して、記録ヘッド51Yによる空吐出位置とほぼ同一の場所に、隣りの記録ヘッド51M、51C、51Kそれぞれから順次空吐出を行う。なお、空吐出時における各記録ヘッド51のタイミングのずらし方は、通常印字時における各記録ヘッド51のタイミングのずらし方と全く同様である。異なるのは、通常印字時は記録位置検出部12による用紙P先端の検出信号を基準にしているのに対して、空吐出動作時は用紙P後端の検出信号を基準にしていることである。
次に、主制御部による上記空吐出動作の制御について図7に示すフロー図を参照して説明する。
前述したように、基準孔列A1列において各ヘッド101の千鳥配置によって生じた重なり部分に相当するノズル102aや使用頻度が少ないヘッド配列方向端部のノズル102bを通り搬送方向に平行な線分C及びD(図2)上にそれぞれ1つの吸引孔201の中心を設けてある。
そこで、主制御部501は、図2も参照して、1枚目の(先行する)用紙Pfの搬送を開始して、記録位置検出部12によって1枚目の用紙Pfの後端Pfbが検出されたか否かを判別する。そして、記録位置検出部12によって1枚目の用紙Pfの後端Pfbが検出されたときには、ベルト基準孔列検知センサ16によって搬送ベルト43上のベルト基準孔列認識マーク17が検出されたか否かを判別する。
ここで、ベルト基準孔列検知センサ16によって搬送ベルト43上のベルト基準孔列認識マーク17が検出されたときには、基準孔列A1が最初の記録ヘッド51Yに対向した位置に到達するまでの経過時間T1を演算などによって求め、ベルト基準孔列検知センサ16によってベルト基準孔列認識マーク17を検出した時から経過時間T1が経過したか否かを判別する。
そして、経過時間T1が経過し、基準孔列A1が最初の記録ヘッド51Yに対向する位置に到達したときには、つまり、基準孔列A1を検出してから経過時間T1が経過した後に、基準孔列A1を先頭に基準孔列A1の各吸引孔201に向けて空吐出パターンに準じて記録ヘッド51Yから空吐出を行わせる。
基準孔列A1においては、上述のように各ヘッド101の千鳥配置によって生じた重なり部分に相当するノズル102aや使用頻度が少ないヘッド配列方向端部のノズル102bを通り搬送方向に平行な線分C及びD(図2)上にそれぞれ1つの吸引孔201の中心を設けてあるので、これらの領域のノズル102a、102bからは確実に空吐出が行われることになる。また、基準孔列A1において上記以外の領域に対応する吸引孔201を設けている場合では、その吸引孔201に対向するノズル102からも空吐出を行うことができる。
主制御部501には、吸引孔列(基準孔列)A1から始まり吸引孔列A5までの9列分の各吸引孔列A1〜A5、B1〜B4に対応した空吐出パターンが記憶されており、空吐出はそのパターン通りに実行されるようになっている。ただし、前述したように、吸引孔列B4の、ヘッド101の重なり部分に相当するノズル102aや使用頻度が少ないヘッド配列方向端部のノズル102bに対向する吸引孔201に対しては、この領域のノズル102a、102bの吐出状態をより良好に保つために、2回目の空吐出を行うような空吐出パターンにすることもできる。
そして、基準孔列A1が通過した後は順次吸引孔列B1、A2、B2、・・・と搬送ベルト43上に設けた各吸引孔列の吸引孔201が記録ヘッド51Yに対向した位置を通過するが、各吸引孔列が記録ヘッド51Yに対向した位置に到達するまでの時間が、基準孔列A1が記録ヘッド51Yに対向する位置に到達したタイミングを基準として、主制御部501によって演算が行われ、それに対応したタイミングで吸引孔列B1以降の各吸引孔列の各吸引孔201に向けて記録ヘッド51Yの該当するノズル102から上記の空吐出パターンに則った空吐出を行うように制御が行われる。
他の記録ヘッド51M、51C、51Kについても同様に空吐出制御が行われ、全ノズル102からの空吐出が完了する。
その後、主制御部501は、印刷枚数完了でなければ、後続の用紙Psの先端Psaが、空吐出が行われている上記の吸引孔列の最後尾吸引孔列である吸引孔列A5(9列目)に干渉しないタイミングで当該後続の用紙Psの搬送を開始する。
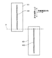
ここで、搬送ベルト43に設けた2種類の吸引孔(ヘッド101の千鳥配置によって生じた重なり部分に相当するノズル102a、使用頻度が少ないヘッド配列方向端部のノズル102bそれぞれに対向する吸引孔)が搬送方向に移動したときに当該吸引孔に向けて空吐出が行われる様子について図8を参照して説明する。なお、図8において空吐出を行っているノズルを黒丸で示している。また、一般的には空吐出される液滴は複数個になるが、図の表現では省略している。
先ず、図8(a)に示すように搬送ベルト43に設けた基準孔列A1が最初に空吐出が行われるノズル列121に到達する直前の状態から搬送ベルト43が移動することによって、図8(b)に示すように基準孔列A1がノズル列121に到達し、ヘッドの重なり部の2個のノズル102a、ヘッド配列方向端部の2個のノズル102bから空吐出が行われる。
ついで、図8(c)に示すように基準孔列A1の次の吸引孔列B1がノズル列121に到達し、対向する4個のノズル102から空吐出を行い、さらに図8(d)に示すように基準孔列A1が千鳥配置された次のヘッド101のノズル列122の重なり部の2個のノズル102bから空吐出が行われる。
このように、搬送ベルトに設けられた複数の吸引孔列の内の少なくとも1つの吸引孔列は、記録ヘッドにおけるノズル列端部及び2つのヘッドのノズル配列方向における重なり部のノズルと対向する位置を通過する吸引孔を有する基準吸引孔列であり、この基準吸引孔列を基準として記録ヘッドの各ノズルから吸引孔に向けて空吐出滴を吐出させることで、記録ヘッドにおけるノズル列端部のノズルや各ヘッドの重なり部分のノズルについて空吐出タイミングがばらばらになることなく、空吐出を簡単に行うことができる。
つまり、搬送ベルト上において、記録ヘッドを構成する各ヘッドの千鳥配置によって生じた重なり部分に相当するノズルや使用頻度が少ない記録ヘッド端部のノズルに対向する位置に合わせて吸引孔を配置したので、それらのノズルからは確実に空吐出を行うことができる。
この場合、ヘッド配列方向と同じ方向に並んだ1つの吸引孔列において、千鳥配置した各ヘッドの重なり部分に相当するノズルや使用頻度が少ない記録ヘッド端部のノズル全てに対向する位置にその吸引孔を配置することで、1つの吸引孔列が1組の千鳥配置した各ヘッドの下を通過するだけで、一度に短時間で空吐出を完了することも可能である。
また、用紙搬送方向下流側にある、異なる色の液滴を吐出する記録ヘッドを最初の組の各ヘッドと同じ様に配置すれば、搬送ベルトの移動に伴って、同じ吸引孔列に対して同じように重なり部分に相当するノズルや使用頻度が少ない記録ヘッド端部のノズル全てから空吐出することができる。
また、基準孔列を含む複数の吸引孔列を所定の周期で搬送ベルト上に設けることで、用紙を搬送するタイミングを、所定の周期で2以上設けた基準孔列を含む複数の吸引孔列のうち、所定の吸引孔列の下流側になるように用紙搬送制御を行えば、用紙の後端部が通過した直後に空吐出を行うことが可能となり、次の用紙の印字に備えることができる。また、所定の吸引孔列が用紙に覆われて搬送されている場合でも、次の周期には必ず空吐出可能な吸引孔列が現れるので、空吐出の待機時間を短縮できる。
また、搬送ベルトに基準孔列を検出するマークを設けて基準孔列を検知(検出)することによって、用紙のすぐ上流側に空吐出が可能な吸引孔列か存在するかどうかの判断が可能になるので、空吐出のタイミングをきめ細かく制御することができる。また、この基準孔列の検知によって、後続の用紙が空吐出しようとする吸引孔列に干渉しないように用紙搬送を制御することもできる。
次に、本発明の他の実施形態について図9を参照して説明する。なお、図9は同実施形態についての図2と同様な平面説明図である。
本実施形態では、基準孔列A1において、前記実施形態の図2に示したと同じように各ヘッド101の千鳥配置によって生じた重なり部分に相当するノズル102aや使用頻度が少ないヘッド配列方向端部のノズル102bに対向する位置を通過するようにそれぞれ1つの吸引孔201の中心を設けている。もちろん前記実施形態で説明したように上記以外の吸引孔201を基準孔列A1に含めても良い。
吸引孔列の配列に付いては、前記実施形態(図2)では吸引孔列A5とその用紙搬送方向上流側の吸引孔列A1が不連続な配列になっているのに対して、本実施形態では、吸引孔列A、Bともに、図9に示すように、吸引孔201の中心が用紙搬送方向に対して所定の角度θを有する仮想線分上に位置するように配置し、且つその仮想線分が次の吸引孔列A1の孔配列において、各ヘッド101の千鳥配置によって生じた重なり部分に相当するノズル102aに対応する一対の吸引孔201の中間に設けた吸引孔201の中心A1cを通るように角度θを設定して配列している点が異なっている。
このような配列したことによって、前記実施形態(図2)では基準孔列A1から吸引孔列A5までの9列で各記録ヘッド51の全てのノズル102と対向する位置を通過し、空吐出を完了することが可能となっているのに対し、本実施形態(図9)の配列では吸引孔列A1〜A8、B1〜B8の合計16列のうち、どの列から空吐出を開始しても9列で各記録ヘッド51の全てのノズル102と対向する位置を通過し、空吐出を完了することが可能となっている。
また、先行する用紙Pfの後端Pfbの直後から空吐出動作が可能になるので、次に搬送される用紙Psの先端Psaまでの距離を最小限にすることが可能になり、印字生産性を上げることもできる。
さらに、各吸引孔列間の寸法を短くすればより上記の距離を短くすることもできる。また、本実施形態では、ヘッド101の重なり部の2個の吸引孔201の間に1個の吸引孔201を設けたが、複数個の孔を設けるレイアウトにすれば、全ノズルから空吐出するために必要な孔列数は上記の9列よりも少なくすることもできる。
ここで、図10に各吸引孔列A1〜A8、B1〜B8に対応した空吐出パターン1〜16(図10上では丸付き数字である)をまとめて示している。主制御部501には、各吸引孔列から始まり9列分の各吸引孔列に対応した空吐出パターン1〜16が記憶されており、空吐出はそのパターン通りに実行されるようになっている。なお、図10では各記録ヘッド51のノズル102を1〜17のブロック(ノズルブロックNo.1〜17)に分割し、各吸引孔列A1〜B8の吸引孔201に対応した吐出画像を黒く塗り潰して示している。また、「ダブリ箇所」とは、空吐出の必要のない孔列の意味である。
具体的な空吐出制御においては、先行する用紙Pfの後端Pfbが記録位置検出部12で検知される直前の、ベルト基準孔列認識マーク17がベルト基準孔列検知センサ16によって検出された信号を基準にする。ここで、その基準とするタイミングから用紙Pの後端が検知されるまでの時間をT2、ベルト基準孔列から次の基準孔列の検知までに要する時間をT3とした場合、主制御部501によって選択される空吐出データは図11に示したようになる。
この図11は図9に示す吸引孔列の配列例に基づくものであり、記録位置検出部12とベルト基準孔列検知センサ16との相互位置関係によってはこの限りではなく、もちろん用紙搬送方向と直交する方向に並べても空吐出制御上何ら問題はない。
なお、主制御部501によって用紙Pの後端に一番近い吸引孔列(例えば図9では吸引孔列B6が相当)が選択されたとすると、吸引孔列B6が最初の記録ヘッド51Yに対向した位置に到達するまでの時間が演算によって求められる。そして、算出された時間が経過したタイミングで吸引孔列B6の吸引孔201に向けて記録ヘッド51Yから空吐出が開始される。この場合は、具体的には図10において、パターン12が主制御部501によって選択され、吸引孔列B6〜B2までの9列に対応した空吐出が実行される。
この場合においても、上記の9列の中にヘッド101の千鳥配置によって生じた重なり部分に相当するノズル102aや使用頻度が少ないヘッド配列方向端部のノズル102bに対向する吸引孔列(基準孔列A1)が少なくとも1列含まれるようになっており、これらの領域のノズル102a、102bからは前記実施形態と同様に確実に空吐出が行われることになる。なお、9列の中には、重なり部分に相当するノズルや使用頻度が少ない配列端部のノズルに対向する吸引孔以外でも吸引孔配列上同じノズルに対向する吸引孔が存在するが、その場合はその吸引孔のみ空吐出を行わないような空吐出データとなっている。
他の記録ヘッド51M、51C、51Kに付いても同様に空吐出制御が行われ、全ノズルからの空吐出が完了する。また、後続の用紙Pの先端は空吐出が行われている上記の吸引孔列の最後尾孔列である9列目の吸引孔列に干渉しないように搬送開始タイミングの制御が行われて搬送されるようになっている。
なお、上記の説明では空吐出するべき先頭吸引孔列として吸引孔列B6が選択されると説明しているが、演算処理に余裕を持たせるために、吸引孔列B6の次の吸引孔列である吸引孔列A7を選択するようにしても良い。
次に、上記空吐出動作の制御について図12に示すフロー図を参照して説明する。
主制御部501は、図9をも参照して、1枚目の用紙Pfの搬送を開始して、ベルト基準孔列検知センサ16によってベルト基準孔列認識マーク17が検出されたか否かを判別し、ベルト基準孔列認識マーク17が検出されたときには、記録位置検出部12によって1枚目の用紙Pfの後端Pfbが検出されたか否かを判別する。
そして、記録位置検出部12で用紙Pfbの後端が検出されると、基準孔列A1を検出してから用紙Pfの後端を検出するまでの時間T2を計測し、時間T2=(N/16)T3(N=4〜19の整数)に応じた空吐出データを選択する。その後、空吐出を開始する先頭吸引孔列(図9の例では吸引孔列B6)を選択し、選択した吸引孔列の先頭にして選択した空吐出データによる空吐出を行う。
その後、印刷枚数完了か否かを判別し、印刷枚数完了でなければ、後続の用紙Psの先端Psaが吸引孔列B2(9列目)(或いはA3列)に干渉しないタイミングで用紙搬送を開始する。
本発明に係る画像形成装置の全体構成を説明する概略構成図である。 同じく模式的平面説明図である。 ヘッドモジュールの一例を示す説明図である。 同じくヘッドモジュールの他の例を示す説明図である。 ヘッドの重なり部分の説明に供する模式的説明図である。 制御部の概要を示すブロック説明図である。 空吐出動作の制御の説明に供するフロー図である。 同じく空吐出動作の具体的説明に供する要部模式的説明図である。 本発明の他の実施形態の説明に供する平面説明図である。 空吐出パターンの一例を示す説明図である。 空吐出データの説明に供する説明図である。 同実施形態の空吐出動作の制御の説明に供するフロー図である。
符号の説明
4…搬送ユニット
5…画像形成ユニット
43…搬送ベルト
51、51Y、51M、51C、51K…記録ヘッド
101…ヘッド
102…ノズル
201…吸引孔
A1…吸引孔列(基準孔列)
A2〜A8、B1〜B8…吸引孔列

Claims (3)

  1. 液滴を吐出する複数のノズルが配列された複数のヘッドをノズル配列方向に千鳥状に配列した記録ヘッドと、
    複数の吸引孔が形成され、前記記録ヘッドのヘッド配列方向と交差する方向に用紙を搬送する無端状の搬送ベルトと、
    前記搬送ベルトの複数の吸引孔を通じて前記用紙を吸引する吸引手段と、
    前記記録ヘッドから画像形成に寄与しない液滴を前記搬送ベルト上に前記用紙がないときに吐出させる空吐出動作を制御する制御手段と、を備え、
    前記搬送ベルトには、複数の吸引孔がヘッド配列方向に並べて配置された複数の吸引孔列が所要の間隔で配置され、
    前記複数の吸引孔列の内の少なくとも1つの吸引孔列は、前記記録ヘッドにおけるノズル列端部及び2つの前記ヘッドのノズル配列方向における重なり部のノズルと対向する位置を通過する前記吸引孔を有する基準吸引孔列であり、
    前記制御手段は、前記基準吸引孔列を基準として前記記録ヘッドの各ノズルから前記吸引孔に向けて前記空吐出滴を吐出させる制御をする
    ことを特徴とする画像形成装置。
  2. 前記基準吸引孔列を含む2以上の吸引孔列が前記搬送ベルト全周にわたって所定の繰返し周期で配置されていることを特徴とする請求項1記載の画像形成装置。
  3. 前記搬送ベルトには前記基準吸引孔列に対応して前記吸引孔列の位置を検出するマークが設けられていることを特徴とする請求項1又は2記載の画像形成装置。
JP2008264817A 2008-10-14 2008-10-14 画像形成装置 Expired - Fee Related JP5277853B2 (ja)

Priority Applications (2)

Application Number Priority Date Filing Date Title
JP2008264817A JP5277853B2 (ja) 2008-10-14 2008-10-14 画像形成装置
US12/574,966 US8136902B2 (en) 2008-10-14 2009-10-07 Image forming apparatus

Applications Claiming Priority (1)

Application Number Priority Date Filing Date Title
JP2008264817A JP5277853B2 (ja) 2008-10-14 2008-10-14 画像形成装置

Publications (2)

Publication Number Publication Date
JP2010094814A true JP2010094814A (ja) 2010-04-30
JP5277853B2 JP5277853B2 (ja) 2013-08-28

Family

ID=42098465

Family Applications (1)

Application Number Title Priority Date Filing Date
JP2008264817A Expired - Fee Related JP5277853B2 (ja) 2008-10-14 2008-10-14 画像形成装置

Country Status (2)

Country Link
US (1) US8136902B2 (ja)
JP (1) JP5277853B2 (ja)

Cited By (4)

* Cited by examiner, † Cited by third party
Publication number Priority date Publication date Assignee Title
CN102310655A (zh) * 2010-07-02 2012-01-11 株式会社理光 图像形成设备和用于维护头的方法
US8382241B2 (en) 2010-03-16 2013-02-26 Ricoh Company, Ltd. Image forming apparatus performing non-printing discharge
US8485626B2 (en) 2009-09-14 2013-07-16 Ricoh Company, Limited Image forming device and method for controlling discharge of ink droplets based on sensor detection
US8511783B2 (en) 2010-06-29 2013-08-20 Ricoh Company, Ltd. Image forming apparatus and image forming method

Families Citing this family (9)

* Cited by examiner, † Cited by third party
Publication number Priority date Publication date Assignee Title
JP2011121680A (ja) * 2009-12-09 2011-06-23 Seiko Epson Corp 被搬送媒体搬送装置および画像形成装置
JP6026984B2 (ja) * 2013-10-15 2016-11-16 富士フイルム株式会社 ジャム検出装置、搬送装置、画像記録装置、及び接続状態検出方法
US9493307B2 (en) * 2014-03-11 2016-11-15 Sun Automation, Inc. Conveyors for box making machines
US9290005B1 (en) 2014-09-11 2016-03-22 Ricoh Company, Ltd. Image formation apparatus, method for examining discharge of transparent droplets, and program for examining discharge of transparent droplets
JP2016102011A (ja) * 2014-11-28 2016-06-02 理想科学工業株式会社 インクジェット印刷装置
EP3138691B1 (en) * 2015-09-02 2020-08-12 Agfa Nv Inkjet printing device with dimpled vacuum belt
JP7380056B2 (ja) * 2019-10-11 2023-11-15 京セラドキュメントソリューションズ株式会社 インクジェット記録装置
JP7380057B2 (ja) * 2019-10-11 2023-11-15 京セラドキュメントソリューションズ株式会社 インクジェット記録装置
US11912018B2 (en) * 2020-04-15 2024-02-27 Hewlett-Packard Development Company, L.P. Continuous mode printing

Citations (3)

* Cited by examiner, † Cited by third party
Publication number Priority date Publication date Assignee Title
JP2005081591A (ja) * 2003-09-05 2005-03-31 Fuji Xerox Co Ltd 記録装置
JP2005205901A (ja) * 2003-12-25 2005-08-04 Fuji Photo Film Co Ltd 画像形成装置
JP2007168277A (ja) * 2005-12-22 2007-07-05 Kyocera Mita Corp インクジェット記録装置

Family Cites Families (10)

* Cited by examiner, † Cited by third party
Publication number Priority date Publication date Assignee Title
JP2817964B2 (ja) 1989-09-05 1998-10-30 キヤノン株式会社 液体噴射記録装置
JPH0420105A (ja) 1990-05-15 1992-01-23 Matsushita Electric Works Ltd 平面アンテナ
JP2003341106A (ja) 2002-05-30 2003-12-03 Konica Minolta Holdings Inc 画像記録装置
JP2004074637A (ja) 2002-08-20 2004-03-11 Ricoh Co Ltd インクジェット記録装置
US7562961B2 (en) * 2003-09-22 2009-07-21 Fujifilm Corporation Droplet discharging apparatus, image forming apparatus and preliminary discharge method
JP3752692B2 (ja) * 2003-09-26 2006-03-08 富士写真フイルム株式会社 画像形成装置
JP2006021400A (ja) 2004-07-07 2006-01-26 Seiko Epson Corp インクジェット記録装置
JP4020105B2 (ja) 2004-07-07 2007-12-12 セイコーエプソン株式会社 インクジェット記録装置
JP2006069135A (ja) 2004-09-06 2006-03-16 Seiko Epson Corp インクジェット記録装置
JP2007152612A (ja) 2005-12-01 2007-06-21 Seiko Epson Corp インクジェットプリンタ

Patent Citations (3)

* Cited by examiner, † Cited by third party
Publication number Priority date Publication date Assignee Title
JP2005081591A (ja) * 2003-09-05 2005-03-31 Fuji Xerox Co Ltd 記録装置
JP2005205901A (ja) * 2003-12-25 2005-08-04 Fuji Photo Film Co Ltd 画像形成装置
JP2007168277A (ja) * 2005-12-22 2007-07-05 Kyocera Mita Corp インクジェット記録装置

Cited By (4)

* Cited by examiner, † Cited by third party
Publication number Priority date Publication date Assignee Title
US8485626B2 (en) 2009-09-14 2013-07-16 Ricoh Company, Limited Image forming device and method for controlling discharge of ink droplets based on sensor detection
US8382241B2 (en) 2010-03-16 2013-02-26 Ricoh Company, Ltd. Image forming apparatus performing non-printing discharge
US8511783B2 (en) 2010-06-29 2013-08-20 Ricoh Company, Ltd. Image forming apparatus and image forming method
CN102310655A (zh) * 2010-07-02 2012-01-11 株式会社理光 图像形成设备和用于维护头的方法

Also Published As

Publication number Publication date
US8136902B2 (en) 2012-03-20
US20100091056A1 (en) 2010-04-15
JP5277853B2 (ja) 2013-08-28

Similar Documents

Publication Publication Date Title
JP5277853B2 (ja) 画像形成装置
JP5724406B2 (ja) 画像形成装置
JP2008036968A (ja) 画像記録装置及び画像記録方法
JP5459492B2 (ja) 画像形成装置
US20210402809A1 (en) Inkjet recording device
JP2011121217A (ja) インクジェット記録装置
JP5282549B2 (ja) 画像形成装置
JP2003103773A (ja) 画像記録装置
JP5256963B2 (ja) 印刷装置および印刷方法
US11602930B2 (en) Inkjet recording apparatus
US20210331497A1 (en) Inkjet recording device
JP2007144792A (ja) インクジェット記録装置
US8075092B2 (en) Inkjet recording apparatus
JP2011207214A (ja) 画像形成装置及びプログラム
JP5031289B2 (ja) 画像記録装置
JP2010115783A (ja) 画像形成装置
JP2009196769A (ja) 画像形成装置
US20210309013A1 (en) Inkjet recording apparatus
JP2005205649A (ja) インクジェットプリンタ及びインクジェットプリンタにおけるノズルのインク不吐出検知方法
JP5488344B2 (ja) 画像形成装置
JP2022148027A (ja) インクジェット記録装置
JP5217777B2 (ja) 液体噴射装置、及び液体噴射方法
JP2011173313A (ja) 予備吐出受装置、これを有する搬送装置および画像形成装置
JP2016087956A (ja) レジストレーション方法およびライン型インクジェットプリンター
JP2010052142A (ja) 液体噴射装置、及び液体噴射方法

Legal Events

Date Code Title Description
A621 Written request for application examination

Free format text: JAPANESE INTERMEDIATE CODE: A621

Effective date: 20110812

A977 Report on retrieval

Free format text: JAPANESE INTERMEDIATE CODE: A971007

Effective date: 20120921

A131 Notification of reasons for refusal

Free format text: JAPANESE INTERMEDIATE CODE: A131

Effective date: 20120925

A521 Request for written amendment filed

Free format text: JAPANESE INTERMEDIATE CODE: A523

Effective date: 20121012

A02 Decision of refusal

Free format text: JAPANESE INTERMEDIATE CODE: A02

Effective date: 20130108

A521 Request for written amendment filed

Free format text: JAPANESE INTERMEDIATE CODE: A523

Effective date: 20130318

A911 Transfer to examiner for re-examination before appeal (zenchi)

Free format text: JAPANESE INTERMEDIATE CODE: A911

Effective date: 20130327

TRDD Decision of grant or rejection written
A01 Written decision to grant a patent or to grant a registration (utility model)

Free format text: JAPANESE INTERMEDIATE CODE: A01

Effective date: 20130423

A61 First payment of annual fees (during grant procedure)

Free format text: JAPANESE INTERMEDIATE CODE: A61

Effective date: 20130506

R151 Written notification of patent or utility model registration

Ref document number: 5277853

Country of ref document: JP

Free format text: JAPANESE INTERMEDIATE CODE: R151

LAPS Cancellation because of no payment of annual fees