JP2010094408A - スロットマシン - Google Patents

スロットマシン Download PDF

Info

Publication number
JP2010094408A
JP2010094408A JP2008269639A JP2008269639A JP2010094408A JP 2010094408 A JP2010094408 A JP 2010094408A JP 2008269639 A JP2008269639 A JP 2008269639A JP 2008269639 A JP2008269639 A JP 2008269639A JP 2010094408 A JP2010094408 A JP 2010094408A
Authority
JP
Japan
Prior art keywords
medal
slot machine
slot
mouth
medals
Prior art date
Legal status (The legal status is an assumption and is not a legal conclusion. Google has not performed a legal analysis and makes no representation as to the accuracy of the status listed.)
Granted
Application number
JP2008269639A
Other languages
English (en)
Other versions
JP5463487B2 (ja
Inventor
Shin Yoshida
慎 吉田
Tomoya Sasaki
友哉 佐々木
Takeshi Sakamoto
健 坂本
Current Assignee (The listed assignees may be inaccurate. Google has not performed a legal analysis and makes no representation or warranty as to the accuracy of the list.)
Kita Denshi Corp
Original Assignee
Kita Denshi Corp
Priority date (The priority date is an assumption and is not a legal conclusion. Google has not performed a legal analysis and makes no representation as to the accuracy of the date listed.)
Filing date
Publication date
Application filed by Kita Denshi Corp filed Critical Kita Denshi Corp
Priority to JP2008269639A priority Critical patent/JP5463487B2/ja
Publication of JP2010094408A publication Critical patent/JP2010094408A/ja
Application granted granted Critical
Publication of JP5463487B2 publication Critical patent/JP5463487B2/ja
Expired - Fee Related legal-status Critical Current
Anticipated expiration legal-status Critical

Links

Images

Landscapes

  • Slot Machines And Peripheral Devices (AREA)

Abstract

【課題】 多数のメダルを投入する際に生じるメダル詰まりを防止する。
【解決手段】 メダルが投入される口部21と、口部21の後面であって、上方に延出する背部22と、メダルを載置可能に形成され、口部21に通じる溝部23と、を備えるメダル投入口2が設けられたスロットマシン1であって、背部22に、メダル表面の一部が当接する凸部221を形成した構成としてある。
【選択図】 図4

Description

本発明は、メダルを用いて遊技を行うスロットマシンに関し、特に、メダルを投入する際のメダル詰まりを防止するスロットマシンに関する。
一般に、スロットマシンは、遊技者が遊技媒体となる遊技用のメダルをメダル投入口から投入してスタートレバーを押下することにより、外周面に所定の絵柄や数字,文字等の図柄を表示した複数のリール(通常3個のリール)が回転を開始し、定速回転後、任意のタイミングで停止ボタンが押下されることでリールが停止し、停止表示されたリール上の図柄の組合せに応じて所定数のメダルがメダル払出口より払い出される遊技機である。
メダルが投入されるメダル投入口は、通常、メダルの受入れ口である口部と、この口部の後面であって、上方に延出する背部と、メダルを載置可能に形成され、口部と通じて、メダルを誘導する溝部と、を備えている(例えば、特許文献1)。
遊技者は、複数枚のメダルを縦置きに並べた状態で溝部に載置し、指で最後尾に位置するメダルを押すと、複数枚のメダルが溝部にガイドされつつ、口部に誘導される。
そして、最前列に位置するメダルから、順次口部に投下されるようになっている。
特開平2−45896号公報
背部は、口部の後面をそのまま上方に延出させ、メダルを口部に誘導する縦壁として形成されたものである。
この背部は、溝部によって誘導されたメダルのオーバーランを制限するストッパーとなり、メダルを口部に確実に誘導するという重要な役割を有している。
ところが、背部は、このストッパーとしての役割とは裏腹に、口部へのメダルの投下を妨げるように作用することもある。
具体的には、図12に示すように、複数枚(十枚程度)のメダルMを縦置きに並べて溝部23に載置した状態では、口部21間近の最前列に位置するメダルM1は、後続するメダルMと、背部22とに挟まれた状態になる。
すなわち、最前列に位置するメダルM1の表面には、背部22との接触面と、二列目に位置するメダルMとの接触面に、それぞれ後続するメダルMの重量に比例し、当該メダルM1の落下を妨げる方向に作用する摩擦力が発生している。
このため、溝部23に載置するメダルMの枚数によっては、最前列に位置するメダルM1が落下不能となる、所謂「メダル詰まり」となり、円滑な遊技が阻害されることがあった。
このようなメダル詰まりを回避するには、多くのメダルMを溝部23に載置しないことが有効である。ところが、メダルMを少なく載置する分、遊技者はメダルMを頻繁に投入しなければならないことになる。
このことは、遊技者の疲労を早めるだけで、好ましいものではない。
また、通常、溝部23は、二十枚程度のメダルMが載置することが可能であるが、特に、十枚以上メダルMを載置するとメダル詰まりが発生しやすい傾向にある。
溝部23は、このように多数のメダルMが載置可能に形成されているにも拘わらず、その載置能力が十分に活かされておらず、メダル詰まりが発生しない投入口が要望されていた。
本発明は、上述したような従来の技術が有する問題を解決するために提案されたものであり、簡易な構造で、確実にメダル詰まりを防止する画期的なスロットマシンの提供を目的とする。
上記目的を達成するため、本発明のスロットマシンは、メダルが投入される口部と、前記口部の後面であって、上方に延出する背部と、メダルを載置可能に形成され、前記口部に通じる溝部と、を備えるメダル投入口が設けられたスロットマシンであって、前記背部に、メダル表面の一部が当接する凸部を形成した構成としてある。
本発明のスロットマシンによれば、多数のメダルを投入する際に生じるメダル詰まりを防止することができる。
以下、本発明に係るスロットマシンの好ましい実施形態について、図1〜図12を参照して説明する。
[第一実施形態]
図1は、本実施形態に係るスロットマシンの外観を示す概略斜視図であり、図2は、同じく本実施形態に係るスロットマシンの内部構成を示す概略斜視図である。
これらの図に示すように、本実施形態のスロットマシン1は、従来のスロットマシンと同様に、スロットマシン1に備えられた複数のリール41a,41b,41cを回転させることによって遊技媒体であるメダルを獲得することができる回胴式遊技機を構成している。
そして、本実施形態のスロットマシン1は、メダルを投入するメダル投入口2を構成する背部22に、本発明の凸部221を形成することで、多数のメダルを投入する際に発生する、所謂メダル詰まりが、防止されるようになっている。以下、本実施形態のスロットマシン1について詳述する。
[スロットマシン本体]
本実施形態のスロットマシン1は、内部がマイクロコンピュータ等で構成された制御部50及び必要な機械,装置等を収納可能な筐体状に構成されており、筐体1bの前面側が前扉1aによって開閉可能に覆われている。
前扉1aは、図1及び図2に示すように、スロットマシン1の筐体1bにヒンジ等を介して開閉自在に取り付けられる扉体で、この前扉1aに遊技操作に係る各装置等が備えられてスロットマシン1の正面部を構成している。
前扉1aの中央右側には、スロットマシン遊技に使用するメダルを投入するメダル投入口2が配置され、所定数(例えば、三枚)のメダルが投入されることで、メダル投入口2と連通するメダルセレクター20によってメダルが検出され、ゲーム可能な状態にすることができる。
なお、メダル投入口2の詳細な構成については、後述する。
前扉1aの中央左側には、リール41a,41b,41cの回転を始動させるスタートレバー3が設けられ、遊技者により、スタートレバー3が操作されることで、スタート信号が出力されるようになっている。
そして、ゲーム可能な状態において、このスタート信号が制御部50に入力されることで、スロットマシン遊技が開始され、リール41a,41b,41cが回転を開始する。
前扉1aの中央部には、各リール41に対応して停止ボタン5a,5b,5cが設けられており、遊技者により、各停止ボタン5が押下操作されることで、回転している各リール41を停止させることができるようになっている。
前扉1aの中央上側には表示窓6が設けられており、停止状態にある各リール41に表された縦方向に連続する3つの図柄が、当該表示窓6を介して視認できるようになっている。
前扉1aの下部には、メダル払出口8が設けられ、メダルが当該メダル払出口8から払出されるようになっている。
筐体1bの中央には、リール41a,41b,41c、各リール41を回転させる図示しないステッピングモータ及び回転位置を検出するセンサなどを備えるドラムユニット4が設けられている。
さらに、筐体1bの下部には、メダルを貯留・払出するメダル払出装置7が設けられ、各リール41に表された縦方向に連続する3つの図柄の組合せが所定の組合せで停止表示された場合、所定数のメダルが上記のメダル払出口8から払出されるようになっている。
また、メダル払出装置7には、メダルを貯留するホッパー7aが設けられ、メダル投入口2より投入されたメダルが、メダルセレクター20により当該ホッパー7aに誘導されるようになっている。
筐体1bの上部には、上記の各装置を制御することでスロットマシン遊技を管理し、制御手段として機能する制御部50が設けられ、前述のスタート信号の入力に基づき、各リール41の回転を開始させる。
それと同時に、制御部50においてボーナスや小役等を抽せんする内部抽せんが行われ、各停止ボタン5が押下操作されたタイミングに基づき、抽せん結果に対応した図柄の組合せで停止するよう、回転している各リール41を停止制御する。
また、前扉1aの裏面左側には、上記のメダル投入口2より投入されたメダルをフォトインタラプタ等の検出手段で検出し、ホッパー7aに誘導するメダルセレクター20が設けられている。
この検出手段からの検出信号は、制御部50に入力され、所定数(例えば、三枚)のメダル投入が計数された場合に、ゲーム可能な状態に移行するようになっている。
また、メダルセレクター20の下部には、シュート9が設けられている。
シュート9には、前述のメダル払出口8に連通する受入口が設けられ、メダルセレクター20から離脱・排除されたメダルが、当該受入口に向けて落下し、シュート9を経由して、メダル払出口8から遊技者に返却されるようになっている。
[メダル投入口]
次に、メダル投入口2について詳述する。
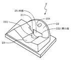
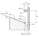
図3は、本実施形態に係るスロットマシンのメダル投入口2の概略斜視図であり、図4は、図3に示したメダル投入口2の断面図であり、図5は、メダル投入口2の各部の寸法を示した図である。
各図に示すように、メダル投入口2には、メダルの受入れ口である口部21と、この口部21の後面であって、上方に延出する背部22と、メダルMを載置可能に形成され、口部21に通じて、メダルMを口部21に誘導する溝部23と、が形成されている。
本実施形態のメダル投入口2は、スロットマシン1の正面方向Aに対して、上方から見て、aの角度を有して斜めに取付けられている(図1及び図3参照)。
これにより、メダルMを右手で投入する場合に、投入し易いようになっている。
口部21は、投入可能なメダルの外径及び厚みを規制するように形成され、規定の大きさ以上のメダルが投入できないようになっている。
そして、この口部21は、下流側に位置する前述のメダルセレクター20に連通している。
背部22は、口部21の後面をそのまま上方に延出させ、メダルMを口部21に誘導する縦壁として形成されたものである。
また、この背部22は、溝部23によって誘導されるメダルMのオーバーランを制限するストッパーとしても機能している。
背部22は、本実施形態では、鉛直方向に延出させている。これにより、メダルMが背部22に寄り掛からないことから、メダルMを口部21に円滑に誘導することができる。なお、メダルMが寄り掛からない程度であれば、図4や図5において、右に傾けてもよい。
そして、この背部22には、本発明の凸部221が形成されている。
凸部221は、背部22からほぼ水平に突設され、その先端が半球状に形成されている。
これにより、凸部221とメダルMの表面とが点で接触するようになっている。
溝部23は、メダル外径とほぼ等しい又は僅かに小さい曲率を有する円弧状の凹部として形成され、約二十枚のメダルを縦置きに並べて載置できる幅を有してなる。
溝部23は、本実施形態では、口部21に向かって下方に傾斜している(約25度〜40度)。
なお、載置可能な形状とは、手や指などで支持することで、メダルが載置されることも含むものとする。
従って、溝部23は、本実施形態と異なり、スロットマシン1に対座する遊技者側(手前)に向かって下方に傾斜させることもでき、手前に滑り落ちるメダルは、遊技者が指等で抑えれば足りる。
さらに、溝部23には、口部21に至るまでの所定の範囲に亘り、この口部21に向かって、溝部23の傾斜より大きく下方に傾斜(約40〜60度)する勾配部231が形成してある。
この勾配部231の範囲は、メダルの厚みにして約二枚位の幅が好ましい。
このような構成からなるメダル投入口2は、以下に示すような作用効果を奏する。
具体的には、本発明のメダル投入口2は、図4に示すように、特に、多数のメダルM(約十枚以上)を、溝部23に載置した場合に、その効果を発揮する。
同図に示すように、列をなしたメダルMの口部21間近に位置するメダルM1aは、その表面すべてが背部22に接触することなく、メダル表面であって、上半分以上の領域である上端部のみが凸部221に当接するようになっている。
従来のメダル投入口の場合、メダルMの表面は、背部22に面接触していたが(図12参照)、本発明の凸部221によって、メダルM1aの表面と背部22とは、頂点221aと点接触となり、接触面積が大幅に縮小していることがわかる。
その結果、背部22からの抗力によって生じる接触摩擦力が大幅に減少し、メダルM1aを口部21に向かって滑らかに落下させることができる。これにより、メダル詰まりが解消される。
また、凸部221を、メダル表面であって、上半分以上の領域に当接するように設けてあるので、口部21の開口は十分に確保できる。さらに、メダルMの上端部のみが凸部221に当接するように設けてあるので、メダルMが落下する際、メダルMと凸部221との接触時間を短くできる。
さらに、本実施形態では、溝部23に口部21に向かって大きく下方に傾斜する勾配部231が設けられている。
この勾配部231は、メダルの厚みにして約二枚位の範囲に亘って形成してある。
このように勾配部231を設けることで、図4に示すように、口部21間近に位置するメダルM1aは、凸部221に点接触した後に、この凸部221を支点にして回動しながら、メダルM1bが示すように、その下端点Nが勾配部231を滑降し、口部21に向かって落下する。
すなわち、口部21間近に位置するメダルM1aが勾配部231に至ると、その位置が下方にずれ、後続するメダルMとの接触面積が減少するとともに、さらに勾配部231の傾斜によって、落下が促進される。
これにより、凸部221による作用効果をさらに助長することができ、メダル詰まりすることなく、メダルMは滑らかに投入される。
そして、このように口部21間近に位置するメダルM1aが口部21に向かって落下することで、このメダルM1aに後続する残りのメダルMは、口部21に向かって前進する。
この前進によって、メダルMと溝部23との摩擦力は、静摩擦力から動摩擦力に変化するとともに、重力により、メダルMは、溝部23の上を滑降する。
その結果、常に最前列に位置するメダルMは、鉛直方向にゼロでない初速度をもって、凸部221に当接することになり、滞ることなく、次々と口部21に向かって落下する。
このように、背部22に凸部221を設けることで、メダルMと背部22との接触面積を縮小させることができ、接触摩擦力を大幅に減少させることができる。
これにより、口部21間近にあるメダルMのメダル詰まりが防止できる。
さらに、溝部23に勾配部231を設けることで、メダルの落下が促進され、滑らかにメダルが投入される。
なお、本実施形態のメダル投入口2の各部は、以下に示す寸法としてある。
図5に示すように、たとえば、口部21の短辺t1は、メダルM一枚の厚みを超え、二枚の厚み未満とし、勾配部231の幅t2は、約二枚位の幅としてある。
また、凸部221の頂点221aまでの高さdは、口部21の短辺t1と勾配部231の幅t2との和にほぼ等しい。
そして、勾配部231の上端点231aからメダル凸部221の頂点221aまでの長さは、ほぼメダルMの直径と等しくしてある。
また、溝部23の傾斜xは、約25度〜40度が好ましい。
以上述べたように、本実施形態のスロットマシン1では、背部22に凸部221を設けることで、多数のメダルMを投入する際に生じるメダル詰まりを防止することができる。
さらに、溝部23に勾配部231を設けることで、確実にメダル詰まりをなくすことができる。
[第二実施形態]
つぎに、本発明の第二実施形態に係るスロットマシンのメダル投入口2について、図6を参照して説明する。
図6は、凸部221の高さを低く形成したメダル投入口2の断面図である。
本発明の第二実施形態に係るスロットマシンのメダル投入口2は、凸部221の高さdが第一実施形態と相違している。
具体的には、凸部221の頂点221aまでの高さdを、口部21の短辺t1と勾配部231の幅t2との和よりメダル一枚の厚みを僅かに超える分低くしてある。
このようにすると、傾斜角が変わる始点となる勾配部231の上端部231aは、図6に示すように、凸部221に接触した状態にあるメダルM1aの下端点Nより、口部21から僅かに離れた位置にある。
その結果、口部21間近に位置するメダルM1aは、凸部221に点接触したと同時に、溝部23による支えを失い、メダルM1bのように、勾配部231を滑降しつつ、口部21に向かって落下する。
これにより、メダルMになんら外力を加えなくとも、メダルMは滑らかに投入される。
[第三実施形態]
つぎに、本発明の第三実施形態に係るスロットマシンのメダル投入口2について、図7を参照して説明する。
図7は、複数の凸部221を備えるメダル投入口2の概略斜視図である。
本発明の第三実施形態に係るスロットマシンのメダル投入口2は、凸部221を複数形成した点が第一実施形態と相違している。
具体的には、図7に示すように、本実施形態のメダル投入口2は、凸部221を、背部22に複数形成し、各凸部221を、口部21に対して、ほぼ左右対称に配置してある。
このように凸部221を複数形成することで、口部21間近に位置するメダルMは、投入時、左右に形成された各凸部221に、ほぼ同時に当接することで、左右に揺動することがなくなり、安定した投入が実現できる。
[第四実施形態]
つぎに、本発明の第四実施形態に係るスロットマシンのメダル投入口2について、図8及び図9を参照して説明する。
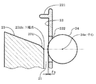
図8は、ローラー24を備えるメダル投入口2の概略斜視図であり、図9は、図8に示したメダル投入口2の断面図である。
本発明の第四実施形態に係るスロットマシンのメダル投入口2は、口部21から投入されたメダルMによって回動するローラー24を設けた点が第一実施形態と相違している。
具体的には、各図に示すように、背部22に、所定の軸を中心に回動するローラー24が設けてある。
このローラー24は、背部22の開口部222から、その周縁部が口部21から僅かに突出するように配置してある。突出する寸法t3は、口部21を落下するメダルMを押圧することなく接触する程度が好ましい。
このように構成することで、メダルMの落下に伴い、これに摺接するローラー24が回転する。そして、ローラー24の回転の慣性力によって、後続して投下されるメダルMは、ローラー24の周縁部に接するため、その落下速度が増大し、メダルMが順次スムーズに投入される。
なお、ローラー24は、図9に示すように、その中心24aが、勾配部231の下端点231bとほぼ同じ高さに位置することが好ましい。
[第五実施形態]
つぎに、本発明の第五実施形態に係るスロットマシンのメダル投入口2について、図10及び図11を参照して説明する。
図10は、背部22に凹部25を備えるメダル投入口2の概略斜視図であり、図11は、図10に示したメダル投入口2の断面図である。
本発明の第五実施形態に係るスロットマシンのメダル投入口2は、背部22に凹部25を設けた点が第一実施形態と相違している。
具体的には、各図に示すように、背部22に、凸部221から下方に延びるメダルM径より小さい幅の溝からなる凹部25が設けてある。
この凹部25を設けることで、凸部221に当接した後、口部21を落下するメダルMの表面と、口部21の後面(背部22)との接触面積を少なくすることができ、メダルMをスムーズに落下させることができる。
以上、本発明のスロットマシンの好ましい実施形態について説明したが、本発明に係るスロットマシンは上述した実施形態にのみ限定されるものではなく、本発明の範囲で種々の変更実施が可能であることはいうまでもない。
例えば、本実施形態では、凸部221の先端を、半球状に形成したが、円錐状に形成することもできる。また、凸部221を円筒形に形成して、その上面とメダル表面とが面接触する構成としてもよい。
また、凸部221は、口部21に向かって、縦方向に線状に連なる構成としてもよい。
さらに、この線状に連なる凸部221を複数列設けることもできる。
つまり、凸部221は、その形状及び数量を問わず、背部22と口部21間近に位置するメダル表面との接触面積を縮小させる構成を有すれば足りる。
また、各実施形態では、メダル投入口2を、スロットマシン1の正面方向Aに対して、斜めに取付けたが、例えば、図3に示したB方向に、スロットマシン1の正面方向Aが位置するように取付けることもできる。すなわち、口部21の長辺が、正面方向Aと平行になるように、メダル投入口2を取り付けてもよい。
その結果、複数枚のメダルを縦置きに並べた状態で溝部23に載置した場合、右の親指で最後尾に位置するメダルを右にスライドしつつ、メダルを投入することになり、手全体を動かさず、親指の動きだけで、メダルを投入できる。これにより、遊技時の疲労を軽減できる。
また、第三実施形態から第五実施形態に係るメダル投入口2では、口部21の短辺t1と勾配部231の幅t2との和にほぼ等しい高さdの凸部221を有する第一実施形態に係るメダル投入口2をベースとなる形態としたが、口部21の短辺t1と勾配部231の幅t2との和よりメダル一枚の厚みを僅かに超える分低くした高さdの凸部221を有する第二実施形態に係るメダル投入口2をベースとなる形態とできることは勿論である。
また、複数の凸部221を備える第三実施形態に係るメダル投入口2に、ローラー24や、凹部25を設けてもよい。
また、ローラー24と凹部25とは、併設してもよい。例えば、背部22にローラー24と凹部25を上下に並べて設けたり、背部22に設けた凹部25に対向するように、ローラー24を背部22の対面側に設けてもよい。
本発明は、メダルを使用して遊技が行われるスロットマシン(回胴式遊技機)に好適に利用することができる。
本発明の第一実施形態に係るスロットマシンの外観を示す概略斜視図である。 本発明の第一実施形態に係るスロットマシンの内部構成を示す概略斜視図である。 本発明の第一実施形態に係るスロットマシンのメダル投入口の概略斜視図である。 本発明の第一実施形態に係るスロットマシンのメダル投入口の断面図である。 本発明の第一実施形態に係るスロットマシンのメダル投入口の各部の寸法を示した図である。 本発明の第二実施形態に係るスロットマシンのメダル投入口の断面図である。 本発明の第三実施形態に係るスロットマシンのメダル投入口の概略斜視図である。 本発明の第四実施形態に係るスロットマシンのメダル投入口の概略斜視図である。 本発明の第四実施形態に係るスロットマシンのメダル投入口の断面図である。 本発明の第五実施形態に係るスロットマシンのメダル投入口の概略斜視図である。 本発明の第五実施形態に係るスロットマシンのメダル投入口の断面図である。 従来のメダル投入口の断面図である。
符号の説明
1 スロットマシン
2 メダル投入口
21 口部
22 背部
221 凸部
23 溝部
231 勾配部
24 ローラー
25 凹部
3 スタートレバー
4 ドラムユニット
5(5a,5b,5c) 停止ボタン
6 表示窓
7 メダル払出装置
8 メダル払出口
9 シュート
20 メダルセレクター
41(41a,41b,41c) リール
50 制御部

Claims (8)

  1. メダルが投入される口部と、前記口部の後面であって、上方に延出する背部と、メダルを載置可能に形成され、前記口部に通じる溝部と、を備えるメダル投入口が設けられたスロットマシンであって、
    前記背部に、メダル表面の一部が当接する凸部を形成したこと特徴とするスロットマシン。
  2. 前記溝部に、前記口部に至るまでの所定の範囲に亘り、この口部に向かって下方に傾斜する勾配部を形成した請求項1記載のスロットマシン。
  3. 前記溝部に複数のメダルを縦置きに並べた状態で、前記凸部が、前記口部間近に位置するメダル表面の上半分以上の領域に当接する請求項1又は2記載のスロットマシン。
  4. 前記メダル表面の上半分以上の領域は、メダル上端部である請求項3記載のスロットマシン。
  5. 前記凸部の先端を、メダル表面に点接触する形状とした請求項1〜4のいずれか一項に記載のスロットマシン。
  6. 前記凸部を、複数形成し、前記各凸部を、前記口部に対して、ほぼ左右対称に配置した請求項1〜5のいずれか一項に記載のスロットマシン。
  7. 前記口部から投入されたメダルによって回動するローラーを設けた請求項1〜6のいずれか一項に記載のスロットマシン。
  8. 前記背部に、前記凸部から下方に延びるメダル径より小さい幅の溝を形成した請求項1〜7のいずれか一項に記載のスロットマシン。
JP2008269639A 2008-10-20 2008-10-20 スロットマシン Expired - Fee Related JP5463487B2 (ja)

Priority Applications (1)

Application Number Priority Date Filing Date Title
JP2008269639A JP5463487B2 (ja) 2008-10-20 2008-10-20 スロットマシン

Applications Claiming Priority (1)

Application Number Priority Date Filing Date Title
JP2008269639A JP5463487B2 (ja) 2008-10-20 2008-10-20 スロットマシン

Publications (2)

Publication Number Publication Date
JP2010094408A true JP2010094408A (ja) 2010-04-30
JP5463487B2 JP5463487B2 (ja) 2014-04-09

Family

ID=42256510

Family Applications (1)

Application Number Title Priority Date Filing Date
JP2008269639A Expired - Fee Related JP5463487B2 (ja) 2008-10-20 2008-10-20 スロットマシン

Country Status (1)

Country Link
JP (1) JP5463487B2 (ja)

Citations (6)

* Cited by examiner, † Cited by third party
Publication number Priority date Publication date Assignee Title
JPH01147468U (ja) * 1988-03-30 1989-10-12
JPH0737142A (ja) * 1993-07-16 1995-02-07 Sanden Corp 硬貨メダル投入機構
JPH08252353A (ja) * 1995-03-16 1996-10-01 Universal Hanbai Kk コイン投入口装置
JP2005304680A (ja) * 2004-04-20 2005-11-04 Sanyo Product Co Ltd 遊技機
JP2007175125A (ja) * 2005-12-27 2007-07-12 Aruze Corp メダル遊技機
JP2008229397A (ja) * 2004-06-25 2008-10-02 Aruze Corp 遊技機

Patent Citations (6)

* Cited by examiner, † Cited by third party
Publication number Priority date Publication date Assignee Title
JPH01147468U (ja) * 1988-03-30 1989-10-12
JPH0737142A (ja) * 1993-07-16 1995-02-07 Sanden Corp 硬貨メダル投入機構
JPH08252353A (ja) * 1995-03-16 1996-10-01 Universal Hanbai Kk コイン投入口装置
JP2005304680A (ja) * 2004-04-20 2005-11-04 Sanyo Product Co Ltd 遊技機
JP2008229397A (ja) * 2004-06-25 2008-10-02 Aruze Corp 遊技機
JP2007175125A (ja) * 2005-12-27 2007-07-12 Aruze Corp メダル遊技機

Also Published As

Publication number Publication date
JP5463487B2 (ja) 2014-04-09

Similar Documents

Publication Publication Date Title
JP5531201B2 (ja) 遊技機
JP2009142391A (ja) スロットマシン
JP3853229B2 (ja) 遊技機の扉構造
JP3864388B2 (ja) 円板体選別装置
JP5463487B2 (ja) スロットマシン
JP4167211B2 (ja) 遊技機
CN101373548A (zh) 游戏币游戏装置
JP2006043195A (ja) 遊技機
JPH08215420A (ja) メダル装置
JP5782337B2 (ja) ゲーム機
JP4499124B2 (ja) 弾球遊技機
JPH0245896A (ja) コイン投入口構造
JP2011193915A (ja) メダル投入口装置及びスロットマシン
JP4570671B2 (ja) 遊技機
JP3123397U (ja) 遊戯メダル投入部及びメダル獲得ゲーム機
JP5733783B2 (ja) メダルゲーム装置
JP2010214162A (ja) 弾球遊技機
JPS6030995B2 (ja) コイン払出装置
JP4567014B2 (ja) 弾球遊技機
JP2003164565A (ja) 遊技機およびメダル投入装置
JP4827071B2 (ja) 遊技機
JPH01162995A (ja) コインが1〜5枚同時に入る投入口構造
JP6294192B2 (ja) 遊技機
JP2007167128A (ja) 遊技媒体貸出装置、及びノズルシュート
JP2008036186A (ja) パチンコ遊技機

Legal Events

Date Code Title Description
A621 Written request for application examination

Free format text: JAPANESE INTERMEDIATE CODE: A621

Effective date: 20111005

A977 Report on retrieval

Free format text: JAPANESE INTERMEDIATE CODE: A971007

Effective date: 20130116

A131 Notification of reasons for refusal

Free format text: JAPANESE INTERMEDIATE CODE: A131

Effective date: 20130122

A521 Request for written amendment filed

Free format text: JAPANESE INTERMEDIATE CODE: A523

Effective date: 20130314

TRDD Decision of grant or rejection written
A01 Written decision to grant a patent or to grant a registration (utility model)

Free format text: JAPANESE INTERMEDIATE CODE: A01

Effective date: 20131203

A61 First payment of annual fees (during grant procedure)

Free format text: JAPANESE INTERMEDIATE CODE: A61

Effective date: 20131212

R150 Certificate of patent or registration of utility model

Ref document number: 5463487

Country of ref document: JP

Free format text: JAPANESE INTERMEDIATE CODE: R150

Free format text: JAPANESE INTERMEDIATE CODE: R150

R250 Receipt of annual fees

Free format text: JAPANESE INTERMEDIATE CODE: R250

LAPS Cancellation because of no payment of annual fees