JP2010094175A - 飲料製造装置 - Google Patents

飲料製造装置 Download PDF

Info

Publication number
JP2010094175A
JP2010094175A JP2008265293A JP2008265293A JP2010094175A JP 2010094175 A JP2010094175 A JP 2010094175A JP 2008265293 A JP2008265293 A JP 2008265293A JP 2008265293 A JP2008265293 A JP 2008265293A JP 2010094175 A JP2010094175 A JP 2010094175A
Authority
JP
Japan
Prior art keywords
stirring
beverage
hot water
container
raw material
Prior art date
Legal status (The legal status is an assumption and is not a legal conclusion. Google has not performed a legal analysis and makes no representation as to the accuracy of the status listed.)
Granted
Application number
JP2008265293A
Other languages
English (en)
Other versions
JP5372458B2 (ja
Inventor
Naoto Fukushima
直人 福島
Yasuhiro Imazeki
泰宏 今関
Yasuko Oide
泰子 大出
Hiroshi Yamamoto
廣 山本
Current Assignee (The listed assignees may be inaccurate. Google has not performed a legal analysis and makes no representation or warranty as to the accuracy of the list.)
Sanyo Electric Co Ltd
Original Assignee
Sanyo Electric Co Ltd
Priority date (The priority date is an assumption and is not a legal conclusion. Google has not performed a legal analysis and makes no representation as to the accuracy of the date listed.)
Filing date
Publication date
Application filed by Sanyo Electric Co Ltd filed Critical Sanyo Electric Co Ltd
Priority to JP2008265293A priority Critical patent/JP5372458B2/ja
Publication of JP2010094175A publication Critical patent/JP2010094175A/ja
Application granted granted Critical
Publication of JP5372458B2 publication Critical patent/JP5372458B2/ja
Active legal-status Critical Current
Anticipated expiration legal-status Critical

Links

Images

Landscapes

  • Apparatus For Making Beverages (AREA)

Abstract

【課題】大容量の飲料であっても連続して製造・抽出することが可能であると共に、撹拌容器からの水分の浸入による撹拌モータの故障を著しく抑制することが可能となる飲料製造装置を提供する。
【解決手段】本発明の飲料製造装置は、撹拌容器15内で原料と湯を撹拌装置20により撹拌することにより、飲料を調合しながら吐出するものであって、撹拌装置20は、撹拌モータ20Mと、撹拌モータの回転軸20Aに取り付けられ、撹拌容器15内で回転する撹拌羽根32とから成り、回転軸20Aが水平に対して傾斜し、且つ、撹拌羽根32よりも撹拌モータ20Mが上となるよう配置する。
【選択図】図6

Description

本発明は、撹拌容器内で粉末原料などの原料と湯とを撹拌装置により撹拌することにより、飲料を調合しながら吐出する飲料製造装置に関するものである。
従来の飲料製造装置として、例えば、コーヒー、砂糖、ミルクなどの粉末原料と湯水とを撹拌混合することにより飲料を製造する装置がある(例えば、特許文献1参照)。図12は従来の飲料製造装置100の概略構成図を示している。例えば図12に示される如き従来の飲料製造装置100は、粉末原料を収納する原料キャニスタ102と、湯を貯留する湯タンク103と、原料キャニスタ102から供給される粉末原料と湯タンク103から供給される湯とを撹拌して飲料を調合する撹拌装置101等から構成されている。
撹拌装置101は、シュート107を介して原料キャニスタ102から供給される粉末原料と、湯タンク103から供給される湯とを撹拌混合する撹拌容器105を有しており、当該撹拌容器105内には図示しない撹拌羽根と、弁羽根とが設けられている。撹拌容器105下部には、撹拌羽根や弁羽根で撹拌して調合した飲料をカップ等に供給する供給管108が設けられている。この供給管108は、弁羽根により開放/閉鎖される。
飲料を製造する際には、撹拌モータを回転駆動させて、撹拌羽根と弁羽根とを回転させると共に、湯電磁弁109を開放して湯タンク103に貯留されている湯を撹拌容器105に供給する。更に、原料キャニスタ102より所定量の粉末原料を撹拌容器105内に供給する。そして、撹拌羽根と弁羽根の回転により撹拌容器105内に供給された湯と粉末原料とを撹拌して飲料を調合する。調合した後、撹拌中は撹拌容器105内を封止していた弁羽根の回転を停止して、当該弁羽根と撹拌容器105との隙間から供給管108より飲料をカップ等に注出していた。
しかしながら、上述した如き飲料製造装置では、一旦撹拌容器105内に粉末原料と湯とを溜めて撹拌して調合した後、自然落下によって供給管108より飲料を吐出させるものであったため、一度に製造できる飲料の量は、撹拌容器105の容量に限られる。そのため、例えば、デカンタや大容量のカップ等に飲料を供給する場合には、連続して飲料を製造することができず、当該容器等の容量に応じて飲料販売のための操作を行い、供給される飲料を一杯分毎受容することとなる。
従って、一杯分の飲料を製造する毎に粉末原料や湯を撹拌容器105に供給する時間や、撹拌調合時間、飲料の注出時間を確保する必要があり、大量の飲料を効率的に製造注出することができないという問題がある。そのため、注出作業が煩雑、長期化することとなり、特に繁忙時間帯において作業性が悪いという問題があった。
また、飲料は、停止している弁羽根と撹拌容器105の内壁との間に形成される隙間から飲料を供給管108に流入させる構成とされていたため通路が狭く、粘性が高い飲料や固形分を含んだ飲料を製造する場合、詰まりの原因となりかかる飲料の製造はできないという問題があった。
他方、撹拌容器105の容量を超える大容量の飲料を連続して製造可能とするものとして、撹拌容器内において粉末原料と湯とを撹拌して飲料を製造しながら供給管より吐出する方式の飲料製造装置も開発されている。
特開2004−295470号公報
しかしながら、上述した如き撹拌して飲料を製造しながら吐出する方式を採用した飲料製造装置では、撹拌容器内において粉末原料と湯の撹拌を行う撹拌羽根と当該撹拌羽根を回転させる撹拌モータとは、同じ高さ、即ち、回転軸が水平に設けられているため、当該回転軸を伝って撹拌モータ側に湯や飲料などの水分が浸入しやすく故障の原因となっていた。
本発明は従来の技術的課題を解決するためになされたものであり、大容量の飲料であっても連続して製造・抽出することが可能であると共に、撹拌容器からの水分の浸入による撹拌モータの故障を著しく抑制することが可能となる飲料製造装置を提供する。
本発明の飲料製造装置は、撹拌容器内で原料と湯を撹拌装置により撹拌することにより、飲料を調合しながら吐出するものであって、撹拌装置は、撹拌モータと、該撹拌モータの回転軸に取り付けられ、撹拌容器内で回転する撹拌羽根とから成り、回転軸が水平に対して傾斜し、且つ、撹拌羽根よりも撹拌モータが上となるよう配置されていることを特徴とする。
請求項2の発明の飲料製造装置は、上記発明において、撹拌羽根の撹拌モータ側の端部周囲には、撹拌容器の内面に近接する鍔が形成されていることを特徴とする。
請求項3の発明の飲料製造装置は、上記各発明において、撹拌羽根は筒状を呈することを特徴とする。
請求項4の発明の飲料製造装置は、上記発明において、撹拌羽根の側面には、複数の凹凸が形成されていることを特徴とする。
請求項5の発明の飲料製造装置は、上記各発明において、撹拌容器は、原料と湯が導入される導入部を備え、撹拌羽根の側面は、該導入部の垂直下方に臨むことを特徴とする。
請求項6の発明の飲料製造装置は、上記各発明において、撹拌容器は、原料と湯が導入される導入部を備え、該導入部は、撹拌装置の回転軸の軸心よりも、撹拌羽根の回転方向側に偏倚した位置の上方に位置していることを特徴とする。
請求項7の発明の飲料製造装置は、上記各発明において、撹拌容器は、当該撹拌容器内で調合された飲料を吐出するための吐出口と、該吐出口の、撹拌羽根の回転により飲料が流れる方向に形成された突壁とを備えることを特徴とする。
本発明によれば、撹拌容器内で原料と湯を撹拌装置により撹拌することにより、飲料を調合しながら吐出する飲料製造装置において、撹拌装置は、撹拌モータと、該撹拌モータの回転軸に取り付けられ、撹拌容器内で回転する撹拌羽根とから成り、回転軸が水平に対して傾斜し、且つ、撹拌羽根よりも撹拌モータが上となるよう配置されているので、従来の如く一旦撹拌容器内において原料と湯を溜めて撹拌して飲料を製造し、吐出する場合に比して大量の飲料を一度に製造して吐出することが可能となる。
そのため、撹拌容器と、原料と湯の導入部とを従来の如く撹拌羽根の隙間にて封止する必要が無くなるので通路を広くとれるため、粘性の高い飲料や固形分を含んだ飲料であっても支障なく飲料の製造・吐出が可能となる。これにより、供給可能とされる飲料の種類の拡大を図ることができる。
特に、本発明によれば、撹拌モータは、撹拌羽根よりも上となるように配置されているため、撹拌モータの停止中に水分が撹拌モータ側に浸入して故障する危険性が低くなる。
請求項2の発明によれば、上記発明に加えて、撹拌羽根の撹拌モータ側の端部周囲には、撹拌容器の内面に近接する鍔が形成されているので、当該鍔によって撹拌モータの停止中に水分が撹拌モータ側に浸入する不都合を更に抑止することが可能となる。これにより、より一層撹拌モータに水分が浸入することによる故障の発生を低くすることができる。
請求項3の発明によれば、上記各発明に加えて、撹拌羽根は筒状を呈しているため、撹拌しながら吐出する本願発明の方式において、撹拌性能を向上させることが可能となる。
請求項4の発明によれば、上記発明に加えて、撹拌羽根の側面には、複数の凹凸が形成されていることにより、空気との撹拌効率を向上させることができ、泡立ちをよくすることができる。
請求項5の発明によれば、上記各発明において、撹拌容器は、原料と湯が導入される導入部を備え、撹拌羽根の側面は、該導入部の垂直下方に臨むことにより、導入部から導入される原料と湯とを直接撹拌羽根に載せることができ、導入部にて原料が詰まる不都合を抑制することができる。
そのため、原料を湯より先に撹拌容器内に供給する際に極めて有効となる。
請求項6の発明によれば、上記各発明において、撹拌容器は、原料と湯が導入される導入部を備え、該導入部は、撹拌装置の回転軸の軸心よりも、撹拌羽根の回転方向側に偏倚した位置の上方に位置しているので、導入部から導入される原料や湯が回転する撹拌羽根(回転軸)の真上よりも回転方向側に偏倚した位置の上方から導入することができる。そのため、回転する撹拌羽根(回転軸)の真上から導入されることで生じる原料等が跳ね返りを抑制することができ、これによる撹拌効率の低下を回避することができる。これにより、撹拌容器内において、原料と湯とを効率的に撹拌混合して適切に飲料を調合することが可能となる。
請求項7の発明によれば、上記各発明において、撹拌容器は、当該撹拌容器内で調合された飲料を吐出するための吐出口と、該吐出口の、撹拌羽根の回転により飲料が流れる方向に形成された突壁とを備えることにより、撹拌された飲料が突壁に衝突することによって、円滑に吐出口より飲料を吐出することが可能となる。
以下、図面に基づき本発明の実施形態を詳述する。図1は本発明の飲料製造装置1の正面図を示している。本実施例の飲料製造装置1は、本発明の飲料製造装置を構成する粉飲料製造部1Aと、挽き豆からコーヒー液を抽出する図示しないコーヒー飲料製造部とを本体6内に有している。
本体6の前面には、粉飲料製造部1Aやコーヒー飲料製造部から注出される飲料を排出する飲料注出ノズルを構成する吐出部15Bと、湯のみを注出する湯ノズル2とを備えている。これら吐出部15B及びノズル2の下方には、注出された飲料を受容するカップ等の容器を載置する容器支持台7が設けられている。また、吐出部15B、ノズル2の下方であって、容器支持台7の上方に位置する本体6両側部には、カップ等の容器の有無を検出するカップセンサ12が設けられている。
本体6の前面は、前面扉4により開閉自在に閉塞されており、当該前面扉4の前面には、排出する飲料の種類を選択する複数の飲料選択ボタン5・・・及び湯のみを排出する湯選択ボタン10が設けられている。
尚、図1中、当該前面扉4の前面上部に設けられる11は、販売可ランプ11Aや点検ランプ11B等を備えた表示部であり、9は、前記コーヒー飲料製造部を構成する豆貯蔵容器である。
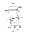
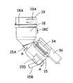
ここで、図2乃至図7を参照して粉飲料製造部1Aの構成について説明する。図2は粉飲料製造部1Aの構成図、図3は湯タンクを除く粉飲料製造部1Aの正面図、図4は撹拌容器15、シュート18、排気キャップ19の正面図、図5は図4の右側面図、図6は図5の縦断面図、図7は図5のA−A断面図をそれぞれ示している。
本実施例における粉飲料製造部1Aは、撹拌容器15内に供給したコーヒーや、ココア、ミルク、砂糖などの粉末原料と湯とを撹拌して飲料を調合する飲料製造装置である。この粉末飲料製造部1Aは、当該飲料の原料とされる粉末原料を収容する原料キャニスタ16と、湯タンク17と、撹拌容器15と、撹拌装置20とを備えている。
原料キャニスタ16は、粉末原料を充填保管しておくものであり、上方に開口する粉末充填口と、前面下部に形成される排出部16Aとを備えている。この粉末充填口は、蓋16Bにより、開閉自在に閉塞される。そして、原料キャニスタ16の底面近傍には、奥方から排出部16Aに(本実施例では、排出部16Aが原料キャニスタ16の前面下部に形成されているため、原料キャニスタ16の前後に)、図示しない粉排出機構が延在している。
当該粉排出機構は、例えば、回動軸の周囲に螺旋状に回転羽根が設けられており、回動軸の前端は、排出部16Aに面して配設される。そして、当該回動軸を回転駆動するキャニスタモータ16Mが駆動させることにより、粉排出機構は、回動軸を中心に回転駆動し、回転羽根間に充填された原料粉末は、順次排出部16Aに送出される。なお、当該キャニスタモータ16Mは、詳細は後述する制御装置Cにより、駆動制御が行われるものとする。
また、図中、原料キャニスタ16の下部側面に設けられる16Cは、原料キャニスタ16内に充填保管される粉原料の売り切れを検出するための光センサ(粉原料売切検出手段)である。
そして、この原料キャニスタ16の排出部16Aには、排気キャップ19を介して当該キャニスタ16から排出される粉末原料を撹拌容器15に適切に案内するためのシュート18が接続されている。
排気キャップ19は、上下に開口する略円筒状部材により構成されており、当該上端部には、原料キャニスタ16の排出部16Aを挿入嵌合するための嵌合部19B(図6参照)が形成されている。そして、当該排気キャップ19の側面には、断面略中心よりも一側に偏倚した位置に、本実施例では、図5に示すように後方に開口する排気部19Aが形成されている。この排気部19Aには、内部に排気ダクトが構成されるダクト部材21の一端が接続されている。当該ダクト部材21の他端には、排気用のブロワーファン(排気手段)22とフィルタ23が設けられた下部ダクト部材24が接続されている。
シュート18は、上下に開口する略円筒状部材により構成されており、当該上端部には、排気キャップ19の下端を挿入嵌合する嵌合部18Aが形成されている。そしてこのシュート18の下部は、下方に行くに従い細くなるロート形状を呈していると共に、当該下端部は、一側(本実施例では後下方)に向けて傾斜した排出部18B(図6参照)が形成されている。
また、このシュート18の側面には、湯タンク17から供給される湯を導入する湯導入部18Cが形成されている。この湯導入部18Cは、シュート18の側面であって、図6の断面図に示すように、中心よりも左右どちらか一方に偏重すると共に、少許上方から下方に向けて低く傾斜して形成されている。当該湯導入部18Cの端面開口は、湯タンク17が設けられている後方に向けて開口して形成されている。
当該シュート18に湯を供給する湯タンク17は、数リットルの飲料水を貯水可能とされたタンクであり、内部には当該湯タンク17に貯溜された水を例えば+94℃〜+97℃に加熱保温する電気ヒータ(加熱手段)25と水位スイッチ27(水位検出手段。図8のみ図示する)が設けられる。また、当該湯タンク17には、図示しない空焚き防止用バイメタルサーモスタットや湯タンク17内の湯の温度を検出する湯温度センサ(湯温度検出手段)26も取り付けられている。制御装置Cは湯温度センサ26の検出温度に基づき、貯溜水の温度が+94℃まで低下すると電気ヒータ25に通電し、+97℃まで上昇すると通電を断つ。
また、水位スイッチ27には、満水位及び、当該満水位から所定の水位が下がった位置に低水位が設けられており、制御装置Cは、当該水位スイッチ27が低水位を検出した場合に給水弁28(図8のみ図示する)を開き、満水位を検出した場合に閉じる制御を行う。
そして、湯タンク17には、湯電磁弁29とが介設された給湯配管30が接続され、この給湯配管30の他端には、上述した如きシュート18の湯導入部18Cが接続されている。
次に、図6及び図7を参照して撹拌容器15及び撹拌装置20の構成について説明する。撹拌容器15は、内部において、原料キャニスタ16から供給された粉末原料と、湯タンク17から供給された湯とを撹拌装置20により撹拌し飲料を調合するものであって、所定量の容積を有する略有底筒状を呈している。
撹拌装置20は、撹拌モータ20Mと、この撹拌モータ20Mの回転軸20Aに取り付けられて、撹拌容器15内で回転する撹拌羽根32とから構成されている。撹拌モータ20Mは、前記下部ダクト部材24の前面上部に位置して前上方に向けて傾斜して設けられるモータハウジング33内に収容されて取り付けられるものであり、本実施例では、図6に示す如きモータ接続部材34を介して撹拌モータ20Mに回転軸20Aが取り付けられ、撹拌容器15に取り付けられる取付部材36を介して、当該撹拌容器15がモータハウジング33に取り付けられる。
ここで、撹拌モータ20Mは、回転軸20Aが水平に対して傾斜し、且つ、当該回転軸20A端部に取り付けられる撹拌羽根32よりも撹拌モータ20Mが上となるように配置されてモータハウジング33内に取り付けられている。
一方、本実施例における撹拌羽根32は、撹拌モータ20M側に位置し、撹拌容器15の底面に向けて先細り形状とされる円錐台の基台32Aと、当該基台32Aの撹拌容器15の底面側の端面から当該底面側に向けて形成される円筒状の撹拌部32Bとが一体に形成されている。そして、この基台32Aの撹拌モータ20M側の端部周囲には、撹拌容器15の内面と所定のクリアランスを確保して近接する鍔32Cが形成されている。また、この撹拌羽根32の撹拌部32Bの側面には、複数の凹凸が形成されている。尚、本実施例では、撹拌羽根32は、円錐台形状の基台32Aと、円筒状の撹拌部32Bとが一体に形成されていることにより構成されているが、これに限定されるものではなく、全体が円筒、角筒、円錐台等の筒状を呈するものとしてもよい。
そして、撹拌容器15は、当該撹拌羽根32を包含するように円筒形状の上面開口を取付部材36の下面に当接させて、モーターハウジング33又は撹拌容器15(若しくは取付部材36)に設けられる固定部材34、34により着脱自在に固定される。
この撹拌容器15の円筒形状の側面であって、取付時に前上部となる位置には、前記シュート18の排出部18Bが挿入嵌合して接続される導入部15Aが形成されている。この導入部15Aは、図7に示すように撹拌装置20の回転軸20Aの軸心よりも、撹拌羽根32の回転方向(図7にて実線矢印にて示す)側に偏倚した位置の上方に位置して形成されている。このとき、撹拌羽根32の撹拌部32Bの側面は、図6に点線にて示すように導入部15Aの垂直下方に臨む構成とされる。
また、撹拌容器15の円筒形状の底面であって、取付時に後下部となる位置には、当該撹拌容器15内で調合された飲料を吐出するための吐出部(吐出口)15Bが形成されている。当該吐出部15Bは、撹拌容器15内で調合された飲料を前下方に吐出するため、撹拌容器15の後下部より前下方に向けて所定角度傾斜して形成されている。
更に、撹拌容器15の円筒形状底面に形成される吐出部15Bの吐出口15Cの近傍、即ち、撹拌羽根32の回転により撹拌容器15内の飲料が流れる方向側には、当該飲料の流れを抑止してその手前側に形成される吐出口15Cより飲料の排出を促進させる突壁15Dが形成されている。
次に、図8の制御装置Cの電気ブロック図を参照して、本実施例における粉飲料製造部1Aの制御装置Cについて説明する。制御装置Cは、汎用のマイクロコンピュータにより構成されており、時限装置としてのタイマ35と記憶手段としてのメモリ39を内蔵している。そして、この制御装置Cの入力側には、前記飲料選択ボタン5・・、湯選択ボタン10、各種設定を行うコントロールパネル40、水位スイッチ27、湯温度センサ26、カップセンサ12、光センサ16C等が接続されている。コントロールパネル40では、製造される飲料毎に、原料量、湯量、湯遅延時間、撹拌時間、後述するリンス湯量、終了遅延時間などを設定可能とする。尚、原料量や湯量、リンス湯量等は、流量計などによって検出されるものに基づき制御してもよいが、本実施例では、予め算出されている湯電磁弁29の開放時間やキャニスタモータ16Mの駆動時間により制御されるものとする。
また、制御装置Cの出力側には、キャニスタモータ16M、撹拌モータ20M、ブロワーファンモータ22M、表示部11の販売可ランプ11A、点検ランプ11B、湯電磁弁29、電気ヒータ25、給水弁28等が接続されている。尚、撹拌モータ20Mは、回転速度を可変とするため回転制御回路38を介して接続されている。
以上の構成により、本実施例における粉飲料製造部1Aの動作について説明する。本実施例における粉飲料製造部1Aは、コントロールパネル40によって、運転モードを複数のモードに設定可能とされている。本実施例では、一杯ごとの飲料製造販売を行う通常運転モードと、一回の飲料販売操作に基づき複数杯分の飲料製造販売を行う複数販売モードを有する。また、それぞれの運転モードでは、飲料の種類によって通常の運転モードよりも遅い撹拌速度にて飲料を撹拌する低速モードを設定可能とする。このほかにも、湯に浮きやすい粉末原料により適切な飲料製造を行うための原料先出しモードを設定可能とする。
まずはじめに図9のタイミングチャートを参照して通常運転モードについて説明する。尚、制御装置Cのメモリ39には、予め、飲料の種類に応じて通常の回転速度(通常モード)にて飲料を撹拌するか、それよりも遅い撹拌速度(低速モード)にて飲料を撹拌するかが記憶されているものとする。例えば、エスプレッソコーヒー飲料やホイップココア飲料などのようなよりきめ細やかに泡立たせた状態で提供することが望ましい飲料に関しては、通常モードとすることが記憶されており、アメリカンコーヒー飲料などのような泡立っていない状態で提供することが望ましい飲料に関しては、低速モードとすることが記憶されているものとする。
まず、オペレータは、飲料を受容する容器を吐出部15Bの下方に位置する容器支持台7上に載置する。このとき、制御装置Cは、カップセンサ12の検出出力に基づき、容器が設置されていることを条件として、飲料の販売が可能な状態にあるものとして、飲料の種類に応じた飲料選択ボタン5の操作を許容とする。尚、制御装置Cは、これ以外にも、湯温度センサ26の検出温度に基づき、所定の適温であることを条件として、表示部11Bの販売可ランプ11Aを点灯し、飲料の販売を許容する。条件を満たしていない場合には、制御装置Cは、販売可ランプ11Bを消灯し、飲料製造を指示する各種選択ボタン5、10の操作を無効なものとする。
飲料の販売が許容された状態にて、製造を行う飲料の種類に応じた飲料選択ボタン5が操作されると、制御装置Cは、当該選択ボタン5の操作に基づく販売開始信号の入力により、飲料の製造を開始する。
制御装置Cは、粉末原料を充填される原料キャニスタ16の粉排出機構のキャニスタモータ16Mを所定時間だけ駆動し、原料キャニスタ16内の粉末原料を排出部16Aより飲料一杯分に相当する量(所定量)だけ排出する。原料キャニスタ16から排出された粉末原料は、排出部16Aより排気キャップ19、シュート18を介して撹拌容器15内に供給される。
このとき、撹拌容器15の導入部15Aは、撹拌羽根32の撹拌部32Bの側面が当該導入部15Aの垂直下方に臨むように形成されているため、シュート18の排出部18Bが嵌合接続される撹拌容器15の導入部15Aを介して、上方から自然落下により供給される粉末原料を撹拌容器15内の撹拌羽根32の撹拌部32Bの側面上に直接、載せることができ、導入部15Aにて粉末原料が詰まる不都合を抑制することができる。
制御装置Cは、キャニスタモータ16Mの駆動開始と同時に、又は、同時期に、湯電磁弁29を所定時間だけ開放し、湯タンク17内の湯を給湯配管30を介してシュート18の湯導入部18Cより所定量(本実施例では、飲料一杯分に相当する量よりも後述するリンス湯に必要とする量を減算した量)だけ排出する。給湯配管30を介して供給された湯は、シュート18を介して撹拌容器15内に供給される。
ここで、シュート18に形成される湯導入部18Cは、上述したように、シュート18の側面であって、中心よりも左右どちらか一方に偏重すると共に、少許上方から下方に向けて低く傾斜して形成されている。そのため、給湯配管30から供給された湯は、湯導入部18Cによって、シュート18内壁面に沿って旋回流を形成しながら、撹拌容器15内に供給される。
そのため、同時期にシュート18内を通過する粉末原料がシュート18内壁に付着するのを抑止することができると共に、付着してしまった粉末原料を洗い流しながら撹拌容器15内に粉末原料と湯とを供給することができる。尚、図9に示すように、キャニスタモータ16Mの駆動終了時期よりも湯電磁弁29の閉鎖時期が後となるように、実際には、粉末原料のシュート18の通過終了時期よりも湯のシュート18内の通過終了時期が遅くなるように設計されているものとする。これによっても、効果的に粉末原料がシュート18内壁に残留する不都合を抑制することが可能となる。このような構成とすることで、適切な割合にて調合された飲料を吐出することが可能となる。
また、制御装置Cは、キャニスタモータ16Mの駆動開始時期、及び湯電磁弁29の開放開始時期と同時又は同時期に、撹拌装置20の撹拌モータ20Mを駆動開始する。
これにより、上述したように撹拌容器15内に供給された粉末原料と湯は、撹拌モータ20Mにより回転駆動される撹拌羽根32によって撹拌・混合により飲料が調合される。
このとき、撹拌容器15内に粉末原料と湯を導入する導入部15Aは、撹拌装置20の回転軸20Aの軸心よりも、撹拌羽根32の回転方向側に偏倚した位置の上方に位置しているので、導入部15Aから導入される粉末原料や湯が回転する撹拌羽根32(回転軸20A)の真上よりも回転方向側に偏倚した位置の上方から導入することができる。そのため、回転する撹拌羽根32(回転軸20A)の真上から導入されることで生じる粉末原料等の跳ね返りを抑制することができ、これによる撹拌効率の低下を回避することができる。これにより、撹拌容器15内において、粉末原料と湯とを効率的に撹拌混合して適切に飲料を調合することが可能となる。
また、撹拌羽根32の撹拌部32Bの側面には、複数の凹凸が形成されているため、撹拌容器15内の空気との撹拌効率を向上させることができ、泡立ちの良い飲料を製造することができる。
そして、撹拌容器15内で調合された飲料は、撹拌羽根32の回転によって飲料の流れる方向が形成され、撹拌により飲料を調合しながら当該撹拌容器15の後下部に形成される吐出口15Cを介して吐出部15Bより飲料を容器内に吐出することができる。
このとき、吐出口15Cの、撹拌羽根32の回転により飲料が流れる方向に突壁15Dが形成されているため、撹拌容器15内にて撹拌された飲料が突壁15Dに衝突することによって、円滑に吐出口15Cより飲料を吐出することが可能となる。
従って、撹拌容器15内にて飲料を撹拌しながら、効率的に吐出口15Cより調合された飲料を吐出することができ、一杯分の飲料の製造から吐出に要する時間を短縮することが可能となる。そのため、円滑な飲料販売を実現することが可能となる。
このとき、上述したように、飲料選択ボタン5により選択された飲料毎に予め通常モードとするか低速モードとするかが制御装置Cのメモリ39に記憶されている。そのため、制御装置Cは、選択された飲料に対応したモードにて回転制御回路38により撹拌モータ20Mを駆動制御する。
即ち、エスプレッソコーヒー飲料やホイップココア飲料などのようなよりきめ細やかに泡立たせた状態で提供することが望ましい飲料に関しては、通常モードと記憶されていることから、回転制御回路38によって所定の高速回転数にて撹拌モータ20Mを回転駆動させる。これに対し、アメリカンコーヒー飲料などのような泡立っていない状態で提供することが望ましい飲料に関しては、低速モードとすることが記憶されていることから、回転制御回路38によって所定の低速回転数にて撹拌モータ20Mを回転駆動させる。
これにより、例えば、泡立たせたい飲料であっても、泡立たせたくない飲料であっても、提供したい飲料の性質に応じて飲料を製造することが可能となる。従って、飲料の品質を高めて提供することができる。飲料の性質に応じた撹拌を実現することが可能となる。
そして、制御装置Cは、所定時間撹拌して飲料を調合しながら、吐出部15Cより飲料の吐出を行った後、撹拌モータ20Mの運転を停止し、再度、湯電磁弁29を所定時間開放し、シュート18を介してリンス湯(流し湯、又は後湯)を撹拌容器15内に供給する。
このとき、上述したようにシュート18に形成される湯導入部18Cは、シュート18の側面であって、中心よりも左右どちらか一方に偏重すると共に、少許上方から下方に向けて低く傾斜して形成されてため、給湯配管30から供給された湯は、湯導入部18Cによって、シュート18内壁面に沿って旋回流を形成しながら、撹拌容器15内に供給される。
これにより、撹拌装置20が停止している撹拌容器15の内壁に沿ってリンス湯を供給することができ、当該内壁に付着している飲料を洗い流しながら吐出部15Bより容器内にリンス湯を供給することができる。これにより、容器内には、前述した粉末原料との撹拌に使用された湯と合わせて飲料一杯分に相当する量の湯を容器内に供給することができ、適切な割合にて調合された飲料として容器内に供給することができる。
そして、制御装置Cは、図9に示すように、リンス湯の供給後、飲料やリンス湯の吐出、即ち水切りに要する所定の終了遅延時間が経過した後、飲料の販売終了とし、次回の飲料販売動作を許容するものとする。
このように、本実施例では、撹拌して飲料を調合しながら吐出する方式を採用しているので、従来の如く一旦撹拌容器内において原料と湯を溜めて撹拌して飲料を製造し、吐出する場合に比して大量の飲料を一度に製造して吐出することが可能となる。そのため、撹拌容器と、粉末原料と湯の導入部とを従来の如く撹拌羽根の隙間にて封止する必要が無くなるので通路を広くとれるため、粘性の高い飲料や固形分を含んだ飲料であっても支障なく飲料の製造・吐出が可能となる。これにより、供給可能とされる飲料の種類の拡大を図ることができる。
また、本実施例では、係る方式において、撹拌装置20の回転軸20Aは、水平に対して傾斜し、且つ、撹拌羽根32よりも撹拌モータ20Mが上となるよう配置されているので、撹拌モータ20Mの停止中に湯や飲料等の水分が撹拌モータ20M側に浸入して故障する危険性が低くなる。
特に、本実施例では、撹拌羽根32の撹拌モータ20M側の端部周囲には、撹拌容器15の内面に近接する鍔32Cが形成されているので、当該鍔32Cによって撹拌モータMの停止中に湯や飲料等の水分が撹拌モータ20M側に浸入する不都合を更に抑止することが可能となる。これにより、より一層撹拌モータ20Mに水分が浸入することによる故障の発生を低くすることができる。
尚、上記実施例において、湯に浮きやすい比較的軽い粉末原料を使用して製造される飲料に関しては、予め制御装置Cのメモリ39にて対応する飲料選択ボタン5が操作された際、原料先出しモードを実行する旨設定されているものとする。
当該原料先出しモードが設定されている場合には、図10のタイミングチャートに示すように、制御装置Cは、飲料選択ボタン5の操作に従って、キャニスタモータ16Mのみを先行して所定時間だけ駆動させる。即ち、上記実施例では、キャニスタモータ16Mの駆動開始と同時期に湯電磁弁29の開放及び撹拌モータ20Mの駆動を開始しているが、かかる場合には、当該キャニスタモータ16Mの駆動開始後、所定時間が経過してから湯電磁弁29の開放及び撹拌モータ20Mの駆動を開始するものとする。
これにより、キャニスタモータ16Mの駆動により、湯よりも先に排気キャップ19、シュート18を介して撹拌容器15内に供給された粉末原料は、停止している撹拌羽根32上に載せられる。その後、湯の供給と撹拌羽根32の回転駆動が開始されることにより、粉末原料が導入部15Aにて詰まることなく極めて円滑に撹拌容器15内に粉末原料を供給することができる。
そのため、粉末原料が湯に浮きやすい種類の原料である場合に、当該モードを実行することで、粉末原料を先に撹拌容器15内に供給し、その後湯を供給することで、粉末原料が湯に浮いてしまうことによる撹拌不足を解消することが可能となる。これにより、撹拌性能を向上させることで、適切な飲料の販売を実現することが可能となる。
特に、本実施例では、撹拌羽根32は筒状を呈しているため、このような湯より先に粉末原料が供給される場合であっても、従来の如き複数枚の羽根から構成されている場合とは異なり、撹拌容器15内に供給された粉末原料をそのまま吐出部15Cより落下させてしまうことなく、確実に撹拌羽根32上にて受容し、その後の撹拌動作を実行することが可能となる。従って、このような撹拌しながら吐出する方式において、撹拌性能を向上させることが可能となる。
尚、制御装置Cは、販売開始時から所定時間、ブロワーファンモータ22Mを駆動させる。これにより、シュート18や排気キャップ19を介して撹拌容器15内に供給された湯による湯気による湿気を排気キャップ19に形成される排気部19A、ダクト部材21内を介して外部に排出することが可能となる。これにより、これら撹拌容器15、シュート18、排気キャップ19内の湿気を排出することで、乾燥させた状態を維持することが可能となり、衛生面の向上や、シュート18等に粉末原料が付着する不都合を解消することが可能となる。
次に、図11のタイミングチャートを参照して、複数販売モードについて説明する。この複数販売モードは、一回の飲料販売操作に基づき複数杯分の飲料製造販売を行うものであり、コントロールパネル40に設けられるボタン操作若しくは、前面扉4に設けられる図示しない連続販売ボタンを操作することにより設定される。尚、当該設定操作の際には、連続して販売する杯数を設定可能とする。
まず、オペレータは、複数杯分の飲料を受容する容器、例えば、大容量のカップやデカンタなどを吐出部15Bの下方に位置する容器支持台7上に載置する。尚、飲料の販売許容動作等は上記と同様であるため省略する。
飲料の販売が許容された状態にて、製造を行う飲料の種類に応じた飲料選択ボタン5が操作されると、制御装置Cは、当該選択ボタン5の操作に基づく販売開始信号の入力により、飲料の製造を開始する。
制御装置Cは、上記図9の場合と同様に、粉末原料を充填される原料キャニスタ16の粉排出機構のキャニスタモータ16Mを所定時間だけ駆動し、原料キャニスタ16内の粉末原料を排出部16Aより飲料一杯分に相当する量(所定量)だけ排出する。原料キャニスタ16から排出された粉末原料は、シュート18等を介して撹拌容器15内に供給される。
また、制御装置Cは、キャニスタモータ16Mの駆動開始と同時に、又は、同時期に、湯電磁弁29を所定時間だけ開放し、湯タンク17内の湯を給湯配管30を介してシュート18の湯導入部18Cより所定量(本実施例では、飲料一杯分に相当する量よりも後述するリンス湯に必要とする量を減算した量)だけ排出する。給湯配管30を介して供給された湯は、シュート18を介して撹拌容器15内に供給される。
また、制御装置Cは、キャニスタモータ16Mの駆動開始時期、及び湯電磁弁29の開放開始時期と同時又は同時期に、撹拌装置20の撹拌モータ20Mを駆動開始する。
これにより、上述したように撹拌容器15内に供給された粉末原料と湯は、撹拌モータ20Mにより回転駆動される撹拌羽根32によって撹拌・混合により飲料が調合される。
そして、撹拌容器15内で調合された飲料は、撹拌羽根32の回転によって飲料の流れる方向が形成され、撹拌により飲料を調合しながら当該撹拌容器15の後下部に形成される吐出口15Cを介して吐出部15Bより飲料が前記容器内に吐出される。
尚、この場合にも、上記図9の場合と同様に、飲料選択ボタン5により選択された飲料毎に予め設定されている通常モードか低速モードかによって、撹拌モータ20Mが駆動制御される。
そして、制御装置Cは、所定時間撹拌して飲料を調合しながら、吐出部15Bより飲料の吐出を行った後、撹拌モータ20Mの運転を停止し、再度、湯電磁弁29を所定時間開放し、シュート18を介してリンス湯を撹拌容器15内に供給する。
これにより、撹拌装置20が停止している撹拌容器15の内壁に沿ってリンス湯を供給され、当該内壁に付着している飲料を洗い流しながら吐出部15Bより容器内にリンス湯を供給される。これにより、容器内には、前述した粉末原料との撹拌に使用された湯と合わせて飲料一杯分に相当する量の湯を容器内に供給され、適切な割合にて調合された一杯分の飲料が容器内に供給される。
その後、制御装置Cは、終了遅延時間が経過したことを条件として、前回と同様に飲料を製造し、容器内に供給する。この場合、終了遅延時間は、予めコントロールパネル40によって任意に設定可能とし、例えば、連続して設定杯数分の飲料を容器内に供給する場合には、当該終了遅延時間は0秒とする。
これにより、リンス湯の供給終了後、連続して次杯分の飲料を製造するための湯がシュート18を介して撹拌容器15内に供給される。これと同時又は同時期に一杯分の粉末原料もキャニスタモータ16Mの駆動開始によって撹拌容器15内に供給される。また、同様に、撹拌モータ20Mが回転駆動させることで、次杯分の飲料が撹拌容器15内にて撹拌され調合されながら吐出部15Bより容器内に吐出される。また、この場合にもリンス湯の供給が行われる。
以後、制御装置Cは、予め設定された杯数分の飲料を調合し、容器内に排出する。これにより、制御装置Cは、所定量の粉末原料と湯を撹拌容器15内に供給し、撹拌装置20により撹拌して一杯分の飲料を調合する販売動作を、連続して設定された杯数分実行する連続販売モードを実行することにより、一回の操作で、飲料の連続製造販売が可能となる。
従って、デカンタや大容量のカップなどにおいて飲料を受容する場合、複数回飲料の販売を指示する操作、即ち、飲料選択ボタン5の操作を実行することなく、連続した大量の飲料を販売することが可能となる。そのため、繁忙時間帯などにおいて、一回の販売指示動作を行うことで、デカンタなどの大容量の容器内に複数杯分の飲料を貯留できるため、当該飲料の製造排出が行われている間に、装置から離れて他の作業を行うことも可能となる。これにより、著しく作業性を向上させることができる。
尚、上述したように一杯分の飲料の吐出終了後、即ち、リンス湯供給後における終了遅延時間を任意に設定することが可能となる。例えば、上記実施例における水切り時間に所定のカップ交換時間を加算した時間を終了遅延時間として設定する。
これにより、一回の飲料販売を指示する操作を行うことで、複数杯の同一種類の飲料を、所定時間、例えば数秒置きに、吐出部15Bから吐出させることが可能となるため、一杯分の飲料注出(販売)動作が終了する度毎に設けられる終了遅延時間において、受容するカップ等の容器を交換する作業を行うことが可能となる。
これにより、一回の販売指示の操作によって、複数杯の飲料を連続して販売することが可能となるため、繁忙時間帯、例えば、オフィスなどに設置された場合、一度に多くの飲料をカップ等に注出する際における作業性の効率を向上させることができる。
尚、本実施例では、飲料の原料として粉末原料を採用しているがこれに限定されるものではなく、粒状原料や、ジェル状原料、液状原料などであっても良い。また、本実施例では、粉末原料との混合撹拌には、湯を採用しているが、これに限定されるものではなく、冷水や牛乳、抽出したコーヒー、抽出した紅茶など、飲料の原料とされる液体であれば、同様の効果を奏することが可能である。
飲料製造装置の正面図である。 粉飲料製造部の構成図である。 湯タンクを除く粉飲料製造部の正面図である。 撹拌容器、シュート、排気キャップの正面図である。 図4の右側面図である。 図5の縦断面図である。 図5のA−A断面図である。 制御装置の電気ブロック図である。 通常運転モードのタイミングチャートである。 原料先出しモードのタイミングチャートである。 複数販売モードのタイミングチャートである。 従来の飲料製造装置の概略構成図である。
符号の説明
C 制御装置
1 飲料製造装置
1A 粉飲料製造部(飲料製造装置)
4 前面扉
5 飲料選択ボタン
6 本体
7 容器支持台
10 湯選択ボタン
15 撹拌容器
15A 導入部
15B 吐出部(吐出口)
16 原料キャニスタ
16A 排出部
16C 光センサ(粉原料売切検出手段)
16M キャニスタモータ
17 湯タンク
18 シュート
18A 嵌合部
18B 排出部
18C 湯導入部
19 排気キャップ
19A 排気部
19B 嵌合部
20 撹拌装置
20M 撹拌モータ
20A 回転軸
29 湯電磁弁
30 給湯配管
32 撹拌羽根
32A 基台
32B 撹拌部
33 モータハウジング
35 タイマ
36 取付部材
38 回転制御回路
39 メモリ
40 コントロールパネル

Claims (7)

  1. 撹拌容器内で原料と湯を撹拌装置により撹拌することにより、飲料を調合しながら吐出する飲料製造装置において、
    前記撹拌装置は、撹拌モータと、該撹拌モータの回転軸に取り付けられ、前記撹拌容器内で回転する撹拌羽根とから成り、前記回転軸が水平に対して傾斜し、且つ、前記撹拌羽根よりも撹拌モータが上となるよう配置されていることを特徴とする飲料製造装置。
  2. 前記撹拌羽根の前記撹拌モータ側の端部周囲には、前記撹拌容器の内面に近接する鍔が形成されていることを特徴とする請求項1に記載の飲料製造装置。
  3. 前記撹拌羽根は筒状を呈することを特徴とする請求項1又は請求項2に記載の飲料製造装置。
  4. 前記撹拌羽根の側面には、複数の凹凸が形成されていることを特徴とする請求項3に記載の飲料製造装置。
  5. 前記撹拌容器は、前記原料と湯が導入される導入部を備え、前記撹拌羽根の側面は、該導入部の垂直下方に臨むことを特徴とする請求項1乃至請求項4の何れかに記載の飲料製造装置。
  6. 前記撹拌容器は、前記原料と湯が導入される導入部を備え、該導入部は、前記撹拌装置の回転軸の軸心よりも、前記撹拌羽根の回転方向側に偏倚した位置の上方に位置していることを特徴とする請求項1乃至請求項5の何れかに記載の飲料製造装置。
  7. 前記撹拌容器は、当該撹拌容器内で調合された前記飲料を吐出するための吐出口と、該吐出口の、前記撹拌羽根の回転により前記飲料が流れる方向に形成された突壁とを備えることを特徴とする請求項1乃至請求項6の何れかに記載の飲料製造装置。
JP2008265293A 2008-10-14 2008-10-14 飲料製造装置 Active JP5372458B2 (ja)

Priority Applications (1)

Application Number Priority Date Filing Date Title
JP2008265293A JP5372458B2 (ja) 2008-10-14 2008-10-14 飲料製造装置

Applications Claiming Priority (1)

Application Number Priority Date Filing Date Title
JP2008265293A JP5372458B2 (ja) 2008-10-14 2008-10-14 飲料製造装置

Publications (2)

Publication Number Publication Date
JP2010094175A true JP2010094175A (ja) 2010-04-30
JP5372458B2 JP5372458B2 (ja) 2013-12-18

Family

ID=42256301

Family Applications (1)

Application Number Title Priority Date Filing Date
JP2008265293A Active JP5372458B2 (ja) 2008-10-14 2008-10-14 飲料製造装置

Country Status (1)

Country Link
JP (1) JP5372458B2 (ja)

Cited By (2)

* Cited by examiner, † Cited by third party
Publication number Priority date Publication date Assignee Title
CN103689769A (zh) * 2013-12-20 2014-04-02 黄山华绿园生物科技有限公司 食品加工系统
CN115104916A (zh) * 2022-08-03 2022-09-27 厦门快乐番薯股份有限公司 一种现制奶茶制作方法

Citations (5)

* Cited by examiner, † Cited by third party
Publication number Priority date Publication date Assignee Title
JPS58723U (ja) * 1981-06-23 1983-01-06 東芝機械株式会社 飲料供給装置
JPS58117576U (ja) * 1982-01-29 1983-08-11 シャープ株式会社 飲料自動販売機のミキシング装置
JPS63139682U (ja) * 1987-03-05 1988-09-14
JP2005516710A (ja) * 2002-02-11 2005-06-09 ソシエテ デ プロデユイ ネツスル ソシエテ アノニム 混合し泡立てする装置および方法
JP2005245696A (ja) * 2004-03-03 2005-09-15 Sanyo Electric Co Ltd 飲料製造装置

Patent Citations (5)

* Cited by examiner, † Cited by third party
Publication number Priority date Publication date Assignee Title
JPS58723U (ja) * 1981-06-23 1983-01-06 東芝機械株式会社 飲料供給装置
JPS58117576U (ja) * 1982-01-29 1983-08-11 シャープ株式会社 飲料自動販売機のミキシング装置
JPS63139682U (ja) * 1987-03-05 1988-09-14
JP2005516710A (ja) * 2002-02-11 2005-06-09 ソシエテ デ プロデユイ ネツスル ソシエテ アノニム 混合し泡立てする装置および方法
JP2005245696A (ja) * 2004-03-03 2005-09-15 Sanyo Electric Co Ltd 飲料製造装置

Cited By (3)

* Cited by examiner, † Cited by third party
Publication number Priority date Publication date Assignee Title
CN103689769A (zh) * 2013-12-20 2014-04-02 黄山华绿园生物科技有限公司 食品加工系统
CN115104916A (zh) * 2022-08-03 2022-09-27 厦门快乐番薯股份有限公司 一种现制奶茶制作方法
CN115104916B (zh) * 2022-08-03 2023-12-22 厦门快乐番薯股份有限公司 一种现制奶茶制作方法

Also Published As

Publication number Publication date
JP5372458B2 (ja) 2013-12-18

Similar Documents

Publication Publication Date Title
JP5372459B2 (ja) 飲料製造装置
EP2373572B1 (en) An integrated mixing and cleaning beverage assembly and method thereof
US8863992B2 (en) Method and system for a beverage dispensing assembly
JP6417776B2 (ja) カップ内飲料調合方法
JP2015230537A (ja) カップ式自動販売機
JP2010220643A (ja) 飲料製造装置
JP7058653B2 (ja) 冷飲料調製マシン
JP5372458B2 (ja) 飲料製造装置
JP4397341B2 (ja) ミルクフォーマー
JP2010220642A (ja) 飲料製造装置
JP6962409B2 (ja) カップ式自動販売機の攪拌具
JP5405099B2 (ja) 飲料ディスペンサ
JP2004295470A (ja) 飲料製造装置
JP2017167901A (ja) カップ式自動販売機
JP2021159589A (ja) 飲料供給装置
KR20170054174A (ko) 자동판매기 제빙기의 얼음보관호퍼
JP2004287866A (ja) 自動販売機の飲料ミキシング装置
JP4759839B2 (ja) 飲料注出装置
JP3985688B2 (ja) 飲料製造装置
JP4463439B2 (ja) 飲料自動販売機
JP6776606B2 (ja) カップ式自動販売機
JPH07146979A (ja) 洗浄機構を備えた飲料供給装置
JP2010273973A (ja) 飲料製造装置
KR0115036Y1 (ko) 자동판매기의 믹싱장치
JPH11259761A (ja) カップ式自動販売機の飲料撹拌装置

Legal Events

Date Code Title Description
A621 Written request for application examination

Free format text: JAPANESE INTERMEDIATE CODE: A621

Effective date: 20111006

A131 Notification of reasons for refusal

Free format text: JAPANESE INTERMEDIATE CODE: A131

Effective date: 20130312

A521 Written amendment

Free format text: JAPANESE INTERMEDIATE CODE: A523

Effective date: 20130509

TRDD Decision of grant or rejection written
A01 Written decision to grant a patent or to grant a registration (utility model)

Free format text: JAPANESE INTERMEDIATE CODE: A01

Effective date: 20130820

A61 First payment of annual fees (during grant procedure)

Free format text: JAPANESE INTERMEDIATE CODE: A61

Effective date: 20130918

R151 Written notification of patent or utility model registration

Ref document number: 5372458

Country of ref document: JP

Free format text: JAPANESE INTERMEDIATE CODE: R151